Изобретение относится к медицинской технике и может быть использовано для протезирования нижних конечностей. Искусственная стопа содержит внешнюю оболочку с амортизирующей профилированной пластиной, соединенной с регулировочно-соединительным узлом с осевым шарниром, имеющим возможность взаимодействия с опорным элементом, расположенным на верхней поверхности амортизирующей профилированной пластины. Регулировочно-соединительный узел выполнен с упорами, расположенными для взаимодействия соответственно с амортизатором, установленным на пяточной части опорного элемента и с верхней поверхностью опорного элемента, сопряженной закруглением с выпуклым радиусным участком нижней поверхности опорного элемента, выполненным для взаимодействия с верхней поверхностью амортизирующей профилированной пластины. Пяточная часть опорного элемента выполнена в виде ступени, превышающей по высоте в 2,5-4 раза максимальную толщину амортизирующей профилированной пластины, которая имеет расширенную носочную часть и выполнена из стеклопластика, или из углепластика, или в виде соединенных между собой пластинчатых элементов из стеклопластика или углепластика с разделительными прокладками из полимерного материала. Изобретение обеспечивает улучшение биомеханических характеристик, повышенный ресурс работоспособности, возможность активного отдыха и занятий спортом для инвалидов 2-3 уровня активности, имеющих вес до 125 кг. 3 з.п. ф-лы, 7 ил.
1. Искусственная стопа, содержащая внешнюю оболочку с амортизирующей профилированной пластиной, соединенной с регулировочно-соединительным узлом с осевым шарниром, имеющим возможность взаимодействия с опорным элементом, расположенным на верхней поверхности амортизирующей профилированной пластины, отличающаяся тем, что регулировочно-соединительный узел выполнен с упорами, расположенными для взаимодействия соответственно с амортизатором, установленным на пяточной части опорного элемента и с верхней поверхностью опорного элемента, сопряженной закруглением с выпуклым радиусным участком нижней поверхности опорного элемента, выполненным для взаимодействия с верхней поверхностью амортизирующей профилированной пластины, при этом пяточная часть опорного элемента выполнена в виде ступени, превышающей по высоте в 2,5-4 раза максимальную толщину амортизирующей профилированной пластины, которая имеет расширенную носочную часть и выполнена из стеклопластика, или из углепластика, или в виде соединенных между собой пластинчатых элементов из стеклопластика или углепластика с разделительными прокладками из полимерного материала. 2. Стопа по п. 1, отличающаяся тем, что оболочка выполнена из пенополиуретана. 3. Стопа по п. 1, отличающаяся тем, что амортизирующая профилированная пластина выполнена с передним продольным разрезом шириной 2-3 мм и длиной, составляющей от 0,5 до 0,6 от длины пластины. 4. Стопа по п. 1, отличающаяся тем, что содержит сменный амортизатор.
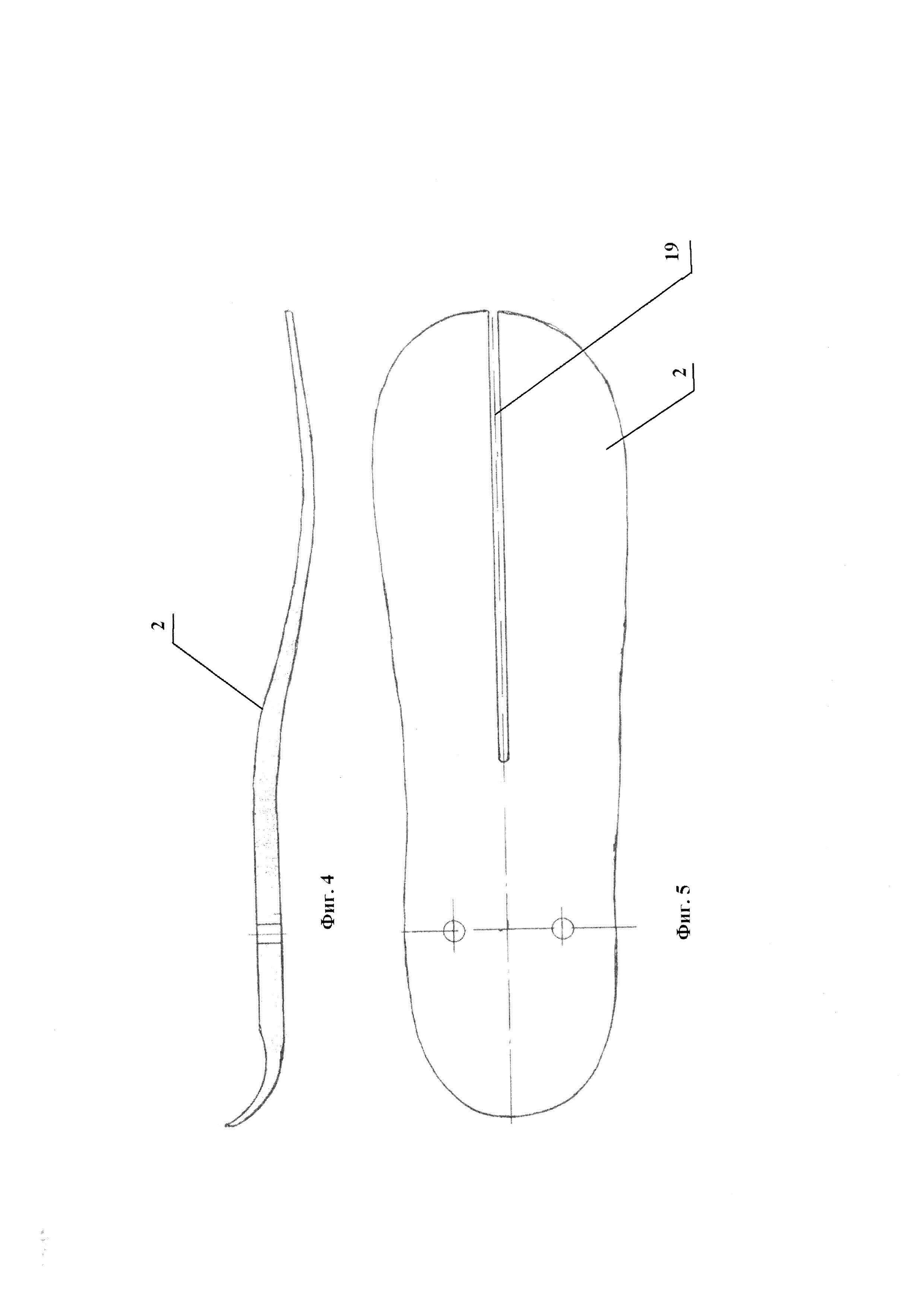
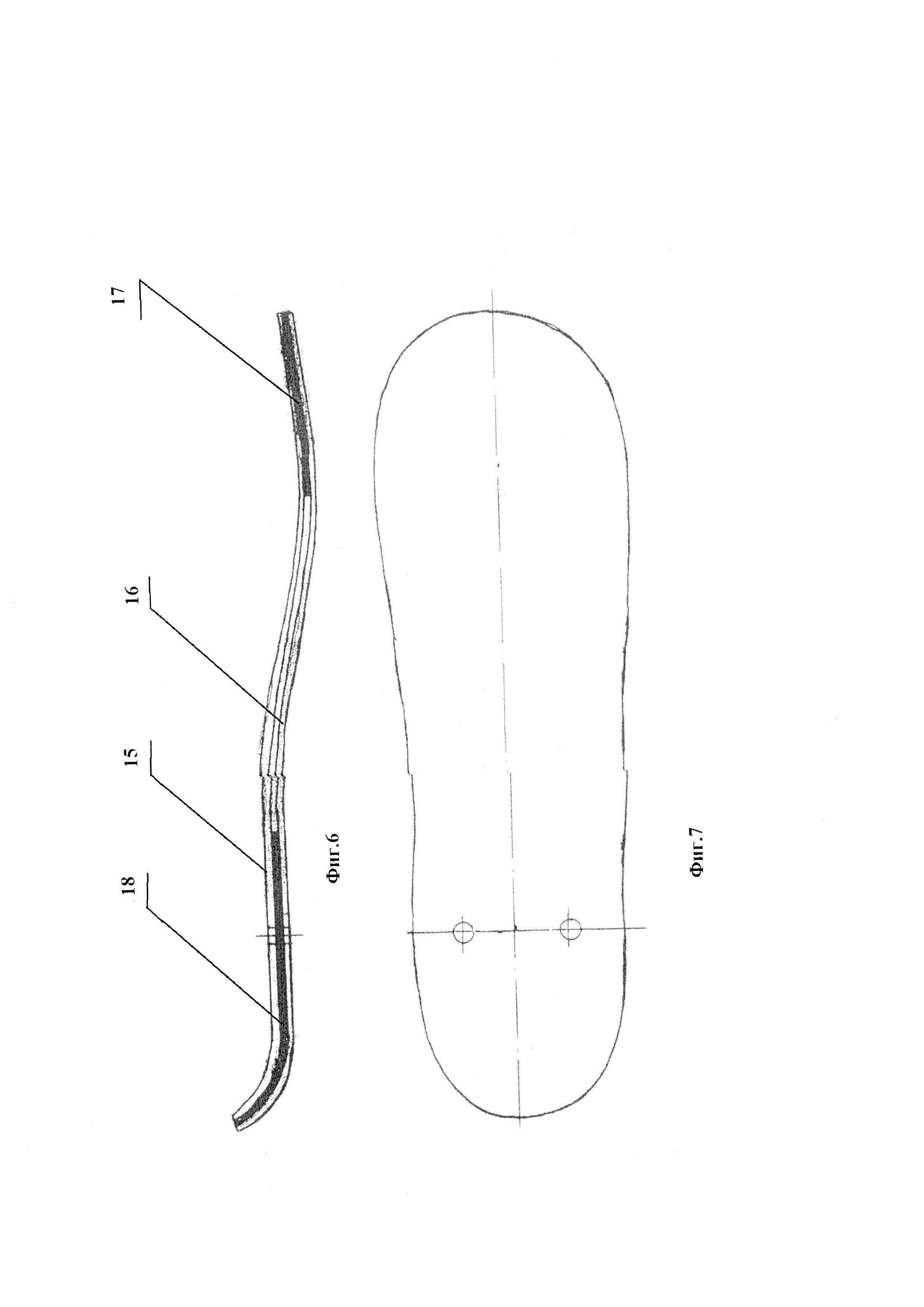
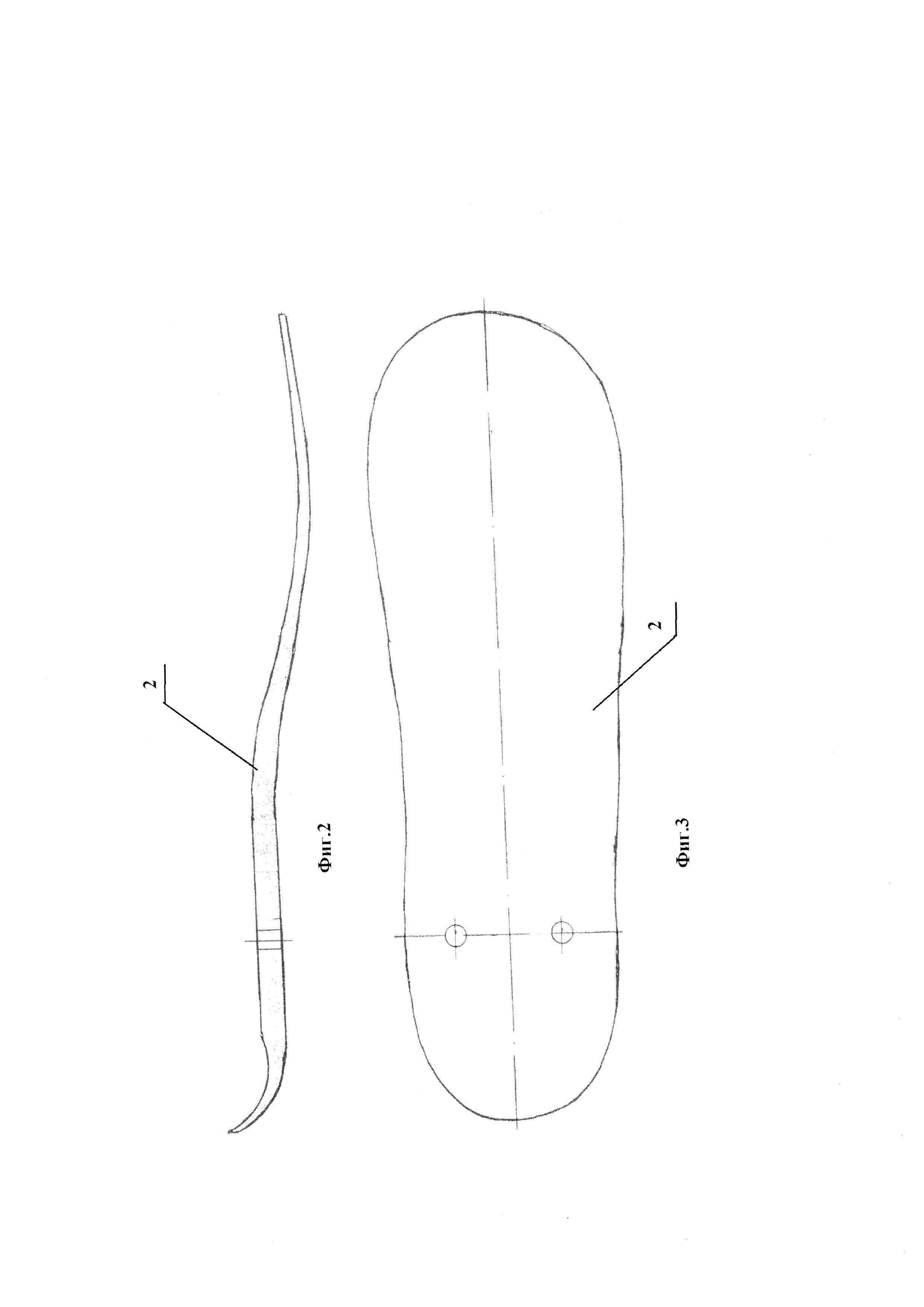
Изобретение относится к медицинской технике и может быть использовано для протезирования нижних конечностей. Известна искусственная стопа, содержащую внешнюю оболочку с амортизирующей профилированной пластиной и с регулировочно-соединительным узлом, имеющим возможность взаимодействия с упругим опорным элементом, расположенным на верхней поверхности амортизирующей профилированной пластины (RU 2437636 С1, 27.12.2011). Регулировочно-соединительный узел в известной искусственной стопе выполнен неподвижным и не обеспечивает оптимальных временных, кинематических и динамических параметров шага. Более близкой к предлагаемому изобретению можно считать искусственную стопу, содержащая внешнюю оболочку с амортизирующей профилированной пластиной, соединенной винтом с установленным на шарнире регулировочно-соединительным узлом, имеющим возможность взаимодействия с упругим опорным элементом, расположенным на верхней поверхности амортизирующей профилированной пластины (RU 2330631 С1, 10.08.2008). Наличие осевого шарнира улучшает параметры шага, но небольшое отклонение голеностопного сустава от вертикальной оси регулировочно-соединительного узла не обеспечивает симметричного и равномерного цикла ходьбы, особенно лицам, ведущим активный образ жизни. Настоящее изобретение направлено на решение задачи по созданию искусственной стопы, не имеющей недостатков известных конструкций и обеспечивающей максимальный комфорт пациенту. Техническим результатом изобретения является получение улучшенных биомеханических характеристик искусственной стопы, повышенный ресурс ее работоспособности, возможность активного отдыха и занятий спортом для инвалидов 2-3 уровня активности, имеющих вес до 125 кг. Сущность изобретения выражается в совокупности существенных признаков, в которой искусственная стопа, содержащая внешнюю оболочку с амортизирующей профилированной пластиной, соединенной с регулировочно-соединительным узлом с осевым шарниром, имеющим возможность взаимодействия с опорным элементом, расположенным на верхней поверхности амортизирующей профилированной пластины, отличается от ближайшего аналога тем, что регулировочно-соединительный узел выполнен с упорами, расположенными для взаимодействия соответственно с амортизатором, установленным на пяточной части опорного элемента и с верхней поверхностью опорного элемента, сопряженной закруглением с выпуклым радиусным участком нижней поверхности опорного элемента, выполненным для взаимодействия с верхней поверхностью амортизирующей профилированной пластины, при этом пяточная часть опорного элемента выполнена в виде ступени, превышающей по высоте в 2,5-4 раза максимальную толщину амортизирующей профилированной пластины, которая имеет расширенную носочную часть и выполнена из стеклопластика, или из углепластика, или имеет расширенную носочную часть и выполнена в виде соединенных между собой пластинчатых элементов из стеклопластика или углепластика с разделительными прокладками из полимерного материала. В частных случаях своего выполнения или использования стопа может содержать оболочку, выполненную из пенополиуретана; амортизирующую профилированную пластину, выполненную с передним продольным разрезом шириной 2-3 мм и длиной, составляющей от 0,5 до 0,6 от длины пластины, и содержать амортизатор, выполненный сменным. Сущность изобретения поясняется чертежом, где на фиг. 1 - дан продольный разрез искусственной стопы и на фиг. 2-7 показаны варианты выполнения амортизирующей профилированной пластины. Искусственная стопа содержит внешнюю оболочку 1 с амортизирующей профилированной пластиной 2, имеющей расширенную носочную часть и соединенной двумя винтами 3 с регулировочно-соединительным узлом 5 с осевым шарниром 4. Регулировочно-соединительный узел 5 выполнен с упорами 6 и 7для взаимодействия соответственно с амортизатором 8, установленным на пяточной части 9 опорного элемента 10, и с верхней поверхностью 11 опорного элемента 10. Верхняя поверхность 11 опорного элемента 10 сопряжена закруглением 12 с выпуклым радиусным участком его нижней поверхности 13, выполненным для взаимодействия с верхней поверхностью 14 амортизирующей профилированной пластины 2. Пяточная часть 9 опорного элемента 10 имеет форму ступени, превышающей по высоте в 2,5-4 раза максимальную толщину амортизирующей профилированной пластины 2, выполненной из стеклопластика, или из углепластика, или в виде соединенных между собой пластинчатых элементов 15 и 16 из стеклопластика или углепластика с разделительными прокладками 17 и 18 из полимерного материала. Толщина амортизирующей профилированной пластины 2 равна 3-5 мм в пяточной и в носочной части и имеет максимальный размер 6-10 мм на участке взаимодействия с опорным элементом 10. В частных случаях своего выполнения или использования стопа может содержать оболочку 1, выполненную из пенополиуретана; амортизирующую профилированную пластину 2, выполненную с передним продольным разрезом 19 шириной 2-3 мм и длиной, составляющей от 0,5 до 0,6 от длины пластины 2. Амортизатор 8 может быть сменным. Искусственная стопа крепится к гильзе протеза посредством регулировочно-соединительного узла 5 с осевым шарниром 4 и соединенного двумя винтами 3 с амортизирующей профилированной пластиной 2. При использовании искусственной стопы инвалидом в переднем толчке нагрузка прикладывается на пяточную часть амортизирующей профилированной пластины 2 и передается через амортизатор 8 на упор 6 регулировочно-соединительного узла 5. Когда голеностопный угол изменяется, регулировочно-соединительный узел 5 поворачивается на осевом шарнире 4 и передает нагрузку на опорный элемент 10, воздействуя упором 7 на его верхнюю поверхность 11. Происходит деформация амортизирующей профилированной пластины 2, при которой нагрузка переходит в крутящий момент в сагиттальной плоскости, что обеспечивает прогиб стопы в носочной части и плавный переход к фазе опоры с последующим переходом в фазу переката без отрыва подошвы внешней оболочки 1. За счет подбора нужной твердости эластичного материала опорного элемента 10 достигается интегрированная биомеханическая характеристика стоп и наименьшая пиковая нагрузка на культю, что взаимосвязано с наивысшим из возможных уровнем комфорта. Для регулировки жесткости пяточной части стопы используют сменный амортизатор 8 из эластичного материала различной твердости. Необходимая величина амортизации достигается методом подбора сменного амортизатора 8.