патент
№ RU 2680751
МПК H03L7/183

Петлевой фильтр с коммутацией полосы пропускания системы ФАПЧ синтезатора частоты (варианты)

Авторы:
Матуразов Михаил Валерьевич Матуразова Татьяна Валерьевна Рахманин Дмитрий Николаевич
Все (6)
Номер заявки
2017145428
Дата подачи заявки
22.12.2017
Опубликовано
26.02.2019
Страна
RU
Как управлять
интеллектуальной собственностью
Чертежи 
3
Реферат

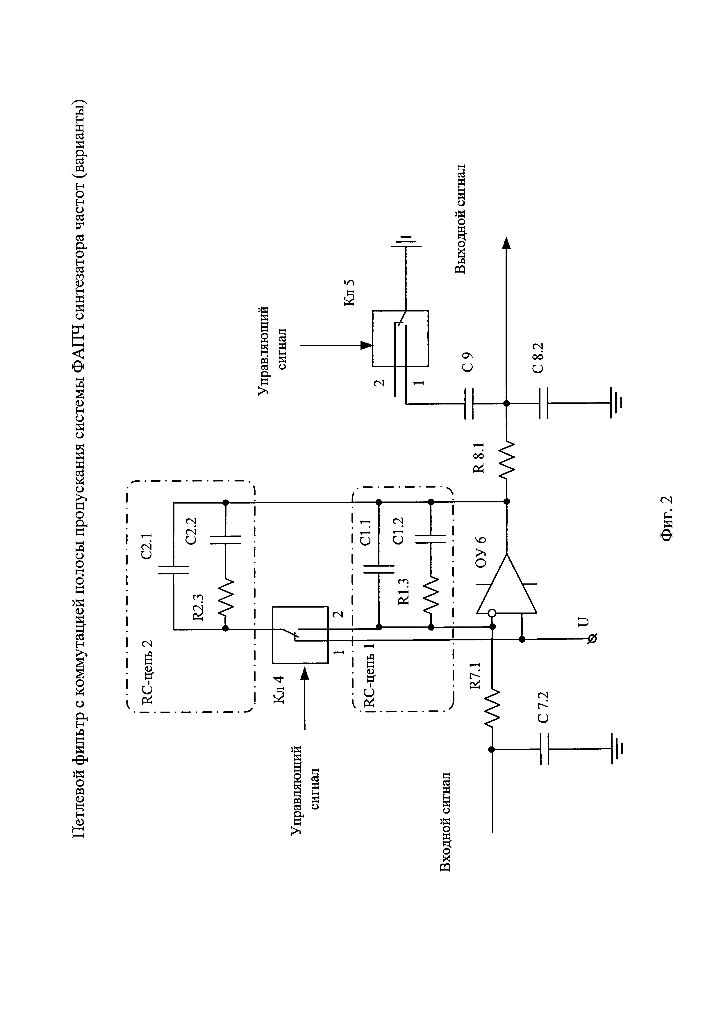
Изобретение относится к радиотехнике. Технический результат заключается в обеспечении высокого быстродействия синтезатора частот при изменении выходной частоты за счет режима широкой полосы пропускания и снижения уровня фазовых шумов за счет режима узкой полосы пропускания в установившемся состоянии системы ФАПЧ. Достижение технического результата происходит за счет изменения полосы пропускания петлевого фильтра системы ФАПЧ способом коммутации RC-цепей с разными постоянными времени в цепи обратной связи операционного усилителя петлевого фильтра с быстрой перезарядкой конденсаторов. Для этого в петлевой фильтр введены входная и выходная корректирующие RC-цепи, дополнительный конденсатор, подключенный к соответствующему выводу второго управляемого ключа, а также n выходных RC-цепей. Кроме того, один из контактов первого управляемого ключа соединен с источником напряжения и неинверсным входом операционного усилителя, параллельно которому включены две RC-цепи с малой и большой постоянной времени соответственно. 2 н. и 2 з.п. ф-лы, 4 ил.

Формула изобретения

1. Петлевой фильтр с коммутацией полосы пропускания системы ФАПЧ синтезатора частот, содержащий первый и второй ключи, параллельно соединенные операционный усилитель и две RC-цепи с малой и большой постоянной времени, соответствующие выводы которых соединены между собой через замкнутый первый ключ, а также входной резистор, один вывод которого соединен с инверсным входом операционного усилителя, а другой является входом петлевого фильтра, отличающийся тем, что введены выходная корректирующая RC-цепь, состоящая из резистора и конденсатора, один вывод которого подключен к общей шине, а другой через дополнительный конденсатор соединен с соответствующим контактом второго управляемого ключа, другой вывод которого подключен к общей шине, при этом точка соединения выходной корректирующей RC-цепи и дополнительного конденсатора является выходом петлевого фильтра, кроме того, к входному выводу фильтра подключен конденсатор, другой вывод которого соединен с общей шиной и образует с входным резистором входную корректирующую RC-цепь, при этом неинверсный вход операционного усилителя соединен с источником напряжения и соответствующим контактом первого управляемого ключа; первый и второй ключи имеют вход управляющего сигнала.

2. Фильтр по п. 1, отличающийся тем, что каждая из RC-цепей с малой и большой постоянной времени состоит из первого конденсатора, включенного параллельно последовательно соединенным резистору и второму конденсатору.

3. Петлевой фильтр с коммутацией полосы пропускания системы ФАПЧ синтезатора частот, содержащий RC-цепь с малой постоянной времени и первый управляемый ключ, отличающийся тем, что введены операционный усилитель, параллельно которому включены две RC-цепи - с малой и большой постоянной времени, соответствующие выводы которых соединены между собой через замкнутый первый управляемый ключ, соответствующий контакт которого соединен с неинверсным входом операционного усилителя и источником напряжения; выход операционного усилителя подключен к выходной корректирующей RC-цепи, соответствующий вывод которой через дополнительный конденсатор соединен с соответствующим контактом второго управляемого ключа, другой контакт которого соединен с общей шиной, при этом к точке соединения дополнительного конденсатора и выходной корректирующей RC-цепи подключены n выходных RC-цепей, выводы которых являются соответствующими выходами фильтра, кроме того, один вывод входной корректирующей RC-цепи является входом петлевого фильтра, другой вывод соединен с инверсным входом операционного усилителя; соответствующие выводы конденсаторов входной и выходной RC-цепей, а также выходных конденсаторов n выходных RC-цепей подсоединены к общей шине.

4. Фильтр по п. 2, отличающийся тем, что каждая из RC-цепей с малой и большой постоянной времени состоит из первого конденсатора, включенного параллельно последовательно соединенным резистору и второму конденсатору.

Описание

[1]

Изобретение относится к радиотехнике и может использоваться в системах фазовой автоподстройки частоты (ФАПЧ) с коммутацией полосы пропускания петлевого фильтра синтезаторов частот (СЧ) с целью обеспечения высокого быстродействия при сохранении низкого уровня фазовых шумов (ФШ) в спектре выходного сигнала.

[2]

Уровень ФШ в спектре выходного сигнала и быстродействие СЧ тесно связаны с полосой пропускания петлевого фильтра системы ФАПЧ. Чем шире полоса пропускания, тем выше быстродействие при недостаточно низком уровне ФШ. Если требуется низкий уровень ФШ в спектре выходного сигнала СЧ, то полосу пропускания приходится делать узкой, что неизбежно приводит к уменьшению быстродействия СЧ. Поэтому с целью обеспечения высокого быстродействия при сохранении низкого уровня ФШ в спектре выходного сигнала в составе системы ФАПЧ синтезатора частот возможно применение петлевого фильтра с коммутацией полосы пропускания.

[3]

Например, известен СЧ на основе ФАПЧ с изменяемой полосой пропускания петлевого фильтра (патент US 5272452, Н03В 3/04), основанный на отключении в начале переходного процесса и подключении в момент достижения синхронизма системы (захвата) к имеющемуся петлевому фильтру двух дополнительных RC-цепей. Также известна система ФАПЧ с коммутацией полосы пропускания петлевого фильтра с помощью переключения RC-цепей с разными постоянными временив цепи обратной связи операционного усилителя (ОУ) (патент US 5537448, Н03В 1/38).

[4]

Недостатком представленных выше технических решений является то, что в момент коммутации петлевого фильтра возникает нежелательный паразитный переходной процесс (ПП), характеризующийся резким выбросом частоты выходного сигнала. Этот эффект может привести к выходу системы ФАПЧ из состояния синхронизма и привести к затягиванию общего времени установления новой частоты СЧ.

[5]

Наиболее близким аналогом по технической сущности к предлагаемому (вариант I) является петлевой фильтр с переключаемыми постоянными времени системы ФАПЧ по патенту ЕР 0664617, H03L 7/183, H03L 7/107, принятый за прототип.

[6]

На фиг. 1 представлена схема устройства-прототипа, где обозначено:

[7]

R1.3, С1.1, С1.2 - резистор, первый и второй конденсаторы RC-цепи 1 с малой постоянной времени;

[8]

R2.3, С2.1, С2.2 - резистор, первый и второй конденсаторы RC-цепи 2 с большой постоянной времени;

[9]

R3.3, С3.1, С3.2 - резистор, первый и второй конденсаторы RC-цепи 3 с большой постоянной времени;

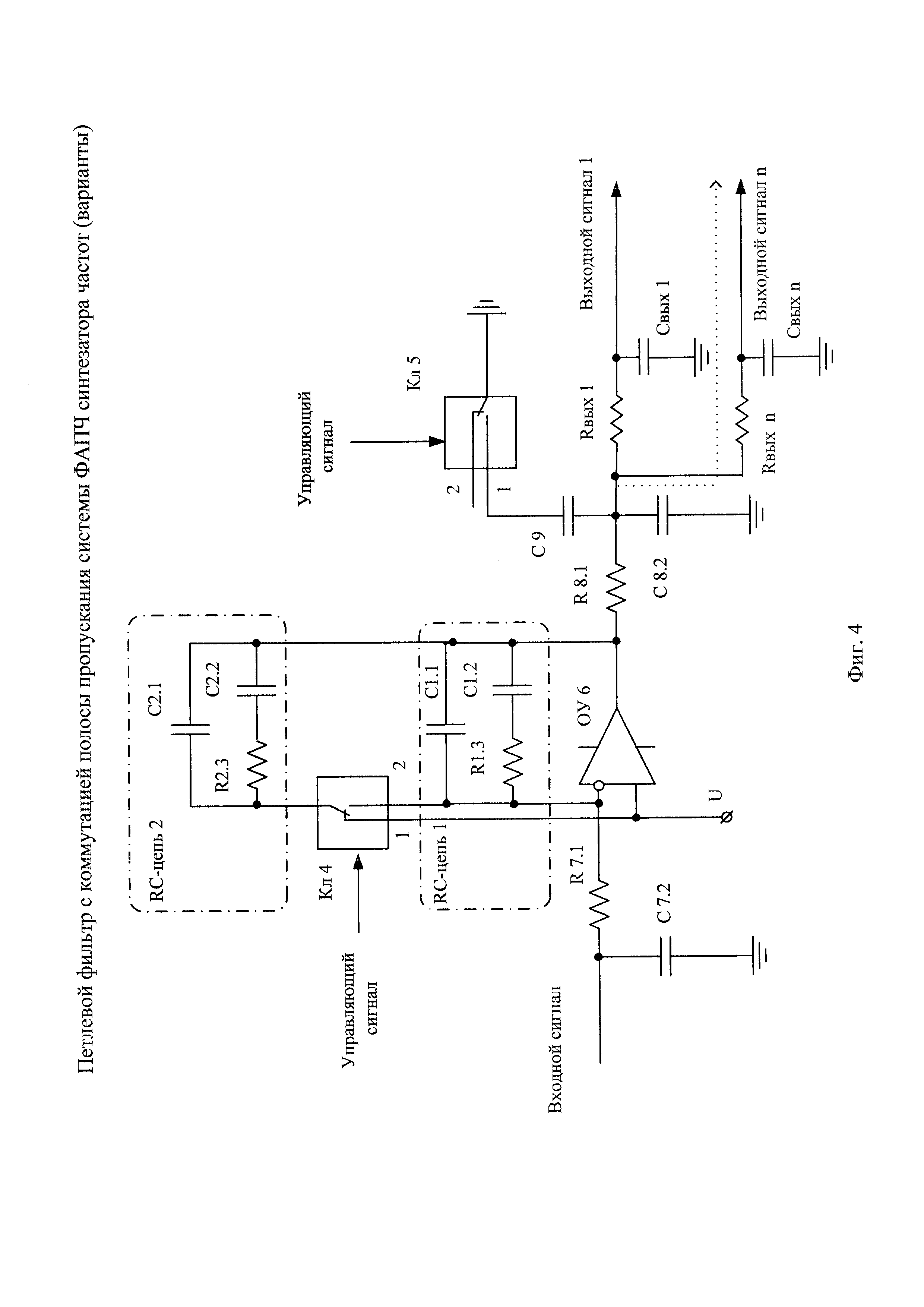
[10]

Кл 4, Кл 5 - первый и второй ключи;

[11]

6 - операционный усилитель (ОУ);

[12]

R7.1 - резистор входной цепи фильтра.

[13]

Петлевой фильтр-прототип содержит последовательно соединенные резистор R7.1 и операционный усилитель 6, а также три параллельно включенные RC-цепи 1, 2 и 3, подсоединенные параллельно ОУ 6, причем соответствующие выводы RC-цепей 2 и 3 соединены с выходом ОУ 6 через замкнутые (положение 2) ключей Кл 4 и Кл 5 соответственно. Входом петлевого фильтра является соответствующий вывод резистора R7.1 а выходом - выход ОУ 6.

[14]

Устройство-прототип работает следующим образом.

[15]

Во время перестройки СЧ с одной частоты на другую возникает переходный процесс. В начале переходного процесса ключи Кл 4 и Кл 5 находятся в положении 1 (контакты 1), т.е. отключены. В обратной связи ОУ 6 используется RC-цепь 1 с малой постоянной времени. При этом ОУ 6, R7.1 и RC-цепь 1 образуют петлевой фильтр с широкой полосой пропускания. Затем при достижении синхронизма системы (захвата), в случае перестройки СЧ вверх по частоте, происходит переключение Кл 4 в положение 2 (контакт 2), то есть параллельно RC-цепи 1 подключается RC-цепь 2 с большой постоянной времени. При этом ОУ 6, R7.1, RC-цепь 1 и RC-цепь 2 образуют петлевой фильтр с узкой полосой пропускания. В случае перестройки СЧ вниз по частоте происходит переключение Кл 5 в положение 2 (контакт 2), таким образом, параллельно RC-цепи 1 подключается RC-цепь 3 с большой постоянной времени. При этом ОУ 6, R7.1, RC-цепь 1 и RC-цепь 3 образуют петлевой фильтр с узкой полосой пропускания. При подключении RC-цепей 2 и 3 происходит выброс частоты выходного сигнала за счет того, что требуется время на перезарядку конденсаторов подключаемых RC-цепей.

[16]

Однако устройство-прототип обладает существенным недостатком, который заключается в выбросе по частоте выходного сигнала при подключении дополнительных RC-цепей петлевого фильтра. Данный выброс по частоте обусловлен необходимостью перезаряда подключаемых конденсаторов.

[17]

Задача, на решение которой направлено заявляемое техническое решение, заключается в достижении высокого быстродействия с сохранением низкого уровня ФШ в спектре выходного сигнала системы ФАПЧ, при использовании коммутации постоянных времени петлевого фильтра системы ФАПЧ с минимизацией времени нежелательного паразитного переходного процесса, характеризующегося резким выбросом частоты выходного сигнала.

[18]

Для решения поставленной задачи в петлевой фильтр с коммутацией полосы пропускания системы ФАПЧ синтезатора частот, содержащий первый и второй ключи, параллельно соединенные операционный усилитель и две RC-цепи с малой и большой постоянной времени, соответствующие выводы которых соединены между собой через замкнутый первый ключ, а также входной резистор, один вывод которого соединен с инверсным входом операционного усилителя, а другой является входом петлевого фильтра, согласно изобретению, введены выходная корректирующая RC-цепь, состоящая из резистора и конденсатора, один вывод которого подключен к общей шине, а другой через дополнительный конденсатор соединен с соответствующим контактом второго управляемого ключа, другой вывод которого подключен к общей шине, при этом точка соединения выходной корректирующей RC-цепи и дополнительного конденсатора является выходом петлевого фильтра, кроме того, к входному выводу фильтра подключен конденсатор, другой вывод которого соединен с общей шиной и образует с входным резистором входную корректирующую RC-цепь, при этом неинверсный вход операционного усилителя соединен с источником напряжения и соответствующим контактом первого управляемого ключа; первый и второй ключи имеют вход управляющего сигнала.

[19]

Таким образом, решение поставленной задачи заключается в изменении полосы пропускания петлевого фильтра системы ФАПЧ (режим «широкой полосы» (ШП) и режим «узкой полосы» (УП)) способом коммутации RC-цепей с разными постоянными времени в цепи обратной связи ОУ 1 петлевого фильтра с быстрой перезарядкой конденсаторов в режиме ШП.

[20]

Схема заявляемого устройства (вариант I) представлена на фиг. 2, где обозначено:

[21]

R1.3-C1.1-C1.2 - резистор, первый и второй конденсаторы RC-цепи 1 с малой постоянной времени;

[22]

R2.3-C2.1-C2.2 - резистор, первый и второй конденсаторы RC-цепи 2 с большой постоянной времени;

[23]

Кл 4, Кл 5 - первый и второй ключи;

[24]

6 - операционный усилитель (ОУ);

[25]

R7.1-C7.2 - резистор и конденсатор входной корректирующей цепи;

[26]

R8.1-C8.2 - резистор и конденсатор выходной корректирующей цепи;

[27]

С9 - дополнительный конденсатор.

[28]

Предлагаемое устройство содержит входную корректирующую RC-цепь, состоящую из конденсатора С7.2 и резистора R7.1, соответствующий вывод которого соединен с инверсным входом ОУ 6 и соответствующим выводом RC-цепи 1, а при нахождении Кл 4 в положении 2 (замкнут) - и с соответствующим выводом RC-цепи 2. При этом другие выводы RC-цепей 1 и 2 подключены к выходу ОУ 6 и соответствующему выводу выходной корректирующей RC-цепи, состоящей из резистора R8.1 и конденсатора С8.2, к точке соединения которых подключен дополнительный конденсатор С9, другой вывод которого подключен к контакту 1 Кл 5, контакт 2 которого соединен с общей шиной. Кроме того, неинверсный вход ОУ 6 соединен с первым контактом Кл 1 и выводом источника напряжения U. При этом ключи Кл 4 и Кл 5 имеют входы управляющего сигнала, т.е. являются управляемыми ключами. Один из выводов входной корректирующей RC-цепи является входом фильтра. Соответствующий вывод выходной корректирующей RC-цепи является выходом предлагаемого устройства. Соответствующие выводы конденсаторов С7.2 и С8.2 соединены с общей шиной. Причем каждая из RC-цепей с малой 1 (R1.3-C1.1-C1.2) и большой 2 (R2.3-C2.1-C2.2) постоянной времени состоит из первого конденсатора С1.1 (С2.1), включенного параллельно последовательно соединенным резистору R1.3 (R2.3) и второму конденсатору С1.2 (С2.2) соответственно.

[29]

Предлагаемое устройство работает следующим образом.

[30]

Для достижения более устойчивого равновесия системы ФАПЧ на вход и выход петлевого фильтра добавлены корректирующие RC-цепи: R7.1-C7.2 и R8.1-C8.2 соответственно. При переключении синтезатора частот с одной частоты на другую возникает переходный процесс. В начале ПП в обратной связи ОУ 6 используется RC-цепь 1 с малой постоянной времени, при которой система ФАПЧ имеет широкую полосу пропускания (режим ШП). Во время использования цепи с широкой полосой пропускания происходит оперативное изменение синтезируемой частоты к требуемому значению, одновременно с этим ключ Кл 1 находится в положении 1 (разомкнут), а RC-цепь 2 с большой постоянной времени, при подключении которой система ФАПЧ имеет узкую полосу пропускания (режим УП), подключена к источнику напряжения U. В этот момент происходит перезарядка конденсаторов RC-цепи 2. При достижении синхронизма системы ФАПЧ происходит переключение Кл 47 в положение 2 и Кл 5 в положение 1, вследствие чего к RC-цепи 1 с малой постоянной времени (с широкой полосой пропускания) подключается RC-цепь 2 с большой постоянной времени (с узкой полосой пропускания) и дополнительный конденсатор С9 - к выходной корректирующей RC-цепи (R8.1-C8.2). Так как конденсаторы RC-цепи 2 были перезаряжены заранее, то длительность ПП становится значительно меньше. Поскольку постоянные времени RC-цепей 1 и 2 отличаются в несколько раз, то RC-цепь 1 с малой постоянной времени не вносит существенного влияния в работу петлевого фильтра при подключении к ней RC-цепи 2 с большой постоянной времени.

[31]

Все элементы петлевого фильтра общеизвестны. Операционный усилитель может быть выполнен, например, на микросхеме ОРА211 Texas Instruments, а ключи - на микросхеме ADG713 Analog Devices.

[32]

Таким образом, используя переключения RC-цепей 1 и 2, а также подключение дополнительного конденсатора С9 к выходной корректирующей цепи R8.1-C8.2, достигается высокое быстродействие с сохранением низкого уровня ФШ в спектре выходного сигнала системы ФАПЧ.

[33]

Предлагаемое техническое решение позволяет получить высокое быстродействие СЧ при смене частоты за счет режима ШП и уменьшение уровня ФШ за счет режима УП в установившемся состоянии системы ФАПЧ, что предполагает его использование в перспективных системах радиосвязи, где требуется обеспечение высокого быстродействия и низкого уровня паразитных спектральных составляющих (ПСС) и ФШ в спектре выходного сигнала.

[34]

Наиболее близким аналогом по технической сущности к предлагаемому (вариант II) является кольцо ФАПЧ с выбираемым временем переключения частоты по патенту US 5420545, H03L 7/107, H03L 7/18, принятый за прототип.

[35]

На фиг. 3 изображена схема петлевого фильтра-прототипа, где обозначено:

[36]

R1.3-C1.1-C1.2 - резистор, первый и второй конденсаторы RC-цепи 1 с малой постоянной времени;

[37]

R2.3 - резистор;

[38]

Кл 4 - первый управляемый ключ.

[39]

Устройство-прототип содержит RC-цепь 1 с малой постоянной времени, один вывод которой соединен с соответствующим выводом Кл 4. Другой вывод Кл 4 через резистор R2.3 подключен к точке соединения R1.3 и С1.2 RC-цепи 1. При этом Кл 4 имеет вход управляющего сигнала. Входом фильтра-прототипа является точка соединения конденсатора С1.1 и R1.3 RC-цепи 1. Выходом фильтра-прототипа является точка соединения резистора R1.3 RC-цепи 1 с соответствующим выводом Кл 4.

[40]

Устройство-прототип работает следующим образом.

[41]

При перестройке СЧ с одной на другую частоту в начале переходного процесса ключ Кл 4 разомкнут.При этом благодаря малой постоянной времени RC-цепи 1, а соответственно широкой полосе пропускания системы ФАПЧ, происходит быстрое изменение частоты СЧ к требуемому значению. При достижении синхронизма системы (захвата) по внешней команде управляющего сигнала Кл 4 замыкается. В это время параллельно R1.3 подключается резистор R2.3, что увеличивает постоянную времени RC-цепи 1 и соответственно уменьшает полосу пропускания системы ФАПЧ. Благодаря этому уровень ФШ становится меньше, а также уменьшается уровень паразитных спектральных составляющих.

[42]

Недостатком устройства-прототипа является значительный выброс по частоте выходного сигнала при подключении дополнительных RC-цепей петлевого фильтра, который обусловлен необходимостью перезарядки подключаемых конденсаторов.

[43]

Задача предлагаемого технического решения - снижение уровня фазовых шумов в спектре выходного сигнала системы ФАПЧ при сохранении большого диапазона перестройки по частоте и низкого уровня паразитных спектральных составляющих (ПСС), а также минимизацией времени нежела- тельного паразитного переходного процесса, характеризующегося резким выбросом частоты выходного сигнала.

[44]

Для решения поставленной задачи в петлевой фильтр с коммутацией полосы пропускания системы ФАПЧ синтезатора частот, содержащий RC-цепь с малой постоянной времени и первый управляемый ключ, согласно изобретению, введены операционный усилитель, параллельно которому включены две RC-цепи - с малой и большой постоянной времени, соответствующие выводы которых соединены между собой через замкнутый первый управляемый ключ, соответствующий контакт которого соединен с неинверсным входом операционного усилителя и источником напряжения; выход операционного усилителя подключен к выходной корректирующей RC-цепи, соответствующий вывод которой через дополнительный конденсатор соединен с соответствующим контактом второго управляемого ключа, другой контакт которого соединен с общей шиной, при этом к точке соединения дополнительного конденсатора и выходной корректирующей RC-цепи подключены n выходных RC-цепей, выводы которых являются соответствующими выходами фильтра, кроме того, один вывод входной корректирующей RC-цепи является входом петлевого фильтра, другой вывод соединен с инверсным входом операционного усилителя; соответствующие выводы конденсаторов входной и выходной RC-цепей, а также выходных конденсаторов n выходных RC-цепей подсоединены к общей шине.

[45]

Схема предлагаемого устройства (вариант II) представлена на фиг. 4, где обозначено:

[46]

R1.3-C1.1-C1.2 - резистор, первый и второй конденсаторы цепи 1 с малой постоянной времени;

[47]

R2.3-C2.1-См2.2 - резистор, первый и второй конденсаторы цепи 2 с большой постоянной времени;

[48]

Кл 4, Кл 5 - первый и второй управляемые ключи;

[49]

6 - операционный усилитель (ОУ);

[50]

R7.1-C7.2 - резистор и конденсатор входной корректирующей цепи;

[51]

R8.1-C8.2 - резистор и конденсатор выходной корректирующей цепи;

[52]

С9 - дополнительный конденсатор;

[53]

Rвых1-Свых1 - Rвых n-Свых n - резисторы и конденсаторы n выходных RC-цепей.

[54]

Предлагаемое устройство содержит входную корректирующую RC-цепь, состоящую из конденсатора С7.2 и резистора R7.1, соответствующий вывод которого соединен с инверсным входом ОУ 6 и соответствующим выводом RC-цепи 1, а при нахождении Кл 4 в положении 2 (замкнут) - с соответствующим выводом RC-цепи 2. При этом другие выводы RC-цепей 1 и 2 подключены к выходу ОУ 6 и соответствующему выводу выходной корректирующей RC-цепи, состоящей из резистора R8.1 и конденсатора С8.2, к точке соединения которых подключен дополнительный конденсатор С9, другой вывод которого подключен к контакту 1 Кл 2, контакт 2 которого соединен с общей шиной. Кроме того, неинверсный вход ОУ 6 соединен с первым контактом Кл 4 и выводом источника напряжения U. При этом ключи Кл 4 и Кл 5 имеют входы управляющего сигнала, т.е. являются управляемыми ключами. Сигнал управления на Кл 4 и Кл 5 поступает от управляющего устройства (на фиг. 4 не показан). Точка соединения R8.1, С8.2 и С9 подключена к соответствующим выводам n выходных RC-цепей, в каждой из которых точки соединения резисторов Rвых и конденсаторов Свых с 1 по n-ый являются соответствующими выходами петлевого фильтра, при этом другие выводы выходных конденсаторов Свых с 1 по n-ый подсоединены к общей шине. Причем каждая из RC-цепей с малой 1 (R1.3-C1.1-C1.2) и большой 2 (R2.3-См2.1-См2.2) постоянной времени состоит из первого конденсатора С1.1 (С2.1), включенного параллельно последовательно соединенным резистору R1.3 (R2.3) и второму конденсатору С1.2 (С2.2) соответственно.

[55]

Предлагаемое устройство работает следующим образом.

[56]

При переключении синтезатора частот с одной частоты на другую возникает переходный процесс. В начале ПП в обратной связи ОУ 6 используется RC-цепь 1 с малой постоянной времени, при которой система ФАПЧ имеет широкую полосу пропускания (режим ШП). Во время использования цепи с 1 с малой постоянной времени (с широкой полосой пропускания) происходит оперативное изменение синтезируемой частоты к требуемому значению, одновременно с этим ключ Кл 4 находится в положении 1 (разомкнут), а цепь 2 с большой постоянной времени, при подключении которой, система ФАПЧ имеет узкую полосу пропускания (режим УП) подключена к источнику напряжения U. В этот момент происходит перезарядка конденсаторов цепи 2. При достижении синхронизма системы ФАПЧ происходит переключение Кл 4 в положение 2 и Кл 5 в положение 1, вследствие чего к цепи 1 с малой постоянной времени (с широкой полосой пропускания) подключается цепь 2 с большой постоянной времени (с узкой полосой пропускания) и дополнительный конденсатор С9 - к выходной корректирующей RC-цепи (R8.1-C8.2). Так как конденсаторы RC-цепи 1 были перезаряжены заранее, то длительность переходного процесса становится значительно меньше. Поскольку постоянные времени RC-цепей 1 и 2 отличаются в несколько раз, то цепь 1 с малой постоянной времени не вносит существенного влияния в работу петлевого фильтра при подключении к ней цепи 2 с большой постоянной времени.

[57]

Для достижения более устойчивого равновесия системы ФАПЧ на вход петлевого фильтра и выход ОУ 6 добавлены входная и выходная корректирующие RC-цепи R7.1-C7.2 и R8.1-C8.2 соответственно.

[58]

Для получения более низкого уровня ФШ в спектре выходного сигнала системы ФАПЧ необходимо использовать управляемый генератор (УГ) (на фиг. не показан) с улучшенными шумовыми характеристиками. Но такой УГ обладает небольшим диапазоном перестройки по частоте. Для сохранения большого диапазона перестройки по частоте и получения более низкого уровня ФШ в спектре выходного сигнала системы ФАПЧ необходимо использовать несколько УГ, для управления каждым из которых, требуется «свой» выходной сигнал, т.е. использование n выходов петлевого фильтра.

[59]

В соответствии с этим на n выходов петлевого фильтра добавлены выходные RC-цепи с 1 (Rвых-Cвых) по n (Rвых n-Свых n) соответственно.

[60]

Таким образом, используя переключение цепей 1 и 2, вместе со своевременной перезарядкой конденсаторов и подключением дополнительного конденсатора С9 к выходной корректирующей RC-цепи, а также введение n выходных RC-цепей, достигается более низкий уровень ФШ в спектре выходного сигнала и высокое быстродействие системы ФАПЧ синтезатора частот.

[61]

Все элементы петлевого фильтра общеизвестны. Операционный усилитель может быть выполнен, например, на микросхеме ОРА211 Texas Instruments, а ключи - на микросхеме ADG713 Analog Devices.

Как компенсировать расходы
на инновационную разработку
Похожие патенты