патент
№ RU 2702703
МПК G01P3/00

Микрооптоэлектромеханический датчик угловой скорости с кольцевым резонатором

Авторы:
Булычев Роман Павлович Коробков Кирилл Андреевич Йин Наинг Вин
Все (5)
Номер заявки
2019103009
Дата подачи заявки
04.02.2019
Опубликовано
09.10.2019
Страна
RU
Как управлять
интеллектуальной собственностью
Чертежи 
1
Реферат

Изобретение относится к области приборостроения, а именно к устройствам для измерения угловой скорости. Микрооптоэлектромеханический датчик угловой скорости выполнен на основе волнового твердотельного гироскопа и оптического туннельного эффекта, содержит чувствительный элемент, выполненный в виде кольцевого резонатора, четыре канала приемопередачи оптического излучения, блок управления, блок обработки информации, при этом в блок электроники введен блок коррекции, содержащий два усиливающих и одно умножающее устройство, блок обработки, состоящий из суммирующе-вычитающего устройства и усилителя, дополнительно вычисляет значение линейных ускорений по двум осям, при этом четыре входа суммирующе-вычитающего устройства связаны с выходами каналов приемопередачи оптического излучения, три сигнала, вырабатываемые суммирующе-вычитающим устройством, подаются на входы трех усилителей, выходы которых связаны с входами умножающего устройства. Технический результат – повышение точности датчика угловой скорости. 1 ил.

Формула изобретения

Микрооптоэлектромеханический датчик угловой скорости, выполненный на основе волнового твердотельного гироскопа и оптического туннельного эффекта, содержащий чувствительный элемент, выполненный в виде кольцевого резонатора, четыре канала приемопередачи оптического излучения, связанные с чувствительным элементом, блок электроники, включающий блок обработки информации и блок управления, связанный с чувствительным элементом, отличающийся тем, что в блок электроники введен дополнительно блок коррекции, содержащий два усиливающих и одно умножающее устройство, предназначенное для вывода скорректированного значения измеренной угловой скорости, а блок обработки информации предназначен для вычисления значений угловой скорости и линейных ускорений по двум осям и состоит из суммирующе-вычитающего устройства и усилителя, при этом выходы каналов приемопередачи оптического излучения связаны с четырьмя входами суммирующе-вычитающего устройства, причем три выхода суммирующе-вычитающего устройства связаны с входами трех усилителей, выходы которых соединены с входами умножающего устройства.

Описание

[1]

Изобретение относится к области приборостроения и предназначено для измерения угловой скорости вращения в инерциальной системе отсчета, связанной с центром масс летательных аппаратов аэрокосмической техники.

[2]

Известен датчик угловой скорости на основе волнового твердотельного гироскопа с кольцевым резонатором и оптического туннельного эффекта, состоящий из устройства управления, чувствительного элемента, выполненного в виде кольцевого резонатора, закрепленного на упругих подвесах в кремниевой пластине, соединенной со стеклянной подложкой, контактных площадок, четырех проводящих контуров, выполненных на соседних близко расположенных упругих подвесах и частично на кольцевом резонаторе, равноудалено друг от друга, постоянного магнита, верхнего и нижнего магнитопровода, блока обработки информации, четырех каналов приемо-передачи оптического излучения, включающих волоконно-оптический ответвитель, связанный световодами с источником оптического излучения, приемником оптического излучения, и устройством ориентации оптического излучения, причем устройства ориентации оптического излучения, выполненные в виде прямоугольных параллелепипедов из кварцевого стекла, установлены на стеклянной подложке чувствительного элемента со сдвигом в 45° относительно центров проводящих контуров, расположенных на кольцевом резонаторе, на расстоянии от 1 до 10 мкм от кольцевого резонатора, покрыты зеркальным напылением, за исключением области расположенной напротив кольцевого резонатора, а на внешнюю поверхность кольцевого резонатора нанесено светопоглощающее покрытие [Бусурин В.И., Жеглов М.А., Казарьян А.В., Коробков В.В., Медведев В.М. Микрооптоэлектромеханический датчик угловой скорости на основе волнового твердотельного гироскопа с кольцевым резонатором и оптического туннельного эффекта. Патент на изобретение №2641507 от 17 января 2018 г.] (прототип). Принцип действия данного датчика основан на измерении в четырех точках с помощью оптического туннельного эффекта, амплитуд колебаний резонатора, возникающих из-за воздействия угловой скорости на резонатор. К недостаткам датчика можно отнести уменьшение чувствительности оптического метода, и как следствие уменьшение точности измеренной угловой скорости, при воздействии линейных ускорений.

[3]

Технический результат, создаваемый изобретением, - улучшение точностных характеристик датчика за счет корректировки выходного измерения масштабным коэффициентом.

[4]

Для достижения указанного результата предлагается микрооптоэлектромеханический датчик угловой скорости, выполненный на основе волнового твердотельного гироскопа и оптического туннельного эффекта, содержащий чувствительный элемент, выполненный в виде кольцевого резонатора, четыре канала приемо-передачи оптического излучения, блок управления, блок обработки информации, состоящий из суммирующе-вычитающего устройства и усилителя измеренного значения угловой скорости, блок коррекции, содержащий два устройства усиления и одно умнения, при этом, четыре входа блока обработки информации связаны с выходами каналов приемо-передачи оптического излучения, измерения со второго и третьего выхода блока обработки, соответствующие измеренным значениям линейных ускорений по двум осям, подаются на первое и второе усиливающие устройства для формирования сигналов коррекции масштабного коэффициента, первый вход умножающего устройства связан с выходом усилителя блока обработки, формирующий значение угловой скорости, на второй и трений входы - поступают сигналы коррекции с усилителей блока коррекции.

[5]

Применение коррекции масштабного коэффициента в датчике угловой скорости на основе твердотельного волнового гироскопа и оптическим туннельным эффектом, позволит улучшить точностные характеристики датчика, за счет уменьшения влияния линейных ускорений.

[6]

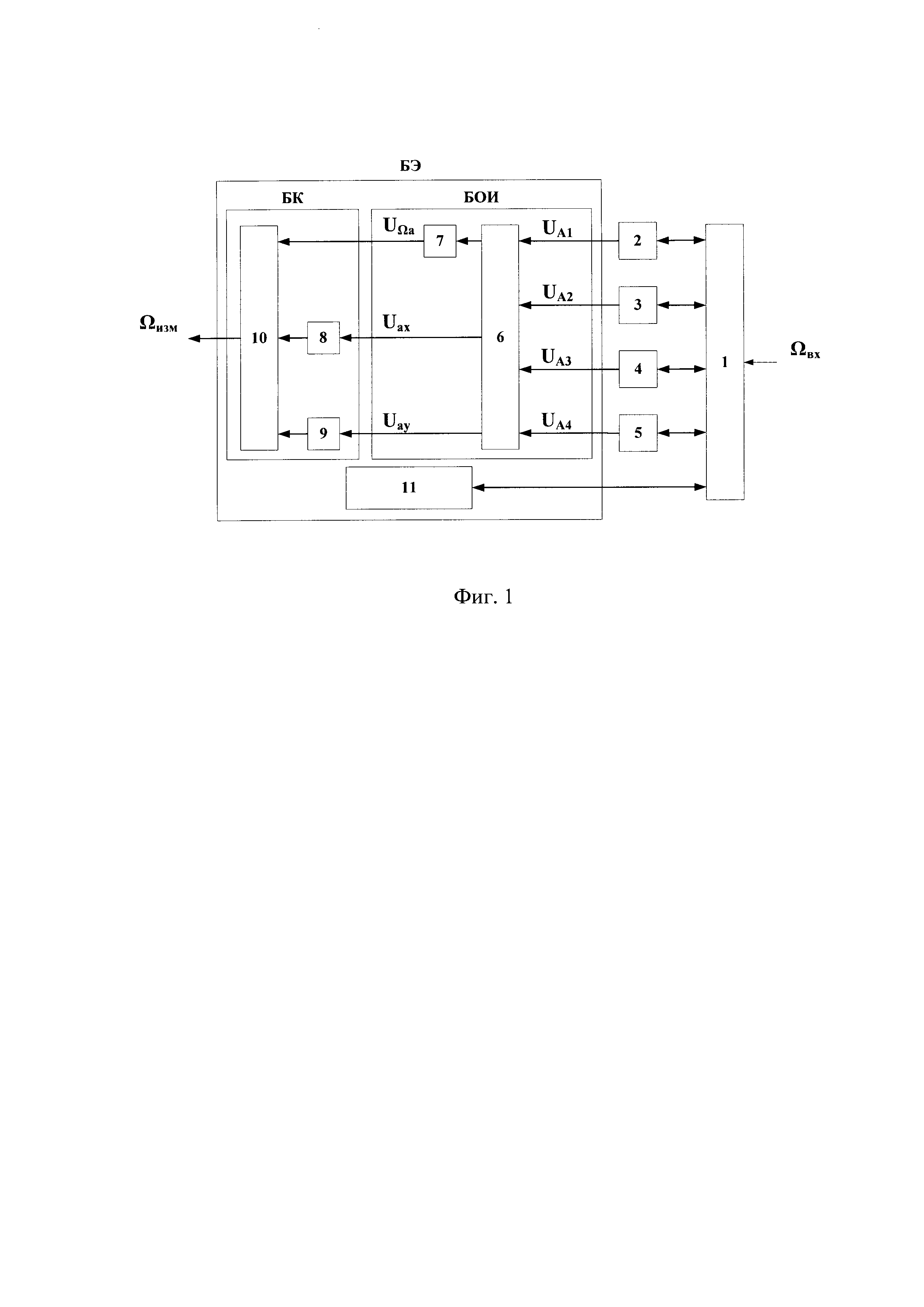
На фиг. 1 представлена структурная схема микрооптоэлектромеханического датчика угловой скорости на основе волнового твердотельного гироскопа с кольцевым резонатором, оптическим туннельным эффектом и коррекцией масштабного коэффициента.

[7]

Микрооптоэлектромеханический датчик угловой скорости на основе волнового твердотельного гироскопа с кольцевым резонатором и оптического туннельного эффекта содержит чувствительный элемент 1, четыре канала приемо-передачи оптического излучения 2-5, блок электроники (БЭ), состоящий из блока обработки информации (БОИ), блока коррекции (БК) и блока управления. БОИ состоит из суммирующе-вычитающее устройства 6 и усилителя 7, и предназначен для расчета измеренных значений угловой скорости Ω_а, соответствующей значению угловой скорости объекта Ωвх, и линейного ускорения по двум осям (Uax, Uay) в инерциальной системе координат. БК содержит усиливающие устройства 8-9 и умножающее устройство 10, предназначенное для корректировки масштабного коэффициента выходного значения угловой скорости по преобразованным усиливающими устройствами 8-9 сигналам суммирующе-вычитающее устройства 6, блок управления 11, предназначенный для формирования управляющих сигналов, подающихся на чувствительный элемент для возбуждения колебаний кольца резонатора.

[8]

Микрооптоэлектромеханический датчик угловой скорости на основе волнового твердотельного гироскопа и оптического туннельного эффекта с коррекцией масштабного коэффициента работает следующим образом. По управляющим сигналам блока управления 11, происходит возбуждение колебаний чувствительного элемента 1. Выходные сигналы с каналов приемо-передачи оптического излучения 2-5 меняются по гармоническому закону с частотой, определяемой частотой колебаний чувствительного элемента 1, и амплитудой, пропорциональной угловой скорости, воздействующей на объект. Суммирующе-вычитающее устройство 6 по полученными сигналам с приемников оптического излучения рассчитывает удвоенное значение угловой скорости 2UΩа, как разность суммы этих сигналов, и может быть представлена формулой следующего вида:

[9]

2UΩа=(UA1+UA3)-(UA2+UA4),

[10]

где UAn (n=1, 2, 3, 4) - сигнал с n канала приема-передачи оптического излучения; вырабатывает два разностных сигнала с противолежащих приемников оптического излучения, соответствующие изменению линейного ускорения по двум осям (Uax, Uay):

[11]

Uax=UA3- UA1,

[12]

Uay=UA4 - UA2,

[13]

и осуществляет передачу на усиливающие устройства 7, 8, 9. На выходе усилителя 7 имеем значение угловой скорости без учета коррекции влияния линейного ускорения UΩa. Усиливающие устройства 8 и 9 реализуют функции преобразования измеренных линейных ускорений в корректирующие сигналы. Функции преобразования имеют нелинейных характер и могут быть описаны полиномами со степенью не ниже второй. В ходе аппроксимации функциональной зависимости отражательной способности оптического первичного преобразователя от линейного ускорения рассчитываются коэффициенты полинома. Корректирующие сигналы с усиливающих устройств подаются на второй и третий вход умножающего устройства 10 и изменяют масштабный коэффициент выходного измерения угловой скорости Ωизм.

[14]

Изобретение может быть использовано для измерения линейного ускорения объектов.

Как компенсировать расходы
на инновационную разработку
Похожие патенты