патент
№ RU 2647665
МПК G09G3/00

Способ имитации коллимационного эффекта в проекционных системах визуализации внекабинной обстановки для авиационных тренажеров военного назначения и проекционная система визуализации

Авторы:
Огинский Андрей Андреевич
Номер заявки
2017118053
Дата подачи заявки
24.05.2017
Опубликовано
16.03.2018
Страна
RU
Как управлять
интеллектуальной собственностью
Чертежи 
1
Реферат

Изобретение относится к военным авиационным тренажерам. Технический результат заключается в компенсации эффекта зависимости пространственного положения линии визирования удаленных объектов визуализируемой с помощью проекционной системы визуализации внекабинной обстановки от положения органов зрения обучаемого пилота. Такой результат достигается тем, что отслеживают изменения положения головы обучаемого пилота, формируют разностный сигнал при его изменении, в соответствии с которым генерируемое изображение внекабинной обстановки корректируется относительно нового положения головы обучаемого пилота так, чтобы наблюдаемая обучаемым пилотом прицельная метка коллиматорного прицела, совмещенная с точкой прицеливания на изображении внекабинной обстановки, оставалась совмещенной с той же точкой прицеливания. 2 н.п. ф-лы, 1 ил.

Формула изобретения

1. Способ имитации коллимационного эффекта в проекционных системах визуализации внекабинной обстановки для авиационных тренажеров, заключающийся в том, что положение головы обучаемого пилота, наблюдающего демонстрируемую внекабинную обстановку через коллиматорный прицел, отслеживается в реальном масштабе времени, и при обнаружении его изменения формируется разностный сигнал с величиной, пропорциональной степени и направлению указанного изменения, в соответствии с которым осуществляется корректировка генерируемого изображения внекабинной обстановки относительно нового положения органов зрения обучаемого пилота так, чтобы наблюдаемая обучаемым пилотом прицельная метка коллиматорного прицела, совмещенная с точкой прицеливания на изображении внекабинной обстановки при исходном положении органов зрения обучаемого пилота, оставалась совмещенной с той же точкой прицеливания при новом положении головы обучаемого пилота.

2. Проекционная система визуализации внекабинной обстановки для авиационных тренажеров с использованием способа по п. 1, содержащая компьютерный генератор изображений, один или несколько проекторов и систему проекционных экранов, таких что изображение внекабинной обстановки отображается путем проецирования с помощью указанных одного или нескольких проекторов на систему проекционных экранов, отличающаяся тем, что содержит датчик положения головы обучаемого пилота, формирователь разностного сигнала и коллиматорный прицел, причем выход датчика положения головы обучаемого пилота подключен к входу формирователя разностного сигнала, выход формирователя разностного сигнала подключен к входу компьютерного генератора изображений, а демонстрируемая на системе проекционных экранов внекабинная обстановка наблюдается обучаемым пилотом через коллиматорный прицел.

Описание

[1]

1. Область техники, к которой относится изобретение

[2]

Изобретение относится к военным авиационным тренажерам, в особенности к комплексам полунатурного моделирования авиационного вооружения и авиационным тренажерам с коллиматорным прицелом. Цель изобретения - повышение реалистичности моделирования внекабинной обстановки в авиационных тренажерах с системами визуализации проекционного типа, позволяющее ускорить процесс обучения пилотов, а также повысить его эффективность.

[3]

2. Уровень техники

[4]

С точки зрения технической структуры современные устройства визуализации внекабинной обстановки можно условно разделить на два класса: проекционные и коллимационные.

[5]

Суть технического устройства проекционных систем заключается в следующем. Визуализация внекабинной обстановки осуществляется с помощью экрана, находящегося на малом (порядка 3-5 метров) расстоянии от места расположения тренируемого пилота. На данный экран, с помощью специального проектора, проецируется изображение внекабинного пространства, формируемое чаще всего с помощью цифровых электронных вычислительных машин.

[6]

В коллимационных системах вместо экрана используется система из светоделительного и сферически вогнутого зеркал. Изображение внекабинного пространства, визуализируемое с помощью проектора, проходит светоделительное зеркало, после чего поступает на сферически вогнутое зеркало, непосредственно наблюдаемое обучаемыми пилотами.

[7]

Достоинством проекционных систем является техническая простота и сравнительно низкая стоимость, поскольку вогнутые зеркала с высоким коэффициентом отражения и сложной объемной формой, используемые в коллимационных системах, составляют основную долю их стоимости. К тому же, как показал опыт для работы с коллимационными системами (по крайней мере, с современными еще может быть не совсем совершенными), необходимо некоторое «привыкание» (в проекционных системах человек работает сразу нормально) и отмечается повышенная утомляемость по сравнению с работой в проекционных системах.

[8]

Что же касается недостатков проекционных систем, то их основным недостатком является зависимость пространственного положения линии визирования удаленных объектов внекабинной обстановки (целей) от положения органов зрения обучаемого пилота. Таким образом, в проекционных системах значительно снижается реалистичность отображения внекабинной обстановки.

[9]

На практике данный недостаток проявляется следующим образом. Неотъемлемой частью тренажеров авиационного вооружения является коллиматорный прицел, формирующий изображение прицельной метки, используемой при отработке на тренажере применения авиационных ударных средств. Совмещение прицельной метки и изображения учебного объекта применения авиационных ударных средств (цели) на демонстрируемой внекабинной обстановке осуществляется с помощью органов управления авиатренажера, воздействие на которые изменяет демонстрируемую внекабинную обстановку, имитируя маневры авиационного средства. Вышеупомянутая линия визирования строится таким образом от прицельной метки коллиматорного прицела к точке на изображении объекта прицеливания на демонстрируемой внекабинной обстановке. Описанный недостаток заключается в том, что смещение органов зрения обучаемого пилота приводит к визуальному смещению прицельной метки коллиматорного прицела с точки прицеливания (цели) на изображении внекабинного объекта, при том что никакое воздействие на органы управления тренажера не осуществляется и фактические координаты точки, на которую считается нацеленным имитируемое авиационное вооружение, также не меняются.

[10]

Коллимационные системы лишены описанного недостатка за счет коллимирования, т.е. проецирования изображения внекабинной обстановки таким образом, что пучок лучей света, распространяющихся радиально от проектора изображения внекабинной обстановки, преломляется таким образом, что указанные лучи света в пучке становятся параллельны друг другу.

[11]

Предлагаемый способ предназначен для компенсации зависимости пространственного положения линии визирования удаленных объектов от положения органов зрения обучаемого пилота, что позволяет создать в предлагаемой авиатренажерной проекционной системе визуализации эффекта, имитирующего коллимационный.

[12]

В настоящее время известно большое количество проекционных систем визуализации, используемых в тренажерах управления транспортными средствами, в том числе авиационными. Поскольку их техническое строение в целом сходно, любое из них может быть использовано в качестве прототипа предлагаемой системы. Возьмем в таковом качестве систему, описанную в патенте «Система визуализации тренажера транспортного средства» (Патент РФ 2245582 от 24.04.2003, G09B 9/05).

[13]

Указанная система содержит мультимедийный проектор, компьютерный генератор изображений и систему из нескольких проекционных экранов, обеспечивающих панорамную демонстрацию внекабинной обстановки. Указанная система не лишена описанного выше недостатка проекционных систем, связанного с зависимостью пространственного положения линии визирования удаленных объектов внекабинной обстановки, от положения органов зрения обучаемого пилота.

[14]

3. Раскрытие изобретения

[15]

Технический результат, достигаемый при осуществлении предлагаемого изобретения, заключается в компенсации эффекта зависимости пространственного положения линии визирования удаленных объектов, визуализируемых с помощью проекционной системы визуализации внекабинной обстановки, от положения органов зрения обучаемого пилота, что повышает реалистичность использующей данное устройство системы визуализации авиационного тренажера.

[16]

Достижение указанного технического результата осуществляется за счет использования способа имитации коллимационного эффекта, заключающегося в отслеживании факта и степени изменения положения головы обучаемого пилота, формировании разностного сигнала при обнаружении факта указанного изменения с величиной, пропорциональной степени и направлению указанного изменения, в соответствии с которой осуществляется корректировка генерируемого изображения внекабинной обстановки относительно нового положения органов зрения обучаемого пилота так, чтобы наблюдаемая обучаемым пилотом прицельная метка коллиматорного прицела, совмещенная с точкой прицеливания (целью) на изображении внекабинной обстановки при исходном положении органов зрения обучаемого пилота, снова совместилась с той же точкой прицеливания при новом положении органов зрения обучаемого пилота.

[17]

Причем описанный способ используется в проекционной системе визуализации внекабинной обстановки для авиационных тренажеров, содержащей датчик положения головы обучаемого пилота, формирователь разностного сигнала, компьютерный генератор изображений, один или несколько проекторов, систему проекционных экранов и коллиматорный прицел, структурно организованные так, что выход датчика сигнала положения головы подключен к входу формирователя разностного сигнала, а сигнал с выхода формирователя разностного сигнала подается на вход компьютерного генератора изображений, сигнал с выхода которого подается на вход одного или нескольких проекторов, проецирующих на систему проекционных экранов изображение внекабинной обстановки, наблюдаемую обучаемым пилотом через коллиматорный прицел.

[18]

Предложенный способ и система позволяют преобразовать 5 величин перемещения головы летчика в величину перемещения области внекабинного пространства (ВП):

[19]

- получает от датчика положения головы (ДПГ) величину перемещения головы летчика в линейной размерности (мм),

[20]

- масштабирует перемещения головы летчика для получения адекватного перемещения области внекабинного пространства, а также трансформирует ее в угловые величины,

[21]

- определяет направление на центр синтезированной картины ВП путем суммирования масштабированной величины перемещения головы летчика с направлением строительной оси самолета.

[22]

4. Краткое описание чертежей

[23]

Изобретение поясняется чертежом,

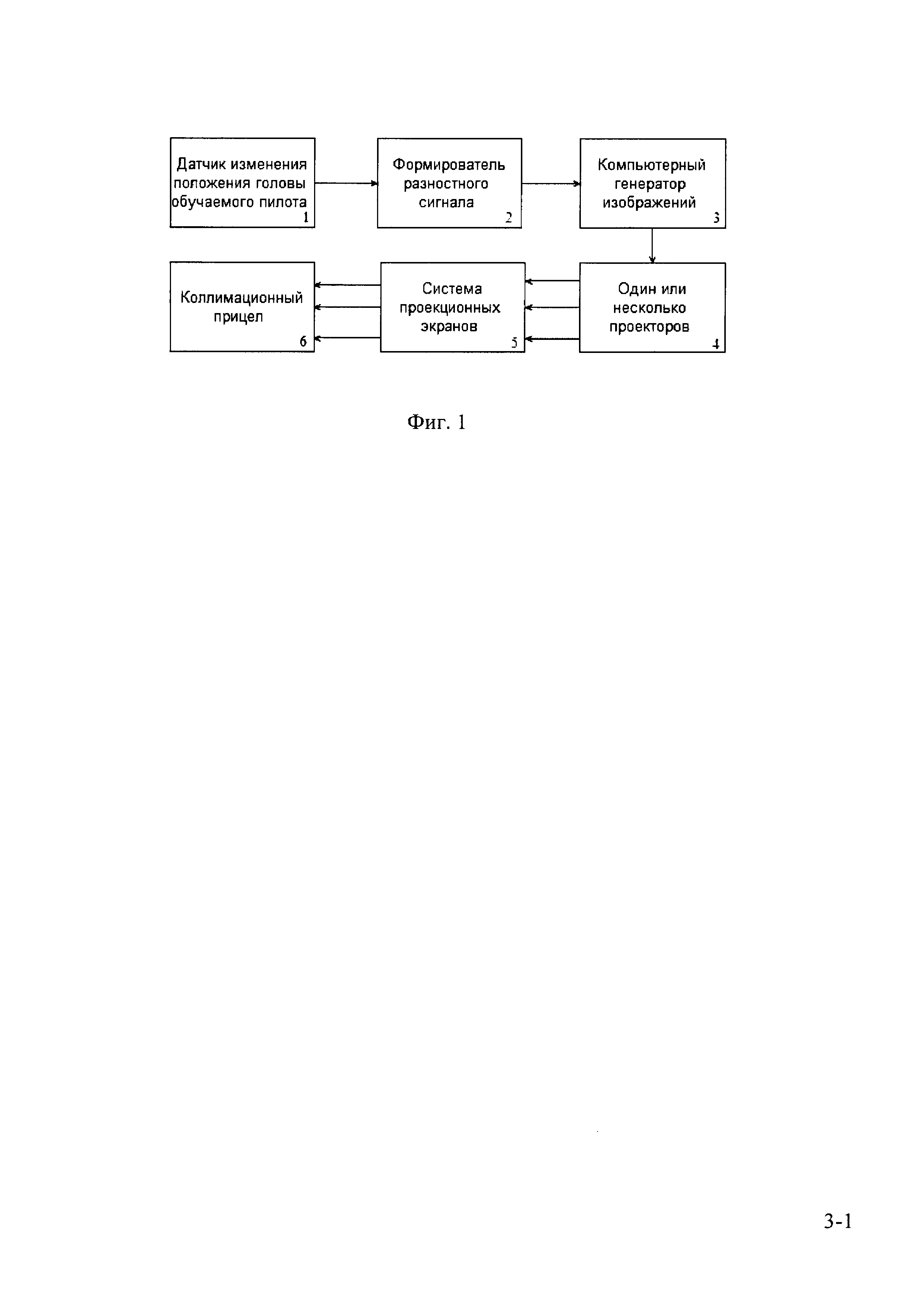
[24]

где Фиг. 1 - структура проекционной системы визуализации внекабинной обстановки для авиационных тренажеров с использованием способа имитации коллимационного эффекта. На фиг. 1 представлены:

[25]

1 - датчик положения головы обучаемого пилота;

[26]

2 - формирователь разностного сигнала;

[27]

3 - компьютерный генератор изображений;

[28]

5 - один или несколько проекторов;

[29]

6 - система проекционных экранов;

[30]

7 - коллиматорный прицел.

[31]

5. Осуществление изобретения

[32]

Предлагаемый способ имитации коллимационного эффекта в проекционных системах визуализации авиационных тренажеров военного назначения, заключающийся в отслеживании положения головы обучаемого пилота с генерацией, при обнаружении указанного изменения, разностного сигнала, пропорционального указанному изменению с последующей коррекцией пространственного положения визуализируемого изображения внекабинной обстановки относительно нового положения головы обучаемого пилота так, чтобы сохранить совмещение прицельной метки коллиматорного прицела и точки прицеливания (цели) на изображении внекабинной обстановки, осуществляется с помощью проекционной системы визуализации авиационных тренажеров, структура которой представлена на фиг. 1.

[33]

Указанное устройство состоит из датчика положения головы обучаемого пилота 1, причем в качестве такового могут быть использованы инерциальные, инфракрасные, ультразвуковые или другие виды датчиков, формирователь разностного сигнала 2 и компьютерный генератор изображений 3, причем в качестве таковой может быть использован как персональный компьютер, так и специализированные вычислительные устройства, системы или комплексы, один или несколько проекторов 4, система проекционных экранов 5, обеспечивающих панорамную демонстрацию внекабинной обстановки обучаемому пилоту, наблюдающему изображение внекабинной обстановки через коллиматорный прицел 6.

[34]

Осуществление предлагаемого способа на предлагаемом устройстве выполняется следующим образом. Датчик положения головы обучаемого пилота 1 передает сигналы о текущем положении головы обучаемого пилота в формирователь разностного сигнала 2. При изменении величин сигналов о положении головы обучаемого пилота формирователь разностного сигнала 2 формирует разностный сигнал, величина которого пропорциональна величине и направлению смещения головы обучаемого пилота, подающийся на вход компьютерного генератора изображений 3, который корректирует относительно нового положения головы обучаемого пилота пространственное положение генерируемого изображения внекабинной обстановки, демонстрируемое через проектор (проекторы) 4 на системе проекционных экранов 5 и наблюдаемой обучаемым пилотом через коллиматорный прицел 6 так, чтобы скорректировать пространственное положение линии визирования удаленных объектов внекабинной обстановки относительно нового положения глаз обучаемого пилота таким образом, чтобы прицельная метка коллиматорного прицела, совмещенная с точкой прицеливания на изображении внекабинной обстановки при исходном положении головы обучаемого пилота, снова совместилась с той же точкой прицеливания (целью) при новом положении головы обучаемого пилота. При достаточном быстродействии устройств 1, 2, 3 и 4, реализуемом современными техническими средствами, прицельная метка остается совмещенной с целью при перемещениях головы обучаемого пилота.

Как компенсировать расходы
на инновационную разработку
Похожие патенты