патент
№ RU 2652400
МПК E21B33/124

СПОСОБ И УСТРОЙСТВО ДЛЯ ПОИНТЕРВАЛЬНОГО ИССЛЕДОВАНИЯ ГОРИЗОНТАЛЬНОГО СТВОЛА СКВАЖИНЫ

Авторы:
Хамитьянов Нигаматьян Хамитович Багнюк Сергей Леонидович Ахмадишин Фарит Фоатович
Все (4)
Номер заявки
2017116760
Дата подачи заявки
12.05.2017
Опубликовано
26.04.2018
Страна
RU
Как управлять
интеллектуальной собственностью
Чертежи 
3
Реферат

Изобретение относится к способу поинтервального исследования горизонтального ствола скважины и устройству для осуществления этого способа. Техническим результатом является расширение технологических возможностей. Способ поинтервального исследования горизонтального ствола скважины включает шаблонирование и промывку ствола скважины, спуск на колонне труб перфорированного корпуса с двумя пакерами в интервал установки, установку пакеров, отбор продукции пласта из пространства между пакерами через перфорацию корпуса, определение обводненности продукции, при высокой обводненности продукции проведение водоизоляционных работ, перевод пакеров в транспортное состояние, перемещение корпуса с пакерами в следующий интервал установки и повтор исследования продукции пласта. Перфорированные отверстия корпуса перед спуском снабжают клапанами, пропускающими снаружи внутрь. Заглушенный конец корпуса оборудуют двумя якорями, из которых ближний к забою выполнен механическим, а дальний – гидравлическим. Пакеры изготавливают в виде упругих манжет, размещенных между упорами. Манжеты у пакера, расположенного ближе к забою, делают из менее упругого материала, чем манжеты у другого пакера. Корпус со стороны устья снабжают тянущим гидродомкратом. После спуска устройства в интервал установки производят поворот колонны труб с корпусом для установки механического якоря, после чего в корпусе через колонну труб создают избыточное давление для установки гидравлического пакера. Колонну труб разгружают, создавая осевое усилие для перемещения упоров пакеров навстречу друг другу, сжатия манжет и герметизации внутрискважинного пространства. Манжеты из менее упругого материала пакера, расположенного ближе к забою, устанавливаются первыми. После исследования интервала между пакерами для перевода устройства в начальное транспортное положение, колонну труб на устье приподнимают. Создают осевое усилие на корпусе и якорях, перемещают поршень в цилиндре гидродомкрата, переводя в рабочее состояние. При нехватке осевого усилия в колонне труб создают избыточное давление, и гидродомкрат создает дополнительное тяговое усилие, достаточное для перевода устройства в транспортное положение. После перемещения устройства в новый интервал установки операции повторяются. 2 н.п. ф-лы, 6 ил.

Формула изобретения

1. Способ поинтервального исследования горизонтального ствола скважины, включающий шаблонирование и промывку ствола скважины, спуск на колонне труб перфорированного корпуса с двумя пакерами в интервал установки, установку пакеров, отбор продукции пласта из пространства между пакерами через перфорацию корпуса, определение обводненности продукции, при высокой обводненности продукции проведение водоизоляционных работ, перевод пакеров в транспортное состояние, перемещение корпуса с пакерами в следующий интервал установки и повтор исследования продукции пласта, отличающийся тем, что перфорированные отверстия корпуса перед спуском снабжают клапанами, пропускающими снаружи внутрь, а заглушенный конец корпуса оборудуют двумя якорями, из которых ближний к забою выполнен механическим, а дальний - гидравлическим, пакеры изготавливают в виде упругих манжет, размещенных между упорами, причем манжеты у пакера, расположенного ближе к забою, делают из менее упругого материала, чем манжеты у другого пакера, при этом корпус со стороны устья снабжают тянущим гидродомкратом, после спуска устройства в интервал установки производят поворот колонны труб с корпусом для установки механического якоря, после чего в корпусе через колонну труб создают избыточное давление для установки гидравлического пакера, колонну труб разгружают, создавая осевое усилие для перемещения упоров пакеров навстречу друг другу, сжатия манжет и герметизации внутрискважинного пространства, причем манжеты из менее упругого материала пакера, расположенного ближе к забою, устанавливаются первыми, после исследования интервала между пакерами для перевода устройства в начальное - транспортное положение, колонну труб на устье приподнимают, создавая осевое усилие на корпусе и якорях и перемещая поршень в цилиндре гидродомкрата, переводя в рабочее состояние, при нехватке осевого усилия в колонне труб создают избыточное давление, и гидродомкрат создает дополнительное тяговое усилие, достаточное для перевода устройства в транспортное положение, после перемещения устройства в новый интервал установки операции повторяются.

2. Устройство для осуществления способа, включающее спускаемый на колонне труб корпус с перфорированными отверстиями, оборудованный по краям двумя пакерами, при этом один из концов корпуса со стороны забоя заглушен, отличающееся тем, что перфорированные отверстия корпуса снабжены клапанами, пропускающими снаружи внутрь, а заглушенный конец корпуса оборудован двумя якорями, из которых ближний к забою выполнен механическим с возможностью установки поворотом колонны труб с корпусом, а дальний - гидравлическим с возможностью установки давлением, создаваемым в корпусе через колонну труб, пакеры изготовлены в виде упругих манжет, размещенных между упорами и выполненных с возможностью герметизации ствола скважины при механическом перемещении упоров навстречу друг другу создаваемым осевым усилием при разгрузке колонны труб после установки якорей, причем манжеты у пакера, расположенного ближе к забою, выполнены из менее упругого материала, чем манжеты у другого пакера, при этом корпус со стороны устья снабжен тянущим гидродомкратом, выполненным с возможностью перевода в транспортное положение устройства путем создания осевого тягового усилия на корпусе в сторону устья после раздвижении цилиндра и поршня гидродомкрата и создания избыточного давления в колонне труб.

Описание

[1]

Изобретение относится к нефтегазодобывающей промышленности, а именно к способам и устройствам для определения интервалов водопритока и их изоляции в наклонно направленных и горизонтальных стволах скважин.

[2]

Известно устройство для отключения притока пластовой воды в скважинах с горизонтальным забоем (патент на полезную модель RU №30158, Е21В 33/12, опубл. 20.06.2003 г., бюл. №17). Данное устройство включает спускаемые на колонне насосно-компрессорных труб (НКТ) надувные пакеры, при этом один из концов НКТ заглушен для обеспечения одновременной пакеровки ствола скважины, а другой присоединен к эксплуатационному оборудованию, причем в НКТ выполнены каналы напротив продуктивных пластов, кроме того, в НКТ напротив надувных пакеров выполнены дополнительные отверстия, которые снабжены прямыми клапанами и механизмом сброса давления для каждого надувного пакера, при этом в каналах НКТ установлены обратные клапаны, а внутри НКТ установлен глубинный насос, причем НКТ дополнительно снабжены центраторами, которые расположены в непосредственной близости к надувным пакерам.

[3]

Этим устройством осуществляется способ отключения притока пластовой воды в скважинах с горизонтальным забоем, включающий исследование горизонтального участка скважины, определение интервалов продуктивных пластов и притока пластовой воды в скважину, сборку устройства с расположением надувных пакеров на расстоянии, достаточном для изоляции продуктивных пластов от воды, спуск в требуемый интервал разобщения и установку пакеров давлением, после запакеровки сброс давления, спуск глубинного насоса и запуск его в работу с отбором продукцию пласта из продуктивных интервалов.

[4]

Недостатками данных способа и устройства являются:

[5]

- отсутствие возможности проведения водоизоляционных работ, так как запакерованная зона не имеет прямого сообщения с внутренними каналами НКТ;

[6]

- невозможность отбора проб жидкости из запакерованной зоны для анализа обводненности продукции;

[7]

- невозможность повторного применения устройства в скважине без дополнительных спуско-подъемных операций, так как установленные на нем сбивные клапаны обеспечивают лишь одноразовое пакерование без последующего перевода пакера из рабочего в транспортное положение.

[8]

Наиболее близким к заявляемому по технической сущности и количеству совпадающих существенных признаков является устройство для определения интервалов водопритока и их изоляции в наклонно направленных и горизонтальных стволах скважин (патент RU №2256773, Е21В 33/13, 49/08, опубл. 20.07.2005 г. в бюл. №20), включающее спускаемые на колонне НКТ надувные пакеры, при этом один из концов НКТ заглушен для обеспечения одновременной пакеровки ствола скважины, а другой присоединен к эксплуатационному оборудованию, причем НКТ снабжены центраторами, которые расположены в непосредственной близости к надувным пакерам, напротив которых в НКТ выполнены дополнительные отверстия, а внутри НКТ установлен глубинный насос, причем к дополнительным отверстиям в НКТ подведен высоконапорный водовод малого диаметра, причем НКТ между надувными пакерами имеют перфорационные отверстия.

[9]

Этим устройством осуществляют способ определения интервалов водопритока и их изоляции в наклонно направленных и горизонтальных стволах скважин, включающий шаблонирование и промывку ствола скважины, очистку внутренней поверхности эксплуатационной колонны в интервалах установки пакеров, спуск на колонне труб устройства в сборе с двумя пакерами и центраторами в интервал установки, установку пакеров нагнетанием давления через дополнительный высоконапорный водовод с последующим поддержанием высокого давления, отбор продукции пласта из пространства между пакерами, определение обводненности продукции, при высокой обводненности продукции проведение водоизоляционных работ, сброс давления в высоконапорном водоводе с переводом пакеров в транспортное состояние, перемещение устройства с пакерами в следующий интервал установки и повтор исследования продукции пласта.

[10]

Недостатки этих способа и устройства:

[11]

- большая вероятность повреждения надувных пакеров при проведении водоизоляционных работ из-за перепада давления между запакерным и внутрипакерным пространствами, обусловленного различной плотностью рабочих жидкостей (например, тампонажного и бурового растворов);

[12]

- сложность монтажа и спуска компоновки в скважину ввиду размещения внутри НКТ глубинного насоса с электрокабелем и высоконапорного водовода, идущего к надувным пакерам, особенно в скважинах с горизонтальным окончанием.

[13]

Техническими задачами изобретения являются расширение технологических возможностей за счет многократного применения пакеров при обследовании горизонтального ствола скважины, в том числе сложной конфигурации, без дополнительных спуско-подъемных операций, а также повышение надежности запакеровки устройства путем применения пакеров с цельными упругими манжетами сжатия разной плотности и якорными устройствами для опоры на стенки скважины для надежной фиксации устройства в скважине, а также возможность безаварийного извлечения устройства за счет применения в компоновке тянущего гидродомкрата.

[14]

Технические задачи решаются способом поинтервального исследования горизонтального ствола скважины, включающим шаблонирование и промывку ствола скважины, спуск на колонне труб перфорированного корпуса с двумя пакерами в интервал установки, установку пакеров, отбор продукции пласта из пространства между пакерами через перфорацию корпуса, определение обводненности продукции, при высокой обводненности продукции проведение водоизоляционных работ, перевод пакеров в транспортное состояние, перемещение корпуса с пакерами в следующий интервал установки и повторное исследование продукции пласта.

[15]

Новым является то, что перфорированные отверстия корпуса перед спуском снабжают клапанами, пропускающими снаружи внутрь, а заглушенный конец корпуса оборудуют двумя якорями, из которых ближний к забою выполнен механическим, а дальний гидравлическим, пакеры изготавливают в виде упругих манжет, размещенных между упорами, причем манжеты у пакера, расположенного ближе к забою, делают из менее упругого материала, чем манжеты у другого пакера, при этом корпус со стороны устья снабжают тянущим гидродомкратом, после спуска устройства в интервал установки производят поворот колонны труб с корпусом для установки механического якоря, после чего в корпусе через колонну труб создают избыточное давление для установки гидравлического пакера, колонну труб разгружают, создавая осевое усилие для перемещения упоров пакеров навстречу друг другу, сжатия манжет и герметизации внутрискважинного пространства, причем манжеты из менее упругого материала пакера, расположенного ближе к забою, устанавливаются первыми, после исследования интервала между пакерами для перевода устройства в начальное - транспортное положение, колонну труб на устье приподнимают, создавая осевое усилие на корпусе и якорях и перемещая поршень в цилиндре гидродомкрата, переводя в рабочее состояние, при нехватке осевого усилия в колонне труб создают избыточное давление, и гидродомкрат создает дополнительное тяговое усилие, достаточное для перевода устройства в транспортное положение, после перемещения устройства в новый интервал установки операции повторяются.

[16]

Технические задачи для реализации данного способа решаются устройством поинтервального исследования горизонтального ствола скважины, включающим спускаемый на колонне труб корпус с перфорированными отверстиями, оборудованный по краям двумя пакерами, при этом один из концов корпуса со стороны забоя заглушен.

[17]

Новым является то, что перфорированные отверстия корпуса снабжены клапанами, пропускающими снаружи внутрь, а заглушенный конец корпуса оборудован двумя якорями, из которых ближний к забою выполнен механическим с возможностью установки поворотом колонны труб с корпусом, а дальний - гидравлическим с возможностью установки давлением, создаваемым в корпусе через колонну труб, пакеры выполнены в виде упругих манжет, размещенных между упорами и выполненных с возможностью герметизации ствола скважины при механическом перемещении упоров навстречу друг другу создаваемым осевым усилием при разгрузке колонны труб после установки якорей, причем манжеты у пакера, расположенного ближе к забою, выполнены из менее упругого материала, чем манжеты у другого пакера, при этом корпус со стороны устья снабжен тянущим гидродомкратом, выполненным с возможностью перевода устройства в транспортное положение путем создания осевого тягового усилия на корпусе в сторону устья после раздвижения цилиндра и поршня гидродомкрата и создания избыточного давления в колонне труб.

[18]

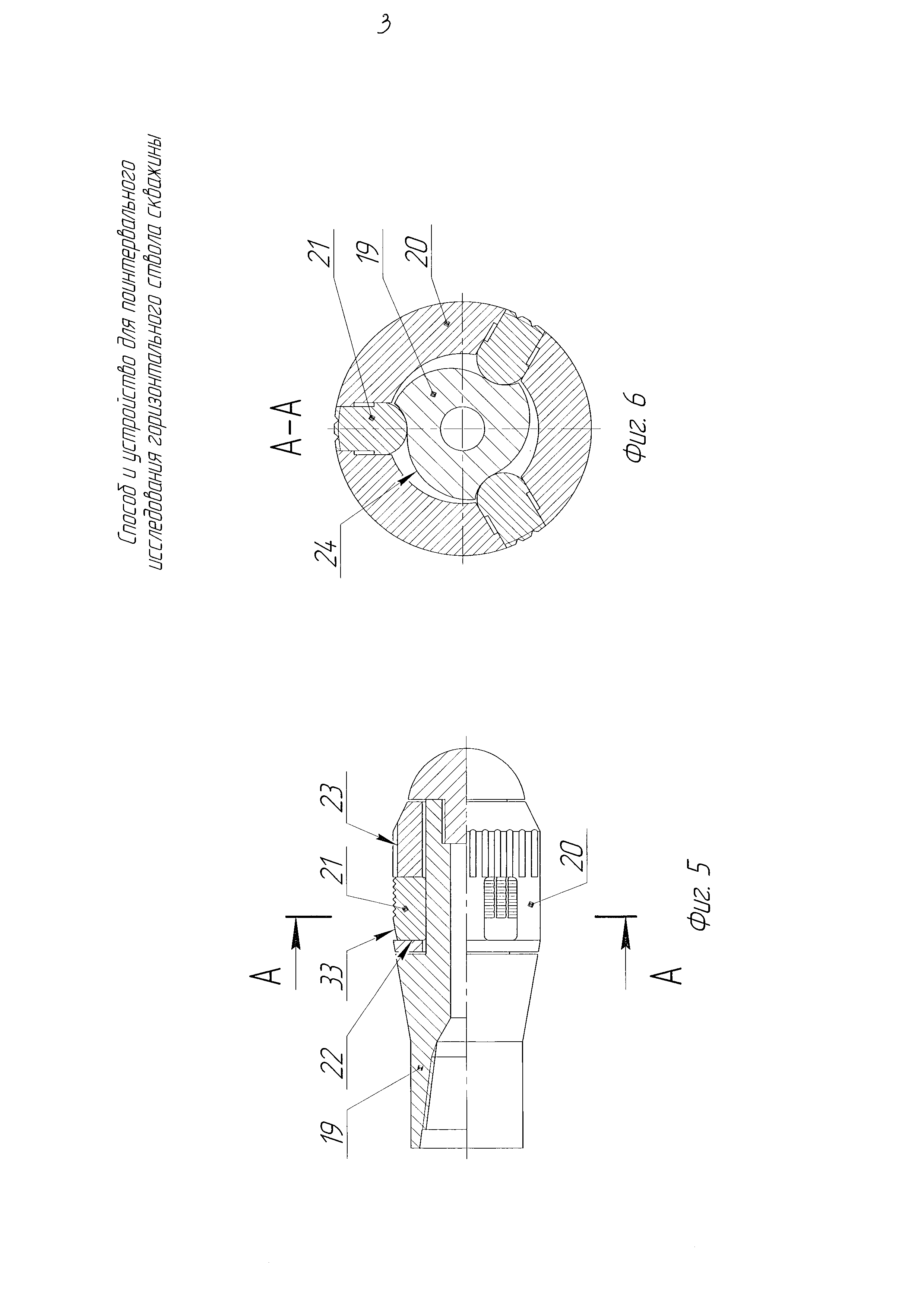
На фиг. 1 показана установка устройства в скважине в исследуемом интервале, на фиг. 2 - верхний гидравлический якорь с нижним пакером (в частично продольном разрезе), на фиг. 3 - корпус устройства с обратным клапаном (в продольном разрезе), на фиг. 4 - верхний пакер (в частично продольном разрезе), на фиг. 5 - нижний механический якорь (в частично продольном разрезе), на фиг. 6 - сечение А-А на фиг. 5 (увеличено).

[19]

Устройство поинтервального исследования горизонтального ствола скважины 1 (фиг. 1) включает колонну труб 2, корпус 3 с перфорированными отверстиями 4, оборудованный по краям двумя пакерами - ближним 5 к забою (на фиг. не показан) и дальним 6 от забоя. Причем перфорированные отверстия 4 корпуса 3 снабжают обратными клапанами 7 (фиг. 3), пропускающими продукцию пласта снаружи внутрь, например, за счет поджатого к седлу 8 с помощью пружины 9 шарового клапана 10 и не пропускающими обратно.

[20]

Корпус 3 (фиг. 1) снизу заглушен с помощью заглушки 11 и оборудован двумя якорями 12 и 13, из которых ближний 12 к забою выполнен механическим с возможностью установки поворотом колонны труб 2, корпуса 3 с корпусом 19 (фиг. 6), а дальний 13 (фиг. 1) - гидравлическим с возможностью установки давлением, создаваемым в корпусе 3 через колонну труб 2. Пакеры 5, 6 изготавливают в виде упругих манжет 14 (фиг. 2) и 14' (фиг. 4), например резиновых, размещенных между упорами 15 (фиг. 2) и 15' (фиг. 4), выполненных с возможностью герметизации ствола скважины 1 (фиг. 1) при механическом перемещении упоров 15 (фиг. 2), 15' (фиг. 4) навстречу друг другу создаваемым осевым усилием при разгрузке колонны труб 2 (фиг. 1) после установки якорей 12, 13. Причем манжеты 14 (фиг. 2) у пакера 5 (фиг. 1), расположенного ближе к забою, делают из менее упругого материала, чем манжеты 14' (фиг. 4) у другого пакера 6 (фиг. 1).

[21]

Для того, чтобы исключить аварийные ситуации, связанные с прихватом (застреванием) пакеров 5, 6 в стволе скважины 1 при переводе их в транспортное положение, выше перфорированного корпуса 3 устанавливают тянущий гидродомкрат 16, соединенный с колонной труб 2, с помощью которого создают в случае необходимости осевое тяговое усилие на корпусе 3 в сторону устья скважины (на фиг. не показано) путем создания избыточного давления в колонне труб 2 после раздвижения цилиндра 17 и поршня 18 гидродомкрата 16.

[22]

Предлагаемый способ поинтервального исследования горизонтального ствола скважины 1 заключается в следующем. Ствол скважины 1 перед спуском устройства проверяют с помощью шаблона (на фиг. не показан) с целью беспрепятственного прохождения компоновки, осуществляют промывку для выноса скважинного шлама. Затем на колонне труб 2 спускают в необходимый интервал установки перфорированный корпус 3 с пакерами 5 и 6.

[23]

После спуска устройства в интервал установки ствола 1 приводят в рабочее положение пакеры 5, 6, перекрывая тем самым снизу и сверху пространство между ними. Для этого начинают медленно по часовой стрелке вращать колонну труб 2, корпус 3 с корпусом 19 (фиг. 5). При этом корпус 19 ближнего к забою механического якоря 12 (фиг. 1) и закрепленная на его нижнем конце (например, с помощью резьбы) заглушка 11 также начинают вращаться, а наружная обойма 20 (фиг. 5) с плашками 21, размещенными в окнах 22 обоймы 20, благодаря наружным продольным пазам 23 взаимодействуют со стенками скважины 1 (фиг. 1) и остаются неподвижными. Корпус 19 (фиг. 5) имеет в поперечном сечении наружную поверхность 24 (фиг. 6) с равномерно изменяющейся глубиной для радиального перемещения плашек 21 (фиг. 5, 6), благодаря чему по мере поворота корпуса 19 плашки 21 перемещаются вверх и, если возникает сопротивление вращению колонны труб 2 (фиг. 1), это свидетельствует об упоре плашек 21 (фиг. 5, 6) в стенки скважины 1 (фиг. 1), вращение прекращают (механический якорь 12 установлен в скважине 1).

[24]

После этого в колонне труб 2 создают избыточное гидравлическое давление для установки дальнего от забоя якоря 13, которое через радиальное отверстие 25 (фиг. 2) ствола 26 якоря 13 (фиг. 1) начинает воздействовать на поршень 27 (фиг. 2). Поршень 27, преодолевая сопротивление пружины 28, перемещается вверх, воздействуя через тяги 29 на плашки 30, выводя их вдоль пазов 31 вверх под углом до упора в стенки скважины 1 (фиг. 1), фиксируя таким образом якорь 13 с пакером 5 в скважине 1. Колонну труб 2 разгружают, создавая осевое усилие для перемещения ствола 26 (фиг. 2) пакера 5 (фиг. 1) и ствола 32 (фиг. 4) пакера 6 (фиг. 1) с целью воздействия через упоры 15 (фиг. 2), 15' (фиг. 4) соответственно на манжеты 14 (фиг. 2), 14' (фиг. 4).

[25]

Поскольку манжеты 14 (фиг. 2) у пакера 5 (фиг. 1), расположенного ближе к забою, изготовлены из менее упругого материала, то они быстрее деформируются в радиальном направлении до прилегания к стенкам скважины 1. Продолжая разгружать колонну труб 2, добиваются деформации и прилегания более жестких манжет 14' (фиг. 4) дальнего от забоя пакера 6 (фиг. 1) к стенкам скважины 1. Таким образом разобщают межпакерное пространство от остальной скважины 1.

[26]

Затем сбрасывают гидравлическое давление до нуля и производят отбор продукции пласта из пространства между пакерами 5, 6 через перфорированные отверстия 4 корпуса 3 и клапан 7 (фиг. 3), определяют обводненность продукции в данном интервале.

[27]

При этом благодаря обратным клапанам 7, установленным в перфорированных отверстиях 4 корпуса 3 (фиг. 1), продукция пласта попадает снаружи внутрь корпуса 3 и далее по колонне труб 2 поднимается насосом (на фиг. не показан) на устье скважины, а гидравлическое давление, создаваемое в колонне труб 2 для установки пакеров 5, 6, не распространяется за пределы корпуса 3.

[28]

Далее переводят пакеры 5, 6 в начальное - транспортное положение. Для этого колонну труб 2 на устье приподнимают, создавая осевое усилие на корпусе 3, и за счет якорей 12, 13 перемещают вверх поршень 18 в цилиндре 17 гидродомкрата 16, переводя его в рабочее положение. При этом стволы 26 (фиг. 2) и 32 (фиг. 4) пакеров 5 и 6 (фиг. 1), поднимаясь вверх и раздвигая упоры 15 (фиг. 2) и 15' (фиг. 4), снимают нагрузку с манжет 14 (фиг. 2), 14' (фиг. 4), которые приходят в исходное положение, а плашки 30 (фиг. 2) дальнего от забоя якоря 13 (фиг. 1) благодаря возвратной пружине 28 (фиг. 2), воздействующей на них через поршень 27 и тяги 29, и частично трению об стенки скважины 1 (фиг. 1) также занимают транспортное положение.

[29]

Для перевода ближнего к забою якоря 12 в транспортное положение колонну труб 2 продолжают тянуть вверх, при этом (а также благодаря наклонной передней поверхности 33 (фиг. 5) плашек 21) происходит срыв (потеря сцепления со стенками скважины) плашек 21 (фиг. 5, 6), которые вместе с обоймой 20 проворачиваются в сторону меньшего сопротивления, т.е. против часовой стрелки, и скользя по поверхности 24 (фиг. 6) корпуса 19, возвращаются в нижнее транспортное положение.

[30]

При нехватке осевого усилия в колонне труб 2 (фиг. 1) создают избыточное давление, которое через отверстие 34 в штоке 35 гидродомкрата 16 начинает воздействовать снизу на поршень 18, перемещая его по цилиндру 17 вверх вместе со штоком 35 и корпусом 3. Таким образом гидродомкрат создает дополнительное тяговое усилие, достаточное для перевода устройства в транспортное положение.

[31]

После перемещения устройства в новый интервал установки операции повторяются до полного исследования ствола скважины 1. Затем устройство извлекают из скважины 1. При высокой обводненности продукции проводят водоизоляционные работы.

[32]

Таким образом, использование изобретения позволяет расширить технологические возможности применения способа и устройства за счет многократного применения пакеров без дополнительных спуско-подъемных операций при обследовании горизонтальных стволов скважин, в том числе сложной конфигурации. При этом устройство обладают большой надежностью за счет применения пакеров с цельными упругими манжетами сжатия, что значительно уменьшает вероятность повреждения пакеров, а разная плотность материала верхних и нижних манжет позволяет гарантированно снизу вверх производить запакеровку устройства, кроме того, за счет применения якорей с разным принципом действия (механическим и гидравлическим) исключается несанкционированная распакеровка устройства, а наличие гидродомкрата позволяет нивелировать нехватку осевого усилия при переводе устройства в транспортное положение, избегая тем самым аварийных ситуаций в скважине.

Как компенсировать расходы
на инновационную разработку
Похожие патенты