патент
№ RU 2703490
МПК H01Q13/02

ОБЛУЧАТЕЛЬ ГИБРИДНОЙ ЗЕРКАЛЬНОЙ АНТЕННЫ ПОЛЯРИМЕТРИЧЕСКОГО КОСМИЧЕСКОГО РАДИОЛОКАТОРА

Авторы:
Верба Владимир Степанович Турук Владимир Эдуардович Неронский Леон Богуславович
Все (4)
Номер заявки
2018147006
Дата подачи заявки
27.12.2018
Опубликовано
17.10.2019
Страна
RU
Как управлять
интеллектуальной собственностью
Чертежи 
1
Реферат

[11]

Использование: для радиолокационного наблюдения объектов на различных поляризациях. Сущность изобретения заключается в том, что облучатель состоит из рупора, решеток волноводных и дипольных излучателей, при этом в его состав введена плоская решетка из тонких проводников, направленных параллельно широкой стенке волноводных излучателей, установленная в торце рупорного облучателя, а дипольные излучатели установлены над решеткой проводников. Технический результат: обеспечение возможности повышения разрешающей способности при наблюдении объектов. 1 ил.

Формула изобретения

Облучатель гибридной зеркальной антенны поляриметрического космического радиолокатора, состоящий из рупора, решеток волноводных и дипольных излучателей, отличающийся тем, что в его состав введена плоская решетка из тонких проводников, направленных параллельно широкой стенке волноводных излучателей, установленная в торце рупорного облучателя, а дипольные излучатели установлены над решеткой проводников.

Описание

[1]

Изобретение относится к антенной технике и может быть применено в космических радиолокаторах землеобзора с электронным сканированием луча, осуществляющих радиолокационное наблюдение объектов на различных поляризациях.

[2]

Известен аналог заявленного изобретения - облучатель гибридной зеркальной антенны (ГЗА) с электронным сканированием луча [1]. Недостаток аналога состоит в том, что наблюдение объекта производится на одной поляризации.

[3]

Известен также аналог заявленного изобретения - облучатель ГЗА радиолокатора космического аппарата [2]. В аппарате «Кондор-Э» предусмотрен режим смены поляризации при наблюдении объекта. Недостаток аналога состоит в том, что смена поляризации производится путем механического поворота облучателя и занимает значительное время.

[4]

Прототип заявленного изобретения - патент РФ № 2310886 «Космический многорежимный поляриметрический радиолокатор с синтезированной апертурой со сканирующей зеркальной антенной» [3]. В прототипе применен рупорный облучатель, внутри которого размещены решетки волноводных и дипольных излучателей, что позволяет одновременно наблюдать объект в режимах передачи и приема на двух поляризациях. Недостаток прототипа состоит в том, что из-за взаимодействия волноводных и дипольных излучателей, а также отражений от стенок рупора искажается диаграмма направленности облучателя. В результате уменьшается коэффициент усиления ГЗА и сужается полоса рабочих частот.

[5]

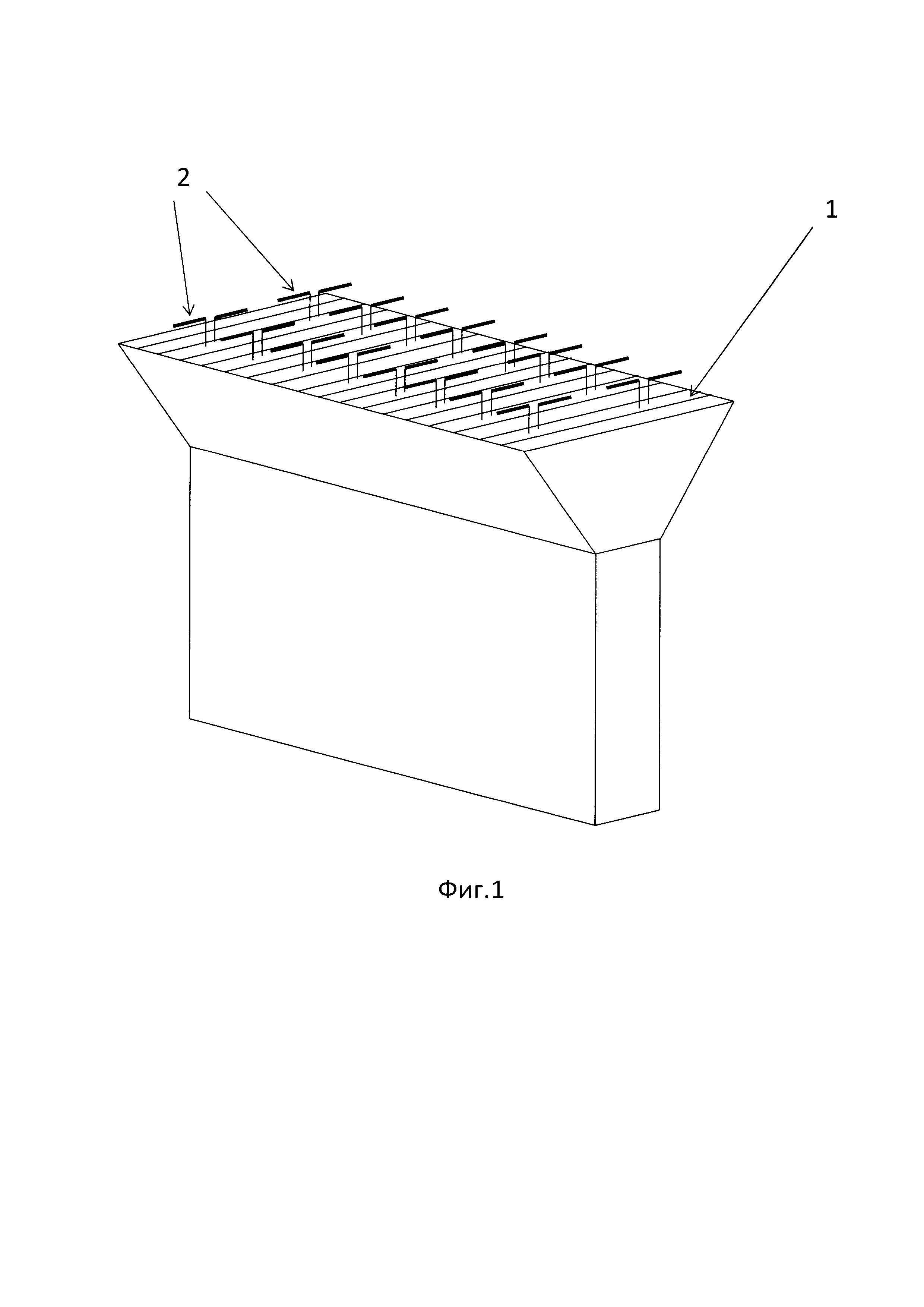
Для устранения указанного недостатка в заявленном изобретении предложено установить в торце рупорного облучателя плоскую решетку из тонких проводников, направленных параллельно широкой стенке волноводных излучателей, а решетку дипольных излучателей установить над решеткой проводников (фиг 1). Технический результат применения заявленного облучателя ГЗА поляриметрического космического радиолокатора состоит в повышении разрешающей способности при наблюдении объектов.

[6]

На фиг. 1 изображены: 1 - решетка проводников, 2 - решетки диполей.

[7]

Литература

[8]

1. Патент РФ №2556466 «Многолучевая гибридная зеркальная антенна, В.С. Верба, Л.Б. Неронский, И.Г. Осипов, В.Э. Турук.

[9]

2. «Радиолокационные системы землеобзора космического базирования» М., «Радиотехника», 2010, стр. 627.

[10]

3. Патент РФ № 2310886 «Космический многорежимный поляриметрический радиолокатор с синтезированной апертурой со сканирующей зеркальной антенной».

Как компенсировать расходы
на инновационную разработку
Похожие патенты