патент
№ RU 2662373
МПК F41C7/00

Стрелковое оружие

Авторы:
Долганов Дмитрий Геннадьевич Уржумцев Сергей Владимирович Целоусов Олег Юрьевич
Все (5)
Номер заявки
2017111634
Дата подачи заявки
06.04.2017
Опубликовано
25.07.2018
Страна
RU
Как управлять
интеллектуальной собственностью
Чертежи 
2
Реферат

Изобретение относится к области вооружения, а именно к стрелковому оружию. Стрелковое оружие содержит ствольную коробку со стволом, колодку, закрепленную в ствольной коробке, крышку, в верхней части которой установлена планка, затыльник. Фиксация крышки на ствольной коробке в рабочем положении осуществляется в передней части поперечно смещающимся фиксатором, взаимодействующим с отверстием в выступе крышки и отверстием в колодке, а в задней части - подпружиненным роликом, выполненным с возможностью продольного перемещения в пазах крышки и взаимодействующим с призматическим пазом, выполненным в выступах на затыльнике. Достигается повышение эксплуатационных характеристик. 4 ил.

Формула изобретения

Стрелковое оружие, содержащее ствольную коробку со стволом, колодку, закрепленную в ствольной коробке, крышку, в верхней части которой установлена планка, затыльник, отличающееся тем, что фиксация крышки на ствольной коробке в рабочем положении осуществляется в передней части поперечно смещающимся фиксатором, взаимодействующим с отверстием в выступе крышки и отверстием в колодке, а в задней части - подпружиненным роликом, выполненным с возможностью продольного перемещения в пазах крышки и взаимодействующим с призматическим пазом, выполненным в выступах на затыльнике.

Описание

[1]

Изобретение относится к стрелковому оружию и может быть использовано в автоматическом стрелковом оружии, устройствах, конструктивно сходных со стрелковым оружием.

[2]

Известны 5,45-мм автомат Калашникова АК74 и 5,45-мм автомат Калашникова АК74М (см. М. Попенкер. «Штурмовые винтовки мира», Изд.: М.: ACT «Полигон», 2004 год), содержащие ствольную коробку со стволом, крышку, возвратный механизм с пружиной и выступом, прицельную колодку. Крышка закрепляется на ствольной коробке:

[3]

- в передней части - с помощью полукруглого выреза на колодке прицельной и переднего торца крышки;

[4]

- в задней части - с помощью выступа направляющей пружины возвратной, входящего в окно в задней стенке крышки. Направляющая пружины возвратной, в свою очередь, устанавливается Т-образным выступом в продольный паз на затыльнике ствольной коробки.

[5]

Недостатками указанных образцов являются низкие эксплуатационные характеристики из-за невозможности размещения современных прицельных комплексов (коллиматорных, оптических, ночных прицелов и т.п.), для установки которых требуется наличие планки типа Пикатинни.

[6]

Известен 18,5-мм карабин специальный с коробчатым магазином 18,5КС-К, выбранный в качестве ближайшего аналога (см. http://modernfirearms.net/shotgun/rus/ks-k-r.html), содержащий ствольную коробку со стволом, крышку с планкой Пикатинни, прицельную колодку, затыльник.

[7]

Крышка закрепляется на ствольной коробке:

[8]

- в передней части - шарнирно на оси, совмещающей отверстие в выступе крышки с отверстиями на выступах прицельной колодки;

[9]

- в задней части - с помощью выступа направляющей пружины возвратной, входящего в окно в задней стенке крышки. Направляющая пружины возвратной, в свою очередь, устанавливается Т-образным выступом в продольный паз на затыльнике ствольной коробки.

[10]

Недостатком данной конструкции крепления крышки является возможность качания зафиксированной крышки вокруг оси, в пределах люфтов в соединениях Т-образного выступа направляющей пружины возвратной с пазом затыльника и выступа направляющей пружины возвратной с окном в задней стенке крышки, что приводит к ухудшению кучности стрельбы и нестабильности средней точки попадания (СТП) при стрельбе с оптическим (коллиматорным, ночным) прицелом, установленным на планку Пикатинни.

[11]

Технической задачей заявляемого изобретения является повышение эксплуатационных характеристик стрелкового оружия.

[12]

Технический результат заключается в обеспечении стабильного положения крышки и, соответственно, прицела, установленного на планку крышки, при стрельбе и единообразного положения крышки после снятия и последующей установки.

[13]

Поставленная задача достигается тем, что в стрелковом оружии закрепление крышки на ствольной коробке осуществляется:

[14]

- в передней части - поперечно смещающимся фиксатором, взаимодействующим с отверстием в выступе крышки и отверстием в колодке, закрепленной относительно ствольной коробки;

[15]

- в задней части - подпружиненным роликом, с возможностью продольного перемещения последнего в пазах крышки, взаимодействующим с призматическим пазом, выполненным в выступах на затыльнике ствольной коробки.

[16]

Фиксатор ограничивает все перемещения крышки за исключением вращения.

[17]

Подпружиненный ролик самоустанавливается в призматическом пазу затыльника, выбирая все возможные люфты, и, взаимодействуя с гранями пазов крышки, обеспечивает стабильное возвращение в исходное положение крышки при стрельбе, а также единообразное положение крышки после снятия и последующей установки.

[18]

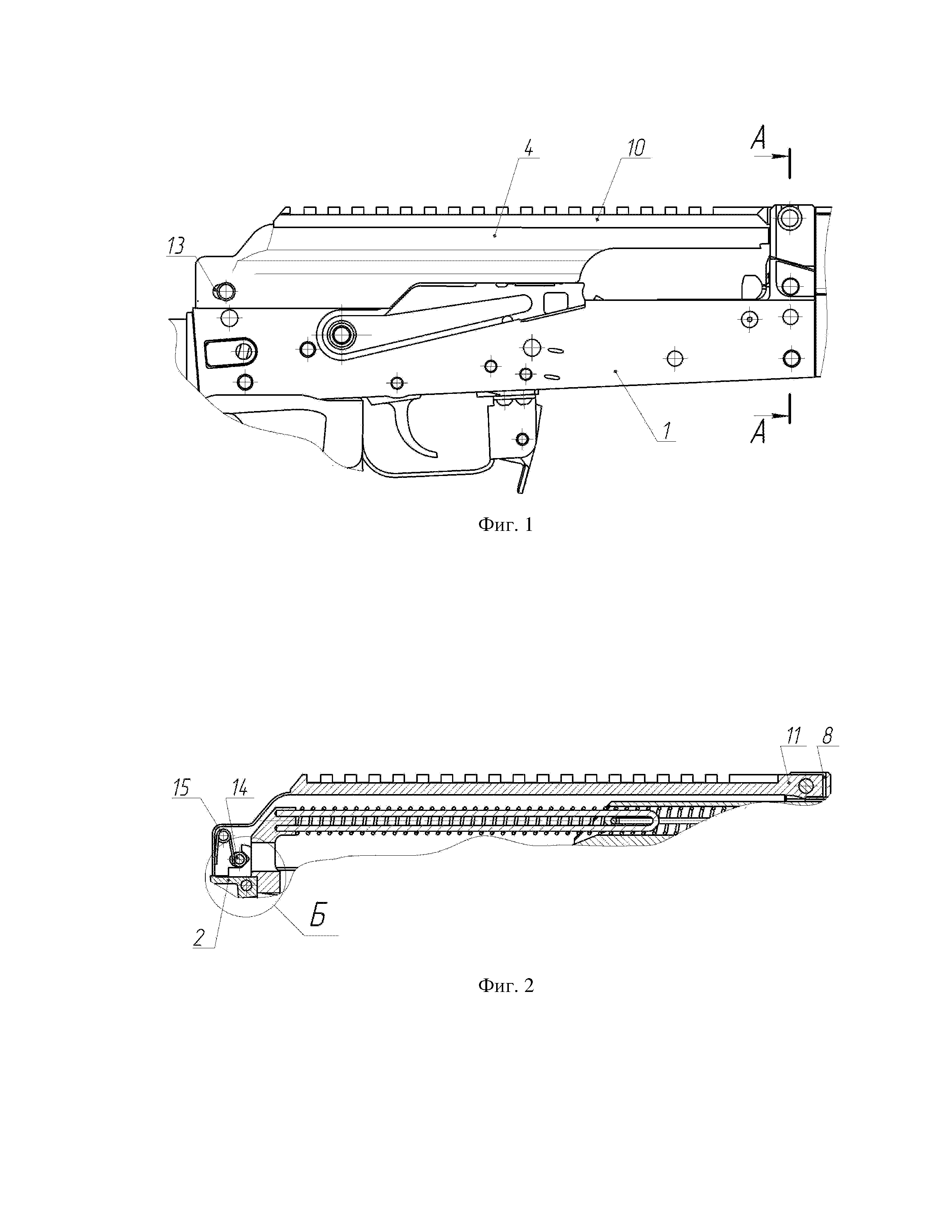
Сущность изобретения поясняется чертежами, на которых изображено:

[19]

на фиг. 1 - общий вид оружия;

[20]

на фиг. 2 - продольное сечение оружия;

[21]

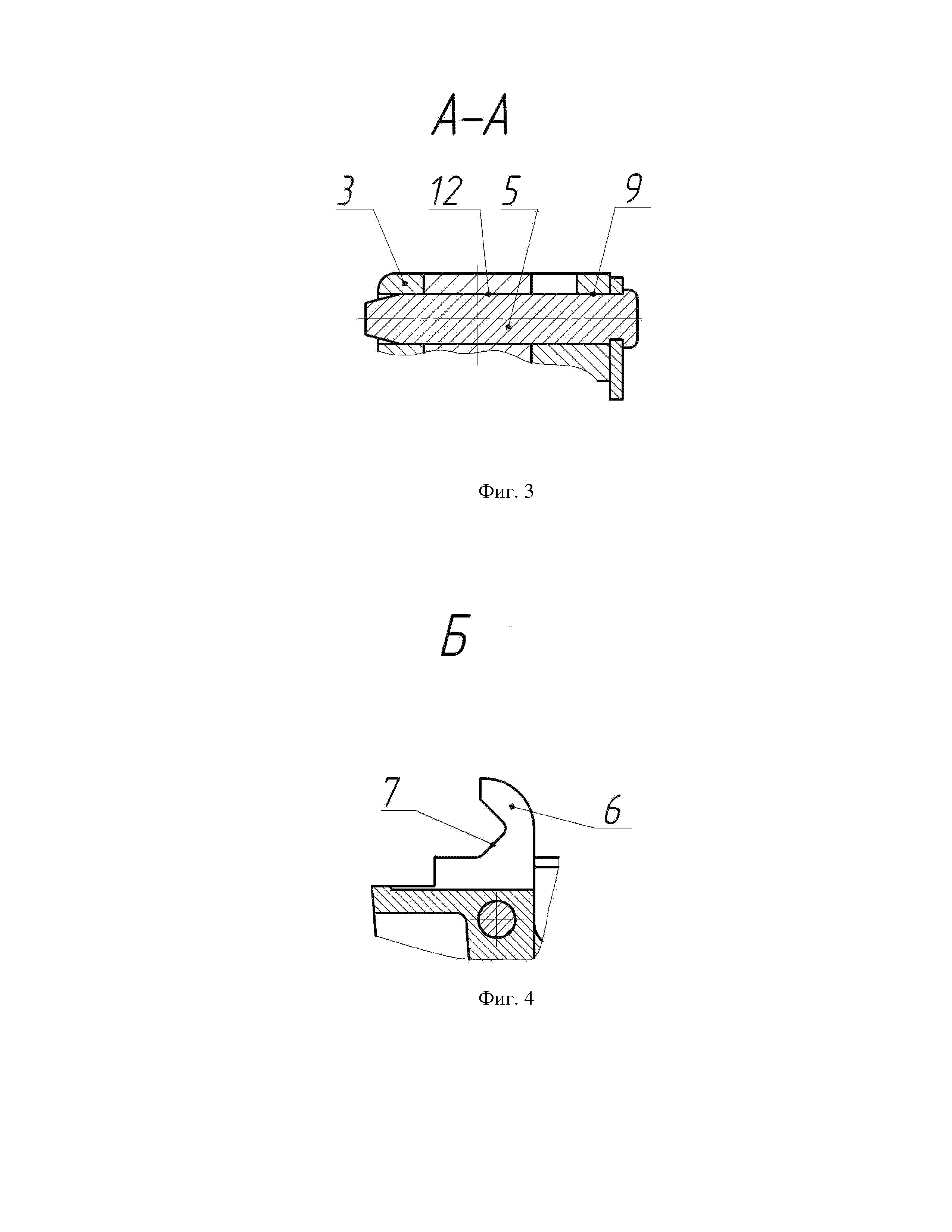
на фиг. 3 - сечение А-А на фиг. 1;

[22]

на фиг. 4 - выноска Б на фиг. 2, крышка и пружина не показаны.

[23]

Стрелковое оружие содержит ствольную коробку 1 с затыльником 2 и колодкой 3, крышку 4, фиксатор 5. Затыльник 2 и колодка 3 жестко закреплены относительно ствольной коробки 1. В выступах 6 затыльника 2 выполнен призматический паз 7, в колодке 3 выполнен вырез 8 и отверстие 9. В верхней части крышки 4 установлена планка 10, в передней части крышки 3 выполнен выступ 11, в котором выполнено сквозное отверстие 12. В задней части крышки 4 выполнены пазы 13, в которые установлен ролик 14, подпружиненный пружиной 15.

[24]

Планка 10 имеет профиль, изготовленный в соответствии с международным стандартом (STANAG 2324 или Mil-Std-1913), или любой другой профиль, позволяющий крепить прицелы. Пружина 15 поджимает ролик 14 вперед до упора в переднюю грань пазов 13 при отделенной от оружия крышке 4 и до упора в призматический паз 7 при установленной на оружие крышке 4.

[25]

При установленной на оружии крышке 4 ролик 14 под воздействием пружины 15 самоустанавливается в призматическом пазу 7 и, воздействуя на грани пазов 13, обеспечивает стабильное возвращение задней части крышки 4 в исходное положение при стрельбе и стабильное положение крышки 4 после снятия и последующей установки. В отверстие 9 и отверстие 12 устанавливается фиксатор 5, закрепляя переднюю часть крышки 4 относительно ствольной коробки 1.

[26]

Для присоединения крышки 4 необходимо поставить ее задней стенкой на затыльник 2 так, чтобы ролик 14 вошел в призматический паз 7, а выступ 11 - в вырез 8. Далее необходимо, преодолевая сопротивление пружины 15, совместить отверстие 12 в выступе 11 с отверстием 9 в колодке 8, после чего фиксатор 5 продвинуть через отверстие 9 и отверстие 12.

[27]

Для снятия крышки 4 с оружия вывести фиксатор 5 из зацепления с отверстием 12 в выступе 11. После чего, потянув крышку 4 назад, отделить ее от ствольной коробки 1.

[28]

Предложенная конструкция стрелкового оружия позволяет повысить эксплуатационные характеристики за счет обеспечения стабильного возвращения в исходное положение при стрельбе и единообразного положения на оружии после снятия и последующей установки крышки с закрепленными на ней прицелами.

Как компенсировать расходы
на инновационную разработку
Похожие патенты