патент
№ RU 2644962
МПК F42B15/00

Способ поражения цели сверхзвуковой крылатой ракетой и сверхзвуковая крылатая ракета для его осуществления

Авторы:
Леонов Александр Георгиевич
Номер заявки
2016127285
Дата подачи заявки
07.07.2016
Опубликовано
15.02.2018
Страна
RU
Как управлять
интеллектуальной собственностью
Чертежи 
12
Реферат

Группа изобретений относится к ракетной технике, а именно к сверхзвуковым крылатым ракетам, предназначенным для поражения наземных целей, включая легкоуязвимые площадные наземные объекты, в том числе критичные по времени мобильные цели. Способ включает введение в бортовую аппаратуру системы управления предварительно сформированное полетное задание, содержащее траекторию полета ракеты и точку прицеливания, информацию о типе поражаемой цели, пуск и полет ракеты в точку с заданными координатами при поддержании ее сверхзвуковой скорости. Полетное задание формируют по исходным данным о параметрах цели. При достижении ракетой точки с заданными координатами определяют скорость и высоту полета относительно цели с последующим определением координат точки отделения элементов дополнительного боевого снаряжения, производят отделение элементов дополнительного боевого снаряжения в этой точке, восстанавливают аэродинамический контур крылатой ракеты, производят стабилизацию крылатой ракеты, обеспечивают полет ракеты до поражения основной цели. Хранение элементов дополнительного боевого снаряжения осуществляют в отдельных контейнерах, из которых осуществляют отделение указанных элементов. Ракета содержит планер, в приборном отсеке которого размещены блоки бортовой аппаратуры системы управления, боевое снаряжение. В передней части ракеты установлено дополнительное боевое снаряжение, состоящее из отдельных элементов, выполненных в виде статически устойчивых модулей, размещенных в отдельных контейнерах, с возможностью отделения элементов от ракеты в расчетный момент времени. В задней части контейнеров размещены заглушки с возможностью их продольного перемещения вдоль контейнера под действием пороховых газов и фиксации на корпусе ракеты. Передняя часть заглушки выполнена с профилем, аналогичным профилю соответствующей части аэродинамического контура ракеты. Увеличиваются боевые возможности и эффективность в поражении рассредоточенных целей, сохраняется управляемость ракеты вплоть до достижения цели. 2 н. и 22 з.п. ф-лы, 12 ил.

Формула изобретения

1. Способ поражения цели сверхзвуковой крылатой ракетой, оснащенной бортовой аппаратурой и боевым снаряжением, включающий введение в бортовую аппаратуру системы управления предварительно сформированное полетное задание, содержащее траекторию полета ракеты и точку прицеливания, информацию о типе поражаемой цели, пуск и полет ракеты в точку с заданными координатами при поддержании ее сверхзвуковой скорости, отличающийся тем, что полетное задание формируют по исходным данным о параметрах цели, при достижении ракетой точки с заданными координатами определяют скорость и высоту полета ракеты относительно цели с последующим определением координат точки отделения элементов дополнительного боевого снаряжения, производят отделение элементов дополнительного боевого снаряжения в этой точке, восстанавливают аэродинамический контур крылатой ракеты, производят стабилизацию крылатой ракеты, обеспечивают полет ракеты до поражения основной цели, при этом хранение элементов дополнительного боевого снаряжения осуществляют в отдельных контейнерах, из которых осуществляют отделение указанных элементов.

2. Способ поражения цели сверхзвуковой крылатой ракетой по п. 1, отличающийся тем, что после отделения элементов дополнительного боевого снаряжения поддержание их сверхзвуковой скорости полета обеспечивают за счет использования твердотопливных ракетных двигателей элементов дополнительного боевого снаряжения.

3. Способ поражения цели сверхзвуковой крылатой ракетой по п. 1, отличающийся тем, что по исходным данным о типе цели, параметров

скорости и высоты ракеты и координатах точки для отделения элементов дополнительного боевого снаряжения, определяют и обеспечивают угол разлета элементов дополнительного боевого снаряжения относительно траектории движения ракеты.

4. Способ поражения цели сверхзвуковой крылатой ракетой по пп. 1, 2, отличающийся тем, что после отделения элементов дополнительного боевого снаряжения включают твердотопливные ракетные двигатели элементов дополнительного боевого снаряжения и обеспечивают полет элементов со скоростью движения Vэ выше значения скорости крылатой ракеты Vк на заданном расстоянии впереди движения сверхзвуковой крылатой ракеты.

5. Способ поражения цели сверхзвуковой крылатой ракетой по п. 1, отличающийся тем, что после отделения элементов дополнительного боевого снаряжения и обеспечении их полета по направлению к цели перед подлетом к цели обеспечивают раскрытие корпуса элементов дополнительного боевого снаряжения и разлет поражающих компонентов.

6. Способ поражения цели сверхзвуковой крылатой ракетой по п. 5, отличающийся тем, что раскрытие корпуса элементов дополнительного боевого снаряжения обеспечивают использованием пиротехнических элементов в конструкции.

7. Способ поражения цели сверхзвуковой крылатой ракетой по п. 5, отличающийся тем, что осуществляют подрыв отдельных поражающих компонентов с заданной временной задержкой после раскрытия корпуса элементов дополнительного боевого снаряжения.

8. Способ поражения цели сверхзвуковой крылатой ракетой по п. 1, отличающийся тем, что на отдельных элементах дополнительного боевого снаряжения после их отделения от ракеты включают блок имитации работы радиовысотомера.

9. Способ поражения цели сверхзвуковой крылатой ракетой по п. 1, отличающийся тем, что на отдельных элементах дополнительного боевого снаряжения после их отделения от ракеты включают блок имитации работы головки самонаведения.

10. Способ поражения цели сверхзвуковой крылатой ракетой по п. 5, отличающийся тем, что осуществляют наведение отдельных поражающих компонентов на цель и после сближения их с целью на расстояние ее поражения осуществляют подрыв кумулятивной боевой части.

11. Способ поражения цели сверхзвуковой крылатой ракетой по п. 1, отличающийся тем, что наведение на цель отдельных элементов дополнительного боевого снаряжения обеспечивают с помощью устройства самонаведения.

12. Сверхзвуковая крылатая ракета, содержащая планер, в приборном отсеке которого размещены блоки бортовой аппаратуры системы управления, боевое снаряжение, а в передней части сверхзвуковой крылатой ракеты установлено дополнительное боевое снаряжение, отличающаяся тем, что дополнительное боевое снаряжение состоит из отдельных элементов, выполненных в виде статически устойчивых модулей, размещенных в отдельных контейнерах, с возможностью отделения элементов от ракеты в расчетный момент времени, в задней части контейнеров размещены заглушки с возможностью их продольного перемещения вдоль контейнера под действием пороховых газов и фиксации на корпусе ракеты, при этом передняя часть заглушки выполнена с профилем, аналогичным профилю соответствующей части аэродинамического контура крылатой ракеты.

13. Сверхзвуковая крылатая ракета по п. 12, отличающаяся тем, что отдельные элементы дополнительного боевого снаряжения снабжены реактивными двигателями твердого топлива с удельным импульсом,

обеспечивающим на участке подлета к цели сверхзвуковую скорость элементов дополнительного боевого снаряжения.

14. Сверхзвуковая крылатая ракета по п. 12, отличающаяся тем, что отдельные элементы дополнительного боевого снаряжения снабжены реактивными двигателями твердого топлива с удельным импульсом, обеспечивающим на участке подлета к цели скорость элементов дополнительного боевого снаряжения не ниже скорости крылатой ракеты.

15. Сверхзвуковая крылатая ракета по п. 12, отличающаяся тем, что отдельные элементы дополнительного боевого снаряжения снабжены блоком имитации работы радиовысотомера.

16. Сверхзвуковая крылатая ракета по п. 12, отличающаяся тем, что отдельные элементы дополнительного боевого снаряжения снабжены блоком имитации работы головки самонаведения.

17. Сверхзвуковая крылатая ракета по п. 12, отличающаяся тем, что отдельные элементы дополнительного боевого снаряжения снабжены устройством самонаведения.

18. Сверхзвуковая крылатая ракета по п. 12, отличающаяся тем, что отдельные элементы дополнительного боевого снаряжения снабжены пиротехническими элементами конструкции с возможностью обеспечения раскрытия корпуса элементов дополнительного боевого снаряжения и разлета поражающих компонентов.

19. Сверхзвуковая крылатая ракета по п. 18, отличающаяся тем, что отдельные поражающие компоненты снабжены взрывчатым веществом.

20. Сверхзвуковая крылатая ракета по п. 18, 19, отличающаяся тем, что отдельные поражающие компоненты снабжены взрывателем замедленного действия.

21. Сверхзвуковая крылатая ракета по п. 18, отличающаяся тем, что отдельные поражающие компоненты содержат кумулятивную боевую часть.

22. Сверхзвуковая крылатая ракета по п. 18, отличающаяся тем, что отдельные поражающие компоненты содержат парашют.

23. Сверхзвуковая крылатая ракета по п. 18, отличающаяся тем, что отдельные поражающие компоненты снабжены устройством самонаведения, выполненным на основе инфракрасной матрицы.

24. Сверхзвуковая крылатая ракета по п. 12, отличающаяся тем, что передняя часть элементов дополнительного боевого снаряжения выполнена с профилем, аналогичным профилю соответствующей части аэродинамического контура крылатой ракеты.

Описание

[1]

Предлагаемое решение относится к ракетной технике, а именно к сверхзвуковым крылатым ракетам (СКР), предназначенным для поражения наземных целей, включая легкоуязвимые площадные наземные объекты, в том числе критичные по времени мобильные цели, такие как:

[2]

- боевая авиация на аэродромах базирования (на открытой стоянке или взлетно-посадочной полосе),

[3]

- пусковые установки, мобильные командные пункты и РЛС подвижных ракетных комплексов,

[4]

- небронированная или легкобронированная автомобильная техника и живая сила на марше или в районах сосредоточения;

[5]

- стационарные центры управления и связи, радиолокационные станции, топливонасыщенные объекты и другие цели;

[6]

В настоящее время основным средством борьбы с такого рода целями, в большинстве своем относящимися к классу легкоуязвимых наземных целей, являются осколочные и осколочно-фугасные боеприпасы авиационных бомб, бомбовые кассеты с управляемым рассредоточением зарядов, позволяющие поразить большой участок площади, управляемые авиационные планирующие кассеты, запускаемые вне зоны ПВО объекта, и пр. Носителями большинства перечисленных средств являются самолеты тактической авиации, их боевое применение предполагает участие в выборе объекта поражения и наведении боеприпаса на цель летчика или оператора, находящегося на борту самолета, что в условиях противодействия противника может привести к потерям самолетов и их экипажей.

[7]

Изобретение описывает способ применения и устройство его осуществления, позволяющие расширить боевые возможности СКР, предназначенной для поражения указанных целей, при минимальном объеме переоборудования базового образца, разработанного для поражения преимущественно морских целей.

[8]

Известно изобретение по патенту РФ №2377493, в соответствии с которым крылатую ракету на конечном этапе полета переводят на траекторию пологого пикирования и поддерживают ее высокую сверхзвуковую скорость вплоть до ее соударения с земной поверхностью в точке с запрограммированным недолетом до геометрического центра области расположения цели или с заданным положением относительно цели. Вывод цели из строя обеспечивается как за счет готовых поражающих элементов боевой части, выполненной в виде тонкостенного корпуса, так и за счет фрагментов корпуса и оборудования ракеты. Повышается эффективность воздействия ракеты на легкоуязвимые наземные цели за счет усиления осколочно-фугасного действия ее боевой части.

[9]

Недостатком изобретения является ограниченность поражения цели и высокая сложность реализации решения. Фактически, отсутствует теоретические расчеты, позволяющие с высокой достоверностью рассчитать процесс разделения ракеты на фрагменты, получаемые в процессе соударения с земной поверхностью. В различных местах нахождения поражаемых целей плотность и состав поверхности может отличаться, что окажет влияние на формирование поражающих фрагментов и зону поражения. Поражаемые цели могут быть окружены водной поверхностью или густой растительностью, что в подобных условиях делает применение изобретения труднореализуемым. Естественные природные фрагменты (камни, растительность, холмистость и др.) и искусственные сооружения могут осложнить реализацию расчетного соударения о поверхность земли и стать защитой для цели и снизить эффективность поражения.

[10]

Ближайшим аналогом решения может стать изобретение по патенту РФ №2569971 (МПК F42B 15/01, опубликован 10.12.2015), в соответствии с которым для крылатой ракеты формируют полетное задание с точкой прицеливания, параметрами траектории ракеты и типах поражаемых целей, выбирают ракету со сменной головкой самонаведения или взаимозаменяемой головкой самонаведения с дополнительным боевым снаряжением, вносят изменения в циклограмму полета в зависимости от типа цели, запускают и обеспечивают полет ракеты с участками пикирования в зависимости от типа цели в точку с заданными координатами в области расположения цели, подрывают боевое снаряжение с запрограммированным недолетом до геометрического центра области расположения площадной цели или по достижении цели. При этом дополнительное боевое снаряжение может быть сформировано в виде тонкостенного корпуса с размещенными в нем поражающими элементами или наконечника из материала с плотностью не ниже значения 5500 кг/м3.

[11]

Положительный эффект изобретения обеспечивается за счет использования высокой кинетической энергии СКР: в одном варианте - для усиления осколочного действия штатной (фугасной) БЧ ракеты, в другом варианте - для усиления проникающего действия БЧ (в том числе проникающей БЧ) ракеты.

[12]

Технический результат изобретения состоит в том, что при минимальном объеме переоборудования как материальной части, так и программного обеспечения системы управления СКР, изначально будучи разработанной для решения задач поражения преимущественно надводных радиоконтрастных целей, приобретает возможность эффективно поражать распределенные на площади, критичные по времени наземные цели, а также повысить эффективность воздействия на прочные, в том числе заглубленные наземные объекты.

[13]

Однако, у этого изобретения есть недостатки.

[14]

В случае установки в качестве дополнительного боевого снаряжения тонкостенного корпуса с размещенными в нем поражающими элементами и его подрыва с запрограммированным недолетом до геометрического центра области расположения площадной цели корпус СКР потеряет целостность, а сама ракета - управляемость. Полет «основного тела» СКР вместе с основной боевой частью будет происходить по неуправляемой траектории.

[15]

Теоретически, такой способ поражения цели будет полезным в применении, но только при подрыве на минимальной от цели дистанции, при которой кинетическая энергия поражающих элементов будет достаточно высокой для поражения цели. При этом потеря кинетической энергии от воздействия аэродинамического сопротивления должна быть незначительной, траектория полета основной (осколочно-фугасной) боевой части - предсказуемой, а отклонение от расчетной траектории не должны существенно влиять на результат.

[16]

Выполнение всех перечисленных условий существенно ограничивает применение изобретения. Кроме того, подрыв боевого снаряжения на близкой к цели дистанции предъявляет к ракете жесткие требования по преодолению противоракетной обороны (ПРО) противника.

[17]

Еще один немаловажный фактор - высокая стоимость СКР. Недостаточно эффективное использование ракетного оружия подобного класса является несоразмерным его высокой стоимости.

[18]

Предлагаемое решение нацелено на устранение перечисленных недостатков.

[19]

Задачей предполагаемого изобретения является создание такого способа поражения цели и устройства для его осуществления, при котором была бы эффективно использована и кинетическая энергия СКР (для применения дополнительного боевого снаряжения), и основная боевая часть при точном наведении ракеты на цель.

[20]

Кроме того, необходимо решить задачу по преодолению последних (расположенных перед целью) рубежей ПРО. Также важным аспектом является повышение эффективности применения элементов дополнительного боевого снаряжения.

[21]

Поставленные задачи решаются следующим образом.

[22]

В способе поражения цели сверхзвуковой крылатой ракетой, включающим введение в бортовую аппаратуру системы управления предварительно сформированное полетное задание, содержащем траекторию полета ракеты и точку прицеливания, информацию о типе поражаемой цели, пуск и полет ракеты в точку с заданными координатами при поддержании ее сверхзвуковой скорости, введены следующие отличия.

[23]

Полетное задание формируют по исходным данным о параметрах цели, при достижении ракетой точки с заданными координатами определяют скорость и высоту полета ракеты относительно цели с последующим определением координат точки отделения элементов дополнительного боевого снаряжения, производят отделение элементов дополнительного боевого снаряжения в этой точке, восстанавливают аэродинамический контур крылатой ракеты, производят стабилизацию крылатой ракеты, обеспечивают полет ракеты до поражения основной цели, при этом хранение элементов дополнительного боевого снаряжения осуществляют в отдельных контейнерах, из которых осуществляют отделение указанных элементов.

[24]

В предлагаемом способе поражения цели сверхзвуковой крылатой ракетой может быть дополнительно применено следующее:

[25]

- после отделения элементов дополнительного боевого снаряжения поддержание их сверхзвуковой скорости полета обеспечивают за счет использования твердотопливных ракетных двигателей (РДТТ) элементов дополнительного боевого снаряжения.

[26]

- по исходным данным о типе цели, параметров скорости и высоты ракеты и координатах точки для отделения элементов дополнительного боевого снаряжения, определяют и обеспечивают угол разлета элементов дополнительного боевого снаряжения относительно траектории движения ракеты;

[27]

- после отделения элементов дополнительного боевого снаряжения включают твердотопливные ракетные двигатели элементов дополнительного боевого снаряжения и обеспечивают полет элементов со скоростью движения Vэ выше значения скорости крылатой ракеты Vк на заданном расстоянии впереди движения сверхзвуковой крылатой ракеты;

[28]

- что после отделения элементов дополнительного боевого снаряжения и обеспечении их полета по направлению к цели перед подлетом к цели обеспечивают раскрытие корпуса элементов дополнительного боевого снаряжения и разлет поражающих компонентов;

[29]

- раскрытие корпуса элементов дополнительного боевого снаряжения обеспечивают использованием пиротехнических элементов в конструкции;

[30]

- осуществляют подрыв отдельных поражающих компонентов с заданной временной задержкой после раскрытия корпуса элементов дополнительного боевого снаряжения;

[31]

- для обеспечения достижения крылатой ракетой основной цели и преодоления ПРО противника после отделения элементов дополнительного боевого снаряжения от ракеты на элементах дополнительного боевого снаряжения включают блок имитации работы радиовысотомера;

[32]

- для обеспечения достижения крылатой ракетой основной цели и преодоления ПРО после отделения элементов дополнительного боевого снаряжения от ракеты на элементах дополнительного боевого снаряжения включают блок имитации работы головки самонаведения (ГСН);

[33]

- осуществляют наведение поражающих компонентов на цель и после сближения их с целью на расстояние ее поражения осуществляют подрыв кумулятивной боевой части;

[34]

- наведение на цель отдельных элементов дополнительного боевого снаряжения обеспечивают с помощью устройства самонаведения, (выполненного, например, на основе инфракрасной матрицы).

[35]

Для осуществления предлагаемого способа поражения цели сверхзвуковой крылатой ракетой предлагается сверхзвуковая крылатая ракета, содержащая планер, в приборном отсеке которого размещены блоки бортовой аппаратуры системы управления, боевое снаряжение, а в передней части сверхзвуковой крылатой ракеты установлено дополнительное боевое снаряжение, в которой введены следующие отличия.

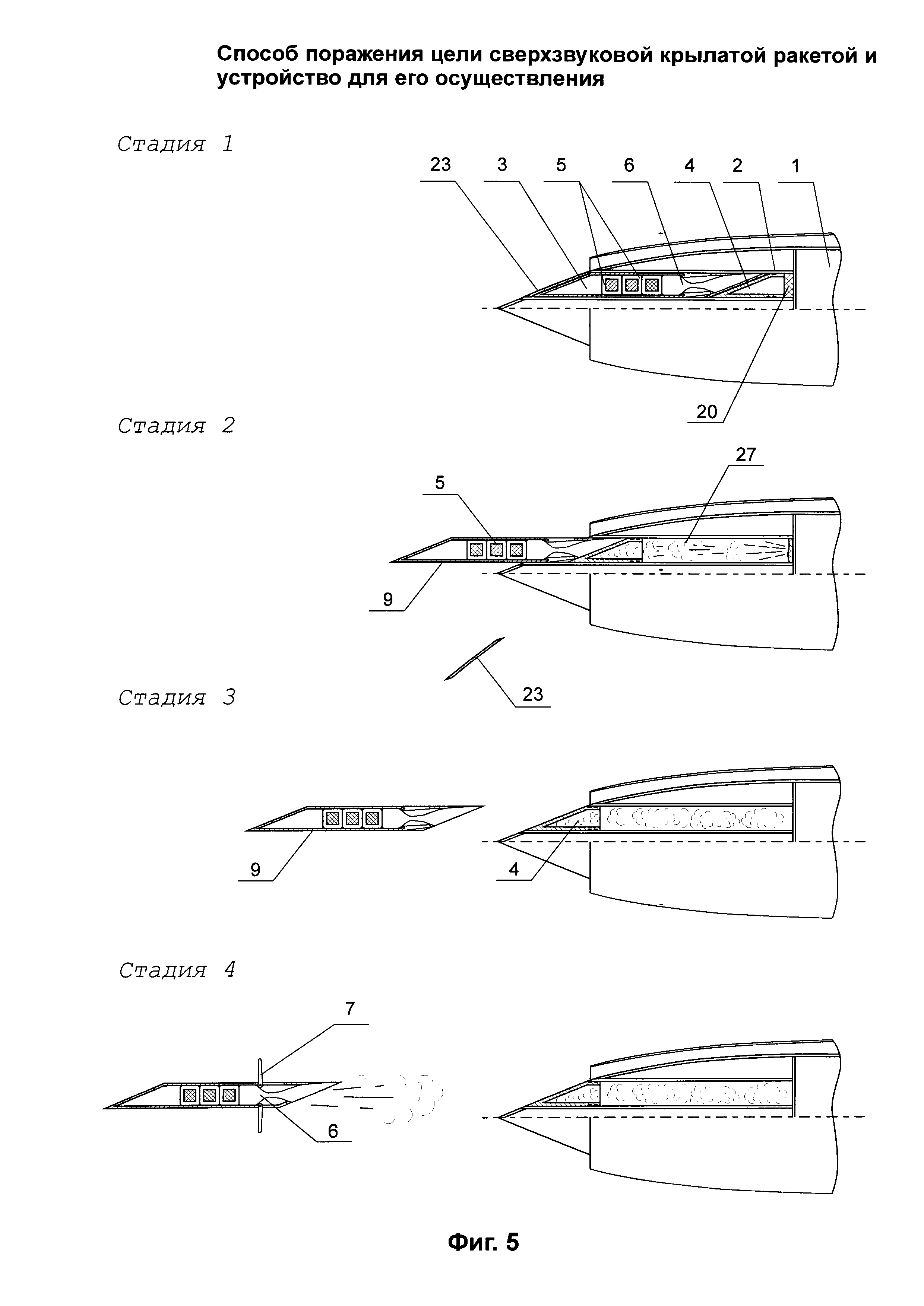
[36]

Дополнительное боевое снаряжение состоит из отдельных элементов, выполненных в виде статически устойчивых модулей, размещенных в отдельных контейнерах, с возможностью отделения элементов от ракеты в расчетный момент времени, в задней части контейнеров размещены заглушки с возможностью их продольного перемещения вдоль контейнера под действием пороховых газов и фиксации на корпусе ракеты, при этом передняя часть заглушки выполнена с профилем, аналогичным профилю соответствующей части аэродинамического контура крылатой ракеты.

[37]

Передняя часть элементов дополнительного боевого снаряжения может быть выполнена с профилем, аналогичным профилю соответствующей части аэродинамического контура крылатой ракеты.

[38]

В предлагаемой сверхзвуковой крылатой ракетой может быть дополнительно применено следующее:

[39]

- отдельные элементы дополнительного боевого снаряжения снабжены реактивными двигателями твердого топлива с удельным импульсом, обеспечивающим на участке подлета к цели сверхзвуковую скорость элементов дополнительного боевого снаряжения;

[40]

- отдельные элементы дополнительного боевого снаряжения снабжены реактивными двигателями твердого топлива с удельным импульсом, обеспечивающим на участке подлета к цели скорость элементов дополнительного боевого снаряжения не ниже скорости крылатой ракеты;

[41]

- отдельные элементы дополнительного боевого снаряжения снабжены блоком имитации работы радиовысотомера;

[42]

- отдельные элементы дополнительного боевого снаряжения снабжены блоком имитации работы головки самонаведения;

[43]

- отдельные элементы дополнительного боевого снаряжения снабжены устройством самонаведения, (выполненным, например, на основе инфракрасной матрицы);

[44]

- отдельные элементы дополнительного боевого снаряжения снабжены пиротехническими элементами конструкции с возможностью обеспечения раскрытия корпуса элементов дополнительного боевого снаряжения и разлета поражающих компонентов;

[45]

- отдельные поражающие компоненты снабжены взрывчатым веществом;

[46]

- отдельные поражающие компоненты снабжены взрывателем замедленного действия;

[47]

- в донной части контейнеров элементов дополнительного боевого снаряжения размещены пороховые аккумуляторы давления;

[48]

- отдельные поражающие компоненты содержат кумулятивную боевую часть;

[49]

- отдельные поражающие компоненты содержат парашют;

[50]

- отдельные поражающие компоненты содержат устройство самонаведения, выполненное на основе инфракрасной матрицы;

[51]

- передняя часть элементов дополнительного боевого снаряжения выполнена с профилем, аналогичным профилю соответствующей части аэродинамического контура крылатой ракеты.

[52]

Предлагаемое решение и его применение показано на иллюстрациях. На прилагаемых к описанию фигурах представлено следующее.

[53]

Фигура 1 - разлет элементов дополнительного боевого снаряжения без использования РДТТ с последующим их вскрытием перед подлетом к цели (а) и поражение цели (б).

[54]

Фигура 2 - разлет элементов дополнительного боевого снаряжения с РДТТ с последующим их вскрытием перед подлетом к цели (а) и поражение цели (б).

[55]

Фигура 3 - отделение элемента дополнительного боевого снаряжения без использования РДТТ с восстановлением аэродинамического контура ракеты.

[56]

Фигура 4 - раскрытие корпуса элемента дополнительного боевого снаряжения без использования РДТТ в полете.

[57]

Фигура 5 - отделение элемента дополнительного боевого снаряжения с РДТТ с восстановлением аэродинамического контура ракеты.

[58]

Фигура 6 - раскрытие корпуса элемента дополнительного боевого снаряжения с РДТТ в полете.

[59]

Фигура 7 - элемент дополнительного боевого снаряжения с РДТТ в сечении (представлен схематично).

[60]

Фигура 8 - элемент дополнительного боевого снаряжения без использования РДТТ в сечении (представлен схематично).

[61]

Фигура 9 - элемент дополнительного боевого снаряжения в полете.

[62]

Фигура 10 - фрагмент сверхзвуковой крылатой ракеты с элементами дополнительного боевого снаряжения.

[63]

Фигура 11 - поражающий компонент, вариант применения.

[64]

Фигура 12 - способ поражения цели с использованием элементов дополнительного боевого снаряжения различной комплектации.

[65]

На представленных иллюстрациях показаны следующие элементы:

[66]

1 - корпус сверхзвуковой крылатой ракеты;

[67]

2 - контейнер элемента дополнительного боевого снаряжения;

[68]

3 - передняя часть элемента дополнительного боевого снаряжения с профилем, аналогичным профилю соответствующей части СКР;

[69]

4 - задняя заглушка с профилем, аналогичным профилю соответствующей части СКР;

[70]

5 - поражающие компоненты; 6-РДТТ;

[71]

7 - органы управления элемента дополнительного боевого снаряжения;

[72]

8 - основная цель;

[73]

9 - элемент дополнительного боевого снаряжения;

[74]

10 - точка отделения элементов дополнительного боевого снаряжения;

[75]

11 - угол разлета элементов дополнительного боевого снаряжения;

[76]

12 - угол разлета поражающих компонентов;

[77]

13 - раскрытие корпуса элементов дополнительного боевого снаряжения;

[78]

14 - блок имитации работы радиовысотомера;

[79]

15 - блок имитации работы ГСН;

[80]

16 - дополнительная цель;

[81]

17 - устройство самонаведения (например, в виде инфракрасного координатора) элемента дополнительного боевого снаряжения;

[82]

18 - пиротехнические элементы конструкции;

[83]

19 - взрывчатое вещество поражающего компонента (со взрывателем или без него);

[84]

20 - пороховой аккумулятор давления;

[85]

21 - кумулятивная боевая часть;

[86]

22 - парашют;

[87]

23 - передняя заглушка;

[88]

24 - подрыв поражающих компонентов;

[89]

25 - устройство самонаведения (например, в виде инфракрасного координатора) поражающего компонента;

[90]

26 - органы управления поражающего компонента;

[91]

27 - пороховые газы;

[92]

28 - кумулятивная струя (поражение кумулятивной боевой частью);

[93]

29 - элемент дополнительного боевого снаряжения с РДТТ и блоками, имитирующими СКР;

[94]

30 - элемент дополнительного боевого снаряжения с РДТТ;

[95]

31 - крылатая ракета;

[96]

32 - элемент дополнительного боевого снаряжения без РДТТ;

[97]

33 - зона обзора устройства самонаведения (инфракрасного координатора) поражающего компонента.

[98]

Предлагаемое решение реализуется следующим образом.

[99]

Как и в ближайшем аналоге формирование полетного задания СКР производится на основе данных (получаемых от предварительно произведенной разведки) о цели. Для расчета могут быть приняты факты о типе и степени защищенности цели, рассредоточении важных объектов, геометрических параметрах цели (например, протяженности L1 - на фрагменте (а) фигуры 1), перепадах высот и др., наличии естественных (рельеф местности) и искусственных помех вблизи цели.

[100]

В точке с заданными координатами определяются реальные значения высоты, скорости, направления движения СКР, на основе которых рассчитывается точка отделения элементов дополнительного боевого снаряжения (например, величины L0, H0 - на фрагменте (а) фигуры 1, и др.).

[101]

На фигуре 1 показан способ поражения цели без использования в элементах дополнительного боевого снаряжения РДТТ. На фрагменте (а) позицией (10) показано отделение элементов с углом их разлета (11), после чего СКР продолжает полет к основной цели. Позицией (13) показано раскрытие корпуса элементов с помощью пиротехнических элементов конструкции (18), а позицией (12) - угол разлета поражающих компонентов (5). Угол разлета поражающих компонентов и дистанция раскрытие корпуса элементов дополнительного боевого снаряжения от цели влияют на плотность накрытия цели поражающими компонентами, поэтому данные величины учитываются при расчете поражения цели.

[102]

Элементы дополнительного боевого снаряжения летят к цели по аэробаллистической траектории (фактически, органы управления (7) необходимы для обеспечения устойчивости полета). Вскрытие корпуса элементов происходит с запрограммированной задержкой. После разлета поражающих компонентов может быть предусмотрен их подрыв с временной задержкой (позиция - (24)). На фрагменте (б) фигуры 1 показано поражение цели, причем, основная цель (8) поражается непосредственно КР.

[103]

При осуществлении способа поражения цели с использованием в элементах дополнительного боевого снаряжения РДТТ возможны варианты.

[104]

При этом расчет точки (10) отделения элементов происходит аналогично изложенному выше (фигура 1), но с учетом возможностей и стоящих перед КР задач.

[105]

При обеспечении скорости элементов равной скорости СКР данные элементы, а также компоненты боевого снаряжения СКР (боевая часть СКР) достигнут цели приблизительно в одно время.

[106]

При обеспечении скорости элементов выше скорости СКР (показано на фигуре 2) появляется возможность для реализации следующих дополнительных решений.

[107]

- Установка на элемент дополнительного боевого снаряжения блока имитации работы радиовысотомера (14) или блока имитации работы головки самонаведения (15) (фигура 7), позволяет отвлечь средства ПРО противника от СКР и, тем самым, повысить вероятность преодоления ПРО. Тем не менее, элемент с установленными блоками имитации полета КР может быть снабжен взрывчатым веществом (иными поражающими компонентами), которые будут приведены в действие в случае удачного исхода при прорыве ПРО.

[108]

- Увеличение скорости элементов дополнительного боевого снаряжения неизбежно приведет к увеличению кинетической энергии поражающих компонентов. Раскрытие корпуса элементов непосредственно перед целью приведет к более разрушительным последствиям для цели.

[109]

- Увеличение поражающих возможностей элементов дополнительного боевого снаряжения повышает целесообразность применения устройства самонаведения (17) (например, инфракрасного координатора, выполненного на основе инфракрасной матрицы). Применение, инфракрасного координатора (так называемой «псевдо - ГСН»), позволяет выделить из массива объектов цели наиболее важные с последующим наведением на них и поражением.

[110]

Цель считается пораженной (уничтоженной, выведенной из строя...) при попадании в нее определенного количества поражающих компонентов, каждый из которых должен обладать импульсом не ниже установленной величины.

[111]

Для каждого типа цели существуют индивидуальные критерии (в том числе по количеству поражающих компонентов, достигших цели, их импульсу и др.), выполнение которых удовлетворяет условию поражения цели.

[112]

Обладая информацией о типе цели, можно заранее определить необходимые критерии для ее уничтожения и сформировать условия, выполнение которых приведет к уничтожению цели.

[113]

На борту СКР (элементах дополнительного боевого снаряжения) может быть размещено определенное количество поражающих компонентов, зависящих от их размеров (соответственно, от массы). Управляя углом разлета поражающих компонентов, можно менять величину плотности накрытия цели (количество попадания поражающих компонентов в единицу площади).

[114]

Важным параметром является конечная скорость Vкон поражающего компонента при поражении цели. Vкон зависит от расстояния между целью и точкой раскрытия корпуса элементов дополнительного боевого снаряжения (вследствие аэродинамического сопротивления начальная скорость компонентов уменьшается).

[115]

Для обеспечения максимального значения Vкон раскрытие элементов должно производиться на минимальной дистанции к цели.

[116]

Однако, одной из задач предлагаемого решения является преодоление заключительного рубежа ПРО противника. Предположительно ПРО заключается в формировании заградительного огня из максимального большого количества скорострельных видов оружия. Дальность поражающего действия подобных средств общеизвестна. Чтобы исключить возможность поражения СКР или элементов дополнительного боевого снаряжения от данного вида ПРО, дистанция отделения элементов боевого снаряжения от СКР или раскрытие корпуса элементов вблизи цели должна быть на менее дальности поражающего действия средств данного рубежа ПРО.

[117]

Одним из возможных вариантов, увеличивающим вероятность поражения цели, является использование отдельных поражающих компонентов для наведения на цель с последующим ее уничтожением кумулятивной боевой частью (21). Для более точного наведения на цель и ориентации заряда отдельные поражающие компоненты снабжены парашютом (22), органами управления (26) и устройством самонаведения (инфракрасным координатором). При сближении с целью на дистанцию ее поражения кумулятивная боевая часть срабатывает.

[118]

На фигуре 3 изображено отделение элемента дополнительного боевого снаряжения без использования РДТТ с восстановлением аэродинамического контура СКР по стадиям.

[119]

На стадии 1 показано размещение элемента дополнительного боевого снаряжения (9) в корпусе СКР (1). Элемент размещен в контейнере (2). Как возможный вариант исполнения позицией (3) показана передняя часть элемента с профилем, аналогичным профилю соответствующей (в месте стыковки) части ракеты. Позицией (4) показана задняя заглушка, выполненная с профилем, идентичным профилю крылатой ракеты.

[120]

На стадии 2 показано, как после получения соответствующей команды срабатывает пороховой аккумулятор давления (20). Под действием пороховых газов (27) элемент дополнительного боевого снаряжения начинает движение вдоль контейнера, выдавливает переднюю заглушку (23).

[121]

На стадии 3 элемент отделяется от ракеты, а задняя заглушка, движущаяся вперед под действием пороховых газов, фиксируется на корпусе ракеты, восстанавливая ее аэродинамический контур. Пороховые газы, создавая давление внутри контейнера, обеспечивают дополнительную жесткость контейнера и фиксации задней заглушки.

[122]

Во избежание повреждения задней заглушкой корпуса СКР и надежной ее фиксации на корпусе СКР при обеспечении восстановления аэродинамического контура СКР необходимо учесть действие сил пороховых газов, аэродинамического сопротивления, прочность корпуса, возможные скорости СКР и отделяемых элементов. Конструкция задней заглушки с механизмом закрепления на корпусе СКР может представлять собой отдельное охраноспособное решение. В рамках настоящей заявки не рассматривается.

[123]

На стадии 4 у элемента дополнительного боевого снаряжения раскрываются органы управления (7).

[124]

На фигуре 4 показано раскрытие элемента дополнительного боевого снаряжения без использования РДТТ по стадиям.

[125]

На стадии 1 изображен элемент дополнительного боевого снаряжения в полете. На стадии 2 показано срабатывание пиротехнических элементов (18) и раскрытие (подрыв) элемента. На стадии 3 показан разлет поражающих компонентов после раскрытия элемента.

[126]

На фигуре 5 изображено отделение элемента дополнительного боевого снаряжения, содержащего РДТТ, с восстановлением аэродинамического контура СКР по стадиям.

[127]

В целом, процесс отделения элемента аналогичен изображенному на фигуре 3. Дополнением является срабатывание РДТТ (6) после отделения элемента дополнительного боевого снаряжения.

[128]

На фигуре 6 показано раскрытие элемента дополнительного боевого снаряжения, содержащего РДТТ, по стадиям. Процесс раскрытия элемента аналогичен изображенному на фигуре 4. Однако подача команды на раскрытие элемента и отделение поражающих компонентов (запрограммированная задержка времени) должна производиться с учетом его повышенной скорости (в сравнении с элементом без РДТТ).

[129]

На фигуре 7 схематично представлен элемент дополнительного боевого снаряжения (9), содержащий РДТТ: (а) - со сложенными органами управления, (б) - с раскрытыми органами управления. Как видно, элемент представляет собой статически устойчивый модуль, снабженный органами управления. Отдельными позициями обозначены ключевые составные части элемента, которые могут быть установлены в зависимости от выполняемой задачи.

[130]

На фигуре 8 схематично представлен элемент дополнительного боевого снаряжения (9) без РДТТ.

[131]

На фигуре 9 показан элемент дополнительного боевого снаряжения в изометрии.

[132]

На фигуре 10 показана часть компоновки элементов дополнительного боевого снаряжения внутри СКР.

[133]

На фигуре 11 схематично показан вариант использования отдельного поражающего компонента. Позициями обозначены: (21) - кумулятивная боевая часть, (22) - парашют, (25) - устройство самонаведения (инфракрасный координатор), (26) - органы управления, (28) - кумулятивная струя, (16) - дополнительная цель, (33) - зона обзора инфракрасного координатора.

[134]

На стадии 1 показан поражающий компонент в полете. Под действием сил аэродинамического сопротивления скорость компонента снижается. С задержкой времени раскрывается парашют (стадия 2). В качестве возможного решения (варианта исполнения) показано приведение компонента в боевое состояние: смещением частей его корпуса открывается инфракрасный координатор и органы управления (для обеспечения сохранности от действия внешних факторов инфракрасный координатор располагается внутри корпуса). На этой стадии и на следующей возможна корректировка траектории полета поражающего компонента для сближения с целью.

[135]

На фигуре 12 представлена схема одного из возможных вариантов способа поражения цели с использованием элементов дополнительного боевого снаряжения различной комплектации, предназначенных для разных задач.

[136]

Целесообразно первым шагом отделить от СКР элемент с РДТТ (29), содержащий блоки имитации работы ГСН и (или) радиовысотомера. При наличии у противника ПРО отделяемый элемент становится ложной целью, способствует сохранению СКР. Этот же элемент может содержать и поражающие компоненты. Возможна установка на этот элемент и устройства самонаведения (например, инфракрасного координатора). В случае успешного преодоления ПРО первый элемент достигнет выбранной цели.

[137]

Вторым шагом целесообразно отделить элементы с РДТТ (30), снабженные также устройством самонаведения (в том числе, возможно использование инфракрасного координатора). При наведении на цель (компоненты цели) и приближении к ней элементы дополнительного боевого снаряжения раскрываются от срабатывания пиротехнических зарядов, и цель поражается кинетической энергией поражающих компонентов. Возможна установка на поражающие компоненты взрывчатого вещества. В этом случае цель может поражаться при соударении с нею (проникновении на некоторую глубину) поражающих компонентов.

[138]

Дополнительный эффект отделяемых элементов с РДТТ - отвлечение средств ПРО противника от СКР.

[139]

Главная цель уничтожается крылатой ракетой (31), несущей основную боевую часть. СКР следует за элементами с РДТТ.

[140]

Третьим шагом будет отделение оставшихся элементов дополнительного боевого снаряжения без РДТТ (32), что производится, фактически, незамедлительно после отделения элементов с РДТТ.

[141]

Четвертым, заключительным шагом в поражении цели является отделение поражающих компонентов, содержащих инфракрасный координатор, парашют и кумулятивную боевую часть. При наведении компонентов на дополнительные цели, попадании цели в сектор обзора инфракрасного координатора (33) и сближении с целью, последние уничтожаются кумулятивной струей.

[142]

Иным возможным вариантом способа поражения цели является отделение от СКР элементов дополнительного боевого снаряжения на различных участках траектории ее полета с последующим поражением основной цели на конечном участке траектории (иллюстрации не приводятся).

[143]

Проведенные расчеты подтверждают как эффективность, так и возможность реализации предлагаемого решения. Моделирование способа поражения цели позволило вычислить рациональное сочетание траектории полета СКР, скорости и высоты СКР перед целью, расстояния до цели перед отделением элементов дополнительной боевой части и поражающих компонентов.

[144]

Технологически реализация решения возможна. Более того, решение предложено для класса серийно производимых СКР с целью расширения их возможностей и применения для новых задач при одновременном снижении затрат на доработку базовых образцов СКР (например ПКР «Яхонт») и снижении конечной стоимости СКР, предназначенной для поражения указанных в целей.

[145]

Технический результат решения состоит в следующем.

[146]

Во-первых, увеличивается боевая мощь СКР при неизменных массово-габаритных характеристиках и дальности полета. Во-вторых, возрастает эффективность в поражении рассредоточенных целей вследствие рационального рассредоточения компонентов боевого снаряжения относительно целей. Причем, сохраняется первоначальный боевой потенциал СКР и ее управляемость вплоть до достижения цели вследствие сохранения аэродинамического контура СКР. В-третьих, возрастают возможности СКР в преодолении ПРО противника.

[147]

Еще одним важным преимуществом решения является возможность уничтожения легкоуязвимых целей на различных участках маршрута (траектории) СКР. При соответствующей доработке системы управления и стабилизации СКР технически выполнимо отделение элементов дополнительного боевого снаряжения в различных точках приведения траектории полета и дальнейшее обеспечение полета СКР к основной цели.

[148]

Следует также учесть, что общий ожидаемый эффект при использовании решения будет существенно менее затратным в сравнении с применением существующих образцов ракетной техники.

Как компенсировать расходы
на инновационную разработку
Похожие патенты