патент
№ RU 2660294
МПК A47B13/06

КАРКАС МНОГОМЕСТНОГО СТОЛА

Авторы:
Печенов Дмитрий Викторович
Номер заявки
2017116713
Дата подачи заявки
15.05.2017
Опубликовано
05.07.2018
Страна
RU
Как управлять
интеллектуальной собственностью
Чертежи 
4
Реферат

Изобретение относится к каркасу рабочего офисного стола для нескольких рабочих мест. Технический результат - обеспечение универсальности при высоких прочностных характеристиках конструкции. Каркас многоместного стола содержит торцевые опоры и промежуточный опорный модуль, соединенный с торцевыми опорами, причем промежуточный опорный модуль содержит две вертикальные стойки, присоединенные к рамной конструкции, при этом рамная конструкция содержит жестко соединенные между собой поперечные и продольные элементы. Поперечные элементы выполнены с возможностью перемещения относительно концевых участков продольных элементов с изменением при этом расстояния между торцевыми опорами. 6 ил.

Формула изобретения

Каркас многоместного стола, содержащий торцевые опоры и, по меньшей мере, один промежуточный опорный модуль, соединенный с торцевыми опорами, отличающийся тем, что промежуточный опорный модуль содержит, по меньшей мере, две вертикальные стойки, присоединенные к рамной конструкции, при этом рамная конструкция содержит жестко соединенные между собой поперечные и продольные элементы, причем поперечные элементы выполнены с возможностью перемещения относительно концевых участков продольных элементов с изменением при этом расстояния между торцевыми опорами.

Описание

[1]

Изобретение относится к каркасу рабочего офисного стола для нескольких рабочих мест. Таковыми являются так называемые «bench-системы», характеризующиеся наличием общего каркаса для нескольких рабочих поверхностей или единой большой поверхности. Такая конструкция позволяет экономично создавать рабочие места необходимой конфигурации, используемые не только для постоянной работы, но и для краткосрочных совместных работ или проведения переговоров. Каркас изготавливают преимущественно из металла.

[2]

Каркас многоместного рабочего стола должен обеспечивать различную конфигурацию рабочих поверхностей в зависимости от назначения.

[3]

Известна конструкция каркаса для рабочего стола в соответствии с Европейской заявкой ЕР 2163170 A2 (опубл. 17.03.2010, МПК A47B 13/02). Каркас, изображенный на фиг. 3b, обеспечивает размещение двух продольно ориентированных рабочих поверхностей, при этом каркас содержит торцевые опоры и промежуточный опорный модуль, соединенный продольными траверсами с торцевыми опорами. Промежуточный опорный модуль представляет собой две опорные стойки, соединенные перекладиной и смещенные внутрь от краев рабочих поверхностей, при этом рабочие поверхности скреплены между собой крепежной пластиной.

[4]

Известная конструкция позволяет сформировать многоместный стол с требуемым числом рабочих мест, однако такой каркас не обеспечивает достаточную универсальность, поскольку не предусматривает, например, возможность обеспечения зазора между рабочими поверхностями, который может быть необходим для установки разделяющей перегородки в поперечном направлении. Кроме того, данная конструкция промежуточного каркаса не обеспечивает достаточную устойчивость, что является обязательным требованием для рабочих столов.

[5]

Техническим результатом заявленного изобретения является обеспечение универсальности при высоких прочностных характеристиках конструкции каркаса рабочего стола.

[6]

Указанный технический результат достигается за счет того, что в каркасе многоместного стола, содержащем торцевые опоры и, по меньшей мере, один промежуточный опорный модуль, соединенный с торцевыми опорами, промежуточный опорный модуль содержит, по меньшей мере, две вертикальные стойки, присоединенные к рамной конструкции, при этом рамная конструкция содержит жестко соединенные между собой поперечные и продольные элементы, причем поперечные элементы выполнены с возможностью перемещения относительно концевых участков продольных элементов с изменением при этом расстояния между торцевыми опорами.

[7]

В отличие от аналога, у которого промежуточный модуль выполнен в виде перекладины с двумя вертикальными стойками, в заявленном каркасе промежуточный модуль выполнен в виде рамной конструкции из соединенных между собой продольных и поперечных элементов с присоединенными вертикальными стойками, что обеспечивает высокую жесткость конструкции. Кроме того, места соединения продольных и поперечных элементов рамной конструкции выполнены с различными наборами стыковочных мест, используя которые, можно обеспечить нужную конфигурацию каркаса.

[8]

На чертежах представлены различные конфигурации каркаса стола.

[9]

Фиг. 1a - изображение каркаса для четырехместного рабочего стола с расположением рабочих поверхностей без зазора.

[10]

Фиг. 1b - укрупненное изображение стыковочных мест.

[11]

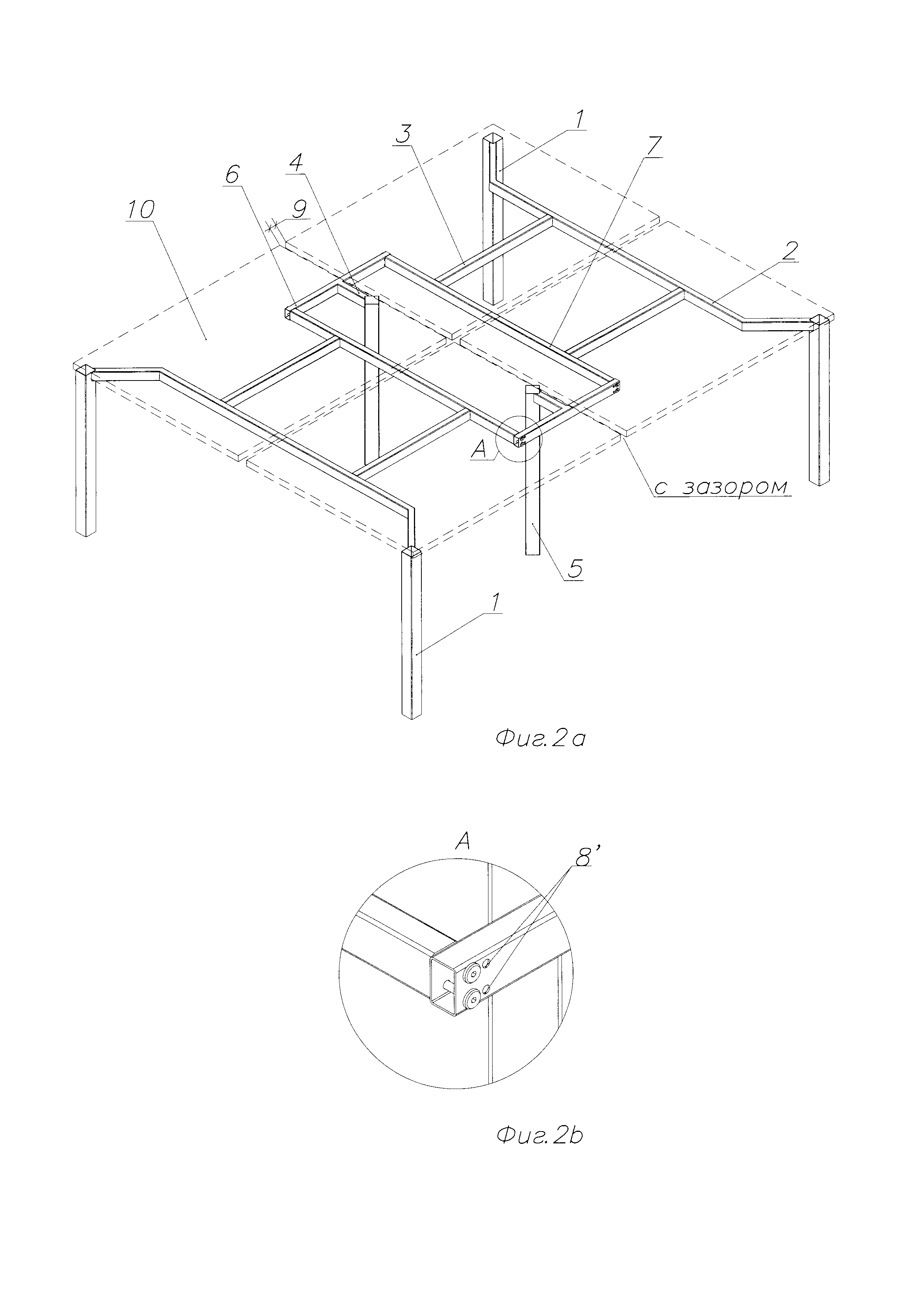
Фиг. 2а - изображение каркаса для четырехместного рабочего стола с расположением рабочих поверхностей с зазором.

[12]

Фиг. 2b - укрупненное изображение стыковочных мест.

[13]

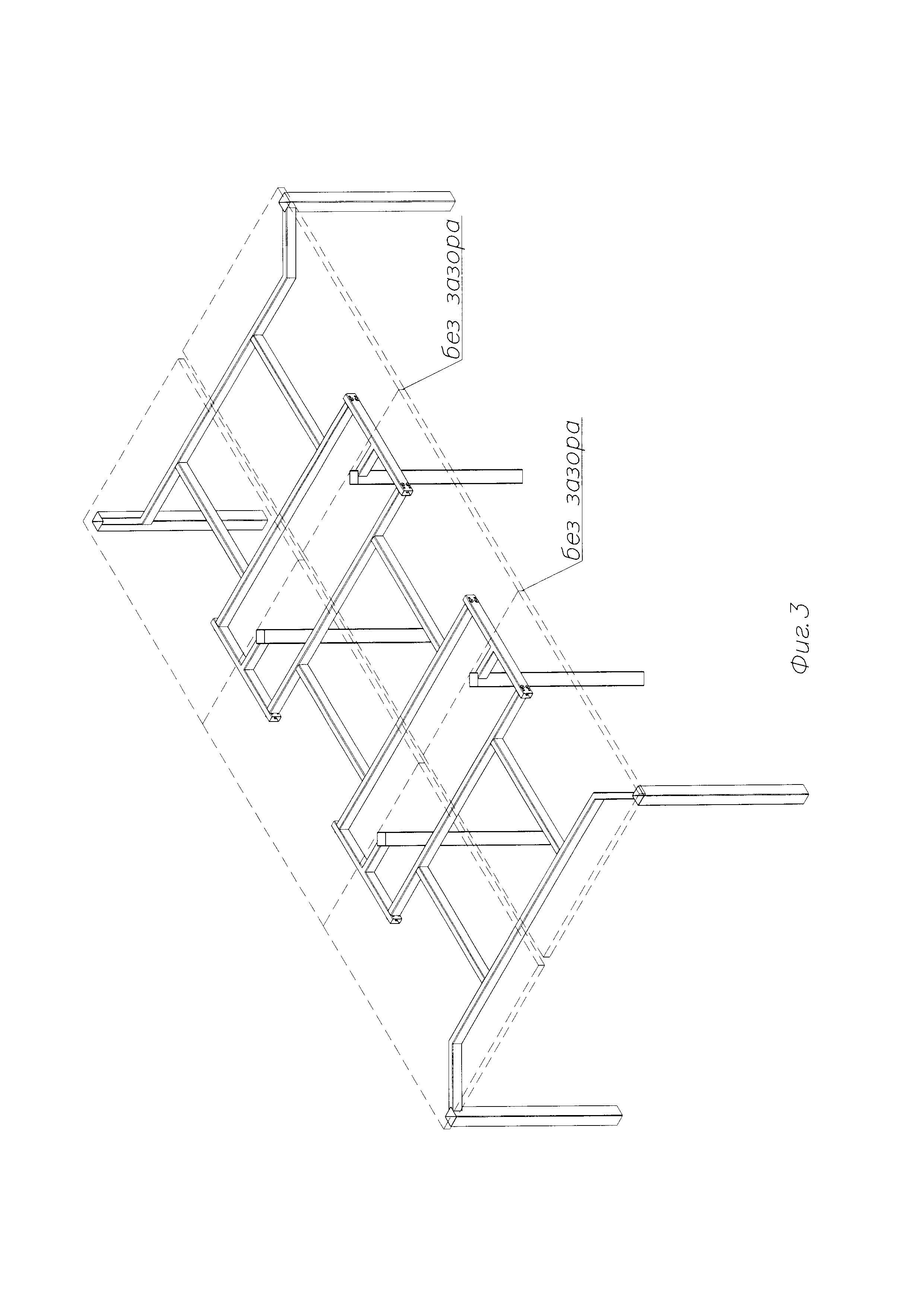
Фиг. 3 - изображение каркаса для многоместного рабочего стола с расположением рабочих поверхностей без зазора.

[14]

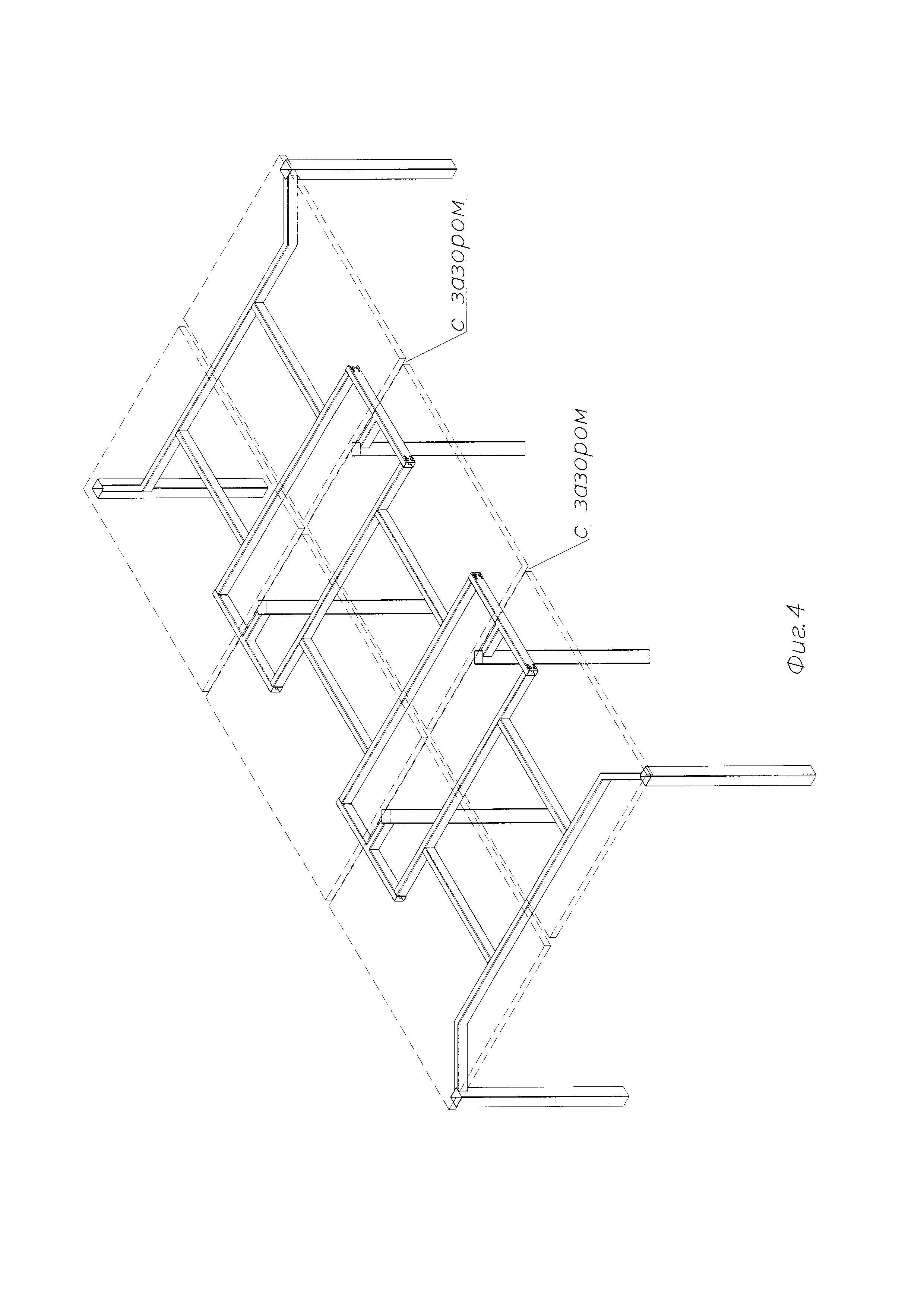
Фиг. 4 - изображение каркаса для многоместного рабочего стола с расположением рабочих поверхностей с зазором.

[15]

Пример реализации заявленного каркаса для четырехместного рабочего стола представлен со ссылками на фиг. 1-2. Каркас содержит торцевые опоры 1, представляющие собой вертикальные стойки, соединенные перекладиной 2, которая может иметь сложную форму, обусловленную, например, эстетическими требованиями заказчика. Представленный вариант каркаса имеет торцевые опоры 1 с соединяющей их перекладиной 2, имеющей в плане конфигурацию ломаной линии. Две торцевые опоры 1 присоединяются к промежуточному модулю с помощью продольных траверс 3. Промежуточный модуль представляет собой рамную конструкцию, к которой с помощью коротких перекладин 4 присоединены две вертикальные стойки 5. Рамная конструкция формируется жестко соединенными между собой продольными 6 и поперечными 7 элементами. Поперечные 7 элементы пристыковываются в местоположениях на концевых участках продольных 6 элементов. В данных местоположениях выполняются, например, два набора отверстий или пазы, используемые для соединения элементов. В зависимости от требуемой конфигурации рабочих мест выбирается, например, набор отверстий 8, который обеспечивает зазор 9 между рабочими поверхностями 10, или другой набор отверстий 8', который обеспечивает размещение рабочих поверхностей 10 без зазора. Второй набор отверстий 8' обеспечивает конфигурацию рамной конструкции, при которой рабочие поверхности 10 размещаются на каркасе без зазора. Конструкция узлов соединения между продольными и поперечными элементами может быть различной. Например, в одном элементе может крепиться пластина с резьбовыми отверстиями, в которые устанавливаются крепежные резьбовые детали.

[16]

Другой пример реализации многоместного рабочего стола представлен на фиг. 3-4. Вместо одной из торцевых опор 1 к продольным траверсам 3 присоединяется поперечный 7 элемент еще одного промежуточного модуля. В зависимости от требуемой конфигурации рабочих мест выбирается набор отверстий в местоположениях на концевых участках продольных 6 элементов. Торцевая опора 1 присоединяется с другой стороны промежуточного модуля с помощью продольных 6 элементов.

[17]

Вышеописанным образом каркас рабочего стола может быть сформирован с требуемым количеством рабочих мест, при этом каркас обладает высокой устойчивостью как к продольным, так и поперечным перемещениям.

[18]

На базе такого каркаса также может быть собран стол для переговоров.

Как компенсировать расходы
на инновационную разработку
Похожие патенты