патент
№ RU 2399477
МПК B24B27/033

ОБДИРОЧНО-ШЛИФОВАЛЬНЫЙ СТАНОК

Авторы:
Сидоров Виктор Васильевич Пахомов Александр Савельевич Ригин Вадим Евгеньевич
Все (7)
Номер заявки
2009103645/02
Дата подачи заявки
04.02.2009
Опубликовано
20.09.2010
Страна
RU
Как управлять
интеллектуальной собственностью
Чертежи 
2
Реферат

Изобретение относится к области машиностроения и может быть использовано при абразивной зачистке литых прутковых заготовок из жаропрочных сплавов на основе никеля. На станине станка смонтированы механизм вращения заготовки, механизм ее подачи и шлифовальный комплекс, включающий шпиндельный узел с абразивным кругом и механизм прижима круга. Шлифовальный комплекс с абразивным кругом размещен на вертикально расположенных направляющих, отнесенных от станины на расстояние, обеспечивающее расположение осей вращения абразивного круга и заготовки в вертикальной плоскости. Оси вращения абразивного круга и заготовки параллельны между собой. Механизм подачи заготовки выполнен в виде стола, размещенного на направляющих скольжения станины и оснащенного шариковой винтовой парой. Данная конструкция обеспечивает высокую чистоту поверхности заготовок, в том числе с различными литейными дефектами, и повышает производительность обработки. 2 з.п. ф-лы, 2 ил.

Формула изобретения

1. Обдирочно-шлифовальный станок, содержащий станину, механизм вращения заготовки, механизм подачи заготовки и шлифовальный комплекс, включающий шпиндельный узел с абразивным кругом и механизм прижима круга, оснащенный пневмоцилиндром, отличающийся тем, что шлифовальный комплекс с абразивным кругом размещен на вертикально расположенных направляющих, отнесенных от станины на расстояние, обеспечивающее расположение осей вращения абразивного круга и заготовки в вертикальной плоскости, при этом оси вращения абразивного круга и заготовки параллельны между собой, а механизм подачи заготовки выполнен в виде стола, размещенного на направляющих скольжения станины и оснащенного шариковой винтовой парой.

2. Станок по п.1, отличающийся тем, что механизм вращения заготовки снабжен парными приводными роликами, являющимися опорой заготовки и имеющими выпуклую форму в зоне соприкосновения с заготовкой.

3. Станок по п.1, отличающийся тем, что по меньшей мере две пары приводных роликов расположены под торцами заготовки.

Описание

[1]

Изобретение относится к области машиностроения, в частности станкостроения для металлургии, и может быть использовано для абразивной зачистки в производстве литых прутковых заготовок из жаропрочных сплавов на основе никеля.

[2]

Известно шлифовальное устройство для обдирки длинномерного проката, содержащее две расположенные друг против друга маятниковые, вертикально расположенные, шарнирно закрепленные на станине шлифовальные головки, плавающие гидроцилиндры прижима кругов к прокату и ременные приводы вращения кругов. Шарниры крепления маятниковых головок расположены ниже осей вращения кругов, преимущественно в плоскости пола, маятниковые головки снабжены размещенными внутри шарниров торсионными валами, одни концы которых жестко связаны со станиной, а на вторых их концах закреплены рычаги, при этом на каждой головке установлены упоры, имеющие возможность взаимодействия с упомянутыми рычагами, а приводы вращения кругов установлены ниже уровня пола и связаны с кругами через дополнительные ременные передачи с промежуточными шкивами, смонтированными соосно шарнирам качания маятниковых головок (а.с. СССР № 596423).

[3]

Недостатками устройства являются невозможность обработки поверхностей заготовки, закрепленных в механизмах перемещения и, как следствие, невозможность обработки заготовок ограниченной длины; невозможность обработки заготовок, имеющих кривизну и наплывы; существенное ухудшение качества обработанной поверхности и повышение потерь металла при обработке заготовок с эллипсностью в связи с применением гидроцилиндров в механизме прижима шлифовальных кругов.

[4]

Известен способ бесцентрового шлифования длинномерных прутков, при котором прутки перемещаются по опорам с гиперболоидной поверхностью и взаимодействуют на них рабочей поверхностью шлифовального круга, причем опоры устанавливают так, что их торцы расположены на расстоянии 0,2-0,5 ширины рабочей поверхности круга со стороны обращенного к соответствующей опоре торца круга (а.с. СССР № 1838075).

[5]

К недостаткам способа следует отнести невозможность обработки заготовок ограниченной длины в связи с ограничениями в соотношении протяженность зоны обработки/перекрытие зоны обработки опорной поверхности; невозможность обработки заготовок с кривизной, наплывами и эллипсностью или существенное ухудшение качества обработанной поверхности из-за отсутствия механизма вращения заготовки.

[6]

Общим недостатком обоих аналогов является низкая чистота обработанной поверхности, заключающаяся в высокой шероховатости и наличии прижогов.

[7]

Наиболее близким аналогом, взятым за прототип, является обдирочно-шлифовальный станок, содержащий станину, на которой размещены шлифовальный комплекс, включающий шпиндельный узел с абразивным кругом, установленным под углом к оси шпинделя, механизм прижима круга, оснащенный пневмоцилиндром, расположенным между станиной и шпиндельным узлом, и подающий механизм, который снабжен качающейся плитой, снабженной шлифовальным комплексом, при этом ось качания плиты параллельна оси подающего механизма, а станина снабжена регулировочными болтами и рычагом, одно плечо которого несет пневмоцилиндр механизма прижима круга, а другое связано с введенным в станок механизмом компенсации износа круга, выполненным в виде ходового винта, установленного на станине, при этом шпиндель установлен под острым углом к оси подающего механизма (а.с. СССР № 1303382).

[8]

К недостаткам прототипа следует отнести низкую чистоту обработанной поверхности, заключающуюся в высокой ее шероховатости, невозможность обработки поверхностей заготовки, закрепленных в механизмах перемещения и, как следствие невозможность обработки заготовок ограниченной длины, высокие потери металла при обработке заготовок с кривизной оси, эллипсностью в поперечном сечении, с наплывами, при этом возможно образование прижогов металла, невысокую производительность.

[9]

Технической задачей изобретения является создание обдирочно-шлифовального станка, позволяющего получать высокую чистоту поверхности литых прутковых заготовок ограниченного размера, в том числе имеющих кривизну оси, эллипсность в поперечном сечении, наплывы и другие литейные дефекты, сократить потери металла при обработке, повысить производительность.

[10]

Поставленная задача достигается тем, что предложен обдирочно-шлифовальный станок, содержащий станину, механизм вращения заготовки, механизм подачи заготовки и шлифовальный комплекс, включающий шпиндельный узел с абразивным кругом и механизм прижима круга, оснащенный пневмоцилиндром, в котором шлифовальный комплекс с абразивным кругом размещен на вертикально расположенных направляющих, отнесенных от станины на расстояние, обеспечивающее образование вертикальной плоскости осей вращения абразивного круга и заготовки, при этом оси вращения абразивного круга и заготовки параллельны между собой, а механизм подачи заготовки выполнен в виде стола, размещенного на направляющих скольжения станины и оснащенного шаровой винтовой парой.

[11]

Механизм вращения заготовки снабжен парными приводными роликами, являющимися опорой заготовки и имеющими выпуклую форму в зоне соприкосновения с заготовкой.

[12]

По крайней мере две пары приводных роликов расположены под торцами заготовки.

[13]

Размещение шлифовального комплекса с абразивным кругом на вертикально расположенных направляющих, отнесенных от станины на расстояние, обеспечивающее образование вертикальной плоскости осей вращения абразивного круга и шлифуемой заготовки, и параллельность между собой осей вращения абразивного круга и заготовки обеспечивает повышенную чистоту поверхности обрабатываемой заготовки, высокую производительность станка при его высокой безопасности при работе на всех режимах эксплуатации вне зависимости от степени изношенности абразивного круга.

[14]

Выполнение механизма подачи заготовки в виде стола, который перемещается по направляющим скольжения станины, позволяет фиксировать на нем обрабатываемую заготовку и тем самым предотвращать ее осевое смещение, что благоприятно отражается на качестве обработки заготовки и повышает безопасность эксплуатации станка.

[15]

Оснащение стола шаровой винтовой парой позволяет наиболее точно синхронизировать скорость вращения обрабатываемой заготовки и скорость ее продольной подачи, что обеспечивает высокую чистоту обрабатываемой поверхности (отсутствие прижогов, винтовой нарезки, пропусков обработанной поверхности при высоких скоростях обработки и др.), высокую производительность и существенно сокращает потери металла.

[16]

Оснащение механизма вращения шлифуемой заготовки парными приводными роликами, одновременно являющимися опорой шлифуемой заготовки и имеющими выпуклую форму в зоне соприкосновения с заготовкой, позволяет обрабатывать литые прутковые заготовки с грубыми дефектами (кривизна оси, эллипсность, наплывы и др.) без снижения производительности станка и ухудшения качества обработанной поверхности, сократить потери металла и повысить безопасность эксплуатации станка.

[17]

Расположение не менее двух пар приводных роликов под торцами обрабатываемой заготовки обеспечивает обработку 100% поверхности заготовки, в том числе ограниченного размера, повышает качество обработки и безопасность эксплуатации станка.

[18]

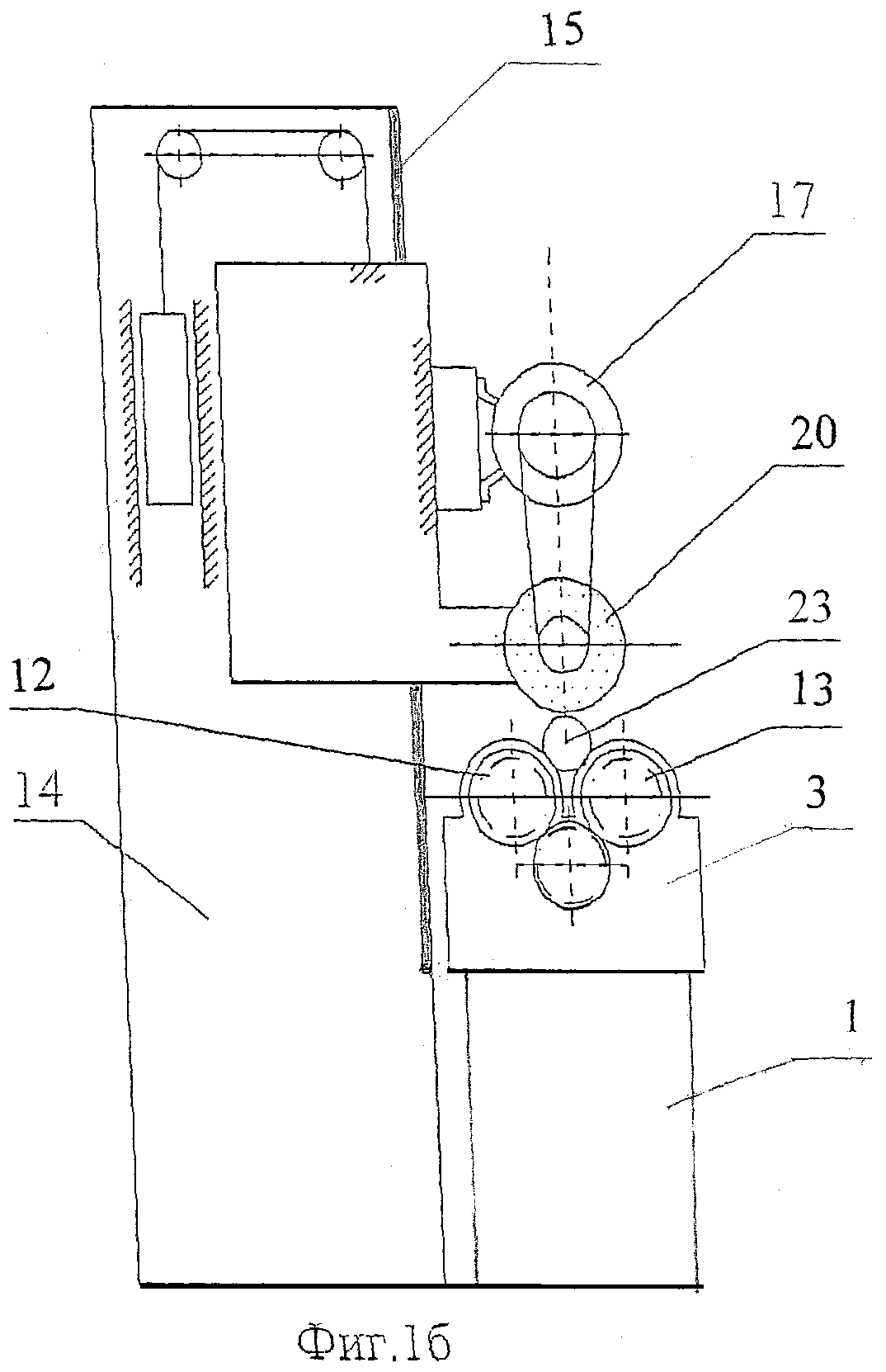
На фиг.1a изображена кинематическая схема станка, на фиг.1б - вид сбоку.

[19]

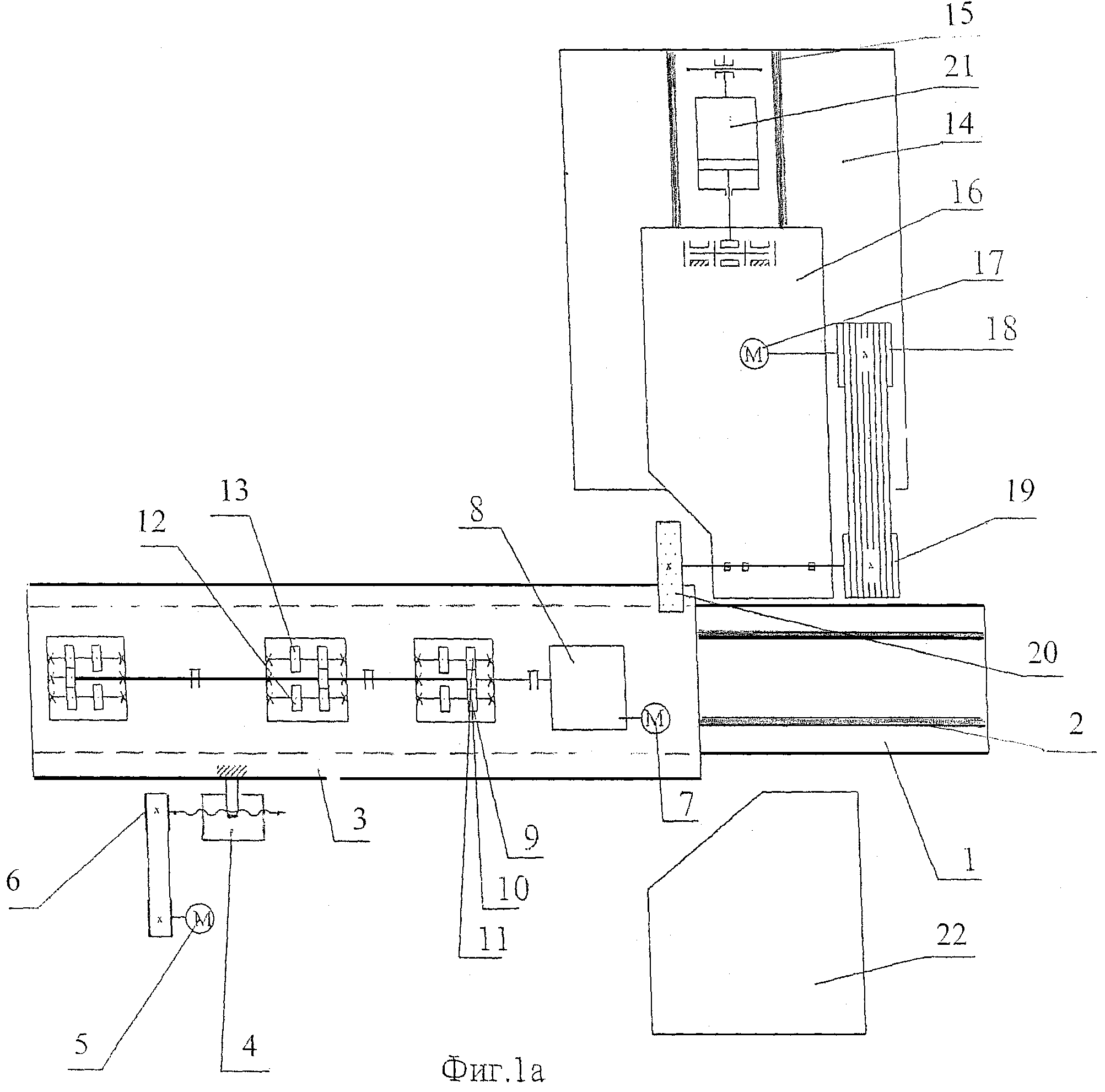
Обдирочно-шлифовальный станок состоит из станины 1 с направляющими скольжения 2; механизма подачи заготовки, включающего стол 3, оснащенный шариковой винтовой парой 4, электродвигателем 5 и ременной передачей 6; механизма вращения заготовки, включающего электродвигатель 7, редуктор 8, шестерни 9, 10, 11 и приводные ролики 12, 13; вертикально расположенных на колонне 14 направляющих 15, на которых установлен шлифовальный комплекс, представляющий собой шлифовальную бабку 16, электродвигатель 17, шкивы 18, 19 и шпиндельный узел с абразивным кругом 20; механизма прижима абразивного круга, оснащенного пневмоцилиндром 21, и пульта управления 22.

[20]

Станок работает следующим образом.

[21]

На приводные ролики 12, 13 укладывают заготовку 23. Включают электродвигатель 7 механизма вращения заготовки, электродвигатель 17, приводящий во вращение шпиндельный узел с абразивным кругом, и электродвигатель 5, приводящий в движение стол 3 механизма подачи заготовки. В момент, когда правый торец заготовки оказывается под абразивным кругом 20, включают механизм прижима круга, оснащенный пневмоцилиндром 21.

[22]

При подходе абразивного круга 20 к левому торцу заготовки включается реверс и стол 3 начинает перемещение в обратную сторону. Когда правый торец заготовки оказывается под абразивным кругом, происходит его подъем и выключение двигателей 5, 7, 17. При этом за счет перемещения шлифовальной бабки 16 в строго вертикальной плоскости ось вращения абразивного круга 20 и ось вращения шлифуемой заготовки 23 остаются параллельными на всех стадиях обработки.

[23]

Усилие прижима абразивного круга к заготовке, создаваемое пневмоцилиндром, составляло 500 Н, скорость перемещения стола - 6 м/мин. Сбалансированность скорости перемещения стола и скорости вращения заготовки позволило получить равномерный съем металла по всей длине заготовки, который составил 0,15 мм на сторону, при этом потери металла составили 0,6% от массы заготовки. Чистота поверхности: без прижогов, шероховатость не более RZ 40,0 по ГОСТ 2789-73 по всей длине заготовки. Цикл обработки (шлифование, обдирка) - установка заготовки, обработка, снятие со станка - составил 6 минут.

[24]

Таким образом, предлагаемая конструкция обдирочно-шлифовального станка обеспечивает получение высокой чистоты поверхности прутковых заготовок ограниченного размера без прижогов с шероховатостью не более RZ 40,0 по ГОСТ 2789-73, в том числе имеющих кривизну оси, эллипсность в поперечном сечении, наплывы и другие литейные дефекты, позволяет сократить потери металла при обработке до 1-2,5%, имеет высокую производительность (6-8 заготовок в час).

Как компенсировать расходы
на инновационную разработку
Похожие патенты