патент
№ RU 2272745
МПК B64C3/10

КРЫЛО ЛЕТАТЕЛЬНОГО АППАРАТА

Авторы:
Лушкин Дмитрий Олегович Крупник Александр Львович Федичев Валерий Степанович
Все (4)
Номер заявки
2004127837/11
Дата подачи заявки
20.09.2004
Опубликовано
27.03.2006
Страна
RU
Как управлять
интеллектуальной собственностью
Чертежи 
9
Реферат

[35]

Изобретение относится к области авиационной техники и может быть использовано на несущих поверхностях летательных аппаратов различного назначения. Крыло летательного аппарата содержит установленную на нем дополнительную аэродинамическую поверхность в виде пластины. Пластина выполнена треугольной в плане, а ее торцевая кромка выполнена острой и параллельна оси симметрии крыла. Пластина расположена на расстоянии от концевой хорды крыла, равном 0,05÷0,1 размаха крыла, и по длине равна 0,1÷0,15 хорды крыла в месте расположения торцевой кромки дополнительной аэродинамической поверхности. Задняя кромка дополнительной аэродинамической поверхности выполнена прямолинейной, ее верхняя поверхность образована продолжением верхней поверхности крыла, а нижняя поверхность плавно сопряжена с нижним обводом хвостовой части профиля крыла. Технический результат - расширение области использования крыла летательного аппарата и повышение аэродинамических качеств. 10 ил.

Формула изобретения

Крыло летательного аппарата, содержащее установленную на нем дополнительную аэродинамическую поверхность в виде пластины, отличающееся тем, что пластина выполнена треугольной в плане, ее торцевая кромка выполнена острой, параллельна оси симметрии крыла, расположена на расстоянии от концевой хорды крыла, равном 0,05÷0,1 размаха крыла, и по длине равна 0,1÷0,15 хорды крыла в месте расположения торцевой кромки дополнительной аэродинамической поверхности, при этом задняя кромка дополнительной аэродинамической поверхности выполнена прямолинейной, ее верхняя поверхность образована продолжением верхней поверхности крыла, а нижняя поверхность плавно сопряжена с нижним обводом хвостовой части профиля.

Описание

[1]

Изобретение относится к области авиационной техники и может быть использовано на несущих поверхностях летательных аппаратов различного назначения.

[2]

Известно крыло летательного аппарата, содержащее установленную на нем дополнительную аэродинамическую поверхность в виде пластины (см. патент США №3845918, кл. 244-41, МКИ В 64 С 5/06, 07.12.1972 г.).

[3]

В известном крыле дополнительная аэродинамическая поверхность в виде пластины предназначена для рассеивания концевого вихря, установлена вертикально на конце крыла, которая, не являясь несущей поверхностью, вносит собственное сопротивление трения. Кроме того, работа известной дополнительной аэродинамической поверхности связана с привязкой ее к определенной геометрии крыла, при которой расстояние от оси концевого вихря до вертикально установленной пластины будет оптимальным. Однако, поскольку пластина зафиксирована по размаху на концевой хорде крыла, а положение оси концевого вихря по размаху крыла зависит от ряда геометрических параметров крыла, например стреловидности, удлинения и сужения, то для каждой конфигурации положение оси вихря по отношению к пластине не будет оптимальным. Тем самым ограничивается область использования известного крыла.

[4]

Технической задачей настоящего изобретения является расширение области использования крыла летательного аппарата и повышение аэродинамического качества.

[5]

Поставленная техническая задача решается тем, что в известном крыле летательного аппарата, содержащем установленную на нем дополнительную аэродинамическую поверхность в виде пластины, пластина выполнена треугольной в плане, ее торцевая кромка выполнена острой, параллельна оси симметрии крыла, расположена на расстоянии от концевой хорды крыла, равном 0,05÷0,1 размаха крыла, и по длине равна 0,1÷0,15 хорды крыла в месте расположения торцевой кромки дополнительной аэродинамической поверхности, при этом задняя кромка дополнительной аэродинамической поверхности выполнена прямолинейной, ее верхняя поверхность образована продолжением верхней поверхности крыла, а нижняя поверхность плавно сопряжена с нижним обводом хвостовой части профиля крыла.

[6]

Изобретение поясняется чертежами и графиками.

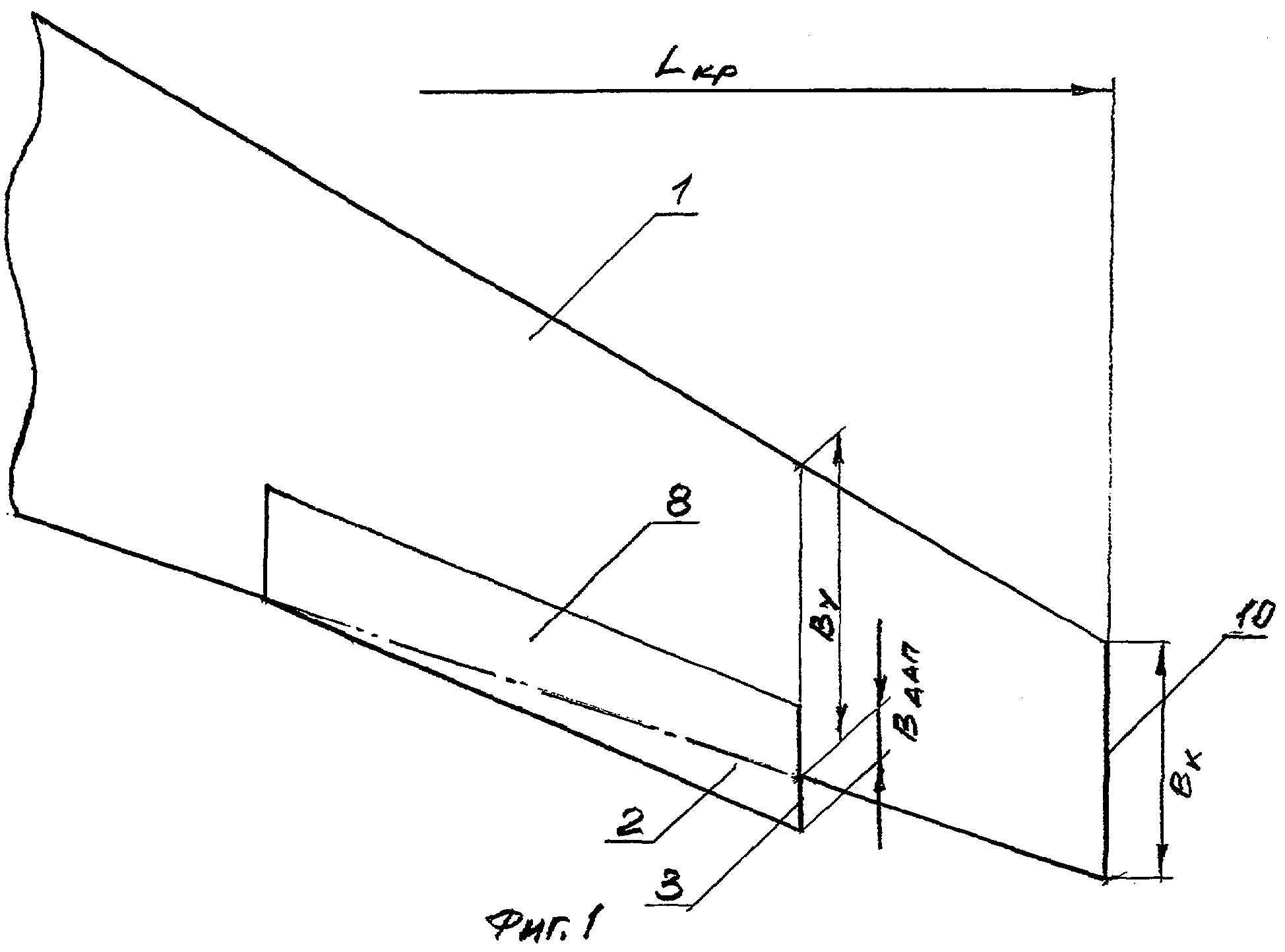
[7]

На фиг.1 показано крыло суперкритического профиля с дополнительной аэродинамической поверхностью треугольной формы в плане.

[8]

На фиг.2 изображен внешний вид профиля крыла с дополнительной аэродинамической поверхностью в месте расположения ее торцевой кромки.

[9]

На фиг.3 показано векторное взаимодействие крыла с набегающим потоком.

[10]

На фиг.4 изображен внешний вид суперкритического профиля крыла.

[11]

На фиг.5 показано распределение коэффициента давления по относительной хорде суперкритического профиля.

[12]

На фиг.6 приведена эпюра распределения вертикальных скосов с внутренней стороны от оси концевого вихря.

[13]

На фиг.7 - эпюра распределения вертикальных скосов от вихря, сходящего с острой кромки дополнительной аэродинамической поверхности.

[14]

На фиг.8 представлены в виде графиков зависимости аэродинамического качества от коэффициента подъемной силы по результатам испытаний в аэродинамической трубе моделей самолетов с исходным и предложенным крыльями при числе Маха М=0,2.

[15]

На фиг.9 показаны зависимости коэффициента подъемной силы от коэффициента сопротивления, полученные по результатам испытаний в аэродинамической трубе моделей самолетов с исходным крылом и крылом с дополнительной аэродинамической поверхностью при числе Маха М=0,2.

[16]

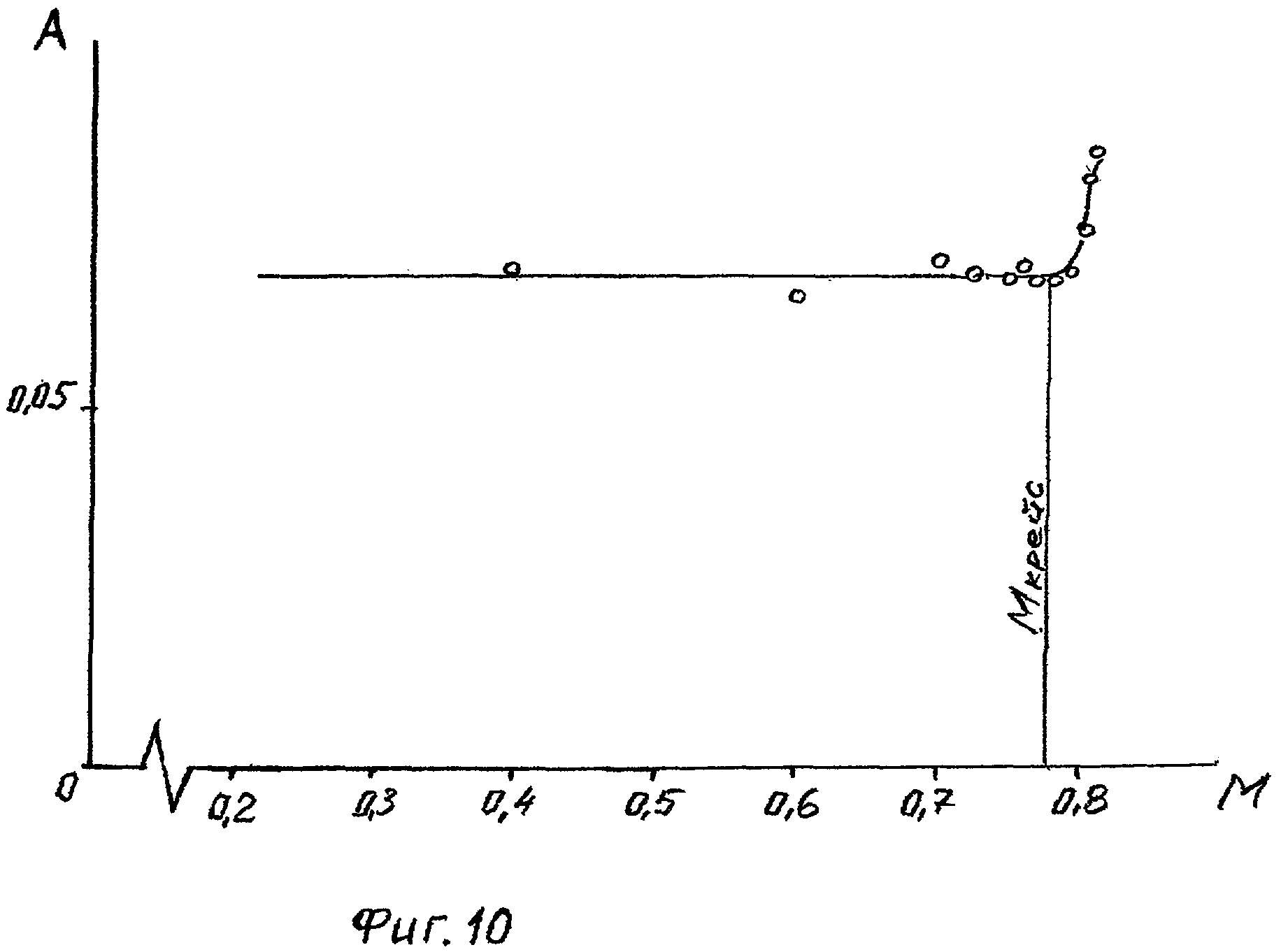
На фиг.10 представлена экспериментальная зависимость отвала поляры А от числа Маха, полученная после обработки результатов испытаний в аэродинамической трубе.

[17]

Крыло 1 летательного аппарата снабжено дополнительной аэродинамической поверхностью 2 треугольной в плане формы с острой торцевой кромкой 3, которая параллельна оси симметрии крыла и расположена на расстоянии от концевой хорды крыла, равном 0,05÷0,1 размаха крыла LКР. Длина торцевой кромки ВДАП дополнительной аэродинамической поверхности равна 0,1÷0,15 By, а задняя кромка выполнена прямолинейной, где By - хорда крыла в месте расположения торцевой кромки дополнительной аэродинамической поверхности. Верхняя поверхность 4 дополнительной аэродинамической поверхности сформирована как продолжение верхней поверхности 5 крыла 1, а нижняя поверхность 6 плавно сопряжена с нижним обводом 7 хвостовой части профиля крыла. Возможна интеграция дополнительной аэродинамической поверхности с элероном 8.

[18]

Геометрические параметры дополнительной аэродинамической поверхности и ее положение в системе крыла определены экспериментально на модели в аэродинамической трубе и находятся в диапазоне оптимальных значений. При выходе за пределы этих параметров аэродинамическая эффективность крыла значительно уменьшается.

[19]

Работа крыла летательного аппарата направлена на уменьшение интенсивности концевого вихря 9, являющегося основным источником индуктивного сопротивления. Возникновение концевого вихря обусловлено перетеканием потока воздуха через торцевую кромку 10 крыла 1 из области повышенного давления на нижней поверхности в область пониженного давления над крылом (см. фиг.6). Концевой вихрь с внутренней стороны от оси вихря 11 индуцирует дополнительную вертикальную скорость 12 Vy, направленную вниз. Как показано на фиг.3, истинная скорость потока Vи, обтекающая крыло, определяется как векторное сложение скоростей V и Vy, где V - скорость набегающего потока, Vy - вертикальная составляющая скоса потока от концевого вихря. В результате вектор истинной скорости Vи отклоняется вниз на угол Δα, который является углом скоса потока. При этом угол атаки крыла α уменьшается, а истинный угол атаки αи принимает значение: αи=α-Δα.

[20]

По теореме Жуковского Н.Е. (см. Аржаников Н.С., Мальцев В.Н. "Аэродинамика", М., Оборонгиз, 1956 г.) сила YЖ, возникающая при взаимодействии потока с крылом, перпендикулярна вектору истинной скорости потока Vи. В результате появляется составляющая Хi - проекция YЖ на направление V, которая представляет собой силу индуктивного сопротивления (см. фиг.3). Из векторной диаграммы видно, что индуктивное сопротивление пропорционально углу скоса потока. Следовательно, уменьшение угла скоса потока снижает индуктивное сопротивление.

[21]

Для современных суперкритических профилей крыла характерна уплощенная верхняя поверхность, а связанная с такой особенностью геометрии потеря подъемной силы компенсируется либо отгибом хвостика профиля на 10÷15% величины хорды, либо подрезкой хвостовой части профиля. Как видно из эпюры распределения давления по относительной хорде профиля крыла , перепад давления между верхней и нижней поверхностями в хвостовой части крыла увеличивается и становится сопоставимым с перепадом давления на профиле в области носка крыла.

[22]

- коэффициент распределения относительного давления по хорде профиля,

[23]

- текущая координата относительной хорды профиля крыла.

[24]

Таким образом, в отличие от классического профиля крыла для суперкритического профиля характерна аэродинамически активная область вблизи задней кромки крыла.

[25]

Установка дополнительной аэродинамической поверхности на обычном скоростном профиле крыла в аэродинамическом аспекте создает эффект подрезки, характерный для суперкритических профилей.

[26]

Таким образом, заявленное техническое решение не имеет ограничений для использования его на современных самолетах.

[27]

Дополнительная аэродинамическая поверхность треугольной формы на виде в плане, установленная на крыле с суперкритическим профилем, увеличивает подрезку. Перепад давлений между верхней и нижней поверхностью 2, усиленный за счет увеличения подрезки, обуславливает интенсивное перетекание потока через острую торцевую кромку 3 с образованием дополнительного вихря 13, внешние вертикальные скосы 14 от которого направлены противоположно вертикальным скосам 12 с внутренней стороны от оси 11 концевого вихря 9. Такое взаимодействие приводит к уменьшению величины неблагоприятных скосов 12 от концевого вихря 9, угла скоса потока Δα и, следовательно, к снижению индуктивного сопротивления.

[28]

На фиг.8 позицией ➀ обозначен график зависимости аэродинамического качества К от коэффициента подъемной силы Су, полученный по результатам испытаний в аэродинамической трубе модели самолета с исходным крылом профиля, позицией ➁ - модели с дополнительной аэродинамической поверхностью треугольной формы.

[29]

Приведенные зависимости показывают, что увеличение максимального аэродинамического качества крыла с дополнительной аэродинамической поверхностью треугольной формы составляет ΔКмах=0,2÷0,25.

[30]

Сравнение экспериментальных поляр (см. фиг.9), где позицией ➂ обозначена поляра с исходным крылом, позицией ➃ - поляра с предложенным крылом, свидетельствует о том, что рост Кмах обусловлен уменьшением индуктивного сопротивления. Такой вывод следует из сравнения отвалов поляр А, полученных по результатам обработки эксперимента.

[31]

Как показывают экспериментальные исследования в аэродинамических трубах моделей самолетов (см. фиг.10), отвал поляры А=Сху2 остается практически постоянным вплоть до крейсерского числа Маха Мкрейсх - коэффициент сопротивления, Су - коэффициент подъемной силы).

[32]

Кроме того, наличие дополнительной аэродинамической поверхности на задней кромке крыла увеличивает местные хорды, что уменьшает относительную толщину профиля крыла в области установки дополнительной аэродинамической поверхности, а следовательно, и волновое сопротивление, которое находится в прямой зависимости от Смах. Таким образом, на крейсерских числах Маха происходит увеличение Кмах за счет снижения волнового сопротивления.

[33]

При интеграции дополнительной аэродинамической поверхности с элероном 8 уменьшаются потребные углы отклонения элерона и потери, связанные с аэродинамическим сопротивлением. Кроме того, увеличение подрезки за счет дополнительной аэродинамической поверхности приводит к дополнительному росту подъемной силы и, следовательно, возможен переход на меньший крейсерский угол атаки, что является еще одним фактором увеличения аэродинамического качества, но уже за счет снижения профильного сопротивления.

[34]

Таким образом, удалось объединить аэродинамические факторы, работающие на увеличение аэродинамического качества. Это снижение индуктивного, волнового и профильного сопротивлений на крейсерских числах Маха.

Как компенсировать расходы
на инновационную разработку
Похожие патенты