патент
№ RU 2667561
МПК E21B43/267

Способ многократного гидравлического разрыва пласта в открытом стволе наклонной скважины

Авторы:
Зиятдинов Радик Зяузятович
Номер заявки
2017136233
Дата подачи заявки
12.10.2017
Опубликовано
21.09.2018
Страна
RU
Как управлять
интеллектуальной собственностью
Чертежи 
3
Реферат

Изобретение относится к способам гидравлического разрыва в открытых стволах горизонтальных скважин, вскрывших многопластовую продуктивную залежь нефти с низкими фильтрационно-емкостными свойствами с подошвенной водой в карбонатных породах. Способ включает бурение скважины в продуктивном пласте, определение фильтрационно-емкостных свойств пород и выявление интервалов продуктивного пласта с низкими фильтрационно-емкостными свойствами пород, спуск колонны труб в скважину, проведение поинтервального ГРП в открытом стволе скважины путем формирования перфорационных каналов и трещин закачкой гелированной жидкости разрыва. На устье скважины на нижний конец колонны труб снизу вверх устанавливают следующую компоновку: заглушку, гидромониторную насадку с соплами, перепускной клапан, хвостовик, технологический пакер, свабный ограничитель, спускают колонну труб с компоновкой в наклонный ствол скважины так, чтобы сопла гидромониторной насадки располагались напротив интервала с низкими фильтрационно-емкостными свойствами, соответствующего верхнему продуктивному пласту, производят в этом интервале ГРП с формированием трещины закачкой гелированной жидкости, в качестве которой используют гелированную кислоту, и креплением трещины проппантом, по окончании проведения ГРП перемещают колонну труб с компоновкой в следующий интервал с низкими фильтрационно-емкостными свойствами, соответствующий нижележащему продуктивному пласту, и производят ГРП с формированием трещины и креплением трещины проппантом, аналогичным образом перемещая колонну труб с компоновкой к забою скважины, выполняют ГРП в оставшихся интервалах с низкими фильтрационно-емкостными свойствами в соответствующих нижележащих продуктивных пластах, причем с каждым последующим выполнением поинтервального ГРП сокращают длину формируемой трещины путем снижения объемов закачиваемой гелированной кислоты и концентрации проппанта для крепления сформировавшейся трещины в каждом интервале проведения ГРП, причем используют проппант фракции 40/70 меш., по окончании выполнения ГРП в колонну труб сбрасывают шар, создают в колонне труб давление, достаточное для разрушения срезного винта перепускного клапана, при этом втулка перепускного клапана перемещается вниз и герметично изнутри перекрывает сопла гидромониторной насадки, сажают технологический пакер в обсаженной части скважины и осваивают скважину со снижением уровня жидкости до 1000 м, с откачкой жидкости из скважины в желобную емкость в объеме 25 м, с отбором проб на рН фактор, если значение рН менее 4, продолжают откачку до рН более 4, с отбором проб через каждые 10 моткачанной жидкости, после чего прекращают освоение скважины, распакеровывают технологический пакер и извлекают колонну труб с компоновкой из скважины. Технический результат заключается в повышении эффективности реализации способа в многопластовой залежи с подошвенной водой. 3 ил.

Формула изобретения

Способ многократного гидравлического разрыва пласта - ГРП в открытом стволе наклонной скважины, включающий бурение скважины в продуктивном пласте, определение фильтрационно-емкостных свойств пород и выявление интервалов продуктивного пласта с низкими фильтрационно-емкостными свойствами пород, спуск колонны труб в скважину, проведение поинтервального ГРП в открытом стволе скважины путем формирования перфорационных каналов и трещин закачкой гелированной жидкости разрыва, отличающийся тем, что производят бурение наклонного ствола в многопластовой продуктивной залежи нефти в карбонатных породах с подошвенной водой, по окончании бурения определяют фильтрационно-емкостные свойства пород и выявляют интервалы продуктивных пластов с низкими фильтрационно-емкостными свойствами пород, далее на устье скважины на нижний конец колонны труб снизу вверх устанавливают следующую компоновку: заглушку, гидромониторную насадку с соплами, перепускной клапан, хвостовик, технологический пакер, свабный ограничитель, спускают колонну труб с компоновкой в наклонный ствол скважины так, чтобы сопла гидромониторной насадки располагались напротив интервала с низкими фильтрационно-емкостными свойствами, соответствующего верхнему продуктивному пласту, производят в этом интервале ГРП с формированием трещины закачкой гелированной жидкости, в качестве которой используют гелированную кислоту, и креплением трещины проппантом, по окончании проведения ГРП перемещают колонну труб с компоновкой в следующий интервал с низкими фильтрационно-емкостными свойствами, соответствующий нижележащему продуктивному пласту, и производят ГРП с формированием трещины и креплением трещины проппантом, аналогичным образом перемещая колонну труб с компоновкой к забою скважины, выполняют ГРП в оставшихся интервалах с низкими фильтрационно-емкостными свойствами в соответствующих нижележащих продуктивных пластах, причем с каждым последующим выполнением поинтервального ГРП сокращают длину формируемой трещины путем снижения объемов закачиваемой гелированной кислоты и концентрации проппанта для крепления сформировавшейся трещины в каждом интервале проведения ГРП, причем используют проппант фракции 40/70 меш., по окончании выполнения ГРП в колонну труб сбрасывают шар, создают в колонне труб давление, достаточное для разрушения срезного винта перепускного клапана, при этом втулка перепускного клапана перемещается вниз и герметично изнутри перекрывает сопла гидромониторной насадки, сажают технологический пакер в обсаженной части скважины и осваивают скважину со снижением уровня жидкости до 1000 м, с откачкой жидкости из скважины в желобную емкость в объеме 25 м3, с отбором проб на рН фактор, если значение рН менее 4, продолжают откачку до рН более 4, с отбором проб через каждые 10 м3 откачанной жидкости, после чего прекращают освоение скважины, распакеровывают технологический пакер и извлекают колонну труб с компоновкой из скважины.

Описание

[1]

Изобретение относится к нефтегазодобывающей промышленности, в частности к способам гидравлического разрыва в открытых стволах горизонтальных скважин, вскрывших многопластовую продуктивную залежь нефти с низкими фильтрационно-емкостными свойствами с подошвенной водой в карбонатных породах.

[2]

Известен способ гидравлического разрыва пласта (RU №2311528, МПК Е21В 43/26, опубл. 27.11.2007 в бюл. №33), включающий вскрытие пласта вертикальной или наклонной скважиной, размещение в ней в заданном интервале пласта гидромониторного инструмента с серией струйных насадок, закачку рабочей жидкости через струйные насадки гидромониторного инструмента для образования каверн в пласте, последующий разрыв пласта из каверн за счет давления торможения в них струи, при этом используют гидромониторный инструмент с серией струйных насадок, расположенных вдоль инструмента в две линии с фазировкой 180° и расстоянием между насадками в линии не более двух диаметров обсадной колонны. Гидромониторный инструмент поворачивают на заданный угол для изменения направления развития каждой последующей трещины, при этом трещины образуют при давлении в обсадной колонне ниже бокового горного давления. В качестве рабочей жидкости используют жидкость, родственную пластовой жидкости.

[3]

Недостатки способа:

[4]

- во-первых, применение для создания направления трещин перед гидравлическим разрывом пласта (ГРП) гидропескоструйной перфорации, которая производит вскрытие обсадной колонны и продуктивного пласта рабочей жидкостью (смесь песка с водой). В процессе вскрытия продуктивного пласта терригенного типа, содержащего глинистые пропластки и глинистый цемент (карбонатный цемент), происходит их взаимодействие с водой, что приводит к набуханию глины и выпадению в осадок солей, а впоследствии к снижению проницаемости породы, что оказывает отрицательное влияние на образование щелей (каверн) и на проведение ГРП по закачке жидкости разрыва и песконосителя;

[5]

- во-вторых, осаждение песка по всей длине горизонтального ствола скважины в процессе проведения гидропескоструйной перфорации для создания направления ГРП, что требует проведения дополнительных работ по промывке скважины перед проведением ГРП.

[6]

Наиболее близким по технической сущности и достигаемому результату является способ многократного гидравлического разрыва пласта в открытом стволе горизонтальной скважины (RU №2537719, МПК Е21В 43/267, опубл. 10.01.2015 в бюл. №1), включающий бурение горизонтального ствола скважины в нефтенасыщенной части продуктивного пласта скважины, спуск колонны труб в скважину, формирование перфорационных каналов и трещин с помощью ГРП в стволе горизонтальной скважины последовательно, начиная с конца, дальнего от оси вертикального ствола скважины, сообщающих горизонтальный ствол скважины с продуктивным пластом. При проведении очередного гидравлического разрыва участок, через который производят ГРП, изолируют от остальной части колонны пакером. В процессе бурения горизонтального ствола скважины определяют фильтрационно-емкостные свойства пород и выявляют интервалы продуктивного пласта с низкими фильтрационно-емкостными свойствами пород. По окончании бурения на устье скважины на нижний конец колонны труб устанавливают заглушку с механическим пакером, а выше располагают гидромониторную насадку с соплами. Спускают колонну труб в скважину так, чтобы сопла гидромониторной насадки располагались напротив интервала нефтенасыщенной части пласта, ближайшего к забою скважины, с низкими фильтрационно-емкостными свойствами. Производят посадку механического пакера в горизонтальном стволе. С устья скважины с помощью насосного агрегата закачивают технологическую жидкость и определяют давление гидроразрыва породы в заданном интервале горизонтального ствола, производят распакеровку, перемещают колонну труб от забоя к устью в следующий интервал нефтенасыщенной части пласта с низкими фильтрационно-емкостными свойствами, аналогичным образом определяют давление гидроразрыва пород в других интервалах нефтенасыщенной части пласта с низкими фильтрационно-емкостными свойствами, далее определяют объемы гелированной жидкости разрыва и кислоты для каждого интервала нефтенасыщенной части пласта с низкими фильтрационно-емкостными свойствами. Затем перемещают колонну труб в интервал продуктивного пласта, ближайший к забою скважины, с низкими фильтрационно-емкостными свойствами. Производят посадку механического пакера, с устья скважины с помощью насосного агрегата закачивают гелированную жидкость разрыва по колонне труб через сопла гидромониторной насадки и формируют перфорационные каналы, после чего, не прекращая закачку гелированной жидкости разрыва по колонне труб, создают давление ГРП, соответствующее данному интервалу нефтенасыщенной части продуктивного пласта. После падения давления закачки гелированной жидкости разрыва в колонне труб на 30% формируют трещины гидроразрыва, для этого в кольцевое пространство скважины закачивают кислоту с переменным расходом, обеспечивающим поддержание давления закачки гелированной жидкости разрыва по колонне труб на 10% меньше давления ГРП для данного интервала нефтенасыщенной части продуктивного пласта. Производят распакеровку и перемещают колонну труб от забоя к устью в следующий интервал нефтенасыщенной части пласта с низкими фильтрационно-емкостными свойствами пород для формирования перфорационных каналов и проведения ГРП с образованием и развитием трещин.

[7]

Недостатки способа:

[8]

- во-первых, низкая эффективность реализации способа в многопластвовой залежи с подошвенной водой ввиду прорыва трещины ГРП при ее создании в водоносный пласт и обводнения продукции скважины;

[9]

- во-вторых, быстрое снижение добывных возможностей скважины после проведения ГРП, так как эффект от проведения поинтервального ГРП кратковременный. Это связано с отсутствием крепления трещин после их формирования и протравливания кислотой. После введения скважины в эксплуатацию трещины стягиваются, что ограничивает приток нефти в открытый ствол скважины;

[10]

- в-третьих, низкая надежность реализации способа, так как с высокой вероятностью произойдет потеря герметичности пакера в открытом стволе скважины, что приведет к невозможности проведения ГРП в заданном интервале;

[11]

- в-четвертых, сложность и длительность процесса реализации способа, связанные с посадкой и распакеровкой пакера в каждом интервале ГРП, кроме того, необходима закачка кислоты с переменным расходом в кольцевое пространство скважины для обеспечения поддержания давления закачки гелированной жидкости разрыва по колонне труб на 10% меньше давления ГРП для данного интервала нефтенасыщенной части продуктивного пласта;

[12]

- в-пятых, скважину не осваивают после ГРП, что снижает качество проведенного ГРП, выражающееся в недоборе потенциального дебита скважины, при этом для освоения скважины необходим повторный спуск инструмента.

[13]

Техническими задачами предложения являются повышение эффективности проведения ГРП в многопластовой залежи нефти с подошвенной водой, добывных возможностей скважины, повышение надежности реализации способа, а также упрощение и сокращение длительности реализации способа с возможностью освоения скважины сразу после проведения поинтервального ГРП за один спуск инструмента (колонны труб с соответствующим оборудованием).

[14]

Поставленные технические задачи решаются способом многократного гидравлического разрыва пласта - ГРП в открытом стволе наклонной скважины, включающим бурение скважины в продуктивном пласте, определение фильтрационно-емкостных свойств пород и выявление интервалов продуктивного пласта с низкими фильтрационно-емкостными свойствами пород, спуск колонны труб в скважину, проведение поинтервального ГРП в открытом стволе скважины путем формирования перфорационных каналов и трещин закачкой гелированной жидкости разрыва.

[15]

Новым является то, что производят бурение наклонного ствола в многопластовой продуктивной залежи нефти в карбонатных породах с подошвенной водой, по окончании бурения определяют фильтрационно-емкостные свойства пород и выявляют интервалы продуктивных пластов с низкими фильтрационно-емкостными свойствами пород, далее на устье скважины на нижний конец колонны труб снизу вверх устанавливают следующую компоновку: заглушку, гидромониторную насадку с соплами, перепускной клапан, хвостовик, технологический пакер, свабный ограничитель, спускают колонну труб с компоновкой в наклонный ствол скважины так, чтобы сопла гидромониторной насадки располагались напротив интервала с низкими фильтрационно-емкостными свойствами, соответствующего верхнему продуктивному пласту, производят в этом интервале ГРП с формированием трещины закачкой гелированной жидкости, в качестве которой используют гелированную кислоту, и креплением трещины проппантом, по окончании проведения ГРП перемещают колонну труб с компоновкой в следующий интервал с низкими фильтрационно-емкостными свойствами, соответствующий нижележащему продуктивному пласту, и производят ГРП с формированием трещины и креплением трещины проппантом, аналогичным образом перемещая колонну труб с компоновкой к забою скважины, выполняют ГРП в оставшихся интервалах с низкими фильтрационно-емкостными свойствами в соответствующих нижележащих продуктивных пластах, причем с каждым последующим выполнением поинтервального ГРП сокращают длину формируемой трещины путем снижения объемов закачиваемой гелированной кислоты и концентрации проппанта для крепления сформировавшейся трещины в каждом интервале проведения ГРП, причем используют проппант фракции 40/70 меш., по окончании выполнения ГРП в колонну труб сбрасывают шар, создают в колонне труб давление, достаточное для разрушения срезного винта перепускного клапана, при этом втулка перепускного клапана перемещается вниз и герметично изнутри перекрывает сопла гидромониторной насадки, сажают технологический пакер в обсаженной части скважины и осваивают скважину со снижением уровня жидкости до 1000 м, с откачкой жидкости из скважины в желобную емкость в объеме 25 м3, с отбором проб на рН фактор, если значение рН менее 4, продолжают откачку до рН более 4, с отбором проб через каждые 10 м3 откачанной жидкости, после чего прекращают освоение скважины, распакеровывают технологический пакер и извлекают колонну труб с компоновкой из скважины.

[16]

На фиг. 1, 2 и 3 схематично и последовательно изображен предлагаемый способ многократного гидравлического разрыва пласта в открытом стволе наклонной скважины.

[17]

Способ реализуют в карбонатных породах следующим образом.

[18]

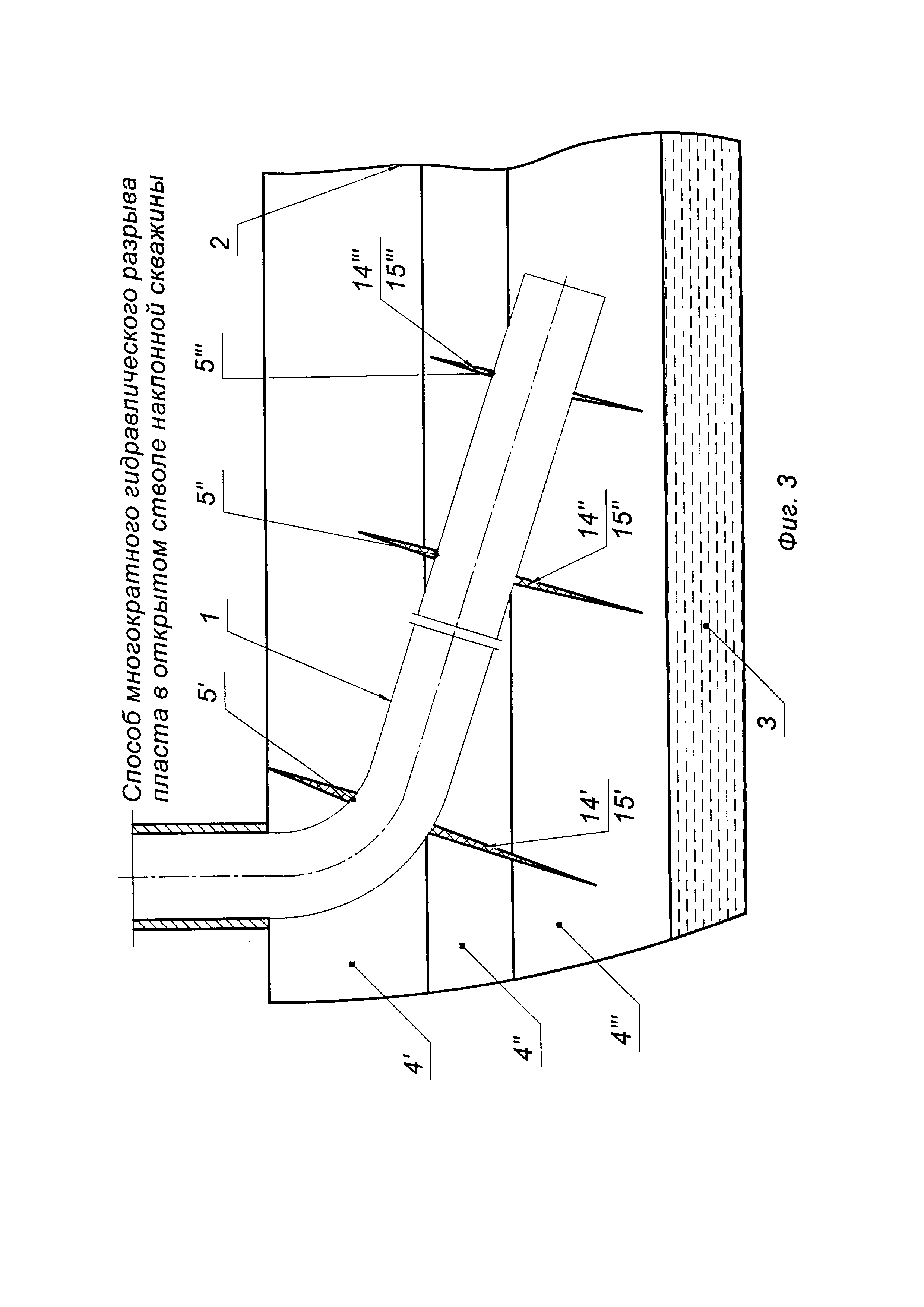
Способ многократного ГРП в открытом стволе наклонной скважины включает бурение наклонного ствола 1 (см. фиг. 1) в многопластовой продуктивной залежи нефти 2 с подошвенной водой 3 в карбонатных породах. Обсаживают скважину обсадной колонной (на фиг. 1, 2 и 3 показана условно) до кровли многопластовой залежи нефти 2, при этом наклонный ствол 1, вскрывший многопластовую продуктивную залежь нефти 2, остается открытым. Многопластовая продуктивная залежь нефти 2 состоит из нескольких напластованных друг на друга продуктивных пластов, например из трех: верхнего 4', среднего 4'' и нижнего 4''' пластов.

[19]

По окончании бурения, например с помощью термодебитомера, определяют фильтрационно-емкостные свойства пород и выявляют интервалы продуктивных пластов 4', 4'', 4''' наклонного ствола 1 с низкими фильтрационно-емкостными свойствами пород, например это три соответствующих интервала 5', 5'', 5'''.

[20]

Затем на устье скважины на нижний конец колонны труб 6 снизу вверх устанавливают следующую компоновку: заглушку 7, гидромониторную насадку 8 с соплами 9 (например, два сопла диаметром 6 мм, расположенные под углом 180° относительно друг друга), перепускной клапан 10, хвостовик 11, технологический пакер 12, свабный ограничитель 13. В качестве технологического пакера 12 используют пакер любой известной конструкции, например проходной пакер с якорем с механической поворотной установкой ПРО-ЯМ2-ЯГ1(Ф) или ПРО-ЯМ3-ЯГ2(Ф) (на 100 МПа).

[21]

Спускают колонну труб 6 с компоновкой в наклонный ствол 1 скважины так, чтобы сопла 9 гидромониторной насадки 8 располагались напротив интервала 5' с низкими фильтрационно-емкостными свойствами верхнего продуктивного пласта 4'.

[22]

Производят ГРП в интервале 5' с формированием трещины 14' и креплением трещины 14' проппантом 15'. По окончании проведения ГРП в интервале 5' перемещают колонну труб 6 с компоновкой в следующий интервал 5'' с низкими фильтрационно-емкостными свойствами, соответствующий среднему пласту 4''.

[23]

Производят ГРП в интервале 5'' с формированием трещины 14'' и креплением трещины 14'' проппантом 15''. Аналогичным образом, перемещая колонну труб 6 с компоновкой к забою скважины, выполняют ГРП в оставшихся интервалах с низкими фильтрационно-емкостными свойствами в зависимости от количества соответствующих продуктивных пластов с формированием трещин и креплением трещин проппантом. В данном примере многопластовая продуктивная залежь нефти 2 состоит из трех напластованных продуктивных пластов: верхнего 4', среднего 4'' и нижнего 4''', поэтому по окончании проведения ГРП в интервале 5'' перемещают колонну труб 6 с компоновкой в сторону забоя скважины в следующий интервал 5''' (см. фиг. 1) с низкими фильтрационно-емкостными свойствами нижнего продуктивного пласта 4'''. Производят ГРП в третьем интервале 5''' с формированием трещины 14''' и креплением трещины 14''' проппантом 15'''.

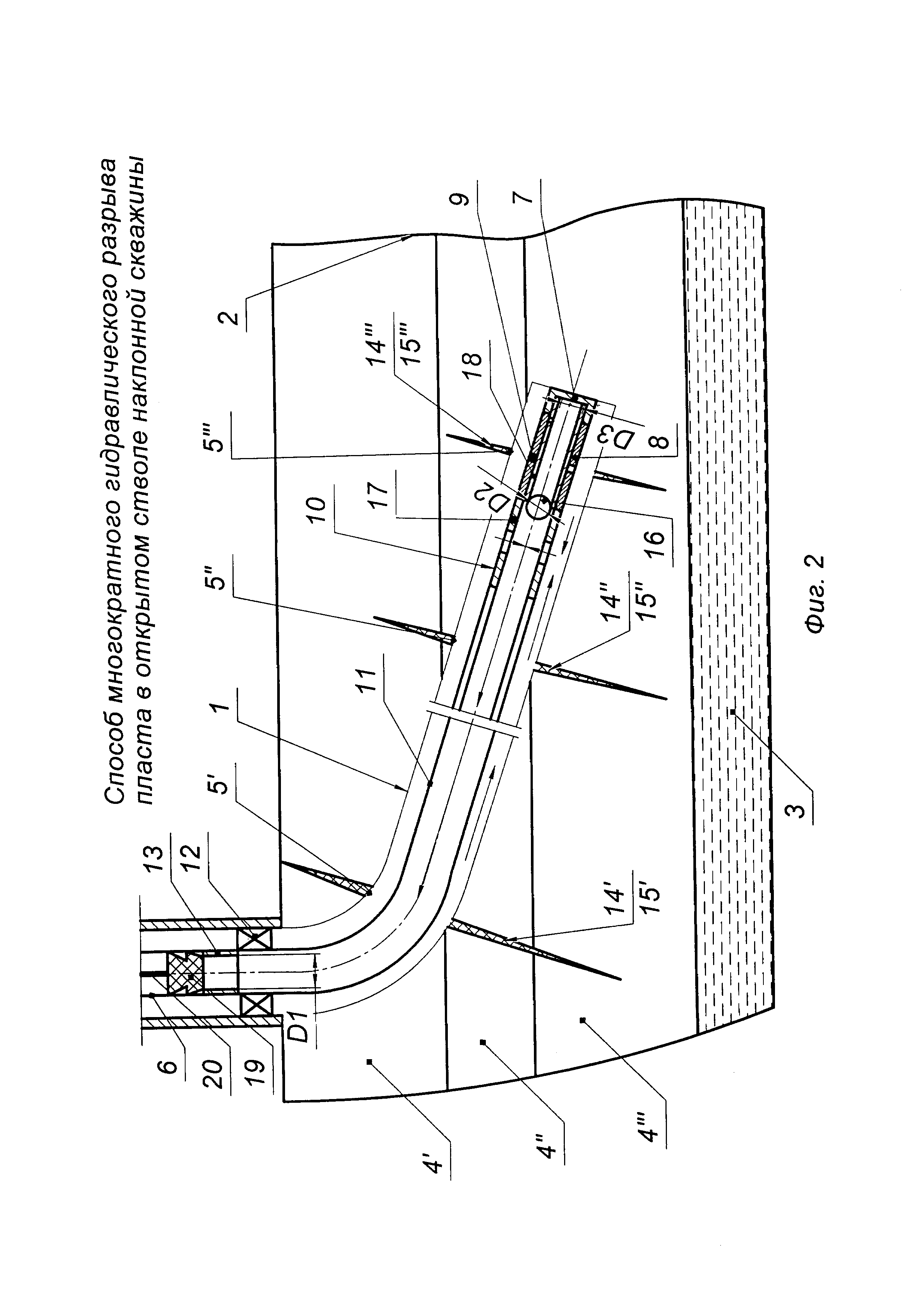
[24]

С каждым последующим интервалом 5', 5'', 5''' выполнения ГРП сокращают соответственно длину формируемой трещины: например, 14'=10 м, 14''=7 м, 14'''=5 м - путем снижения объемов закачиваемой гелированной жидкости разрыва, например, от 4 м3/мин до 2,5 м3/мин и концентрации проппанта от 400 кг/м3 до 200 кг/м3 для крепления сформировавшихся соответствующих трещин 14', 14'', 14''' в каждом интервале проведения ГРП. Такая закачка позволяет регулировать длину трещин 14', 14'', 14''', а это исключает их прорыв в подошвенную воду 3 (водоносный пласт).

[25]

При выполнении ГРП в интервале 5' формируют трещину 14' длиной 10 м, для этого производят закачку гелированной кислоты с расходом 4 м3/мин в течение 5 мин, затем, не прерывая закачки, производят крепление трещины 14' проппантом 15', закачиваемым с жидкостью-носителем в концентрации 400 кг/м3 в течение 5 мин.

[26]

Далее в интервале 5'' формируют трещину 14'', например, длиной 7 м, для этого производят закачку гелированной кислоты с расходом 3 м3/мин в течение 5 мин, затем, не прерывая закачки, производят крепление трещины 14'' проппантом 15'', закачиваемым с жидкостью-носителем в концентрации 300 кг/м3 в течение 5 мин.

[27]

Далее в интервале 5''' формируют трещину 14''', например, длиной 5 м, для этого производят закачку гелированной кислоты с расходом 2,5 м3/мин в течение 4 мин, затем, не прерывая закачки, производят крепление трещины 14''' проппантом 15''', закачиваемым с жидкостью-носителем в концентрации 200 кг/м3 в течение 5 мин.

[28]

В качестве гелированной кислоты используют любой известный состав, например загеленную кислотную композицию, представляющую собой кислотную композицию на основе кислоты соляной синтетической, разбавленной до рабочей концентрации 15 массовых долей хлористого водорода, содержащей следующие компоненты:

[29]

стабилизатор железа (Hi-Iron)6 л на 1 м3
загеливатель (AG-200)40 л на 1 м3

[30]

В качестве жидкости-носителя проппанта используют сточную воду плотностью 1100 кг/м.

[31]

Повышается эффективность реализации способа в многопластовой продуктивной залежи нефти с подошвенной водой, так как длина трещины регулируется объемом закачиваемой гелированной жидкости разрыва, что исключает прорыв трещины ГРП при ее создании в водоносный пласт.Кроме того, использование в качестве гелированной жидкости разрыва гелированной кислоты позволяет лучше раскрыть трещину перед ее креплением проппантом за счет растворения карбонатных пород в формируемой трещине. Для крепления трещин 14'; 14''; 14''' используют проппант фракции 40/70 меш., который свободно проходит сквозь сопла 9 диаметром 6 мм гидромониторной насадки 8 без создания гидравлического сопротивления и потери давления закачки на гидромониторной насадке 8.

[32]

Увеличиваются добывные возможности скважины после проведения ГРП, так как сформированные трещины закреплены проппантом. Проппант, набитый в трещину, исключает ее стягивание и создает канал для притока нефти в открытый ствол скважины при ее последующей эксплуатации.

[33]

По окончании выполнения ГРП колонну труб 6 с компоновкой перемещают вниз до упора заглушки 7 в забой открытого наклонного ствола скважины (см. фиг. 2). Сажают технологический пакер 12 (см. фиг. 2) так, чтобы он находился в обсаженной части скважины.

[34]

Повышается надежность реализации способа, так как технологический пакер 12 сажается в обсаженном стволе скважины при освоении скважины после проведения поинтервального ГРП, а не в открытом, что исключает потерю герметичности пакера. Затем в колонну труб 6 сбрасывают бросовый элемент (шар, цилиндр), например шар 16, и создают в колонне труб 6 давление, например 10,0 МПа, достаточное для разрушения срезного винта 17 перепускного клапана 10, при этом втулка 18 (см. фиг. 1 и 2) перепускного клапана 10 перемещается вниз и герметично изнутри перекрывает сопла 9 гидромониторного перфоратора 8. Для реализации способа необходимо соблюдение условия:

[35]

D1>D2>D3,

[36]

где D1 - внутренний диаметр свабного ограничителя 13, мм;

[37]

D2 - диаметр шара 16, мм;

[38]

D3 - внутренний диаметр втулки 18, мм.

[39]

Например, D1=50 мм; D2=40 мм; D3=30 мм.

[40]

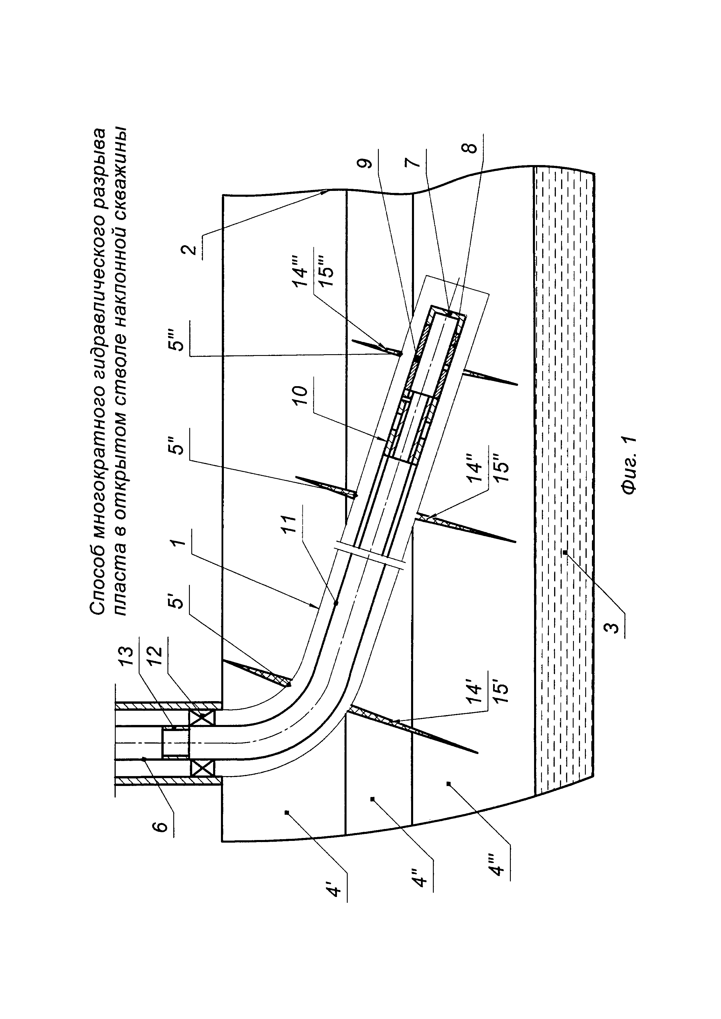
Для освоения скважины в колонну труб 6 спускают сваб 18 на тросе 19 и начинают осваивать скважину после поинтервального ГРП. Осваивают скважину со снижением уровня жидкости до 1000 м (см. фиг. 2), с откачкой жидкости из скважины в желобную емкость (на фиг. 1, 2 и 3 не показано) в объеме 30 м, с отбором проб на рН фактор, если значение рН менее 4, продолжают откачку до рН более 4, с отбором проб через каждые 10 м откачанной жидкости. После чего прекращают освоение скважины, распакеровывают технологический пакер 12 и извлекают колонну труб 6 с компоновкой из скважины (см. фиг. 3).

[41]

Упрощается процесс реализации способа и сокращается его длительность, так как исключаются посадка и распакеровка пакера в каждом интервале ГРП, кроме того, нет необходимости в закачке кислоты с переменным расходом в кольцевое пространство скважины.

[42]

Освоение скважины после поинтервального ГРП проводится сразу по всей длине наклонного ствола одновременно из всех интервалов ГРП за один спуск инструмента (колонны труб с оборудованием), что повышает качество проведенного ГРП, выражающегося в восстановлении потенциального дебита скважины.

[43]

Предлагаемый способ многократного ГРП в открытом стволе наклонной скважины позволяет:

[44]

- повысить эффективность реализации способа в многопластовой залежи с подошвенной водой;

[45]

- повысить добывные возможности скважины после проведения ГРП;

[46]

- повысить надежность реализации способа;

[47]

- упростить процесс реализации способа и сократить его длительность;

[48]

- повысить качество проведенного поинтервального ГРП.

Как компенсировать расходы
на инновационную разработку
Похожие патенты