патент
№ RU 2704834
МПК A01K29/00

Способ изготовления соломенной подстилки

Авторы:
Гриднева Татьяна Трофимовна
Номер заявки
2019110041
Дата подачи заявки
04.04.2019
Опубликовано
31.10.2019
Страна
RU
Как управлять
интеллектуальной собственностью
Чертежи 
5
Реферат

Изобретение относится к механизации трудоемких процессов в животноводстве, в частности к изготовлению соломенной подстилки, используемой в животноводческом помещении. Способ изготовления соломенной подстилки заключается в измельчении соломы до получения соломенной сечки. При этом вяжут сетчатое полотно–оболочку при помощи капронового шнура по типу рыболовных сетей. Оболочку перегибают вдоль по длине пополам, соединяют верхнюю и нижнюю части основы так, чтобы их продольные оси были параллельны друг другу и фиксируют винтообразно, охватывая эти части основы с шагом 150-200 мм быстросъемным капроновым шнуром. Затем наполняют соломенной сечкой образовавшуюся емкость до толщины 300-400 мм, закрывают второй торец образовавшегося мешка, вальцуют по длине до образования пласта толщиной 50-60 мм. После пласт прошивают вдоль быстросъемным капроновым шнуром по центру от сбивания соломенной сечки, сворачивают в рулон, доставляют к месту использования. При необходимости составляют глубокую подстилку толщиной пласта до 300 мм путем наложения лежаков. Изобретение обеспечивает улучшение условий содержания животных за счет создания комфортных условий отдыха. 16 ил.

Формула изобретения

Способ изготовления соломенной подстилки, заключающийся в измельчении соломы до получения соломенной сечки, отличающийся тем, что вяжут сетчатое полотно-оболочку при помощи капронового шнура по типу рыболовных сетей, перегибают оболочку вдоль по длине пополам, соединяют верхнюю и нижнюю части основы так, чтобы их продольные оси были параллельны друг другу и фиксируют винтообразно, охватывая эти части основы с шагом 150-200 мм быстросъемным капроновым шнуром, наполняют соломенной сечкой образовавшуюся емкость до толщины 300-400 мм, закрывают второй торец образовавшегося мешка, вальцуют по длине до образования пласта толщиной 50-60 мм, прошивают вдоль быстросъемным капроновым шнуром по центру от сбивания соломенной сечки, сворачивают в рулон, доставляют к месту использования, при необходимости составляют глубокую подстилку толщиной пласта до 300 мм путем наложения лежаков.

Описание

[1]

Изобретение относится к механизации трудоемких процессов в животноводстве, в частности, в области изготовления и применения соломенной подстилки в животноводческом помещении.

[2]

Известен патент № 2330405. Изобретение относится к способам и устройствам беспривязного содержания коров и предназначено для использования в животноводческих и фермерских хозяйствах.

[3]

Способ включает размещение коров в коровниках молочной фермы с объединенным кормонавозным проездом и содержанием коров во время отдыха на глубокой соломенной подстилке с периодическим добавлением к соломенной подстилке свежей соломы и чистку зоны отдыха животных, кормление коров и дойку. Кормонавозный проезд смещен к стенам коровника с возможностью свободного входа и выхода из него, зона отдыха животных поделена на 2 части с размещением между ними доильного блока, расположенного в центре коровника. Снижается себестоимость беспривязного содержания коров при реализации данного способа, улучшаются условия содержания животных и повышается качество зоогигиенических условий содержания коров. Единственный недостаток – подстилка распределяется неравномерно по всей зоне отдыха животных роторным кормораздатчиком, который распыляет подстилку на длину около 10 метров путем измельчения соломенного рулона.

[4]

Известен способ беспривязного содержания коров (Тимошенко В.Н., Музыка А.А., Карнач Ф.М. «Преимущество беспривязного содержания коров», - ж. Зоотехния, 2000, № 9, стр. 19…21), при котором для содержания коров используют несколько помещений, в одном из которых с центральным кормовым проходом и примыкающими к проходу выгульными площадками, приспособленными для отдыха и кормления коров содержат на глубокой соломенной подстилке. Во втором помещении с деревянными полами и перегородками расположены боксы и доильный зал. Для снижения влажности и повышения температуры требуется большой расход соломы на подстилку, обеспечивающей выделение тепла, к нарушению зоонорм (выделение вредных газов – аммиака и сероводорода). Распределение подстилки с помощью роторного кормораздатчика, а это опять – неравномерность раздачи и сильная запыленность животноводческого помещения.

[5]

Неравномерность раздачи подстилочного материала приводит к травмированию передних коленных суставов из-за разной толщины подстилочного материала и отсутствия в нем упругих амортизационных свойств.

[6]

Продолжительность пребывания животных в лежачем положении в значительной мере зависит от качества поверхности зоны отдыха. Если поверхность не комфортна для коровы, то продолжительность пребывания ее в лежачем положении сокращается до 6…8 часов вместо 12…14 в сутки, что приводит к снижению продуктивности, т.к. приток крови в лежачем положении у коровы к вымени увеличивается и молока производится больше. Кроме того, когда корова ложится, то на расстоянии 200…300 мм от поверхности земли она перестает контролировать свое тело и переносит всю его массу в состояние свободного падения на передние конечности. При этом нагрузка, приходящаяся на небольшую поверхность конечностей при падении коровы, масса которой может достигать 700 кг и более, огромна. На пастбище она компенсируется упругим естественным покрытием, которое также служит хорошей опорой при подъеме животного и предотвращает опасность его скольжения.

[7]

В отличие от естественного грунта бетонный пол в коровниках слишком жесткий и неудобный, кроме того, жесткие и влажные бетонные полы оказывают отрицательное влияние на копыта животного.

[8]

Задачей заявленного технического решения является улучшение условия содержания животных за счет создания комфортных условий отдыха животных на глубокой соломенной подстилке.

[9]

Из всех подстилочных материалов лучшими считают измельченную солому озимых культур, которая обеспечивает теплое, чистое и сухое ложе для животных. Этим обеспечивается максимальная чистота кожи животных и вымени, а также получение незагрязненного молока. Для увеличения газопоглощаемости подстилки соломенную сечку полезно смешивать с суперфосфатом, в котором имеется свободная серная кислота, связывающая аммиак.

[10]

Поставленная задача достигается тем, что в способе изготовления соломенной подстилки, включающем измельчение соломы до получения соломенной сечки, согласно изобретению, вяжут сетчатое полотно–оболочку при помощи капронового шнура по типу рыболовных сетей, перегибают оболочку пополам, соединяют верхнюю и нижнюю части основы так, что их продольные оси параллельны друг другу и фиксируют винтообразно, охватывания эти части основы с шагом 150…200 мм быстросъемным капроновым шнуром, наполняют соломенной сечкой образовавшуюся емкость до толщины 300…400 мм, закрывают второй торец образовавшегося мешка, вальцуют по длине до образования пласта толщиной 50…60 мм, прошивают вдоль быстросъемным капроновым шнуром по центру от сбивания соломенной сечки, сворачивают в рулон, доставляют к месту использования, при необходимости составляют глубокую подстилку толщиной пласта до 300 мм.

[11]

Способ обеспечивает комфортные условия для содержания животных в зоне отдыха, уменьшаются повреждения вымени, обеспечивается чистота, а узлы при вязке препятствуют скольжению копыт животных.

[12]

Способ изготовления соломенной подстилки поясняется чертежами.

[13]

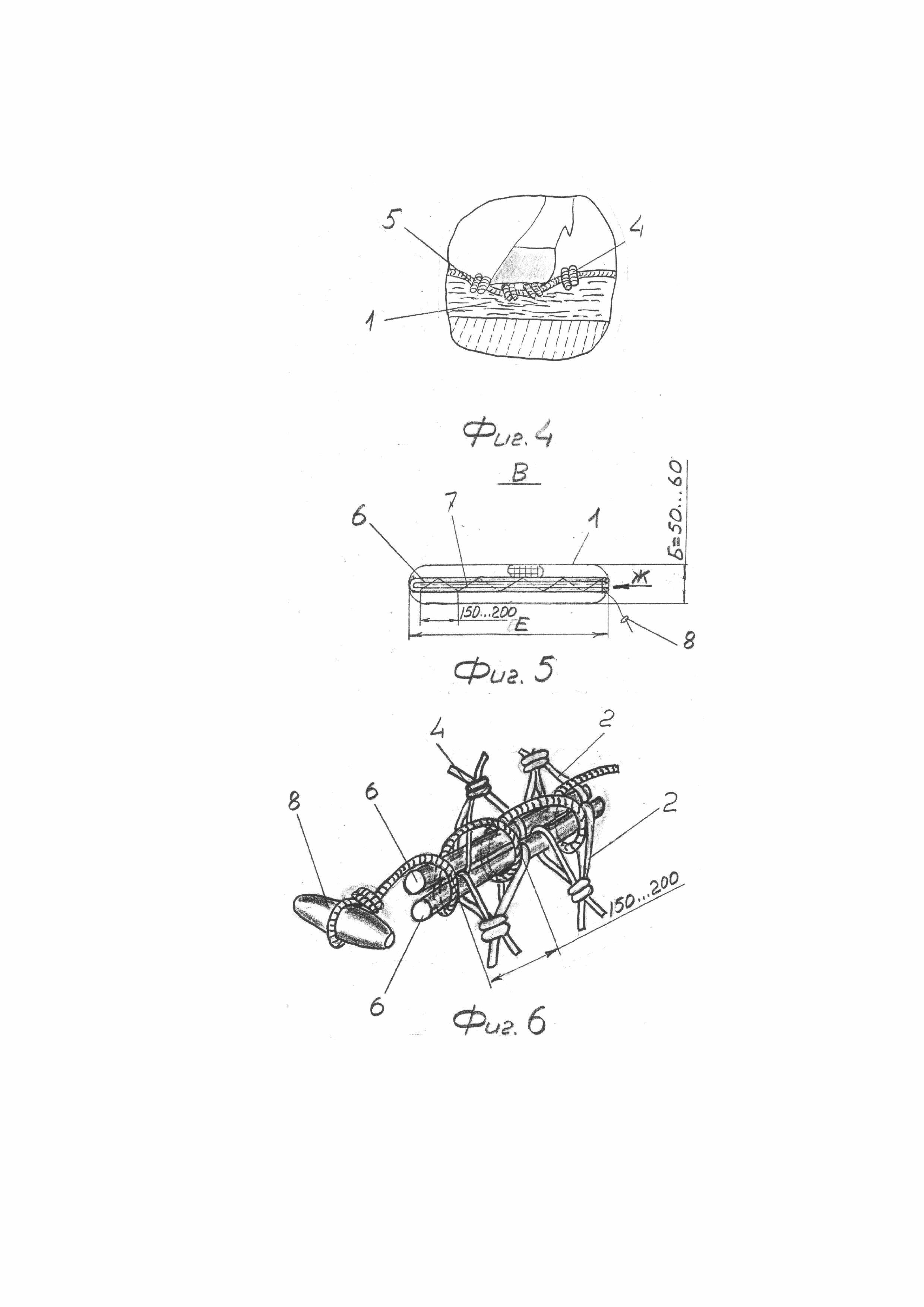
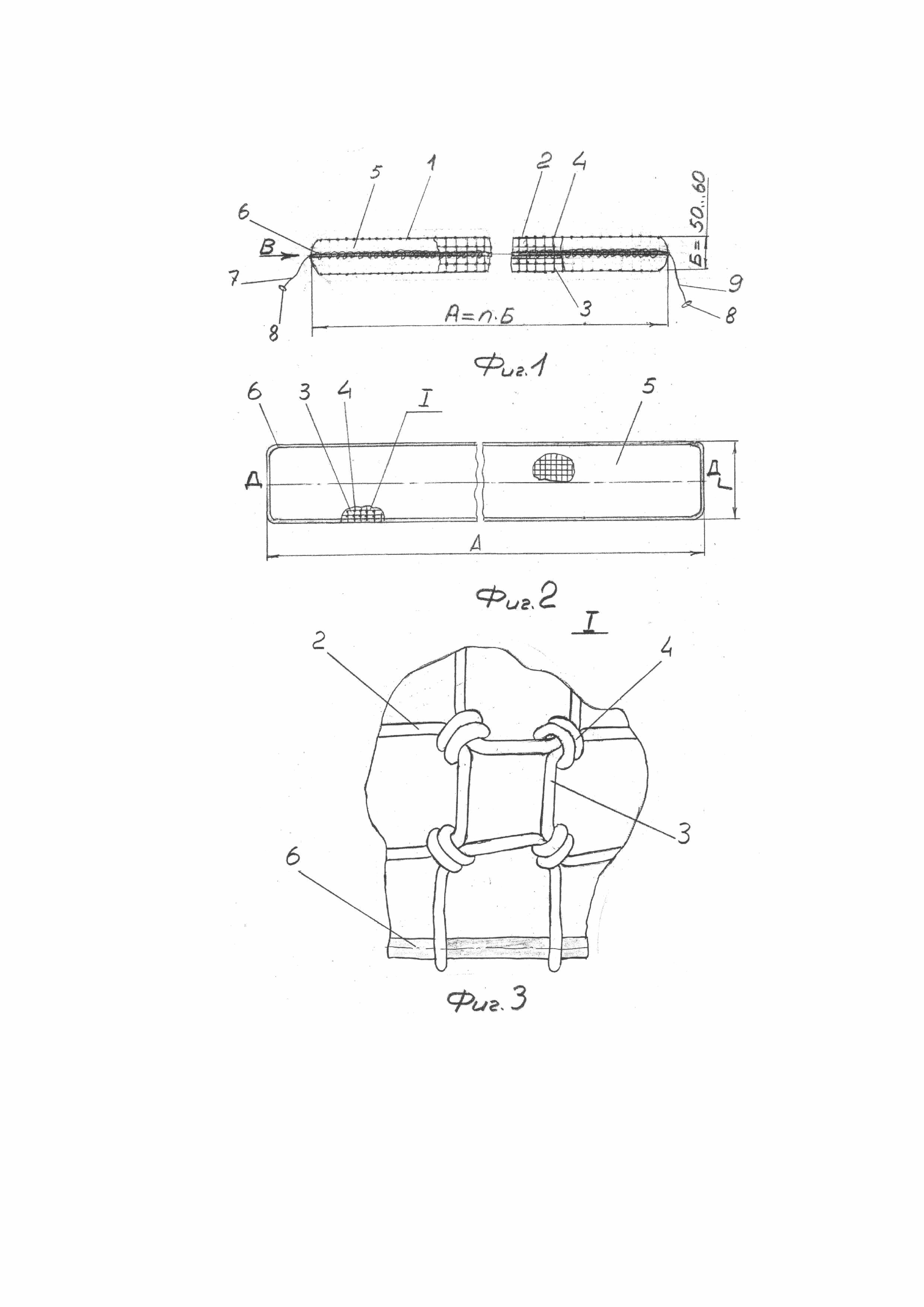
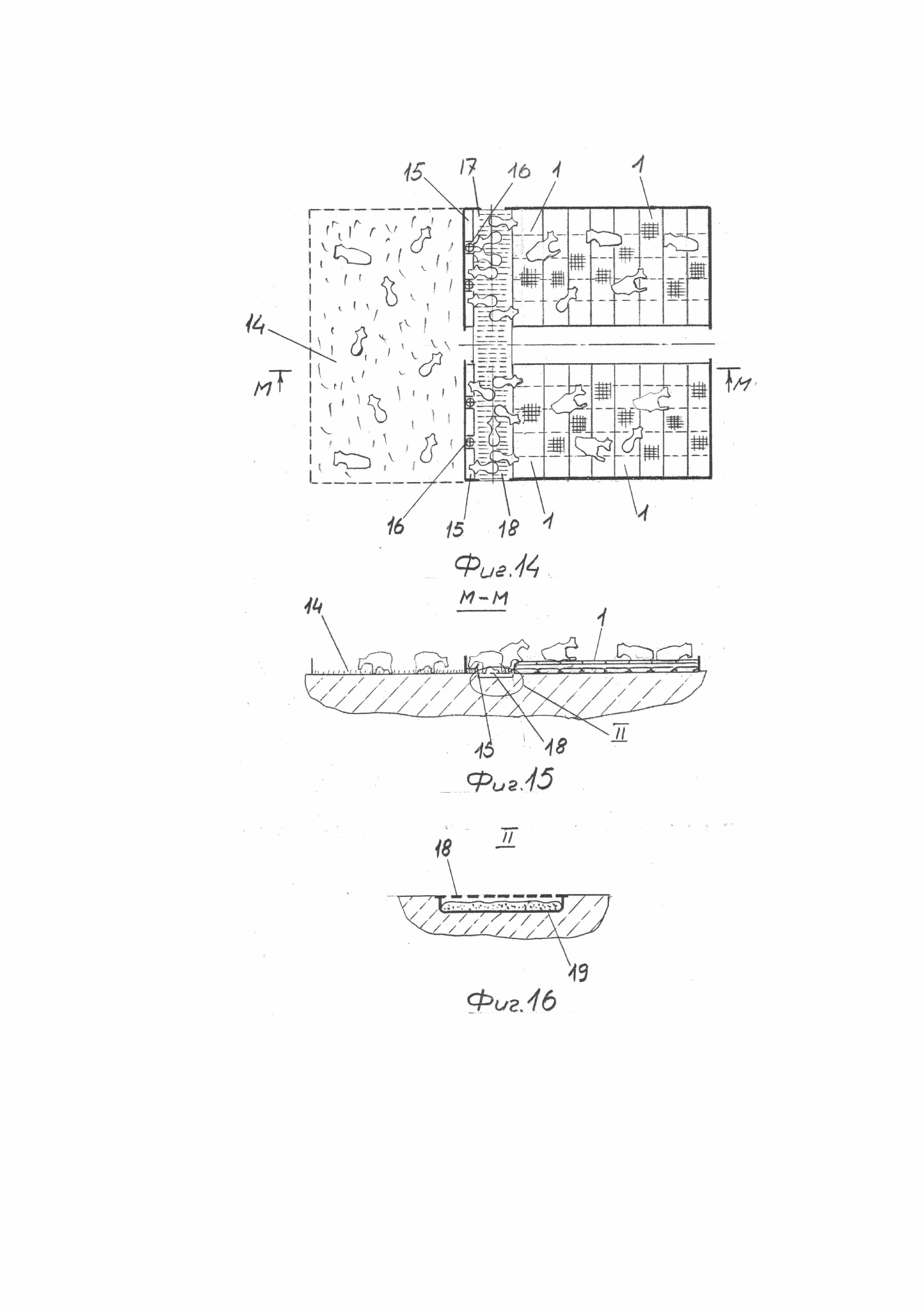
На фиг. 1 представлен лежак из соломенной подстилки, вид сбоку; на фиг. 2 - изображена развертка продольная сетчатой оболочки сформированной соломенной подстилки – лежака; на фиг. 3 – выносной элемент; на фиг. 4 – фрагмент использования узлов сетчатого полотна и упругого проминания лежака копытами животных КРС, как средства против скольжения копыт по поверхности лежаков; на фиг. 5 – вид В фиг. 1; на фиг. 6 – фрагмент фиксации двух торцев и боковой стороны, наполненных лежаков соломенной сечкой; на фиг. 7 – вид Ж фиг. 5; на фиг. 8 – сечение И-И фиг. 7; на фиг. 9 – вид К фиг. 7 – прошивка капроновым шнуром вдоль продольной осевой Л-Л готового лежака; на фиг. 10 – сечение Л-Л фиг. 9; на фиг. 11 – вальцевание заготовки вальцами; на фиг. 12 – положение животного КРС при переходе в положение лежа (падение на передние колени); на фиг. 13 – транспортирование лежаков в виде рулонов; на фиг. 14 –ферма КРС по содержанию в плане; на фиг. 15 – сечение М-М фиг. 14; на фиг. 16 – выносной элемент фиг. 14.

[14]

Способ изготовления соломенной подстилки осуществляется следующим образом.

[15]

Для образования сформированной соломенной подстилки – лежака 1 соломенной сечкой заполняют сетчатую емкость многоразового использования, связанную по типу рыболовных сетей и гамаков капроновым шнуром 2 с образованием ячеек 3 и узлов 4 сетчатого полотна 5 с применением крайнего капронового шнура в качестве основы 6, от которого будут начинаться ячейки сетчатого полотна.

[16]

Полученное сетчатое полотно 5 перегибают пополам вдоль продольной оси Д-Д и части основы 6 занимает верхнее и нижнее положения. Получается заготовка под емкость. Далее, коротким капроновым шнуром 7 с ручкой 8 соединяют верхнюю и нижнюю части основы 6 в левой торцевой части будущего лежака 1 так, чтобы их продольные оси были параллельны друг другу и фиксируют этим шнуром при помощи винтообразного охвата этих частей основы с шагом 150…200 мм с возможностью быстрого его освобождения при демонтаже лежака. Такой шаг является оптимальным. Таким же образом фиксируют свободную продольную сторону будущей емкости длинным капроновым шнуром 9 опять с возможностью быстрого демонтажа лежака. Получилась емкость, которую заполняют соломенной сечкой и закрывают второй торец тем же способом, что и первый торец. Получается овальная в поперечном сечении заготовка для лежака 10, которую потом осаживают с помощью вальцов 11 до получения пласта толщиной 50…60 мм (оптимальная толщина). При этом все выступающие части соломенной сетки принимают горизонтальное положение, чем обеспечивается безопасное вымени животных КРС от травм.

[17]

Далее, будущий лежак посередине продольной оси прошивают капроновым шнуром 12 так, чтобы вход в полотно капронового шнура и выход из него были под углом 30° с образованием стежков с обеих сторон его поверхности. Это делается для того, чтобы соломенная сечка не сбивалась в ту или иную стороны при транспортировке лежаков в рулонах 13 к месту применения.

[18]

После использования подстилки – лежака, из него выдергивают шнур, освобождают от соломы, заново наполняют свежей соломой и прошивают. Он снова готов для применения.

[19]

Предлагаемый способ практически убирает все проблемы по беспривязному содержанию животных КРС на глубокой подстилке. Для примера – животные с выгульной площадки 14 следуют в здание Фермы, делая остановку для кормления у пристенных кормушек 15 и поилок 16, далее переходят кормонавозный проезд 17, в котором уборка навоза происходит из-под решетчатых полов 18 при помощи самотечного металлического лотка 19, вставленного с уклоном в сторону места выгрузки навоза. При этом внутренние поверхности лотка покрыты антиадгезионным износостойким покрытием, обладающим способностью предотвращать налипание влагосодержащих материалов к поверхности лотка и не смачивать его навозной массой. Изобретение обеспечивает возможность отказа от средств транспортирования навоза к месту выгрузки (патент RU № 264709101, А01К 1/01, 2006 и патент RU № 264708901, А01К 1/01, 2006).

[20]

Антиадгезия – способность покрытий не смачиваться жидкостями, т.е. любой материал, находящийся на этой поверхности будет самопроизвольно скатываться в сторону уклонов, т.к. возникает неустойчивость положения – «ртутный» эффект. На этой особенности покрытия основывается удаление навоза без транспортирующих устройств – экономия электроэнергии и материалоемкости.

[21]

Проходя через кормонавозный проезд 17 по решетчатым полам 18 и продавливая навоз сквозь решетчатые полы 18, животные КРС с чистыми копытами устраиваются в логове с теплыми лежаками 1, соединенными между собой в один единый лежак. Высота лежаков, наложенных друг на друга для создания глубокой подстилки, не мешает животным спокойно передвигаться по ней и отдыхать.

[22]

Соломенная подстилка для КРС способствует уменьшению травматизма коленных суставов из-за упругих свойств уплотненных лежаков, уплотненная соломенная сечка обеспечивает снижение случаев заболеваний маститом животных КРС, а узлы, полученные при вязке сетчатой оболочки при вдавливании копыт в упругий лежак снижают проскальзывание копыт животных КРС при контакте с ним.

[23]

Изобретение относится к механизации трудоемких процессов в животноводстве, в частности, в области изготовления и применения соломенной подстилки в животноводческом помещении.

Как компенсировать расходы
на инновационную разработку
Похожие патенты