патент
№ RU 2559029
МПК H01S3/0977
Номер заявки
2013136115/28
Дата подачи заявки
01.08.2013
Опубликовано
10.08.2015
Страна
RU
Как управлять
интеллектуальной собственностью
Чертежи 
3
Реферат

Изобретение относится к лазерной технике. Разрядная система газового лазера содержит расположенные в корпусе лазера протяженные первый и второй электроды лазера, УФ предыонизатор, расположенный сбоку от одного из электродов лазера и выполненный в виде системы зажигания скользящего разряда между протяженными поджигающим электродом и дополнительным электродом, расположенными на поверхности диэлектрического слоя, покрывающего протяженную металлическую подложку. При этом диэлектрический слой выполнен в виде части прямой тонкостенной цилиндрической трубки, заключенной между двумя плоскостями резов трубки, выполненных вдоль ее длины параллельно оси. Поджигающий электрод размещен на внутренней поверхности части диэлектрической трубки вдоль нее и соединен с электродом лазера, а поверхность протяженной металлической подложки выполнена вогнутой и совмещена с частью наружной цилиндрической поверхности диэлектрического слоя. Технический результат заключается в обеспечении возможности увеличения энергии генерации и упрощении конструкции лазера. 3 з.п. ф-лы, 4 ил.

Формула изобретения

1. Разрядная система газового лазера, содержащая расположенные в корпусе лазера протяженные первый и второй электроды лазера, УФ предыонизатор, расположенный сбоку от одного из электродов лазера и выполненный в виде системы зажигания скользящего разряда между протяженными поджигающим электродом и дополнительным электродом, расположенными на поверхности диэлектрического слоя, покрывающего протяженную металлическую подложку, характеризующаяся тем, что диэлектрический слой выполнен в виде части прямой тонкостенной цилиндрической трубки, заключенной между двумя плоскостями резов трубки, выполненных вдоль ее длины параллельно оси трубки, поджигающий электрод размещен на внутренней поверхности части диэлектрической трубки вдоль нее и соединен с электродом лазера, поверхность протяженной металлической подложки выполнена вогнутой и совмещена с частью наружной цилиндрической поверхности диэлектрического слоя.

2. Разрядная система газового лазера по п. 1, в которой часть диэлектрического слоя, не используемая для зажигания скользящего разряда, частично расположена с нерабочей стороны электрода лазера, к которому подсоединен поджигающий электрод системы зажигания скользящего разряда.

3. Разрядная система газового лазера по любому из пп. 1 и 2, характеризующаяся тем, что в предыонизатор введена дополнительная система зажигания скользящего разряда, идентичная первой, и две идентичные системы зажигания скользящего разряда установлены по обе стороны одного из электродов лазера.

4. Разрядная система высокоэффективного газового лазера по любому из пп. 1 и 2, в которой каждая система зажигания скользящего разряда установлена так, что каждая точка разрядной зоны между первым и вторым электродами лазера оптически связана, по меньшей мере, с частью поверхности керамической трубки между поджигающим и дополнительным электродами, используемой для зажигания скользящего разряда.

Описание

[1]

Изобретение относится к квантовой электронике, в частности к мощным импульсно-периодическим газоразрядным лазерам, преимущественно эксимерным, с поперечным самостоятельным разрядом и УФ предыонизацией. Область применений включает лазерную микрообработку материалов, отжиг аморфного кремния (α-Si) при производстве плоских дисплеев, производство высокотемпературных сверхпроводников методом импульсной лазерной абляции и др.

[2]

Известна разрядная система газового лазера [1], в которой УФ предыонизация осуществляется разрядами через диэлектрический барьер, зажигаемыми сбоку от высоковольтного электрода. При использовании в эксимерном лазере разрядная система позволяет эффективно получать энергию генерации при высокой частоте следования импульсов. Недостатком указанного устройства является малый уровень предыонизации, ограничивающий возможность увеличения апертуры основного разряда, повышения энергии генерации и средней мощности лазера.

[3]

Этого недостатка лишена разрядная система газового лазера с УФ предыонизацией, осуществляемой излучением от двух рядов искр, автоматически зажигаемых при зарядке импульсных конденсаторов сбоку от высоковольтного электрода, расположенного со стороны стенки корпуса лазера [2]. Данная система обеспечила достижение высокой (600 Вт) средней мощности лазерного УФ излучения в эксимерном KrF лазере. Недостатком электродной системы с УФ предыонизатором в виде рядов отдельных искровых промежутков является пространственная неоднородность предыонизации по длине электродов, что уменьшает КПД лазера, и ее сложность из-за необходимости герметизировать десятки токовводов предыонизатора. Кроме того, искровые промежутки обусловливают повышенное поступление в газ продуктов эрозии электродов предыонизатора, что уменьшает время жизни газовой смеси лазера.

[4]

Частично этих недостатков лишена разрядная система газового лазера с предыонизацией, осуществляемой через частично прозрачный электрод УФ излучением завершенного скользящего разряда по поверхности плоской диэлектрической пластины [3]. В данной электродной системе обеспечивается высокий уровень и пространственная однородность предыонизации разрядной зоны между высоковольтным и заземленным электродами лазера. Достигается возможность повышения энергии генерации и средней мощности излучения лазера. При этом реализуется возможность в несколько раз уменьшить прокачиваемую через предыонизатор энергию, что, в свою очередь, повышает время жизни газовой смеси. При генерации на XeCl средняя мощность УФ лазера с данной электродной системой достигала более 1 кВт. Однако частично прозрачный электрод с предыонизатором, расположенным со стороны его нерабочей поверхности, имеет относительно большие поперечные размеры, что повышает индуктивность разрядного контура. Этот фактор ограничивает получение высокоэффективной генерации в эксимерных лазерах на фторидах инертных газов (KrF, ArF), для которых наблюдается резкая зависимость эффективности лазера от индуктивности разрядного контура. Кроме этого частично прозрачные электроды сложны и дороги в изготовлении.

[5]

Наиболее близким техническим решением, выбранным в качестве прототипа, является разрядная система газового лазера, содержащая размещенные в корпусе лазера протяженные первый и второй электроды, первый из которых размещен со стороны стенки корпуса, и размещенный сбоку от одного из электродов УФ предыонизатор, выполненный в виде системы зажигания скользящего разряда между протяженными поджигающим электродом и дополнительным электродом, расположенными на поверхности диэлектрического слоя, покрывающего протяженную металлическую подложку [4]. Электродная система размещена в корпусе лазера, выполненном на основе керамической (Al2O3) трубы, что обеспечивает малую индуктивность разрядного контура лазера и высокие газодинамические свойства системы формирования газового потока между электродами лазера. УФ предыонизация от скользящего разряда по поверхности протяженной диэлектрической (сапфировой) пластины обеспечивает пространственно однородную предыонизацию зоны разряда между электродами лазера оптимально высокой интенсивности, при относительно малом энерговкладе в скользящий разряд. Все это позволяет получать высокоэффективную генерацию лазера с высокой (до 5 кГц) частотой следования импульсов при большом времени жизни газовой смеси.

[6]

В прототипе система зажигания скользящего разряда, обладающая большими поперечными размерами, интегрирована в систему формирования газового потока лазера, а ее дополнительный электрод совмещен с заземленным вторым электродом лазера, при этом не вся зона основного разряда, примыкающая ко второму электроду, оптически связана с частью поверхности пластины, на которой зажигают скользящий разряд, осуществляющий УФ предыонизацию. Это обусловливает возможность получения лишь относительно узкого, шириной ≤3 мм, разряда между первым и вторым электродами и ограничивает возможности получения высоких (свыше ~0,1 Дж/импульс) значений выходной энергии лазера при генерации на эксимерных молекулах.

[7]

Техническим результатом изобретения является повышение энергии генерации и средней мощности излучения газового лазера.

[8]

Указанная задача может быть осуществлена усовершенствованием разрядной системы газового лазера, содержащей размещенные в корпусе лазера протяженные первый и второй электроды, первый из которых размещен со стороны стенки корпуса, и размещенный сбоку от одного из электродов УФ предыонизатор, выполненный в виде системы зажигания скользящего разряда между протяженными поджигающим электродом и дополнительным электродом, расположенными на поверхности диэлектрического слоя, покрывающего протяженную металлическую подложку.

[9]

Усовершенствование устройства состоит в том, что диэлектрический слой выполнен в виде части прямой тонкостенной цилиндрической трубки, преимущественно керамической, заключенной между двумя плоскостями резов трубки, выполненных вдоль ее длины параллельно оси трубки, поджигающий электрод размещен на внутренней поверхности части диэлектрической трубки вдоль нее и соединен с электродом лазера, при этом поверхность протяженной металлической подложки выполнена вогнутой и совмещена с частью наружной цилиндрической поверхности диэлектрического слоя.

[10]

В варианте реализации устройства часть диэлектрического слоя, не используемая для зажигания скользящего разряда, частично расположена с нерабочей стороны электрода лазера, к которому подсоединен поджигающий электрод системы зажигания скользящего разряда.

[11]

В варианте устройства введена дополнительная система зажигания скользящего разряда, идентичная первой, и две идентичные системы зажигания скользящего разряда установлены по обе стороны одного из электродов лазера.

[12]

В варианте реализации устройства каждая система зажигания скользящего разряда установлена так, что каждая точка разрядной зоны между первым и вторым электродами лазера оптически связана, по крайней мере, с частью поверхности керамической трубки между поджигающим и дополнительным электродами, используемой для зажигания скользящего разряда.

[13]

Существо изобретения поясняется прилагаемыми чертежами. На фиг.1 упрощенно изображена разрядная система газового лазера с предыонизацией двумя системами зажигания скользящего разряда, установленными по бокам второго электрода, на фиг.2 упрощенно изображена разрядная система газового лазера с предыонизацией двумя системами зажигания скользящего разряда, установленными по бокам первого электрода, на фиг.3 и фиг.4 - детализированная схема этого варианта устройства для случая керамической стенки корпуса (фиг.3) и металлической стенки корпуса лазера (фиг.4).

[14]

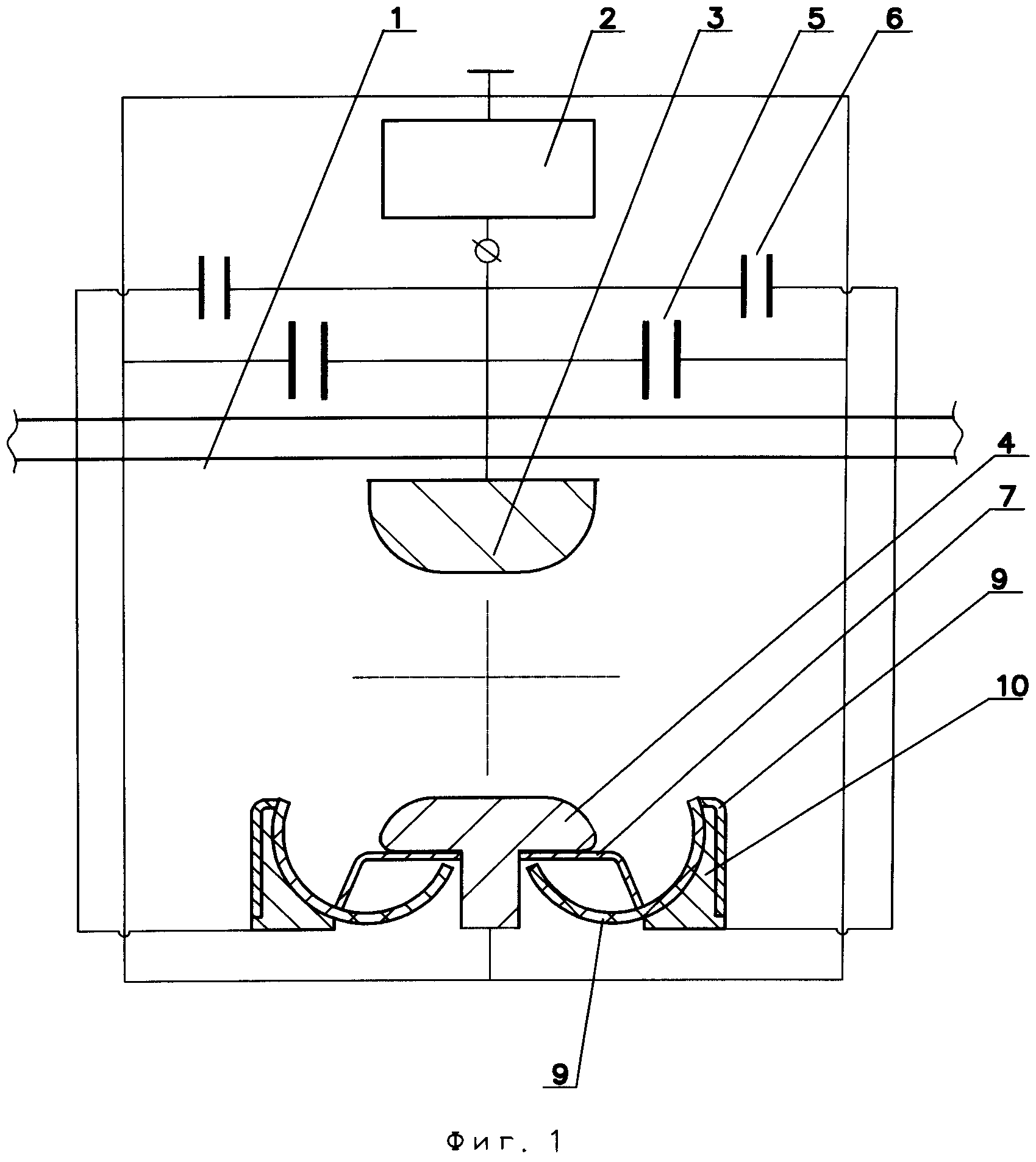
Электродная система газового лазера содержит расположенный вне корпуса - 1 лазера импульсный источник питания - 2 и расположенные в корпусе - 1 протяженные вдоль оси лазера первый электрод - 3, размещенный со стороны стенки корпуса - 1 лазера, и второй электрод - 4. Вне корпуса лазера размещены подсоединенные к электродам - 3, 4 лазера конденсаторы - 5, к которым подключен источник питания - 2. Также снаружи корпуса - 1 расположены вспомогательные конденсаторы - 6, через которые импульсный источник - 2 связан с расположенным в корпусе - 1 УФ предыонизатором. Предыонизатор выполнен в виде системы зажигания скользящего разряда между протяженными поджигающим электродом - 7 и дополнительным электродом - 9, расположенными на поверхности диэлектрического слоя - 8, покрывающего протяженную металлическую подложку - 10. Диэлектрический слой выполнен в виде части прямой тонкостенной цилиндрической трубки - 8, преимущественно керамической, заключенной между двумя плоскостями резов трубки, выполненных вдоль ее длины параллельно оси трубки. Поджигающий электрод - 7 размещен на внутренней поверхности части диэлектрической трубки - 8 вдоль нее и соединен с электродом лазера, при этом поверхность протяженной металлической подложки - 10 выполнена вогнутой и совмещена с частью наружной цилиндрической поверхности диэлектрического слоя - 8.

[15]

В варианте устройства, показанном на фиг.1, дополнительный электрод - 9 системы зажигания скользящего разряда соединен со вторым электродом - 4 лазера, и в предыонизатор введена дополнительная система зажигания скользящего разряда, идентичная первой, и обе идентичные системы зажигания скользящего разряда расположены по бокам электрода - 4 лазера. При этом системы зажигания скользящего разряда установлены так, что каждая точка разрядной зоны между первым и вторым электродами - 3, 4 лазера оптически связана с поверхностью какой-либо части керамической трубки - 8 между поджигающим - 7 и дополнительным - 9 электродами, используемой для зажигания скользящего разряда.

[16]

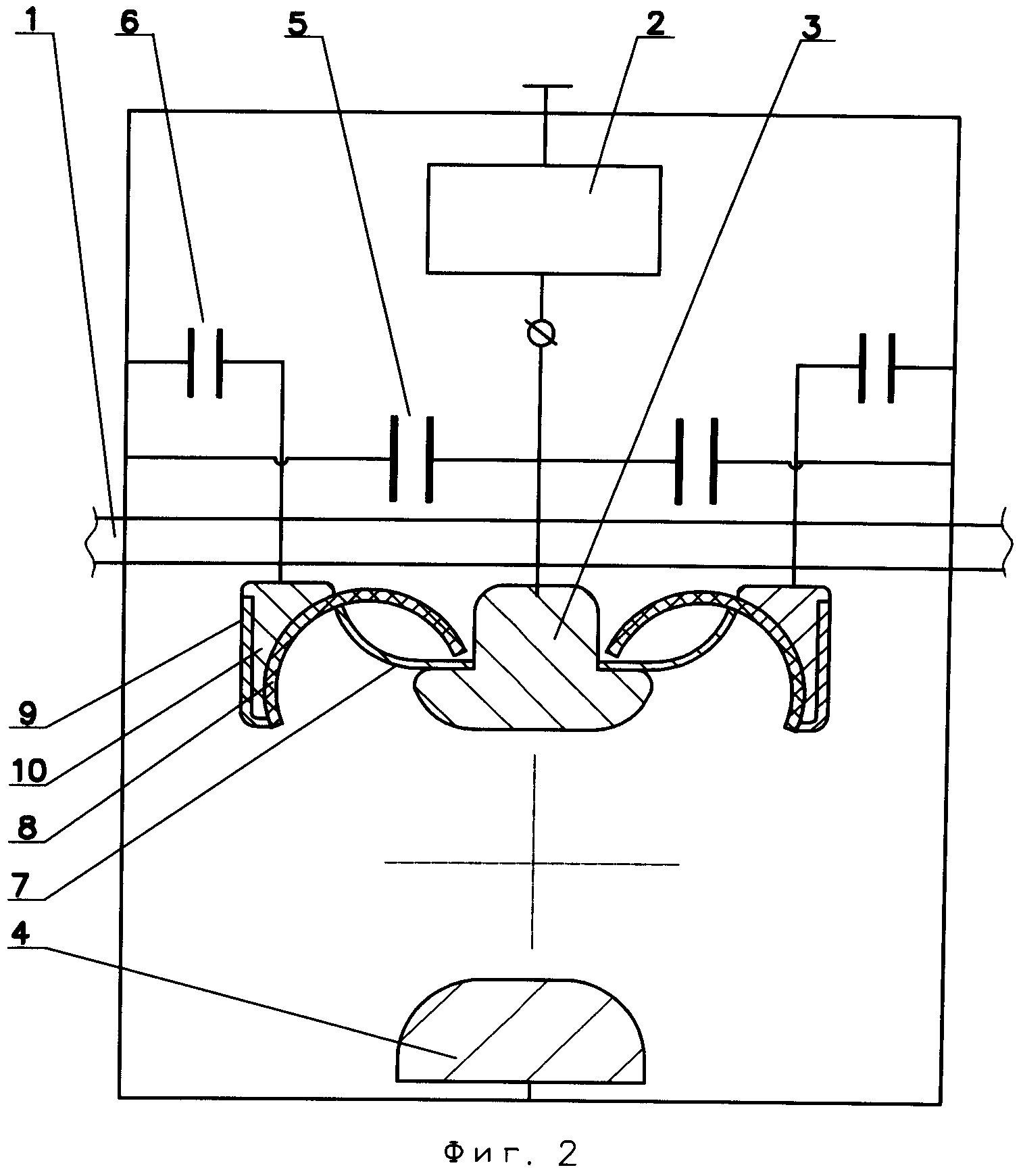
На фиг.2, фиг.3, фиг.4 предыонизатор содержит две идентичные системы зажигания скользящего разряда, установленные по бокам первого электрода - 1, при этом поджигающий электрод - 7 каждой системы зажигания скользящего разряда соединен с первым электродом лазера - 3.

[17]

На фиг.3 корпус - 1 лазера выполнен преимущественно керамическим. В корпусе - 1 расположены газопроницаемые токопроводы - 11, посредством которых конденсаторы - 5 соединены со вторым электродом - 4, и в керамической стенке корпуса вдоль него установлены герметичные токовводы - 12, посредством которых вспомогательные конденсаторы - 6 подсоединены к дополнительному электроду - 9 каждой из двух систем зажигания скользящего разряда, расположенных по бокам первого электрода - 3. В корпусе также размещена система формирования газового потока, в которую входит вентилятор - 13, направляющие газового потока - 14, и трубки теплообменника - 15.

[18]

На фиг.4 корпус лазера состоит из протяженного высоковольтного металлического фланца - 1 компактной керамической разрядной камеры - 1', закрепленной на газодинамическом контуре, выполненном на основе металлической трубы - 1''. На высоковольтном металлическом фланце корпуса - 1 установлены первый электрод - 3 и расположенные с двух сторон от него две идентичные системы зажигания скользящего разряда. При этом в высоковольтном фланце корпуса - 1 установлены герметичные токовводы - 16, выполненные изолированными, посредством которых конденсаторы - 5 подсоединены к первому электроду - 3 лазера.

[19]

Разрядная система газового лазера работает следующим образом. При включении расположенного вне корпуса - 1 источника питания - 2 между первым - 3 и вторым - 4 электродами лазера, а также на подключенных к ним конденсаторах - 5 начинает нарастать напряжение. Потенциал первого электрода - 3 через вспомогательные конденсаторы - 6 передается на поджигающий электрод - 7 каждой системы зажигания скользящего разряда по поверхности части керамической трубки - 8 предыонизатора (фиг.1). Между поджигающим электродом - 7 и соединенными со вторым электродом - 4 лазера дополнительным электродом - 9 и металлической подложкой - 10 также начинает нарастать напряжение. По поверхности каждой части керамической трубки - 8, покрывающей металлическую подложку - 10 и обращенной преимущественно к зоне основного разряда развивается волна ионизации, после пробега которой от поджигающего электрода - 7 к дополнительному электроду - 10 между ними зажигается поверхностный скользящий разряд, ток которого ограничен током зарядки вспомогательных конденсаторов - 6, емкость которых выбирается много меньше емкости конденсаторов - 5, подключенных к электродам - 3, 4 лазера. Скользящий разряд по поверхности каждой части керамической трубки - 8 осуществляет предыонизацию каждой точки разрядной зоны между электродами - 3, 4 лазера, поскольку каждая точка разрядной зоны оптически связана с поверхностью части керамической трубки - 8 между поджигающим - 7 и дополнительным - 9 электродами, используемой для зажигания скользящего разряда. Предыонизация осуществляется со стороны второго электрода - 4, более удаленного от стенки корпуса - 1. После того, как напряжение между первым и вторым электродами - 3, 4 достигает значения пробивного напряжения, происходит основной объемный разряд между ними. Энергия, запасенная в конденсаторах - 5, 6, вкладывается в объемный разряд, что позволяет получить энергию генерации лазера.

[20]

В вариантах устройства на фиг.2, фиг.3, фиг.4 предыонизация осуществляется со стороны стенки корпуса - 1 предыонизатором, выполненным в виде двух идентичных систем зажигания скользящего разряда, установленных по обе стороны первого электрода - 3. Работа в данных вариантах устройства осуществляется следующим образом. При включении источника питания - 2 между первым - 3 и вторым - 4 электродами лазера и на подключенных к ним конденсаторах - 5 начинает нарастать напряжение. Потенциал второго электрода - 4 через вспомогательные конденсаторы - 6 передается на дополнительный электрод - 9 каждой из систем зажигания скользящего разряда, установленных по бокам первого электрода. Между дополнительным электродом - 9 и соединенным с первым электродом - 3 лазера поджигающим электродом - 7 также начинает нарастать напряжение, и между ними зажигается поверхностный скользящий разряд.

[21]

На фиг.3 для варианта устройства с керамическим корпусом - 1 контур протекания тока каждой системы зажигания скользящего разряда включает в себя наряду с импульсно заряжаемыми вспомогательными конденсаторами - 6 протяженные, изолированные токоподводы - 12, установленные вдоль системы зажигания скользящего разряда и соединенные в варианте устройства (фиг.2) с поджигающим электродом - 7 второй электрод - 4 и газопроницаемые токопроводы - 13. Ток основного объемного разряда протекает по малоиндуктивному разрядному контуру, включающему в себя конденсаторы - 5, токовводы корпуса лазера, газопроницаемые токопроводы - 11 и электроды - 3, 4. Кроме этого в основной разряд вкладывается энергия, запасенная за время импульсной зарядки во вспомогательных конденсаторах - 6, при этом частично выделяясь в скользящем разряде. После генерации импульса лазерного излучения с помощью системы формирования газового потока, в который входит вентилятор - 13, направляющие газового потока - 14, и трубки теплообменника - 15 газ между электродами - 3, 4 обновляется, и цикл работы лазера повторяется.

[22]

В вариантах устройства на фиг.3 контур протекания тока каждой системы зажигания скользящего разряда включает в себя герметичные токовводы - 12, установленные в стенке корпуса вдоль него и соединенные с дополнительным электродом - 10.

[23]

В случае варианта устройства с металлической стенкой корпуса, показанного на фиг.5, герметичные токовводы - 16 корпуса выполнены изолированными от корпуса керамическими изоляторами. Дальнейшая работа устройства происходит, как описано выше. В вариантах установки двух идентичных систем зажигания скользящего разряда по обе стороны первого электрода, в отличие от прототипа и варианта устройства с предыонизацией со стороны второго электрода (фиг.2), устраняется необходимость использования вспомогательных газопроницаемых токопроводов, что упрощает конструкцию разрядной системы лазера.

[24]

Кроме этого в случае керамической стенки корпуса (фиг.3), служащей изолятором между высоковольтным первым электродом - 3 и заземленными газопроницаемыми токопроводами - 11, предыонизатор, в отличие от случая его размещения у второго электрода, как в прототипе, не освещает керамическую стенку корпуса. Это повышает электрическую прочность изоляции разрядного контура лазера, позволяя минимизировать его индуктивность и повысить энергию генерации.

[25]

Выполнение системы зажигания скользящего разряда в предложенном виде обеспечивает компактность предыонизатора. По сравнению с прототипом, в котором для зажигания скользящего разряда используется плоская диэлектрическая пластина, использование части керамической трубки уменьшает поперечный размер диэлектрика примерно в π/2 раз (как при свертывании листа в полутрубку). Это позволяет реализовать предлагаемое размещение двух идентичных систем зажигания скользящего разряда по обе стороны электрода и обеспечить за счет их компактности характеристики газового потока, требуемые для высокостабильной работы лазера с высокой частотой повторения импульсов. При этом установка двух идентичных систем зажигания скользящего разряда по обеим сторонам электрода лазера повышает однородность предыонизации, обеспечивая, в отличие от прототипа, ее симметричность относительно плоскости, включающей в себя продольные оси электродов - 3, 4. Установка каждой системы зажигания скользящего разряда таким образом, что каждая точка разрядной зоны лазера оптически связана, по крайней мере, с частью поверхности керамической трубки, используемой для зажигания скользящего разряда, обеспечивает отсутствие в зоне разряда областей, обедненных начальными электронами. Это позволяет, в отличие от прототипа, эффективно увеличивать объем разряда и энергию генерации лазера. При этом компактность предыонизатора и разрядной системы в целом позволяет минимизировать индуктивность разрядного контура для получения высокой энергии генерации с максимально высокой эффективностью, что снижает эксплуатационные расходы лазера.

[26]

Выполнение диэлектрического слоя в виде части керамической трубки, наряду с компактностью предыонизатора, обеспечивает относительную простоту технологии его изготовления. При этом выполнение керамической трубки тонкостенной необходимо для обеспечения высокой однородности скользящего разряда. Использование Al2O3керамики в качестве материала диэлектрической трубки обеспечивает высокое время жизни как предыонизатора, так и газовой смеси лазера, в частности эксимерного, содержащей высокоагрессивные компоненты, такие как F2, HCl. Таким образом, в отличие от аналогов с искровой предыонизацией, возможность достижения высоких энергии и средней мощности лазерного излучения реализуется при обеспечении высокого времени жизни газовой смеси, что снижает эксплуатационные расходы лазера.

[27]

Использование для предыонизации системы зажигания скользящего разряда, реализуемого в виде однородного протяженного плазменного листа на поверхности диэлектрического слоя, позволяет осуществлять однородную по активному объему лазера предыонизацию при ее оптимально высоком уровне, реализуемом за счет возможности регулировки энерговклада в завершенный скользящий разряд, что обеспечивает высокую эффективность мощного газоразрядного лазера.

[28]

В отличие от прототипа компактность предыонизатора, выполненного в предложенном виде, позволяет установить его по обе стороны первого электрода, расположенного со стороны стенки корпуса лазера без увеличения индуктивности разрядного контура. В данном варианте реализации устройства, по сравнению с прототипом, упрощается конструкция лазера и облегчается формирование высокоскоростного однородного потока газа между электродами, что позволяет повысить частоту повторения разрядных импульсов и среднюю мощность лазера.

[29]

Таким образом, выполнение разрядной системы газового лазера в предложенном виде повышает энергию генерации и среднюю мощность излучения газового лазера, упрощает его конструкцию и снижает затраты на получение энергии генерации.

[30]

Использованные источники информации.

[31]

1. Patent US 6,757,315 B1. Int. Cl7 H01S 3/22. 19.10.2000.

[32]

2. V M Borisov, D Basting, U Stamm, et al, "Compact 600-W KrF laser". Quantum Electron, 1998, 28 (2), pp.119-122.

[33]

3. V. Borisov, I. Bragin. High-Energy Lasers. In Excimer Laser Technology. Ed. by D. Basting, G. Marowsky. Springer-Verglas Berlin Heidelberg (2005).

[34]

4. Patent WO 2004/013940, Int. Cl7 H01S 3/00. 28.07.2003.

Как компенсировать расходы
на инновационную разработку
Похожие патенты