патент
№ RU 2678617
МПК B60S3/04

КОМПЛЕКСНАЯ МОЕЧНАЯ УСТАНОВКА ДЛЯ ТРАНСПОРТНЫХ СРЕДСТВ

Авторы:
Грачев Вадим Владимирович
Номер заявки
2018107551
Дата подачи заявки
01.03.2018
Опубликовано
30.01.2019
Страна
RU
Как управлять
интеллектуальной собственностью
Чертежи 
6
Реферат

Изобретение относится к комплексному сервисному оборудованию, преимущественно применяемому для мойки внутренних помещений железнодорожных вагонов. Многофункциональный комплекс технического обслуживания транспортных средств содержит моечное оборудование, включающее средство автоматической подачи моющих средств, систему автоматического управления моечным оборудованием и бак для сбора жидкости. Многофункциональный комплекс выполнен корпусным, разделенным на связанные между собой технологические участки в виде моечной секции, секции автоматического управления, секции контроля и управления доступом, канализационной секции и секции хранения. Моечная секция содержит упомянутое моечное оборудование, включающее централизованный оборудованный водопровод, производящий подачу холодной или горячей и холодной воды и упомянутое средство автоматической подачи моющих средств. Секция автоматического управления содержит упомянутую систему автоматического управления моечным оборудованием и блок с контактными колодками, предохранителями, органами управления и кабельными вводами для наружных кабелей управления и/или электропитания. Секция контроля и управления доступом содержит программно-аппаратные технические средства безопасности, производящие мониторинг и управление доступа к содержимому секций. Канализационная секция содержит упомянутый бак для сбора жидкости, систему вакуумной централизованной канализации и систему подогрева воды. Секция хранения содержит участок/участки для хранения сервисных приспособлений и силовой электрический разъем. Обеспечивается расширение функциональных возможностей. 8 з.п. ф-лы, 6 ил.

Формула изобретения

1. Многофункциональный комплекс технического обслуживания транспортных средств, содержащий моечное оборудование, включающее средство автоматической подачи моющих средств, систему автоматического управления моечным оборудованием и бак для сбора жидкости, отличающийся тем, что он выполнен корпусным, разделенным на связанные между собой технологические участки в виде моечной секции, секции автоматического управления оборудованием технологических участков, секции контроля и управления доступом к оборудованию технологических участков, канализационной секции и секции хранения, при этом указанная моечная секция содержит упомянутое моечное оборудование, включающее центральный водопровод, производящий подачу холодной и/или горячей воды, и упомянутое средство автоматической подачи моющих средств, указанная секция автоматического управления оборудованием технологических участков содержит упомянутую систему автоматического управления моечным оборудованием и блок с контактными колодками, предохранителями, органами управления и кабельными вводами для наружных кабелей управления и/или электропитания, указанная секция контроля и управления доступом к оборудованию технологических участков содержит программно-аппаратные технические средства безопасности, служащие для управления доступом к содержимому секций, указанная канализационная секция содержит упомянутый бак для сбора жидкости с системой подогрева сточной воды, систему вакуумной централизованной канализации, а также систему подогрева поступающей воды из центрального водопровода, а указанная секция хранения содержит участок/участки для хранения сервисных приспособлений и силовой электрический разъем.

2. Многофункциональный комплекс по п. 1, отличающийся тем, что корпусным, разделенным на секции является герметичный технический шкаф.

3. Многофункциональный комплекс по п. 2, отличающийся тем, что дверки технического шкафа снабжены сигнализацией открытия и оснащены электромеханическими замками.

4. Многофункциональный комплекс по п. 3, отличающийся тем, что программно-аппаратные технические средства безопасности секции контроля и управления доступом к оборудованию технологических участков содержат систему мониторинга положения дверок технического шкафа, взаимосвязанную с сигнализацией открытия дверок технического шкафа.

5. Многофункциональный комплекс по п. 2, отличающийся тем, что стенки, двери, крыша и пол технического шкафа оснащены теплоизоляционными слоями.

6. Многофункциональный комплекс по п. 2, отличающийся тем, что технический шкаф изготовлен из нержавеющей стали с полимерным покрытием.

7. Многофункциональный комплекс по п. 2, отличающийся тем, что секции технического шкафа оснащены электрообогревом.

8. Многофункциональный комплекс по п. 1, отличающийся тем, что он оснащен светодиодным освещением.

9. Многофункциональный комплекс по п. 1, отличающийся тем, что в состав моечного оборудования моечной секции входит смеситель из нержавеющей стали, раковина, запорный кран, механический фильтр грубой очистки, регулятор давления, реле давления, электромагнитный клапан и силовой электрический разъем.

Описание

[1]

Область техники

[2]

Предлагаемое изобретение относится к комплексному сервисному оборудованию, преимущественно применяемому для мойки внутренних помещений железнодорожных вагонов, подготовки моющих растворов для очистки частей и элементов поезда, хранения сервисных приспособлений, таких как уборочный инвентарь (пылесосы–рюкзаки, моющие пылесосы, чистящие принадлежности), зарядки аккумуляторов пылесосов–рюкзаков и пр.

[3]

Уровень техники

[4]

Из уровня техники известна конструкция для хранения чистящих приспособлений, выполненная в виде шкафа (см. KR20160063942, кл. A47B81/02, публ. 2016г. [1]).

[5]

Данная конструкция выполнена в виде технического корпусного шкафа с распашными дверцами, разделенного на секции, предназначенные для различных уборочных и чистящих средств, а также туалетных и иных принадлежностей. При этом одна из секций выполнена с возможностью функционального обслуживания уборочного инвентаря.

[6]

Упомянутое функциональное обслуживание заключается в возможности ручного отжима водонаполненных уборочных ветошей или аналогичных предметов, путем помещения их в оборудованное в нижней части секции механическое устройство для удаления влаги, которая стекает посредством дренажного элемента наружу.

[7]

Кроме того, в этой же секции над механическим устройством для удаления влаги предусмотрен дополнительный выдвижной в верхнюю сторону внешний сушильный механизм для различного рабочего влагосодержащего уборочного инструмента.

[8]

Недостатками известной конструкции можно считать крайне низкий уровень ее технологичности, обусловленный наличием механизмов, функционирующих исключительно в ручном режиме с отсутствием возможности автоматизации процессов уборки, чистки и обслуживания, а также довольно узкую область применения, ограниченную использованием конструкции в отапливаемых помещениях исключительно бытового назначения и при этом не имея возможности оперативного перемещения конструкции к необходимому участку работы, например на другой этаж здания.

[9]

Кроме того, существует необходимость обустройства подключения к дренажной трубе накопительного бака или аналогичных приспособлений или как вариант осуществлять установку конструкции в непосредственной близости от канализационных коммуникаций, что также снижает функциональные показатели и ограничивает возможности использования.

[10]

Из уровня техники известен уборочный стационарный комплекс, выполненный в виде промышленного корпусного пылесоса (см. JP2016055086, кл. A47B81/02, публ. 2016г. [2]).

[11]

Корпусный пылесос [2] разделен на различные по назначению секции, в том числе секцию хранения чистящих средств/приспособлений и секцию электротехнического оборудования.

[12]

Согласно данной конструкции в ее корпусе также предусмотрена секция хранения всасываемой пылесосом пыли и мелких фрагментов мусора.

[13]

Известная конструкция предназначена для уборки специализированных технических помещений и преимущественно ориентирована для проведения только одного вида уборочного мероприятия, такого как сухая уборка без возможности проведения, например, влажной уборки или чистки поверхностей сжатым воздухом и т.д.

[14]

Возможности эффективного применения также не велики и ограничиваются исключительно работой с поверхностями, не требующими какой-либо дополнительной обработки, например влажной, тепловой или инфракрасной.

[15]

Таким образом, данный уборочный комплекс функционально ограничен, область его использования специфическая и достаточно узкая, в связи с чем, он может быть мало востребован на рынке.

[16]

Кроме того, ввиду нестандартной и специфической конструкции данного пылесоса [2] его серийное производство и изготовление запасных частей для него сопряжено с повышенными энергетическими и трудовыми затратами, что в свою очередь существенно повысит стоимость выпускаемых изделий и поставит под сомнение целесообразность их изготовления.

[17]

Наиболее близким аналогом предлагаемого изобретения является многофункциональное устройство технического обслуживания транспортных средств (см. RU2579137, кл. B08B3/00, публ. 2016г. [3]).

[18]

Известное многофункциональное устройство технического обслуживания транспортных средств содержит моечное оборудование, включающее средство автоматической подачи моющего раствора, систему автоматического управления моечным оборудованием и бак для сбора жидкости.

[19]

Данное устройство технического обслуживания обладает достаточно широким функционалом моющих способностей, однако, ему присущи следующие недостатки:

[20]

- с эргономической точки зрения пользоваться данным средством не вполне удобно, поскольку необходимые сервисные приспособления расположены на достаточно низком уровне и не упорядоченно, что потребует дополнительных усилий для доступа к ним и их активации;

[21]

- установка не имеет корпуса, следовательно, оборудование не защищено от попадания влаги, коррозии, механических повреждений, а также от других видов внешнего воздействия;

[22]

- конструкция установки предусматривает удержание пользователя находящегося на ее рабочей площадке, однако, получаемое сооружение весьма неустойчивое и при небрежном использовании возможно его опрокидывание;

[23]

- установка не подключена к центральному водопроводу и центральной канализации, что существенно ограничивает ее моющие способности;

[24]

- установку возможно эффективно использовать только в технических помещениях, в частности в ремонтных депо, где есть ровные напольные поверхности;

[25]

- установка преимущественно предназначена для работы в ремонтном депо определенного типа, при этом, ее конструкция не унифицирована и соответственно не приспособлена для работы в ремонтных депо конструкции и оборудование, которых не одинаково;

[26]

- установку невозможно использовать при отрицательных температурах окружающего воздуха.

[27]

Раскрытие изобретения

[28]

Задачей (технической проблемой) предлагаемого изобретения является создание многофункционального комплекса технического обслуживания транспортных средств, обладающего высокими эксплуатационными характеристиками.

[29]

Техническим результатом предлагаемого изобретения, который объективно проявляется при его использовании, является расширение функциональных возможностей при обслуживании транспортных средств, преимущественно заключающихся в возможности эффективной и быстрой комплексной уборке, мойке и чистке транспортных средств, в частности, подразумевающих контролируемый в автоматическом режиме оперативный и точный подбор необходимых моющих средств, оперативную подачу горячей или холодной воды в выбранное место, эргономичный и быстрый доступ к функционально подготовленным сервисным приспособлениям и управляющему оборудованию, быстрый поиск необходимых инструментов и сервисного оборудования, а также удобное управление функционированием моечного оборудования, возможность пользования неограниченным количеством воды, удаляемой при помощи центральной канализации, возможность оперативного подключения дополнительного электронного уборочного оборудования, что в свою очередь повышает технологичность, производительность и качество проведения уборочных и чистящих/моющих работ.

[30]

Указанный технический результат, решающий поставленную задачу (техническую проблему) достигается в результате того, что многофункциональный комплекс технического обслуживания транспортных средств содержит моечное оборудование, включающее средство автоматической подачи моющих средств, систему автоматического управления моечным оборудованием и бак для сбора жидкости, при этом комплекс выполнен корпусным, разделенным на связанные между собой технологические участки в виде моечной секции, секции автоматического управления оборудованием технологических участков, секции контроля и управления доступом к оборудованию технологических участков, канализационной секции и секции хранения, при этом указанная моечная секция содержит упомянутое моечное оборудование, включающее центральный водопровод, производящий подачу холодной и/или горячей воды и упомянутое средство автоматической подачи моющих средств, указанная секция автоматического управления оборудованием технологических участков содержит упомянутую систему автоматического управления моечным оборудованием и блок с контактными колодками, предохранителями, органами управления и кабельными вводами для наружных кабелей управления и/или электропитания, указанная секция контроля и управления доступом к оборудованию технологических участков содержит программно-аппаратные технические средства безопасности, служащие для управления доступом к содержимому секций, указанная канализационная секция содержит упомянутый бак для сбора жидкости с системой подогрева сточной воды, систему вакуумной централизованной канализации, а также систему подогрева поступающей воды из центрального водопровода, а указанная секция хранения содержит участок/участки для хранения сервисных приспособлений и силовой электрический разъем.

[31]

По наиболее предпочтительному варианту изготовления предлагаемого изобретения корпусным, разделенным на секции является герметичный технический шкаф.

[32]

В частном предпочтительном варианте изготовления изобретения дверки технического шкафа снабжены сигнализацией открытия и оснащены электромеханическими замками.

[33]

Является целесообразным если программно-аппаратные технические средства безопасности секции контроля и управления доступом к оборудованию технологических участков содержат систему мониторинга положения дверок технического шкафа взаимосвязанной с сигнализацией открытия дверок технического шкафа.

[34]

По одному из частных вариантов исполнения изобретения стенки, двери, крыша и пол технического шкафа оснащены теплоизоляционными слоями.

[35]

Как правило, технический шкаф изготавливается из нержавеющей стали с полимерным покрытием.

[36]

Секции технического шкафа могут быть оснащены электрообогревом.

[37]

Предлагаемый многофункциональный комплекс может быть оснащен светодиодным освещением.

[38]

Наиболее целесообразно, если в состав моечного оборудования моечной секции входит раковина и смеситель из нержавеющей стали, а также термостат, осуществляющий контроль температуры входящей воды, регулятор давления, обеспечивающий контроль давления в системе и защищающий электромагнитный клапан и подключаемое оборудование от скачков давления, например гидроударов, реле давления, информирующее о недостаточном давлении в системе, электромагнитный клапан, автоматически закрывающий вход поступающей воды из централизованного водопровода при заполнении бака для сбора жидкости, тепловентилятор, осуществляющий подогрев всего отсека с моечным оборудованием, датчик температуры, контролирующий температуру в секциях многофункционального комплекса, розетки, дозатор моющих растворов.

[39]

Выполнение предлагаемого многофункционального комплекса технического обслуживания сделано корпусным, с разделением на связанные (взаимодействующие) между собой технологические участки в виде секций, в которых в зависимости от назначения распределяется все необходимое для работы оборудование, что позволяет обеспечить быстрый и удобный доступ к необходимым сервисным принадлежностям, а также к управляющим системам комплекса для организации функционирования и выбора режимов работ моечного оборудования.

[40]

Снабжение секций предлагаемого многофункционального комплекса центральным водопроводом, а также автоматически управляемым моечным оборудованием, включающим средство автоматической подачи моющих средств, позволяет при необходимости беспрепятственно использовать большие объемы воды, подача, которых регулируется автоматикой, а также, корректно подбирать и удобно набирать в отдельные внешние емкости различные автоматически пополняющиеся технические моющие средства, например, моющие растворы для определенных видов загрязнений, что в свою очередь способствует к проведению высокоэффективных и производительных чистящих/моющих работ.

[41]

Благодаря наличию программно-аппаратных технических средств безопасности производится постоянный мониторинг работоспособности оборудования секций, а также осуществляется непрерывный контроль доступа к ним повышается технологичность эксплуатации комплекса и соответственно качество проведения уборочных и чистящих/моющих работ, поскольку своевременно сигнализируются возможные неисправности, отсутствие или повреждение какого-либо компонента или сервисной принадлежности, а также иные виды неисправности или неточности работы управляющих систем и другого технического оборудования.

[42]

Наличие вакуумной центральной канализационной системы повышает удобство использования многофункционального комплекса, осуществляя беспрепятственное удаление отработанной воды, а также при определенной необходимости удаляя отработанную воду у обслуживаемых транспортных средств.

[43]

Система подогрева входящей воды предлагаемого многофункционального комплекса применяется в случае перебоев централизованной подачи горячей воды или ее отсутствия, что повышает технологичность работы в случае возникновения такой ситуации.

[44]

Секция хранения сервисных принадлежностей позволяет хранить в ней, например, автономные пылесосы-рюкзаки, роботы-пылесосы и другие чистящие электрические приборы, производить их обслуживание, заряжать аккумуляторы, а также при необходимости подключать к электросети дополнительное внешнее оборудование для уборки.

[45]

Таким образом, указанные признаки предлагаемого многофункционального комплекса технического обслуживания транспортных средств образуют совокупность существенных признаков необходимых для достижения технического результата, заключающегося в расширении функциональных возможностей при обслуживании транспортных средств, заключающихся в возможности эффективной и быстрой комплексной уборке транспортных средств, что обеспечивает создание многофункционального комплекса технического обслуживания транспортных средств, обладающего высокими эксплуатационными характеристиками.

[46]

Краткое описание чертежей

[47]

На фиг. 1 представлен вид предлагаемого многофункционального комплекса с фронтальной стороны.

[48]

На фиг. 2 представлен вид предлагаемого многофункционального комплекса с тыльной стороны.

[49]

На фиг. 3 представлен вид предлагаемого многофункционального комплекса с фронтальной стороны с открытой секцией автоматического управления оборудованием технологических участков и с открытой канализационной секцией.

[50]

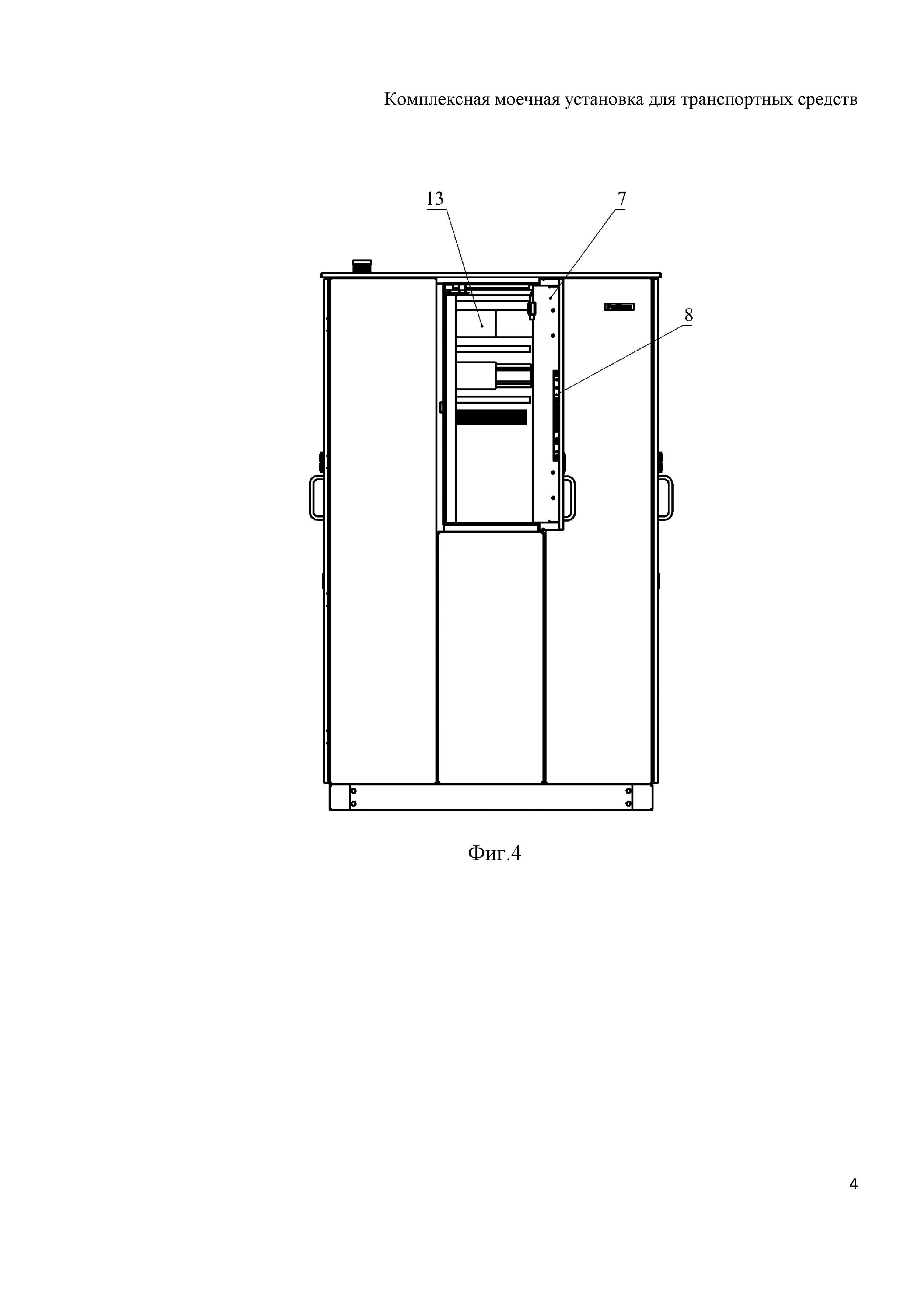
На фиг. 4 представлен вид предлагаемого многофункционального комплекса с тыльной стороны с открытой секцией контроля и управления доступом к оборудованию технологических участков.

[51]

На фиг. 5 представлен вид предлагаемого многофункционального комплекса сбоку со стороны открытой секцией хранения.

[52]

На фиг. 6 представлен вид предлагаемого многофункционального комплекса сбоку со стороны открытой моечной секции.

[53]

Осуществление изобретения

[54]

Предлагаемое изобретение поясняется конкретным примером выполнения, который, однако, не является единственно возможными, но наглядным образом демонстрирует достижение указанной совокупностью существенных признаков технического результата, который решает поставленную перед изобретением задачу (техническую проблему).

[55]

На фиг. 1 – фиг. 6 числовыми позициями обозначены следующие средства и элементы предлагаемого изобретения:

[56]

1 – корпус многофункционального комплекса;

[57]

2 – секция хранения;

[58]

3 – секция автоматического управления оборудованием технологических участков (САУ);

[59]

4 – секция канализации;

[60]

5 – моечная секция;

[61]

6 – секция контроля и управления доступом к оборудованию технологических участков (СКУД);

[62]

7 – распашные дверцы корпуса;

[63]

8 – электромеханические замки дверок;

[64]

9 – сигнальная лампа;

[65]

10 – система автоматического управления моечным оборудованием;

[66]

11 – бак для сбора жидкости, включающий систему вакуумной центральной канализации с системой подогрева сточной воды;

[67]

12 – средство электрообогрева;

[68]

13 – программно-аппаратные технические средства безопасности;

[69]

14 – полки для хранения сервисных принадлежностей;

[70]

15 – силовой электрический разъем;

[71]

16 – средство автоматической раздачи моющих средств;

[72]

17 – система подогрева поступающей воды из центрального водопровода;

[73]

18 – раковина;

[74]

19 – смеситель;

[75]

20 – центральный водопровод;

[76]

21 – запорный кран;

[77]

22 – механический фильтр грубой очистки;

[78]

23 – регулятор давления;

[79]

24 – реле давления;

[80]

25 – электромагнитный клапан;

[81]

26 – датчик температуры.

[82]

Согласно предлагаемому изобретению многофункциональный комплекс технического обслуживания транспортных средств выполнен корпусным, т.е. содержит корпус 1, разделенный на взаимодействующие между собой технологические участки в виде моечной секции 5, секции автоматического управления 3 оборудованием технологических участков (CАУ), секции контроля и управления доступом 6 к оборудованию технологических участков (СКУД), канализационной секции 4 и секции хранения 2.

[83]

При этом указанная моечная секция 5 предлагаемого многофункционального комплекса технического обслуживания транспортных средств содержит моечное оборудование, включающее, в частности, средство автоматической подачи моющих средств 16, центральный водопровод 20, смеситель 19, раковину 18, запорный кран 21, механический фильтр грубой очистки 22, регулятор давления 23, реле давления 24, электромагнитный клапан 25, и силовой электрический разъем 15.

[84]

Указанная секция автоматического управления 3 оборудованием технологических участков (CАУ) содержит упомянутую систему автоматического управления моечным оборудованием 10 и блок с контактными колодками, предохранителями, органами управления и кабельными вводами для наружных кабелей управления и/или электропитания.

[85]

Указанная секция контроля и управления доступом 6 к оборудованию технологических участков (СКУД) содержит программно-аппаратные технические средства безопасности 13, производящие мониторинг и управление доступа к содержимому секций.

[86]

Указанная канализационная секция 4 содержит упомянутый бак для сбора жидкости 11 с системой подогрева сточной воды, включающий систему вакуумной центральной канализации, а также систему подогрева поступающей воды 17 из централизованного водопровода.

[87]

Указанная секция хранения 2 содержит полки 14 для хранения сервисных принадлежностей и силовой электрический разъем 15.

[88]

Предлагаемый многофункциональный комплекс оснащен также сигнальной лампой 9.

[89]

Многосекционный корпус 1 содержит распашные дверки 7 с сигнализацией открытия, снабженными электромеханическими замками 8.

[90]

Многосекционный корпус 1 изготовлен из нержавеющей стали с полимерным покрытием.

[91]

Секции многосекционного корпуса 1 оборудованы средствами электрообогрева 12 и датчиками температуры 26, контролирующие температуру в отсеках многофункционального комплекса.

[92]

Осуществляется предлагаемое изобретение следующим образом.

[93]

Предлагаемый комплекс технического обслуживания транспортных средств устанавливается вне помещений, в расчетных позициях на помостах для обслуживания вблизи стоящих поездов, в частности, для обеспечения моечным оборудованием и емкостями на дорожках для обслуживания ремонтного депо.

[94]

Многосекционный корпус 1 многофункционального комплекса изготавливается в зимнем исполнении с теплоизоляцией.

[95]

Предлагаемый многофункциональный комплекс надежно устанавливается на предварительно залитую бетоном в фундамент закладную раму.

[96]

Многофункциональный комплекс технического обслуживания транспортных средств является корпусным, т.е. содержит теплоизоляционный корпус 1, который разделен на взаимодействующие между собой технологические участки в виде секций, в которых в зависимости от назначения распределяется все необходимое для работы исполнительное и управляющее оборудование, что позволяет получать быстрый и удобный доступ к оборудованию, в зависимости от конкретной потребности, а именно к системе управления оборудованием, в частности, к системе автоматического управления моечным оборудованием 10, к непосредственно моечному оборудованию, в частности, такому как центральный водопровод 20, раковина 18, смеситель 19, средство автоматической подачи моющих средств 16, запорный кран 21, механический фильтр грубой очистки 22, регулятор давления 23, реле давления 24, электромагнитный клапан 25, и силовой электрический разъем 15, к контролирующему оборудованию, в частности такому, как программно-аппаратные технические средства безопасности 13, к канализационному оборудованию, в частности к баку для сбора жидкости 11, включающий систему вакуумной центральной канализации с системой подогрева сточной воды и систему подогрева поступающей воды 17, а также к сервисному оборудованию такому, как пылесосы-рюкзаки и к другим чистящим/моющим приспособлениям, хранящимся и обслуживающимся в секции хранения 2, которая дополнительно оборудована силовым разъемом 15 для возможности электрического подключения дополнительного внешнего оборудования.

[97]

Снабжение секций предлагаемого многофункционального комплекса оборудованным центральным водопроводом 20, к которому подключен смеситель 19, а также автоматически управляемым моечным оборудованием, включающим систему подогрева поступающей воды 17, а также средство автоматической подачи моющих средств 16, позволяет при необходимости беспрепятственно использовать большие объемы воды при любой окружающей температуре, подача, которой регулируется автоматикой, а также, корректно подбирать и удобно набирать в отдельные внешние емкости различные автоматически пополняющиеся технические моющие средства, например, моющие растворы для определенных видов загрязнений, что в свою очередь способствует к проведению высокоэффективных и производительных чистящих/ моющих работ.

[98]

Ввиду наличия программно-аппаратных технических средств безопасности 13 производится постоянный мониторинг работоспособности оборудования секций, а также осуществляется непрерывный контроль доступа к ним, повышается технологичность эксплуатации комплекса и соответственно качество проведения уборочных и чистящих/моющих работ, поскольку своевременно сигнализируются возможные неисправности, отсутствие или повреждение какого-либо компонента или сервисной принадлежности, а также иные виды неисправности или неточности работы управляющих систем и другого технического оборудования.

[99]

Наличие бака для сбора жидкости 11 с датчиком уровня и вакуумной центральной канализационной системой, повышает удобство использования многофункционального комплекса, осуществляя беспрепятственное удаление отработанной воды, а также при определенной необходимости позволяет удалять отработанную воду у обслуживаемых транспортных средств.

[100]

Система подогрева поступающей воды 17 применяется, как правило, в случае перебоев централизованной подачи горячей воды, что повышает технологичность работы в случае возникновения такой ситуации или при полном отсутствии горячей воды в централизованной системе подачи воды.

[101]

Регулятор давления 23 применяется, как правило, для контроля давления в системе, в случае гидроударов для защиты, как электромагнитного клапана 25, так и подключаемого оборудования к системе.

[102]

Реле давления 24 применяется, как правило, для оповещения, что в системе недостаточное давление.

[103]

Электромагнитный клапан 25 применяется, как правило, для того, чтобы автоматически перекрыть поступление воды из централизованного водопровода 20 в бак для сбора жидкости при заполнении бака и срабатывания датчиков уровня.

[104]

Запорный кран 21 применяется, как правило, для того, чтобы перекрыть поступление воды из централизованного водопровода 20 в систему, для возможности осуществления технологического обслуживания.

[105]

Механический фильтр грубой очистки 22 применяется, как правило, для того, чтобы удалять крупные частицы грязи и песка для того, чтобы не повредить подключаемое к системе оборудование или мембрану электромагнитного клапана.

[106]

Секция хранения 2 (сервисных принадлежностей) позволяет хранить в ней, например, автономные пылесосы-рюкзаки, роботы-пылесосы и другие чистящие электрические приборы, производить их обслуживание, заряжать аккумуляторы, а также при необходимости подключать к электросети посредством силового разъема 15 дополнительное внешнее оборудование для уборки.

[107]

Состояние дверей 7 непрерывно отслеживается для подтверждения закрытия секций при отсутствии их использования, а именно если дверь 7 открыта - выдается сигнал тревоги, выводящийся на сигнальную лампу 9.

[108]

Средство электрообогрева 12 применяется, как правило, для того, чтобы подогревать все секции многофункционального комплекса технического обслуживания при отрицательных температурах окружающей среды, чтобы предотвратить замерзание жидкостей, находящихся внутри комплекса. Температура в секциях контролируется датчиками температуры 26.

[109]

Предлагаемое изобретение найдет широкое применение в промышленности, а именно в области технического предпочтительно уборочно-моечного обслуживания транспортных средств, преимущественно рельсовых.

Как компенсировать расходы
на инновационную разработку
Похожие патенты