патент
№ RU 2603972
МПК H02K55/04

СВЕРХПРОВОДНИКОВАЯ ТРАНСМИССИЯ

Авторы:
Калитка Владислав Сергеевич
Номер заявки
2015136375/07
Дата подачи заявки
27.08.2015
Опубликовано
10.12.2016
Страна
RU
Как управлять
интеллектуальной собственностью
Чертежи 
2
Реферат

Изобретение относится к электротехнике, а именно к электрической трансмиссии со сверхпроводящими обмотками. Сверхпроводниковая трансмиссия включает: входной вал и входной электромеханический преобразователь, содержащий статор с многофазными обмотками и ротор, установленный на входном валу, по меньшей мере один выходной вал и по меньшей мере один выходной электромеханический преобразователь, содержащий статор с многофазными обмотками и ротор, установленный на выходном валу; термоизолированный контейнер, обеспечивающий температурный режим сверхпроводящего состояния размещенных в нем обмоток статоров входного и выходного электромеханических преобразователей и кабеля, выполненных из сверхпроводящего материала и соединенных в единый электрический контур. Техническим результатом изобретения является повышение КПД и снижение массогабаритных параметров трансмиссии за счет уменьшения электрических потерь в проводниках. 9 з.п. ф-лы, 2 ил.

Формула изобретения

1. Сверхпроводниковая трансмиссия, характеризующаяся тем, что включает:
входной вал и входной электромеханический преобразователь, содержащий статор с многофазными обмотками и ротор, установленный на входном валу,
по меньшей мере один выходной вал и по меньшей мере один выходной электромеханический преобразователь, содержащий статор с многофазными обмотками и ротор, установленный на выходном валу,
по меньшей мере один кабель, соединяющий статоры упомянутых преобразователей, и
контейнер, термоизолированный от внешней среды и выполненный с возможностью реализации в нем температурного режима, поддерживающего сверхпроводящее состояние проводников,
где обмотки статоров входного и выходного электромеханических преобразователей и кабель выполнены из сверхпроводящего материала и представляют собой единый электрический контур, размещенный в упомянутом контейнере.

2. Трансмиссия по п. 1, характеризующаяся тем, что упомянутый контейнер представляет собой криостат.

3. Трансмиссия по п. 1, характеризующаяся тем, что дополнительно содержит криокуллер, охлаждающие элементы которого размещены в упомянутом контейнере.

4. Трансмиссия по п. 3, характеризующаяся тем, что контейнер представляет собой вакуумную камеру.

5. Трансмиссия по п. 1, характеризующаяся тем, что контейнер выполнен с возможностью создания различных температурных зон для обмоток статоров входного и выходного электромеханических преобразователей и кабеля.

6. Трансмиссия по п. 1, характеризующаяся тем, что кабель и обмотки статоров входного и выходного электрических преобразователей выполнены из сверхпроводников второго поколения.

7. Трансмиссия по п. 1, характеризующаяся тем, что входной электромеханический преобразователь представляет собой генератор.

8. Трансмиссия по п. 1, характеризующаяся тем, что выходной электромеханический преобразователь представляет собой электрический двигатель.

9. Трансмиссия по п. 1, характеризующаяся тем, что включает один выходной электромеханический преобразователь, при этом число обмоток статора входного электромеханического преобразователя отлично от числа обмоток статора выходного преобразователя.

10. Трансмиссия по п. 1, характеризующаяся тем, что роторы входного и выходного электромеханических преобразователей расположены в одном контейнере со статорами, а валы выведены из контейнера.

Описание

[1]

Область техники

[2]

Изобретение относится к областям сверхпроводниковых технологий, а именно к технологии передачи механического вращения через преобразование его в электрическую энергию, и может быть использовано в транспортных системах, энергетических установках, в частности ветрогенераторах, в бурильных установках и т.п.

[3]

Предшествующий уровень техники

[4]

В самом общем случае под трансмиссией понимается совокупность агрегатов для передачи крутящего момента от входного вала на выходной с возможностью изменения тяговых усилий, скоростей и направления движения (изменения направления, сил, моментов и скоростей).

[5]

В предшествующем уровне техники представлены трансмиссии (передачи) нескольких видов.

[6]

Под механической трансмиссией понимается механизм, служащий для передачи и преобразования механической энергии от энергетической машины до исполнительного механизма (органа) одного или более, как правило, с изменением характера движения. Как правило, используется передача вращательного движения.

[7]

К недостаткам механической передачи можно отнести сложность организации передачи вращения на большие расстояния, а также большие массогабаритные характеристики. Зачастую мощная механическая передача требует регулярного дорогостоящего обслуживания и частого ремонта.

[8]

Электрическая трансмиссия обеспечивает передачу тягового усилия от первичного двигателя к движителю или исполнительному органу, используя электрически соединенные электрогенератор и электродвигатель.

[9]

К недостаткам таких систем относится то, что их масса также значительно растет с увеличением мощности, что ограничивает их круг применения. Кроме того, на низких скоростях работы такой тип передачи отличается невысоким КПД.

[10]

Частично эти недостатки устраняются электрической трансмиссией, в которой часть компонентов заменена на сверхпроводящие. Сверхпроводящие сегменты позволяют повысить КПД и снизить массогабаритные характеристики, однако токовводы в криогенном объеме создают значительный приток тепла, увеличивая нагрузку на холодильную систему, что приводит к меньшей эффективности по сравнению с полностью сверхпроводящей системой.

[11]

Имеется значительное число патентов, в которых технические решения направлены на замену некоторых компонентов трансмиссии на сверхпроводниковые.

[12]

В частности, эти замены касаются выполнения элементов ротора. В патенте RU 2256280 ротор состоит из однополярных относительно якорной обмотки магнитных полюсов на основе сверхпроводников. А в заявке US 2010029392 раскрывается устройство для передачи крутящего момента, которое включает ротор, установленный на валу со сверхпроводящими обмотками, которые выполнены с возможностью их охлаждения для поддержания сверхпроводящего состояния.

[13]

Сверхпроводящими компонентами электрических машин также могут быть элементы статоров.

[14]

В патенте RU 2086067 описывается синхронная электрическая машина со сверхпроводниковыми обмотками, которая содержит ротор со сверхпроводниковой обмоткой возбуждения и статор с низкотемпературным сосудом и сверхпроводниковой обмоткой якоря. Сверхпроводниковая обмотка якоря расположена внутри низкотемпературного сосуда, заполненного жидким хладагентом.

[15]

Как следует из описания к патенту, обеспечивается высокая экономичность и высокий КПД машины, что связано практически с отсутствием потерь и тепловыделений в элементах статора от переменных магнитных полей машины.

[16]

Однако такой результат не является бесспорным: при передаче крутящего момента на некоторое расстояние на принимающее устройство (например, мотор) используются обычные электрические провода, которые являются источником омических потерь. Для низкооборотных систем, работающих на малых напряжениях, эти потери значительно ограничивают спектр применения. При использовании только одной сверхпроводниковой машины будут возникать значительные потери мощности на токовводах, которые сильно увеличат нагрузку на криогенную систему, что приведет к значительному падению эффективности ввиду невысокого КПД криохолодильников.

[17]

Раскрытие изобретения

[18]

Задачей изобретения является устранение присущих известным техническим решениям недостатков, в частности повышение КПД трансмиссии.

[19]

Дополнительные задачи и преимущества изобретения будут понятны из описания, приведенного ниже.

[20]

Поставленная задача решается сверхпроводниковой трансмиссией, включающей:

[21]

входной вал и входной электромеханический преобразователь, содержащий статор с многофазными обмотками и ротор, установленный на входном валу,

[22]

по меньшей мере один выходной вал и по меньшей мере один выходной электромеханический преобразователь, содержащий статор с многофазными обмотками и ротор, установленный на выходном валу,

[23]

по меньшей мере один кабель, соединяющий статоры упомянутых преобразователей, и

[24]

контейнер, термоизолированный от внешней среды и выполненный с возможностью реализации в нем температурного режима, поддерживающего сверхпроводящее состояние проводников,

[25]

где обмотки статоров входного и выходного электромеханических преобразователей и кабель выполнены из сверхпроводящего материала и представляют собой единый электрический контур, размещенный в упомянутом контейнере.

[26]

В частных воплощениях изобретения поставленная задача решается трансмиссией, в которой упомянутый контейнер представляет собой криостат.

[27]

В иных воплощениях изобретения трансмиссия может дополнительно содержать криокуллер, охлаждающие элементы которого размещены в упомянутом контейнере.

[28]

В этом случае в трансмиссии контейнер может представлять собой вакуумную камеру.

[29]

Контейнер в трансмиссии может быть выполнен с возможностью создания различных температурных зон для обмоток статоров входного и выходного электромеханических преобразователей и кабеля.

[30]

Желательно, чтобы в трансмиссии кабель и обмотки статоров входного и выходного электрических преобразователей были выполнены из сверхпроводников второго поколения.

[31]

Входной электромеханический преобразователь трансмиссии может представлять собой генератор.

[32]

Выходной электромеханический преобразователь трансмиссии может представлять собой электрический двигатель.

[33]

Трансмиссия может включать один выходной электромеханический преобразователь, при этом число обмоток статора входного электромеханического преобразователя будет отлично от числа обмоток статора выходного преобразователя.

[34]

Роторы входного и выходного электромеханических преобразователей трансмиссии могут быть расположены в одном контейнере со статорами, а валы могут быть выведены из контейнера.

[35]

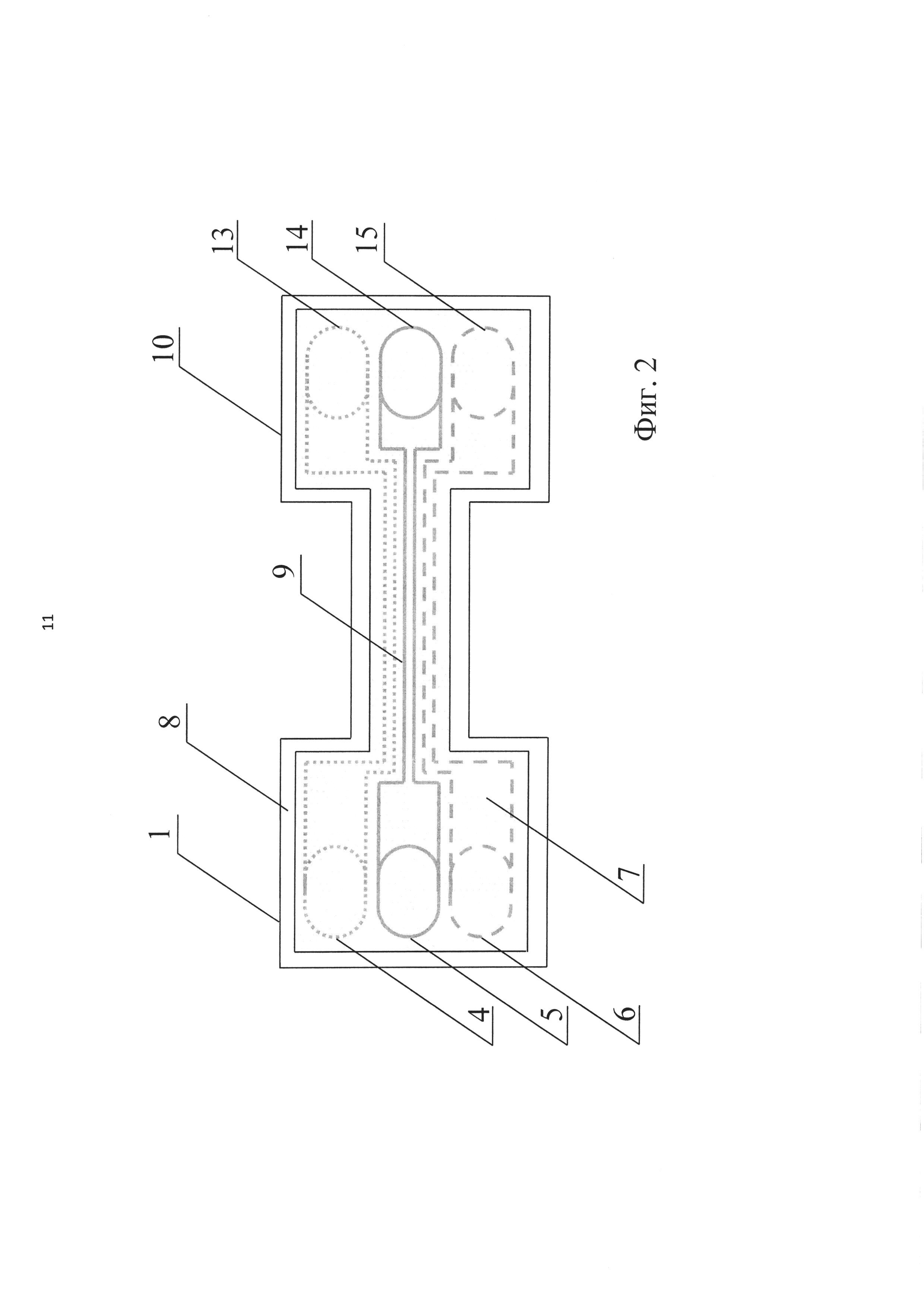
На фиг. 1 приведена принципиальная схема трансмиссии.

[36]

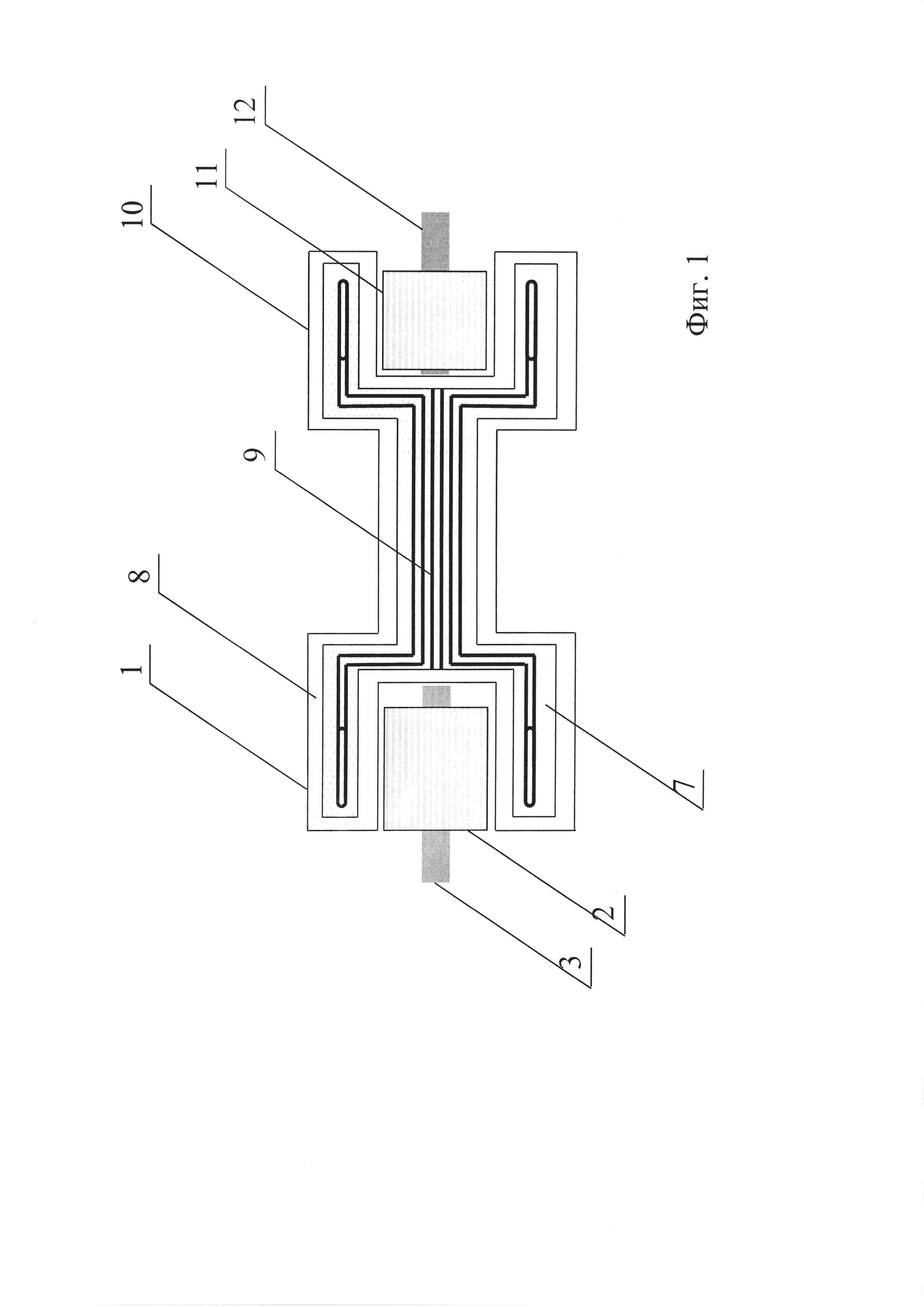
На фиг. 2 приведена схема соединения обмоток статоров входного и выходного электрических преобразователей.

[37]

Позиции на чертежах означают следующее.

[38]

1 - входной электромеханический преобразователь;

[39]

2 - ротор входного электромеханического преобразователя;

[40]

3 - входной вал;

[41]

4, 5, 6 - обмотки статора входного электромеханического преобразователя, соответственно с фазами А, В и С;

[42]

7 - контейнер для поддержания температурного режима (криостат);

[43]

8 - теплоизолирующий слой;

[44]

9 - кабель;

[45]

10 - выходной электромеханический преобразователь;

[46]

11 - ротор выходного электромеханического преобразователя;

[47]

12 - выходной вал;

[48]

13, 14, 15 - обмотки статора выходного электромеханического преобразователя, соответственно с фазами А, В и С.

[49]

Сущность изобретения состоит в следующем.

[50]

Основной задачей любой трансмиссии служит передача механического вращения для обеспечения работы какого-либо механизма, т.е. заявленная сверхпроводниковая трансмиссия представляет собой систему, передающую вращение с одного своего вала на один или несколько других. Для этого на валах трансмиссии установлены магнитные системы (роторы), взаимодействующие с системой сверхпроводящих обмоток статоров, преобразующих вращение входного вала в электрическую энергию. Эта энергия передается на статор (статоры) выходного электромеханического преобразователя/преобразователей, которые с помощью магнитных сил приводят в движение другой ротор (роторы), закрепленный на выводном валу (валах) системы.

[51]

В сверхпроводящей системе можно выделить три основных зоны: обмотки, которые возбуждаются магнитной системой входного вала (генераторные обмотки), проводники, осуществляющие передачу электроэнергии и обмотки, которые приводят в движение выходной вал (валы) трансмиссии (двигательные обмотки).

[52]

Поскольку в системе используются сверхпроводниковые провода, соединяемые между собой с помощью низкоомных спаев, КПД системы получается близким к 100%, т.к. вся электроэнергия, преобразованная из магнитных сил магнитной системы входного вала, передается практически без потерь для питания обмоток, приводящих в движение выходной вал (валы). Ввиду отсутствия электрического сопротивления в проводниках передачу энергии можно осуществлять на большие расстояния без снижения эффективности передачи.

[53]

Предложенная сверхпроводниковая трансмиссия может представлять собой трансмиссию транспортных средств, в которой объединены генератор, кабель и электрический двигатель (мотор). При этом статор генератора, кабель и статор мотора выполнены в виде единого неразрывного сверхпроводникового контура, находящегося в общем криостате. Трансмиссия может выполнять также функцию редуктора, что достигается кратным увеличением количества обмоток в генераторной или двигательной части, в результате чего один поворот входного вала может быть равен нескольким (или доле) оборота выходного вала.

[54]

В других аспектах изобретения трансмиссия может применяться в электрогенерирующих системах, в частности в ветрогенераторах для передачи вращения от воздушного винта к генератору с или без изменения числа оборотов в секунду выходного вала. Возможно применение трансмиссии при потребности обеспечить высокую мощность вращения выходного вала в малом габарите, например в буровых работах или погружных насосах.

[55]

Работа устройства

[56]

На фиг. 1 приведена принципиальная схема сверхпроводниковой трансмиссии, а на фиг. 2 - схема соединения обмоток статоров входного и выходного электрических преобразователей.

[57]

Входной электромеханический преобразователь 1, выполненный, например, в виде синхронного генератора, включает ротор 2, установленный на входном валу 3.

[58]

Статор генератора представляет из себя несколько сверхпроводниковых обмоток 4, 5 и 6 с ферромагнитным сердечником или без него.

[59]

Обмотки статора 4, 5, 6 (см. фиг. 2) выполнены с помощью сверхпроводящего провода и находятся в разных фазах, условно отнесенных к фазам А, В и С. Число фаз может быть отлично от трех.

[60]

Количество обмоток подбирается исходя из количества полюсов ротора электрической машины точно так же, как при проектировании несверхпроводникового устройства.

[61]

Обмотки в наилучших воплощениях изобретения могут быть выполнены из сверхпроводниковой ленты 2 поколения, в частности, лента включает подложку, например, из сплава на основе никеля, последовательно расположенные буферные слои - из оксида алюминия, манганита лантана, оксида магния и оксида церия и т.д., сверхпроводящий слой на основе гадолиний-бариевого купрата, слой серебра и слой меди.

[62]

В зависимости от предполагаемых условий работы генератора лента может быть дополнительно модифицирована, например покрыта изоляционным слоем, ламинирована дополнительным слоем металла для электрической и термической стабилизации или покрыта гальванически дополнительным слоем меди. Характеристики сверхпроводниковой ленты подбираются для обеспечения максимального критического тока при температуре и магнитных полях, которые будут воздействовать на обмотки в процессе эксплуатации.

[63]

Ротор генератора 2 может быть собран как из постоянных магнитов, так и с обмотками с внешним возбуждением.

[64]

Обмотки статора 4, 5 и 6 находятся контейнере 7, теплоизолированном от внешней среды (криостате) теплоизолирующим слоем 8. Охлаждение обмоток статора выполняется либо с помощью заполнения контейнера 7 хладагентом (например, жидким азотом, жидким водородом, жидким или газообразным гелием), либо посредством физического контакта с помощью теплопроводного материала обмоток статора с охлаждающим элементом криокулера (не показан).

[65]

В последнем случае в некоторых аспектах изобретения обмотки могут располагаться в вакуумированном контейнере.

[66]

Количество обмоток статора подбирается в соответствии с количеством полюсов ротора.

[67]

Обмотки статора генератора 4, 5 и 6 с помощью пайки подсоединяются к жилам сверхпроводникового кабеля 9, который передает вырабатываемую входным электромеханическим преобразователем (генератором) 1 электроэнергию.

[68]

Токи обмоток, работающих в одной фазе, могут быть объединены параллельно в одну жилу кабеля 9 или же могут передаваться по независимым жилам.

[69]

Если в системе к генератору подключен только один мотор, то кабель тянется непосредственно до него, если же моторов несколько, то кабель разделяется на несколько питающих отдельные моторы. Для питания нескольких моторов жилы кабеля распаиваются на несколько параллельных жил.

[70]

В зависимости от соотношения полюсов статора мотора и генератора обмотки мотора могут подключаться как несколько параллельно к одной жиле кабеля, так и одна обмотка мотора может подключаться к нескольким параллельным жилам кабеля, работающим в одной фазе.

[71]

Обмотки статора 4, 5 и 6 подключаются (припаиваются или механически прижимаются) к концам сверхпроводникового кабеля 9. Кабель 9 имеет ряд изолированных друг от друга жил, по которым передается ток от обмоток, работающих в разных фазах. Проводники кабеля также выполняются с использованием сверхпроводящего провода и также располагаются в криостате 7.

[72]

Холодные объемы криостатов 7 кабеля и обмоток статора генератора объединяются без перехода к комнатным температурам.

[73]

Сверхпроводящий кабель 9 подводится к выходному электромеханическому преобразователю 10, в качестве которого может быть использован электрический двигатель (мотор), который включает ротор 11, установленный на выходном валу 12. Кабель 9 подключается к обмоткам выходного электромеханического преобразователя 13, 14, 15.

[74]

Если моторов в системе несколько, то в кабеле делается соединительная муфта (не показана), в которой в контейнере 7 с хладагентом жилы кабеля распараллеливаются на несколько кабелей, каждый к отдельному мотору.

[75]

Статоры входного электромеханического преобразователя 1 и выходного преобразователя 10, а также кабель 9 располагаются в общем криостате 7 с возможностью создания в нем общей или раздельных температурных зон. Таким образом все три части системы могут находиться как при одной температуре и охлаждаться единым контуром, так и входной и выходной электропреобразователи 1 и 10 могут быть отделены от кабеля 9 и могут эксплуатироваться при другой температуре с другим контуром охлаждения.

[76]

Главным требованием к системе является то, чтобы все три компонента находились в сверхпроводящем состоянии. Охлаждение каждого из сегментов может обеспечиваться как отдельным контактным криокулером, так и посредством непрерывного прокачивания хладагента.

[77]

При этом возможны различные варианты размещения роторов и валов в трансмиссии. Роторы 2 и 4 могут быть расположены вне контейнера 7 с хладагентом (фиг. 1 и 2), но могут располагаться непосредственно в контейнере 7 вместе со статорами. В последнем случае валы 3 и 12 выводят за область контейнера.

[78]

Устройство работает следующим образом.

[79]

Вся система охлаждается до температуры перехода в сверхпроводящее состояние. Это охлаждение осуществляется либо внешней охлаждающей установкой (криокулером), либо путем заливки криогенной жидкости непосредственно в контейнер 7.

[80]

Система готова к работе, когда все сверхпроводящие участки остыли до номинальной температуры и перешли в сверхпроводящее состояние.

[81]

В результате при вращении вала 3 ротора генератора 2 в обмотках статора генератора 4, 5 и 6 вырабатывается электрический ток, который по кабелю 9 передается в мотор 10 и создает в обмотках 13, 14 и 15 статора мотора 10 магнитное поле, проворачивающее ротор 11.

[82]

За счет того что все сверхпроводники расположены в криогенной среде, сверхпроводники обладают околонулевым электрическим сопротивлением, на пути от генератора до мотора практически не происходит диссипации электроэнергии. Это позволяет добиться очень высокого КПД передачи вращения.

[83]

Возможности использования изобретения

[84]

Приведение в движение транспортных средств

[85]

На сегодняшний день применяются два варианта реализации трансмиссии:

[86]

Механическая, когда вращение от двигателя передается на движитель с помощью механической передачи с или без редуктора;

[87]

Электрическая, когда двигатель вращает генератор, который передает электроэнергию на электромотор(ы), который(е) обеспечивает(ют) привод движителя(ей).

[88]

Вариант электрической трансмиссии может применяться эффективно только при высоких оборотах генератора. Также для больших мощностей традиционные трансмиссии обладают очень большими массогабаритными характеристиками.

[89]

Предложенная сверхпроводниковая трансмиссия позволяет повысить КПД (эффект особенно высок для систем, работающих на низких оборотах) и существенно снизить массогабаритные параметры для крупных машин.

[90]

Ветрогенераторы

[91]

Без использования сверхпроводниковых решений существует ограничение на максимальную мощность турбины, связанное прежде всего с ограничением по массе генератора и низкими оборотами лопастей генератора, ввиду чего требуется установка тяжелого механического редуктора.

[92]

Использование сверхпроводниковой трансмиссии, например, в соответствии с п. 9 формулы изобретения позволит сильно снизить удельную (на киловатт мощности) массу установки, поднимаемой на мачту ветряка, таким образом сделав возможным изготовить генератор значительно большей мощности. Также использование сверхпроводниковой трансмиссии позволит отказаться от тяжелого и требующего регулярного обслуживания механического редуктора, что повысит эффективность применения ветряных генераторов.

[93]

Буровые работы

[94]

В настоящее время применяется очень тяжелая механическая передача вращения на бур. Применение сверхпроводниковой трансмиссии способно значительно увеличить мощность и КПД установки.

Как компенсировать расходы
на инновационную разработку
Похожие патенты