патент
№ RU 2521130
МПК G01F23/00

ДАТЧИК УРОВНЯ ЖИДКОСТИ

Авторы:
Павельев Николай Михайлович Пантелеев Александр Михайлович Козекаева Елена Алексеевна
Все (4)
Номер заявки
2012144481/28
Дата подачи заявки
18.10.2012
Опубликовано
27.06.2014
Страна
RU
Как управлять
интеллектуальной собственностью
Чертежи 
1
Реферат

Изобретение относится к устройствам для контроля уровня жидкости и может быть использовано для контроля уровня различных жидкостей в аппаратах, емкостях и сосудах стационарных и подвижных установок. Сущность изобретения заключается в том, что полость поплавка заполняется гранулами с низкой плотностью вещества, например вспененным полиэтиленом, соединение датчика с емкостью выполнено в виде байонетного соединения, обеспечивающего точное расположение оси поворота поплавка в горизонтальном положении, а разная длина пазов байонетного соединения исключает возможность неправильной установки датчика. Технический результат - обеспечение работоспособности датчика при потере герметичности поплавка, строгое позиционирование поплавка в вертикальном положении при установке датчика. 1 ил.

Формула изобретения

Датчик уровня жидкости, содержащий колодку с разъемом, корпус с герконом, поплавок с установленным магнитом, отличающийся тем, что поплавок является сборным, поплавок заполнен гранулами с низкой плотностью вещества, соединение датчика с емкостью выполнено в виде байонетного соединения, ось поплавка установлена в горизонтальное положение, а датчик зафиксирован уплотнительными кольцами, соединение датчика с емкостью выполнено в виде байонетного соединения с разной длиной дуги паза.

Описание

[1]

Изобретение относится к устройствам для контроля уровня жидкости и может быть использовано для контроля уровня различных жидкостей в аппаратах, емкостях и сосудах стационарных и подвижных установок.

[2]

Известны переключатели с магнитоуправляемыми контактами с угловым перемещением магнита относительно неподвижного геркона (Харазов К.И. Переключатели с магнитоуправляемыми контактами. - М.: Энергия, 1978, стр.44-45). Геркон - сокращение от «герметичный (магнитоуправляемый) контакт» - элемент, механически замыкающий или размыкающий электрическую цепь при должном изменении напряженности магнитного поля. В горизонтальных поплавковых сигнализаторах уровня поплавок с магнитом закреплен на шарнире, а геркон находится в корпусе датчика. В этом случае датчик-реле уровня монтируется в боковую стенку емкости. При достижении жидкостью уровня датчика магнит воздействует на геркон и цепь замыкается.

[3]

Из уровня техники известны герконовые датчики уровня жидкости фирмы Crydom серии RSF горизонтального исполнения (конструкция аналогична описанному в К.И.Харазов Устройства автоматики с магнитоуправляемыми контактами. - М.: Энергоиздат, 1990, с.215-216).

[4]

Поплавковые датчики уровня жидкости конструктивно состоят из подвижного магнита, перемещение которого осуществляется поплавком, и магниточувствительных герконовых контактов. Геркон срабатывает при приближении магнита, датчик выдает сигнал переключения. При снижении уровня жидкости магнит опускается, возвращая контакты в первоначальное положение.

[5]

К недостаткам датчика уровня жидкости Crydom можно отнести то, что крепление датчика к емкости осуществляется с помощью резьбового соединения без строгой фиксации положения оси поплавка в горизонтальном положении.

[6]

Известен сигнализатор уровня жидкости (авт.свид. №1742628, кл. G01F 23/56), в котором поплавок с установленным на нем магнитом перемещается по вертикальной немагнитной трубе и происходит включение геркона, что фиксируется как изменение уровня жидкости.

[7]

Существенным недостатком данного сигнализатора является неоднозначность информации об уровне жидкости. Так, при выходе магнита из взаимодействия с герконом невозможно однозначно определить поднялся или понизился уровень жидкости. Кроме того, датчик не обеспечивает контроля пределов регулирования уровня жидкости.

[8]

Известен датчик уровня жидкости (патент US 6195013 B1, кл. G08B 21/00), имеющий поплавки, магнит, геркон, электрический разъем и байонетное соединение для закрепленияе датчика к емкости.

[9]

Недостатком данного датчика является сложность конструкции, в частности конструкция датчика требует вертикальную его установку, наличие трубы, в которой расположены поплавки, и использование нескольких поплавков.

[10]

Наиболее близким по технической сущности к заявляемой является датчик уровня жидкости Crydom (прототип), включающий корпус с резьбой, геркон, магнит и поплавок с угловым перемещением магнита относительно неподвижного геркона.

[11]

К недостаткам прототипа можно отнести то, что при монтаже датчика при использовании резьбы требуется выставить ось поворота поплавка в горизонтальном положении, сложность конструкции не обеспечивает надежность в эксплуатации при негерметичности поплавка, нетехнологичность монтажа.

[12]

Задачей, решаемой изобретением, является повышение технологичности монтажа датчика и повышение надежности эксплуатации.

[13]

Технический результат: обеспечивается установка и фиксация датчика в положении, когда ось поворота поплавка ориентирована горизонтально; фиксация датчика обеспечивается за счет применения резиновых уплотнительных колец; обеспечивается надежность в эксплуатации при негерметичности поплавка.

[14]

Технический результат достигается тем, что поплавок датчика является сборным, поплавок заполнен гранулами с низкой плотностью вещества, например вспененным полиэтиленом, присоединение датчика к емкостьи выполнено в виде байонетного соединения, ось поплавка установлена в горизонтальное положение, а датчик зафиксирован уплотнительными кольцами. Возможность неправильной установки датчика исключается применением разной длины дуги паза байонетного соединения и выступов разной ширины в корпусе емкости.

[15]

Заполнение полости поплавка гранулами с низкой плотностью вещества обеспечивает надежность работоспособности датчика при эксплуатации в случае нарушения герметичности поплавка. Байонетное соединение датчика с емкостью обеспечивает простоту установки датчика и служит для точного горизонтального расположения оси поворота поплавка. Разная длина дуги паза байонетного соединения исключает установку датчика в неправильном положении. Для фиксации и уплотнения датчика с емкостью служат уплотнительные кольца.

[16]

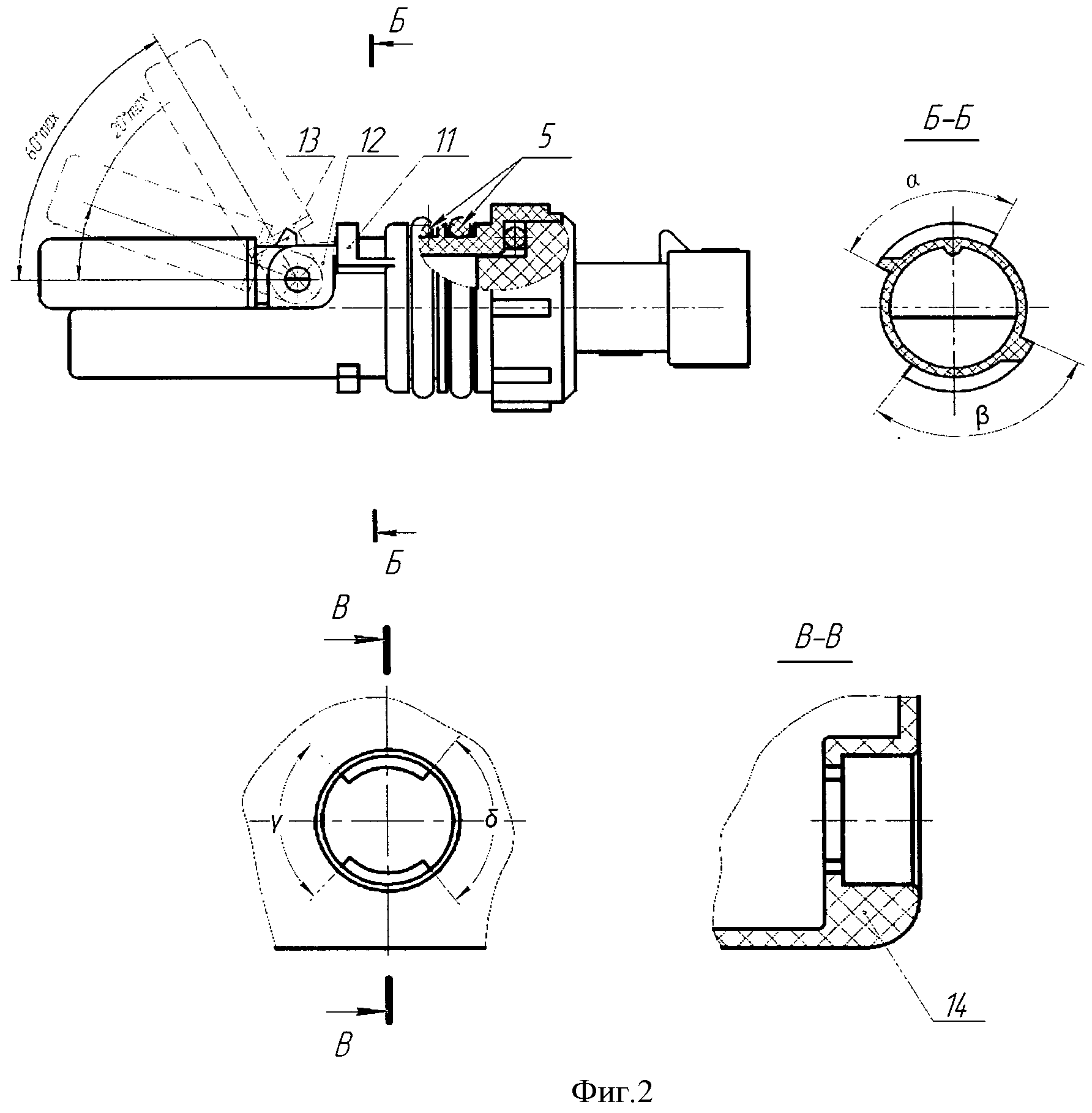
На фиг.1 и фиг.2 показана схема датчика уровня жидкости.

[17]

Датчик состоит из:

[18]

- колодки поз.1 (разъем колодки является аналогом разъема колодки 282101-1 AMP Superseal 1,5 SRS), имеющей контакты поз.9, и установленное на посадочной части колодки уплотнительное кольцо поз.6;

[19]

- корпуса поз.2 с расположенным в полости корпуса магнитоуправляемым контактным узлом - герконом поз.8 и установленными на корпус уплотнительными кольцами поз.5;

[20]

- колпачка поплавка поз.3 с установленным магнитом поз.7 и заполненного гранулами поз.10 с низкой плотностью вещества и пробки колпачка поз.4, имеющей осевые направляющие поз.12 в корпусе поз.2 для обеспечения свободного перемещения поплавка, и ограничитель поз.13, ограничивающий максимальный угол отклонения поплавка;

[21]

- байонетного соединения поз.11 датчика с емкостью поз.14 с длинами дуг пазов на корпусе датчика α и β и соответствующие им выступы на корпусе емкости с длинами дуг 7 и 6.

[22]

Датчик устанавливается в боковой стенке расширительного бачка с охлаждающей жидкостью или емкости. Датчик должен обеспечивать размыкание и замыкание электрической цепи постоянного тока не более 1А номинальным напряжением 12В и не более 0,5А с номинальным напряжением 24В, а также при изменении напряжения от 90 до 125% от номинального значения. Замыкание контактов датчика должно происходить самостоятельно при снижении уровня охлаждающей жидкости, определяемой риской «min», и не иметь «ложных» срабатываний при торможении автомобиля и езде по неровной дороге. Зона замыкания контактов геркона составляет 20° max.

[23]

В датчиках уровня жидкости поплавкового типа в качестве коммутирующего элемента используются герконы. При достижении жидкостью уровня размещения датчика поплавок со встроенным магнитом поднимается вместе с уровнем жидкости и замыкает или размыкает контакты геркона.

[24]

Таким образом, заявляемый датчик уровня жидкости обеспечивает более точное определение уровня жидкости, более простой в установке и более надежный.

Как компенсировать расходы
на инновационную разработку
Похожие патенты