патент
№ RU 2363591
МПК B29C59/02

СПОСОБ ГОРЯЧЕГО НАНЕСЕНИЯ ГОЛОГРАММ И УСТРОЙСТВО ДЛЯ ЕГО ОСУЩЕСТВЛЕНИЯ

Авторы:
Хайрулин Фарит Халиулович
Номер заявки
2008135480/12
Дата подачи заявки
03.09.2008
Опубликовано
10.08.2009
Страна
RU
Как управлять
интеллектуальной собственностью
Чертежи 
3
Реферат

Изобретение относится к области полиграфической продукции и может быть использовано при изготовлении полиграфической продукции, защищаемой от подделок, с использованием заявленных способа и устройства горячего нанесения голограмм. Устройство содержит модуль горячего нанесения, образованный рабочим цилиндром и опорным цилиндром. Цилиндры установлены так, что их оси расположены в одной вертикальной плоскости. Каждый из цилиндров снабжен приводными зубчатыми венцами, взаимодействующими между собой и обеспечивающими синхронное взаимно противоположное вращение цилиндров. Устройство имеет ведущие валы протяжки полотна заготовки полиграфической продукции и ведущие валы протяжки ленты голограмм. Валы перемещают полотно заготовки и ленту голограмм с использованием системы автоматического управления и системы автоматической синхронизации посредством вспомогательных и опорных валов в устройстве и через модуль горячего нанесения плоскопараллельно между собой. Рабочий цилиндр выполнен полым и снабжен системой подогрева с размещением в полости цилиндра циркулирующего внутри него теплоносителя, и системой его подачи и отвода. Для обеспечения двухтактного метода позиционирования ленты голограмм по отношению к полотну заготовки устройство снабжено вакуумными боксами с функцией буферов, размещенных по обе стороны модуля горячего нанесения голограмм по ходу протяжки полотна заготовки и ленты голограмм, внутри которых размещена и пропущена с припуском лента голограмм. Вакуумные боксы с функцией буферов снабжены оптическими датчиками приближения для предотвращения механического контакта поверхност�

Формула изобретения

1. Способ горячего нанесения голограмм, заключающийся в том, что полотно заготовки полиграфической продукции, защищаемой от подделок, вместе с лентой голограмм посредством ведущих валов, снабженных приводом, с использованием системы автоматического управления и системы автоматической синхронизации, протягивают плоскопараллельно между собой через модуль горячего нанесения голограмм, образованный рабочим цилиндром и опорным цилиндром, установленными так, что их оси расположены в одной вертикальной плоскости, имеющим систему подогрева в виде циркулирующего внутри рабочего цилиндра теплоносителя, и систему его подачи и отвода, и вращающимися синхронно за счет взаимодействующих друг с другом приводных зубчатых венцов на каждом из них с возможностью обеспечения их синхронного взаимно противоположного вращения так, что линейная скорость протяжки полотна заготовки полиграфической продукции, защищаемой от подделок, отлична от линейной скорости протяжки ленты голограмм при одновременном совпадении линии центров голограмм на ленте голограмм с продольной линией центров места голограмм на полотне заготовки, причем полотно заготовки полиграфической продукции, защищаемой от подделок, вместе с лентой голограмм протягивают в плоскости, перпендикулярной вертикальной плоскости, проходящей через оси рабочего и опорного цилиндров, определяют точность позиционирования оттиска голограммы по поверхности полотна заготовки по контрастным меткам, нанесенным при печати полотна заготовки на его поверхность, путем считывания их оптическим сенсором контрастных меток, преобразуют сигнал оптического сенсора контрастных меток в электрические импульсы с последующим использованием преобразованных электрических импульсов в качестве опорных сигналов системы автоматической синхронизации, определяют с помощью системы автоматической синхронизации наличие и величину рассогласования положения рабочего цилиндра относительно заданного участка полотна заготовки, устраняют с помощью системы автоматического управления величину рассогласования положения рабочего цилиндра относительно заданного участка полотна заготовки в начале каждого цикла, причем устранение рассогласования положения рабочего цилиндра относительно заданного участка полотна заготовки осуществляют до получения очередного опорного импульса, при этом выполняют определение местоположения метки синхронизации системы автоматического управления, нанесенной на ленту голограмм, оптическим сенсором синхронизации так, что в процессе работы каждую метку синхронизации дважды проводят перед сенсором синхронизации с определением при первом прохождении в «прямом направлении» величины рассогласования центров изображения голограммы по отношению к контактной поверхности тиснильных колец рабочего цилиндра, а при втором прохождении в обратном направлении с подачей ленты голограмм под контактную поверхность тиснильных колец рабочего цилиндра с учетом рассогласования, причем, осуществляют компенсацию длины ленты голограмм при обратном ее перемещении в конце первого такта за счет использования вакуумных боксов, выполняющих функции буферов, размещенных по обе стороны модуля горячего нанесения голограмм по ходу протяжки полотна заготовки и ленты голограмм, путем втягивания в них и выпуска из них ленты голограмм, размещенной и пропущенной в вакуумных боксах с функцией буферов с припуском так, что в начале первого такта ленту голограмм перемещают в «прямом направлении» до момента считывания сенсором синхронизации метки синхронизации, а затем реверсируют направление движения ленты голограмм и перемещают ее в обратном направлении, и проводят горячее нанесение голограмм на поверхность полотна заготовки полиграфической продукции, защищаемой от подделок, путем воздействия на ленту голограмм горячей от циркулирующего внутри цилиндров теплоносителя контактной поверхностью рабочего цилиндра со взаимодействием его с опорным цилиндром через полотно заготовки и переносом голограмм на поверхность полотна заготовки.

2. Способ горячего нанесения голограмм по п.1, отличающийся тем, что полотно заготовки протягивают через модуль горячего нанесения равномерно.

3. Способ горячего нанесения голограмм по п.1, отличающийся тем, что задают линейную скорость протяжки полотна заготовки полиграфической продукции, защищаемой от подделок, большей, чем линейную скорость протяжки ленты голограмм.

4. Способ горячего нанесения голограмм по п.1, отличающийся тем, что устранение рассогласования положения рабочего цилиндра относительно заданного участка полотна заготовки проводят в течение не более чем трех полных циклов работы системы автоматического управления и по недостижении устранения рассогласования в течение не более чем трех полных циклов работу устройства останавливают, при этом цикл работы системы автоматического управления определяют по периоду повторения опорных сигналов системы автоматической синхронизации.

5. Способ горячего нанесения голограмм по п.1, отличающийся тем, что контрастные метки, нанесенные при печати полотна заготовки на его поверхность для определения точности позиционирования оттиска голограммы по поверхности полотна заготовки путем считывания их оптическим сенсором контрастных меток, наносят на край полотна заготовки при ее печати.

6. Устройство горячего нанесения голограмм, содержащее модуль горячего нанесения, образованный рабочим цилиндром и опорным цилиндром, установленными так, что их оси расположены в одной вертикальной плоскости, каждый из которых снабжен приводными зубчатыми венцами, взаимодействующими между собой и обеспечивающими синхронное взаимно противоположное их вращение, ведущие валы протяжки полотна заготовки полиграфической продукции, защищаемой от подделок, с приводом и ведущие валы протяжки ленты голограмм с приводом, перемещающие полотно заготовки и ленту голограмм с использованием системы автоматического управления и системы автоматической синхронизации посредством вспомогательных и опорных валов в устройстве и через модуль горячего нанесения плоско-параллельно между собой в плоскости, перпендикулярной вертикальной плоскости, проходящей через оси рабочего и опорного цилиндров так, что линейная скорость протяжки полотна заготовки полиграфической продукции, защищаемой от подделок, отлична от линейной скорости протяжки ленты голограмм при одновременном совпадении линии центров голограмм на ленте голограмм с продольной линией центров места голограмм на полотне заготовки, при этом рабочий цилиндр снабжен тиснильными кольцами, имеющими контактные поверхности с заданными формами их контуров и расстоянием между ними по длине окружности тиснильных колец, рабочий цилиндр выполнен полым и снабжен системой подогрева с размещением в полости рабочего цилиндра циркулирующего внутри него теплоносителя, и системой его подачи и отвода, а для обеспечения двухтактного метода позиционирования ленты голограмм по отношению к полотну заготовки устройство снабжено вакуумными боксами с функцией буферов, размещенных по обе стороны модуля горячего нанесения голограмм по ходу протяжки полотна заготовки и ленты голограмм, внутри которых размещена и пропущена с припуском лента голограмм, и снабженных оптическими датчиками приближения для предотвращения механического контакта поверхностей ленты голограмм и внутренних поверхностей вакуумных боксов, причем система протяжки ленты голограмм дополнительно снабжена реверсивным приводным валом, установленным с возможностью обеспечения возвратно-поступательного движения ленты голограмм на участке между вакуумными боксами, при этом устройство снабжено оптическим сенсором контрастных меток полотна заготовки и оптическим сенсором синхронизации метки синхронизации, нанесенной на ленту голограмм.

7. Устройство горячего нанесения голограмм по п.6, отличающееся тем, что линейная скорость протяжки полотна заготовки полиграфической продукции, защищаемой от подделок, выше, чем линейная скорость протяжки ленты голограмм.

8. Устройство горячего нанесения голограмм по п.6, отличающееся тем, что ведущие валы протяжки полотна заготовки полиграфической продукции, защищаемой от подделок, выполнены перемещающими полотно заготовки равномерно.

9. Устройство горячего нанесения голограмм по п.6, отличающееся тем, что привод ведущих валов протяжки полотна заготовки выполнен в виде электродвигателей каждый.

10. Устройство горячего нанесения голограмм по п.6, отличающееся тем, что подача и отвод циркулирующего внутри рабочего цилиндра теплоносителя осуществляется через осевую вращающуюся блок-муфту.

11. Устройство горячего нанесения голограмм по п.6, отличающееся тем, что тиснильные кольца рабочего цилиндра выполнены сменными.

12. Устройство горячего нанесения голограмм по п.6, отличающееся тем, что вакуумные боксы с функцией буферов для обеспечения двухтактного метода позиционирования ленты голограмм по отношению к полотну заготовки выполнены идентичными.

13. Устройство горячего нанесения голограмм по п.6, отличающееся тем, что лента голограмм размещена и пропущена с припуском в вакуумных боксах с функцией буферов с изменением направления движения ее протяжки на противоположное.

14. Устройство горячего нанесения голограмм по п.6, отличающееся тем, что разрежение в вакуумных боксах с функцией буферов обеспечивается с помощью осевых центробежных воздушных насосов.

15. Устройство горячего нанесения голограмм по п.6, отличающееся тем, что привод реверсивного приводного вала протяжки ленты голограмм выполнен в виде реверсивного серводвигателя.

16. Устройство горячего нанесения голограмм по п.6, отличающееся тем, что синхронное взаимно-противоположное вращение цилиндров модуля горячего тиснения осуществляется от ведущей приводной шестерни, кинематически связанной с приводом.

17. Устройство горячего нанесения голограмм по п.6, отличающееся тем, что контрастные метки, нанесенные при печати полотна заготовки на его поверхность для определения точности позиционирования оттиска голограммы по поверхности полотна заготовки, нанесены на край полотна заготовки.

Описание

[1]

Изобретение относится к области полиграфической продукции и может быть использовано при изготовлении полиграфической продукции, защищаемой от подделок, с использованием метода горячего нанесения голограмм.

[2]

Из существующего уровня техники известны, например, способ и устройство перфорирования лент, карточек и подобной продукции посредством пуансона и матрицы, в котором есть два вращающиеся с одинаковой окружной скоростью барабанообразные матрица и пуансонодержатель (см. СССР, А.С. №142089, кл. 43а, 1960 г.).

[3]

Также известно устройство, реализующее способ, имеющее два вращающихся валика, один из которых несет пуансон, а другой - матрицы (см. СССР, А.С. №196022, МПК В21D 1/00, 1967 г.).

[4]

Известно также устройство создания перфорированных лент, состоящее из основания, подпружиненных валиков, взаимодействующих с эксцентриковым валом, пару тянульных валиков, совершающих прерывистое вращательное движение при помощи мальтийского креста, взаимодействующего с кривошипом эксцентрикового вала, и двух катушек, одна из которых служит для разматываемого рулона, а другая - для намотки лент (см. СССР, А.С. №142650, кл. 15е, 1961 г.)

[5]

Наиболее близким техническим решением, выбранным за прототип для способа горячего нанесения голограмм, и реализующего его устройства является способ и устройство для нанесения маркировки на заготовке или полотне материала, содержащее два смонтированных с возможностью вращения валика - шлифовальный и матричный, в котором валики установлены с возможностью регулирования расстояния между ними, причем матричный валик имеет на наружной поверхности выступы, а частота вращения шлифовального валика превышает частоту вращения матричного валика (см. СССР, патент №1669394 A3, МПК В65В 61/02, 1985 г.).

[6]

Достижению требуемого технического результата как в указанных выше аналогах, так и в выбранном прототипе для способа и устройства препятствует то, что в них невозможно обеспечить высокую степень защиты полиграфической продукции от подделок, а также технологически обеспечить точность нанесения защитных меток на поверхность защищаемой от подделок полиграфической продукции.

[7]

Задачей, на решение которой направлено заявленное изобретение, является создание устройства, реализующего способ, позволяющий обеспечить высокую степень защиты полиграфической продукции от подделок с одновременным повышением точности нанесения защитных меток.

[8]

К техническим результатам, получаемым при реализации заявленного изобретения, можно отнести повышение степени защиты полиграфической продукции, улучшение технологичности процесса нанесения защитных меток, а также повышение скорости, точности и надежности нанесения защитных меток с одновременным обеспечением непрерывности процесса нанесения защитных меток на полиграфическую продукцию.

[9]

Поставленная задача решается, а технический результат достигается по первому объекту изобретения - способу горячего нанесения голограмм - тем, что согласно изобретению в способе полотно заготовки полиграфической продукции, защищаемой от подделок, вместе с лентой голограмм посредством ведущих валов, снабженных приводом, с использованием системы автоматического управления и системы автоматической синхронизации протягивают плоскопараллельно между собой через модуль горячего нанесения голограмм, образованный рабочим цилиндром и опорным цилиндром, установленными так, что их оси расположены в одной вертикальной плоскости, имеющим систему подогрева в виде циркулирующего внутри рабочего цилиндра теплоносителя, и систему его подачи и отвода, и вращающимися синхронно за счет взаимодействующих друг с другом приводных зубчатых венцов на каждом из них с возможностью обеспечения их синхронного взаимно противоположного вращения так, что линейная скорость протяжки полотна заготовки полиграфической продукции, защищаемой от подделок, отлична от линейной скорости протяжки ленты голограмм при одновременном совпадении линии центров голограмм на ленте голограмм с продольной линией центров места голограмм на полотне заготовки, причем полотно заготовки полиграфической продукции, защищаемой от подделок, вместе с лентой голограмм протягивают в плоскости, перпендикулярной вертикальной плоскости, проходящей через оси рабочего и опорного цилиндров, определяют точность позиционирования оттиска голограммы по поверхности полотна заготовки по контрастным меткам, нанесенным при печати полотна заготовки на его поверхность, путем считывания их оптическим сенсором контрастных меток, преобразуют сигнал оптического сенсора контрастных меток в электрические импульсы с последующим использованием преобразованных электрических импульсов в качестве опорных сигналов системы автоматической синхронизации, определяют с помощью системы автоматической синхронизации наличие и величину рассогласования положения рабочего цилиндра относительно заданного участка полотна заготовки, устраняют с помощью системы автоматического управления величину рассогласования положения рабочего цилиндра относительно заданного участка полотна заготовки в начале каждого цикла, причем устранение рассогласования положения рабочего цилиндра относительно заданного участка полотна заготовки осуществляют до получения очередного опорного импульса, при этом выполняют определение местоположения метки синхронизации системы автоматического управления, нанесенной на ленту голограмм, оптическим сенсором синхронизации так, что в процессе работы каждую метку синхронизации дважды проводят перед сенсором синхронизации с определением при первом прохождении в «прямом направлении» величины рассогласования центров изображения голограммы по отношению к контактной поверхности тиснильных колец рабочего цилиндра, а при втором прохождении в обратном направлении с подачей ленты голограмм под контактную поверхность тиснильных колец рабочего цилиндра с учетом рассогласования, причем осуществляют компенсацию длины ленты голограмм при обратном ее перемещении в конце первого такта за счет использования вакуумных боксов, выполняющих функции буферов, размещенных по обе стороны модуля горячего нанесения голограмм по ходу протяжки полотна заготовки и ленты голограмм, путем втягивания в них и выпуска из них ленты голограмм, размещенной и пропущенной в вакуумных боксах с функцией буферов с припуском так, что в начале первого такта ленту голограмм перемещают в «прямом направлении» до момента считывания сенсором синхронизации метки синхронизации, а затем реверсируют направление движения ленты голограмм и перемещают ее в обратном направлении, и проводят горячее нанесение голограмм на поверхность полотна заготовки полиграфической продукции, защищаемой от подделок, путем воздействия на ленту голограмм горячей от циркулирующего внутри рабочего цилиндра теплоносителя контактной поверхностью тиснильных колец рабочего цилиндра со взаимодействием его с опорным цилиндром через полотно заготовки и переносом голограмм на поверхность полотна заготовки.

[10]

В способе горячего нанесения голограмм полотно заготовки протягивают через модуль горячего нанесения равномерно.

[11]

В способе горячего нанесения голограмм задают линейную скорость протяжки полотна заготовки полиграфической продукции, защищаемой от подделок, большей, чем линейную скорость протяжки ленты голограмм.

[12]

В способе горячего нанесения голограмм устранение рассогласования положения рабочего цилиндра относительно заданного участка полотна заготовки проводят в течение не более чем трех полных циклов работы системы автоматического управления и по недостижении устранения рассогласования в течение не более чем трех полных циклов работу устройства останавливают, при этом цикл работы системы автоматического управления определяют по периоду повторения опорных сигналов системы автоматической синхронизации.

[13]

В способе горячего нанесения голограмм контрастные метки, нанесенные при печати полотна заготовки на его поверхность для определения точности позиционирования оттиска голограммы по поверхности полотна заготовки путем считывания их оптическим сенсором контрастных меток, наносят на край полотна заготовки при ее печати.

[14]

Поставленная задача решается, а технический результат достигается по второму объекту изобретения - устройству для реализации способа горячего нанесения голограмм - тем, что согласно изобретению устройство содержит модуль горячего нанесения, образованный рабочим цилиндром и опорным цилиндром, установленными так, что их оси расположены в одной вертикальной плоскости, каждый из которых снабжен приводными зубчатыми венцами, взаимодействующими между собой и обеспечивающими синхронное взаимно противоположное их вращение, ведущие валы протяжки полотна заготовки полиграфической продукции, защищаемой от подделок, с приводом и ведущие валы протяжки ленты голограмм с приводом, перемещающие полотно заготовки и ленту голограмм с использованием системы автоматического управления и системы автоматической синхронизации, посредством вспомогательных и опорных валов в устройстве и через модуль горячего нанесения плоскопараллельно между собой в плоскости, перпендикулярной вертикальной плоскости, проходящей через оси рабочего и опорного цилиндров так, что линейная скорость протяжки полотна заготовки полиграфической продукции, защищаемой от подделок, отлична от линейной скорости протяжки ленты голограмм при одновременном совпадении линии центров голограмм на ленте голограмм с продольной линией центров места голограмм на полотне заготовки, при этом рабочий цилиндр снабжен тиснильными кольцами, имеющими контактные поверхности с заданными формами их контуров и расстоянием между ними по длине окружности тиснильных колец, рабочий цилиндр выполнен полым и снабжен системой подогрева с размещением в полости рабочего цилиндра циркулирующего внутри него теплоносителя, и системой его подачи и отвода, а для обеспечения двухтактного метода позиционирования ленты голограмм по отношению к полотну заготовки устройство снабжено вакуумными боксами с функцией буферов, размещенных по обе стороны модуля горячего нанесения голограмм по ходу протяжки полотна заготовки и ленты голограмм, внутри которых размещена и пропущена с припуском лента голограмм, и снабженных оптическими датчиками приближения для предотвращения механического контакта поверхностей ленты голограмм и внутренних поверхностей вакуумных боксов, причем система протяжки ленты голограмм дополнительно снабжена реверсивным приводным валом, установленным с возможностью обеспечения возвратно-поступательного движения ленты голограмм на участке между вакуумными боксами, при этом устройство снабжено оптическим сенсором контрастных меток полотна заготовки и оптическим сенсором синхронизации метки синхронизации, нанесенной на ленту голограмм.

[15]

В устройстве горячего нанесения голограмм линейная скорость протяжки полотна заготовки полиграфической продукции, защищаемой от подделок, выше, чем линейная скорость протяжки ленты голограмм.

[16]

В устройстве горячего нанесения голограмм ведущие валы протяжки полотна заготовки полиграфической продукции, защищаемой от подделок, могут быть выполнены перемещающими полотно заготовки равномерно.

[17]

В устройстве горячего нанесения голограмм привод ведущих валов, перемещающих полотно заготовки, может быть выполнен в виде, например электродвигателей каждый.

[18]

В устройстве горячего нанесения голограмм подача и отвод циркулирующего внутри рабочего цилиндра теплоносителя осуществляется через осевую вращающуюся блок-муфту.

[19]

В устройстве горячего нанесения голограмм тиснильные кольца рабочего цилиндра могут быть выполнены сменными.

[20]

В устройстве горячего нанесения голограмм вакуумные боксы с функцией буферов для обеспечения двухтактного метода позиционирования ленты голограмм по отношению к полотну заготовки выполнены идентичными.

[21]

В устройстве горячего нанесения голограмм лента голограмм размещена и пропущена с припуском в вакуумных боксах с функцией буферов с изменением направления движения ее протяжки на противоположное.

[22]

В устройстве горячего нанесения голограмм разряжение в вакуумных боксах с функцией буферов обеспечивается с помощью, например, осевых центробежных воздушных насосов.

[23]

В устройстве горячего нанесения голограмм привод реверсивного приводного вала протяжки ленты голограмм может быть выполнен в виде реверсивного серводвигателя.

[24]

В устройстве горячего нанесения голограмм синхронное взаимно противоположное вращение цилиндров модуля горячего тиснения осуществляется от ведущей приводной шестерни, кинематически связанной с приводом.

[25]

В устройстве горячего нанесения голограмм контрастные метки, нанесенные при печати полотна заготовки на его поверхность для определения точности позиционирования оттиска голограммы по поверхности полотна заготовки путем считывания их оптическим сенсором контрастных меток, нанесены на край полотна заготовки, например при ее печати.

[26]

Изобретение поясняется чертежами, где

[27]

на Фиг.1 изображена общая схема устройства;

[28]

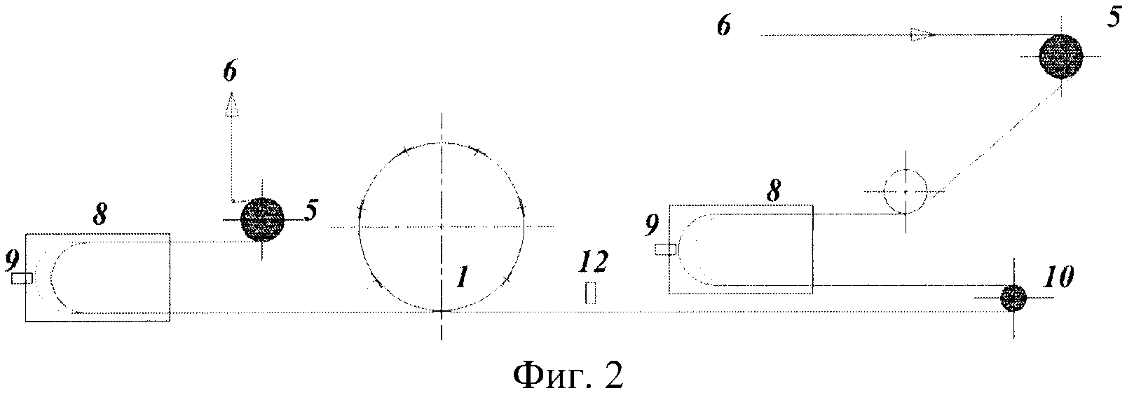
на Фиг.2 - схема устройства с расположением ленты голограмм в начале первого такта;

[29]

на Фиг.3 - схема устройства с расположением ленты голограмм в конце первого такта.

[30]

Устройство горячего нанесения голограмм имеет модуль горячего нанесения, образованный рабочим цилиндром 1 и опорным цилиндром 2.

[31]

Цилиндры 1 и 2 установлены так, что их оси расположены в одной вертикальной плоскости. Каждый из цилиндров 1 или 2 снабжены приводными зубчатыми венцами (не показаны), взаимодействующими между собой и обеспечивающими синхронное взаимно-противоположное вращение цилиндров 1 и 2.

[32]

Устройство имеет ведущие валы 3 протяжки полотна заготовки 4 полиграфической продукции, защищаемой от подделок, с приводом (не показано) и ведущие валы 5 протяжки ленты голограмм 6 с приводом (не показано).

[33]

Валы 3 и 5 перемещают полотно заготовки 4 и ленту голограмм 6 с использованием системы автоматического управления и системы автоматической синхронизации посредством вспомогательных и опорных валов 7 в устройстве и через модуль горячего нанесения плоскопараллельно между собой в плоскости, перпендикулярной вертикальной плоскости, проходящей через оси рабочего 1 и опорного цилиндров 2 так, что линейная скорость протяжки полотна заготовки 4 полиграфической продукции, защищаемой от подделок, отлична от линейной скорости протяжки ленты голограмм 6 при одновременном совпадении линии центров голограмм на ленте голограмм 6 с продольной линией центров места голограмм на полотне заготовки 4.

[34]

Рабочий цилиндр 1 снабжен тиснильными кольцами (не показаны), имеющими контактные поверхности с заданными формами их контуров и расстоянием между ними по длине окружности тиснильных колец.

[35]

Рабочий 1 цилиндр выполнен полым и снабжен системой подогрева с размещением в полости цилиндра 1 циркулирующего внутри него теплоносителя, и системой его подачи и отвода.

[36]

Для обеспечения двухтактного метода позиционирования ленты голограмм 6 по отношению к полотну заготовки 4 устройство снабжено вакуумными боксами 8 с функцией буферов, размещенных по обе стороны модуля горячего нанесения голограмм по ходу протяжки полотна заготовки 4 и ленты голограмм 6, внутри которых размещена и пропущена с припуском лента голограмм 6.

[37]

Вакуумные боксы 8 с функцией буферов снабжены оптическими датчиками приближения 9 для предотвращения механического контакта поверхностей ленты голограмм 6 и внутренних поверхностей вакуумных боксов 8.

[38]

Система протяжки ленты голограмм 6 дополнительно снабжена реверсивным приводным валом 10, установленным с возможностью обеспечения возвратно-поступательного движения ленты голограмм 6 на участке между вакуумными боксами 8.

[39]

Устройство дополнительно снабжено оптическим сенсором 11 контрастных меток полотна заготовки 4 и оптическим сенсором 12 синхронизации метки синхронизации, нанесенной на ленту голограмм 6.

[40]

В устройстве горячего нанесения голограмм линейная скорость протяжки полотна заготовки 4 полиграфической продукции, защищаемой от подделок, устанавливается выше, чем линейная скорость протяжки ленты голограмм 6.

[41]

Ведущие валы 3 протяжки полотна заготовки полиграфической продукции, защищаемой от подделок, могут быть выполнены перемещающими полотно заготовки 4 равномерно.

[42]

Привод ведущих валов 3 протяжки полотна заготовки 4 может быть выполнен в виде, например, электродвигателей каждый.

[43]

Подача и отвод циркулирующего внутри рабочего 1 цилиндра теплоносителя осуществляется, например, через осевую вращающуюся блок-муфту (не показано).

[44]

Тиснильные кольца рабочего цилиндра 1 могут быть выполнены сменными.

[45]

Вакуумные боксы 8 с функцией буферов для обеспечения двухтактного метода позиционирования ленты голограмм 6 по отношению к полотну заготовки 4 выполнены идентичными.

[46]

В устройстве горячего нанесения голограмм лента голограмм 6 размещена и пропущена с припуском в вакуумных боксах 8 с функцией буферов с изменением направления движения ее протяжки на противоположное.

[47]

Разрежение в вакуумных боксах 8 с функцией буферов может быть обеспечено, например, с помощью осевых центробежных воздушных насосов (не показано).

[48]

Привод реверсивного приводного вала 10 протяжки ленты голограмм 6 может быть выполнен в виде реверсивного серводвигателя.

[49]

Синхронное взаимно противоположное вращение цилиндров 1 и 2 модуля горячего тиснения может осуществляться от ведущей приводной шестерни (не показана), кинематически связанной с приводом.

[50]

Контрастные метки, нанесенные при печати полотна заготовки 4 на его поверхность для определения точности позиционирования оттиска голограммы по поверхности полотна заготовки 4 путем считывания их оптическим сенсором 11 контрастных меток, нанесены на край полотна заготовки 4.

[51]

Система снабжена оптическим сенсором 12 синхронизации метки синхронизации, нанесенной на ленту голограмм 6, для определения местоположения метки синхронизации системы автоматического управления.

[52]

Устройство, раскрывающее и поясняющее способ горячего нанесения голограмм на полиграфическую продукцию, защищаемую от подделок, функционирует следующим образом.

[53]

Существующие способы и средства защиты полиграфической продукции от подделок ориентированы на листовые продукты, для их применения технологические процессы разделяются на этапы, количество которых зависит от количества средств и способов защиты.

[54]

В предлагаемом способе защиты полиграфической продукции от подделок с применением горячего нанесения голограмм предусматривается нанесение защитных средств за один прогон рулона полуфабриката.

[55]

Применение голограмм для защиты полиграфической продукции от подделок получило широкое распространение. Крепление голограмм к различным поверхностям и материалам выполняется как на основе холодных, так и горячих клеев. При этом существующие способы и средства не обеспечивают требуемых промышленным производством скоростей нанесения и точности позиционирования оттисков и их изображений относительно границ полотна заготовки.

[56]

Полотно заготовки 4 полиграфической продукции, защищаемой от подделок, вместе с лентой голограмм протягивают равномерно в направлении, указанном стрелками, через модуль горячего нанесения голограмм посредством ведущих валов 5, снабженных приводом, с использованием системы автоматического управления и системы автоматической синхронизации. Скорость протяжки задается оператором управления устройством. Для привода каждого вала 5 используется, например, отдельный электродвигатель.

[57]

Полотно заготовки 4 полиграфической продукции, защищаемой от подделок, вместе с лентой голограмм протягивают плоскопараллельно между собой. Модуль горячего нанесения голограмм образован рабочим цилиндром 1 и опорным цилиндром 2, установленными так, что их оси расположены в одной вертикальной плоскости.

[58]

Полотно заготовки 4 полиграфической продукции, защищаемой от подделок, вместе с лентой голограмм 6 протягивают в плоскости, перпендикулярной вертикальной плоскости, проходящей через оси рабочего 1 и опорного цилиндров 2.

[59]

Модуль горячего нанесения голограмм имеет систему подогрева в виде циркулирующего внутри рабочего цилиндра 1 теплоносителя и систему его подачи и отвода, для чего рабочий цилиндр 1 выполнен полым. Цилиндры 1 и 2 вращаются синхронно за счет взаимодействующих друг с другом приводных зубчатых венцов на каждом из них с возможностью обеспечения их синхронного взаимно противоположного вращения так, что линейная скорость протяжки полотна заготовки 4 полиграфической продукции, защищаемой от подделок, отлична от линейной скорости протяжки ленты голограмм 6 при одновременном совпадении линии центров голограмм на ленте голограмм 6 с продольной линией центров места голограмм на полотне заготовки 4. Причем линейная скорость протяжки полотна заготовки 4 полиграфической продукции, защищаемой от подделок, больше, чем линейная скорость протяжки ленты голограмм 6.

[60]

Полотно заготовки 4 проходит между рабочим цилиндром 1 и опорным цилиндром 2.

[61]

Для обеспечения рабочей температуры процесса нанесения голограмм рабочий цилиндр 1 имеет систему подогрева. Цилиндр 1 имеет полую конструкцию - его полость заполнена циркулирующим теплоносителем. Подача теплоносителя в цилиндр 1 и отвод его осуществляется через осевую вращающуюся блок-муфту. Для подогрева, поддержания температуры в заданном диапазоне (240±10)°С и обеспечения циркуляции теплоносителя по контуру нагреватель - цилиндр применен, например, электрокотел с высокотемпературным органическим теплоносителем.

[62]

В процессе протяжки полотна заготовки 4 и ленты голограмм 6 определяют точность позиционирования оттиска голограммы по поверхности полотна заготовки 4 по контрастным меткам, нанесенным при печати полотна заготовки 4 на его поверхность, считывая их оптическим сенсором 11 контрастных меток.

[63]

С целью обеспечения точности позиционирования оттиска голограммы в пределах ±0,2 мм в продольном направлении машина снабжена системой автоматической синхронизации (САС). Для обеспечения нормальной работы САС на край полотна заготовки 4 при его печати наносятся контрастные метки с периодом повторения 24″. Эти метки считываются оптическим сенсором 11 контрастных меток и преобразуются в электрические импульсы, которые в дальнейшем используются как опорные сигналы САС.

[64]

Сигнал оптического сенсора 11 контрастных меток преобразуют в электрические импульсы с последующим использованием преобразованных электрических импульсов в качестве опорных сигналов системы автоматической синхронизации. Далее определяют с помощью системы автоматической синхронизации наличие и величину рассогласования положения рабочего цилиндра 1 относительно заданного участка полотна заготовки 4. Устраняют с помощью системы автоматического управления величину рассогласования положения рабочего цилиндра 1 относительно заданного участка полотна заготовки 4 в начале каждого цикла, причем устранение рассогласования положения рабочего цилиндра 1 относительно заданного участка полотна заготовки 4 осуществляют до получения очередного опорного импульса.

[65]

Цикл работы системы автоматического управления (САУ) устройством определяют периодом повторения опорных сигналов САС, поэтому величина рассогласования положения рабочего цилиндра 1 относительно заданного участка полотна заготовки определяется САУ в начале каждого цикла, а отработка рассогласования возможна до прихода очередного опорного импульса.

[66]

Устранение рассогласования положения рабочего цилиндра 1 относительно заданного участка полотна заготовки 4 проводят в течение не более чем трех полных циклов работы системы автоматического управления и по недостижении устранения рассогласования в течение не более чем трех полных циклов работу устройства останавливают. Цикл работы системы автоматического управления определяют по периоду повторения опорных сигналов системы автоматической синхронизации.

[67]

Для гарантированного обеспечения точности позиционирования центра изображения голограммы относительно центра соответствующей контактной поверхности тиснильных колец рабочего цилиндра 1 в продольном направлении в устройстве применен двухтактный метод позиционирования.

[68]

Суть метода заключается в следующем.

[69]

Определяют местоположение метки синхронизации системы автоматического управления, нанесенной на ленту голограмм 6, оптическим сенсором синхронизации 12 так, что в процессе работы каждую метку синхронизации дважды проводят перед сенсором 12 синхронизации.

[70]

При первом прохождении метки синхронизации в «прямом направлении» САУ определяет величину рассогласования центров изображения голограммы по отношению к контактной поверхности тиснильных колец рабочего цилиндра 1.

[71]

При втором прохождении в обратном направлении ленту голограмм 6 подают под контактную поверхность тиснильных колец рабочего цилиндра 1 с учетом рассогласования.

[72]

Для реализации двухтактного метода применен ряд технических решений.

[73]

В связи с тем, что лента голограмм 6 чувствительна к механическим воздействиям, для компенсации длины ленты голограмм 6 при обратном ее перемещении в конце первого такта используются вакуумные боксы 8, выполняющие функцию буферов.

[74]

При помощи вакуумных боксов 8 с функцией буферов осуществляют компенсацию длины ленты голограмм 6 при обратном ее перемещении в конце первого такта.

[75]

Вакуумные боксы 8 с функцией буферов размещены по обе стороны модуля горячего нанесения голограмм по ходу протяжки полотна заготовки 4 и ленты голограмм 6.

[76]

Ленту голограмм 6 втягивают в вакуумные боксы 8 и выпускают из них. Сама лента голограмм 6 размещена и пропущена в вакуумных боксах 8 с припуском.

[77]

В начале первого такта ленту голограмм 6 перемещают в «прямом направлении» - в направлении 1Н до момента обнаружения оптическим сенсором синхронизации 12 метки синхронизации.

[78]

Затем реверсируют направление движения ленты голограмм 6 и перемещают ее в обратном направлении на длину около 25 мм. Для обеспечения необходимой степени свободы перемещения ленты голограмм 6 в направлении 1К она вытягивается из левого вакуумного бокса 8 и помещается в правый вакуумный бокс 8, при этом обеспечивается стабильно неизменное натяжение ленты голограмм 6 из-за неизменной площади «паруса», образуемого петлями ленты голограмм 6 в вакуумных боксах 8, - лента голограмм 6 пропущена в вакуумных боксах с припуском.

[79]

Точное значение величины возврата ленты голограмм определяют величиной рассогласования центров изображения голограммы и контактной поверхностью тиснильных колец рабочего цилиндра 1.

[80]

Возвратно-поступательное движение ленты голограмм 6 на участке между вакуумными боксами 8 обеспечивается с помощью реверсивного приводного вала 10 протяжки ленты голограмм 6, который, в свою очередь, может быть выполнен в виде реверсивного серводвигателя.

[81]

Разрежение в вакуумных боксах 8 создается с помощью осевых центробежных воздушных насосов.

[82]

Для предотвращения механического контакта поверхностей ленты голограмм 6 и внутренних поверхностей вакуумных боксов 8 предусмотрены оптические датчики приближения 9.

[83]

При срабатывании датчиков приближения 9 транспортировочная функция ведущих валов 5 соответственно изменяется.

[84]

Горячее нанесение голограмм на поверхность полотна заготовки 4 полиграфической продукции, защищаемой от подделок, проводят путем воздействия на ленту голограмм 6 горячей от циркулирующего внутри рабочего цилиндра 1 теплоносителя контактной поверхностью тиснильных колец рабочего цилиндра 1 со взаимодействием его с опорным цилиндром 2 через полотно заготовки 4 и переносом голограмм на поверхность полотна заготовки 4.

[85]

В конструкции устройства горячего нанесения голограмм применены традиционные конструкционные материалы, поэтому оно может быть изготовлено в условиях обычного серийного производства.

Как компенсировать расходы
на инновационную разработку
Похожие патенты