Изобретение относится к области вычислительной техники. Технический результат заключается в улучшении качества контроля перемещения людей. Система содержит: датчик обнаружения и распознавания лиц, а также датчик сопровождения и сбора статистики, причем датчик обнаружения и распознавания лиц выполнен в виде телекамеры, при этом определения характеристик и признаков лиц людей и передачи их в сервер интеллектуального анализа и принятия решения и в базу данных; датчик сопровождения и сбора статистики выполнен в виде оптической системы со стереокамерами широкого угла обзора; сервер интеллектуального анализа и принятия решения содержит соединенные между собой подсистему идентификации и верификации лица, подсистему комплексирования датчиков сопровождения, подсистему сопоставления и принятия решения и подсистему контроля и доступа к базе данных; подсистема комплексирования датчиков сопровождения и сбора статистики выполнена с возможностью получения, сопоставления и анализа данных; подсистема контроля и доступа к базе данных выполнена с возможностью безопасного и быстрого получения информации из базы данных; подсистема мониторинга и сбора статистики выполнена с возможностью получения и принятия решения данных комплексного анализа информации. 2 н. и 8 з.п. ф-лы, 3 ил.
1. Система контроля перемещения людей, содержащая, по меньшей мере, один датчик 1 обнаружения и распознавания лиц, а также, по меньшей мере, один датчик 2 сопровождения и сбора статистики, которые соединены с подсистемой 9 мониторинга и сбора статистики, по меньшей мере, с одним сервером 8 интеллектуального анализа и принятия решения, который соединен с базой данных 10, причем - датчик 1 обнаружения и распознавания лиц выполнен в виде телекамеры с возможностью распознавания лиц людей на контролируемой территории и за пределами контролируемой территории вблизи ее границы, при этом определения характеристик и признаков лиц людей и передачи их в сервер 8 интеллектуального анализа и принятия решения и в базу данных 10; - датчик 2 сопровождения и сбора статистики выполнен в виде оптической системы со стереокамерами широкого угла обзора с возможностью обнаружения людей на контролируемой территории, а также определения статистических данных о траекториях перемещения и областях скопления людей на контролируемой территории и передачи статистических данных в сервер 8 интеллектуального анализа и принятия решения; - сервер 8 интеллектуального анализа и принятия решения выполнен с возможностью комплексного совместного анализа характеристик и признаков лиц людей и данных о траекториях перемещения и областях скопления людей на контролируемой территории, при этом определения нетипового поведения людей и их отклонения от типовой траектории перемещения; - сервер 8 интеллектуального анализа и принятия решения содержит соединенные между собой подсистему 4 идентификации и верификации лица, подсистему 5 комплексирования датчиков сопровождения, подсистему 6 сопоставления и принятия решения и подсистему 7 контроля и доступа к базе данных; при этом датчики 1 обнаружения и распознавания лиц, датчики 2 сопровождения и сбора статистики и СКУД-датчики 3 соединены между собой, а также с подсистемой 4 идентификации и верификации лица, с подсистемой 5 комплексирования датчиков сопровождения и сбора статистики и с подсистемой 9 мониторинга и сбора статистики; подсистема 6 сопоставления и принятия решения соединена с подсистемой 9 мониторинга и сбора статистики; СКУД-датчики 3 соединены с подсистемой 7 контроля и доступа к базе данных, которая соединена с базой данных 10, причем - подсистема 4 идентификации и верификации лица выполнена с возможностью получения характеристик и признаков лиц людей от датчиков 1 обнаружения и распознавания лиц и их сравнения с характеристиками и признаками лиц людей, хранящимися в базе данных 10, при этом определения присутствия постоянных клиентов и нежелательных людей на контролируемой территории; - подсистема 5 комплексирования датчиков сопровождения и сбора статистики выполнена с возможностью получения, сопоставления и анализа данных о траекториях перемещения и областях скопления людей на контролируемой территории с датчиков 2 сопровождения и сбора статистики, при этом определения комплексных данных о траекториях перемещения и областях скопления людей на контролируемой территории; - подсистема 6 сопоставления и принятия решения выполнена с возможностью получения и анализа информации с датчиков 1 обнаружения и распознавания лиц, с датчиков 2 сопровождения и сбора статистики и СКУД-датчиков 3, при этом выполнения контроля и доступа на территорию, контроля траекторий перемещения людей и восстановления траекторий, в случае их потери датчиками 2; - подсистема 7 контроля и доступа к базе данных выполнена с возможностью безопасного и быстрого получения информации из базы данных; - подсистема 9 мониторинга и сбора статистики выполнена с возможностью получения от подсистемы 6 сопоставления и принятия решения данных комплексного анализа информации, а также с возможностью определения статистических данных о состоянии системы и определяемых системой параметров в интервал времени. 2. Система по п. 1, отличающаяся тем, что также содержит СКУД-датчик 3, который соединен с сервером 8 интеллектуального анализа и принятия решения и выполнен с возможностью контроля перемещения людей внутрь или за пределы контролируемой территории. 3. Система по п. 1, отличающаяся тем, что датчики 1 обнаружения и распознавания лиц и датчики 2 сопровождения и сбора статистики содержат видео-процессор, соединенный с телекамерой, при этом телекамера выполнена с возможностью формирования изображения и передачи его в видео-процессор, выполненный с возможностью анализа изображения, при этом формирования данных. 4. Система по п. 1, отличающаяся тем, что содержит несколько датчиков 1 обнаружения и распознавания лиц, выполненных с возможностью распознавания лиц людей на контролируемой территории. 5. Система по п. 1, отличающаяся тем, что содержит несколько датчиков 2 сопровождения и сбора статистики, каждый из которых выполнен с возможностью действия на части контролируемой территории, при этом все датчики в совокупности выполнены с возможностью действия на всей контролируемой территории. 6. Способ контроля перемещения людей, в котором - с помощью датчика 1 обнаружения и распознавания лиц, выполненного в виде телекамеры, распознают лица людей на контролируемой территории и за пределами контролируемой территории вблизи ее границы, при этом определяют характеристики и признаки лиц людей и передают их в сервер 8 интеллектуального анализа и принятия решения и в базу данных 10; - с помощью датчика 2 сопровождения и сбора статистики, выполненного в виде оптической системы со стереокамерами широкого угла обзора, обнаруживают людей на контролируемой территории, а также определяют статистические данные о траекториях перемещения и областях скопления людей на контролируемой территории и передают статистические данные в - сервер 8 интеллектуального анализа и принятия решения, с помощью которого выполняют комплексный совместный анализ характеристик и признаков лиц людей и данных о траекториях перемещения и областях скопления людей на контролируемой территории, при этом определяют нетиповое поведение людей и их отклонения от типовой траектории перемещения, при этом - с помощью подсистемы 4 идентификации и верификации лица получают характеристики и признаки лиц людей от датчиков 1 обнаружения и распознавания лиц и сравнивают их с характеристиками и признаками лиц людей, хранящимися в базе данных 10, при этом определяют присутствие постоянных клиентов и нежелательных людей на контролируемой территории; - с помощью подсистемы 5 комплексирования датчиков сопровождения и сбора статистики получают, сопоставляют и анализируют данные о траекториях перемещения и областях скопления людей на контролируемой территории с датчиков 2 сопровождения и сбора статистики, при этом определяют комплексные данные о траекториях перемещения и областях скопления людей на контролируемой территории; - с помощью подсистемы 6 сопоставления и принятия решения получают и анализируют информацию с датчиков 1 обнаружения и распознавания лиц, с датчиков 2 сопровождения и сбора статистики и СКУД-датчиков 3, при этом контролируют и доступ на территорию, контролируют траектории перемещения людей и восстанавливают траектории, в случае их потери датчиками 2; - с помощью подсистемы 7 контроля и доступа к базе данных безопасно и быстро получают информацию из базы данных; - с помощью подсистемы 9 мониторинга и сбора статистики получают от подсистемы 6 сопоставления и принятия решения данные комплексного анализа информации, а также определяют статистические данные о состоянии системы и определяемых системой параметров в интервал времени. 7. Способ по п. 7, отличающийся тем, что с помощью СКУД-датчика 3, который соединен с сервером 8 интеллектуального анализа и принятия решения, контролируют перемещение людей внутрь или за пределы контролируемой территории. 8. Способ по п. 7, отличающийся тем, что в датчики 1 обнаружения и распознавания лиц и датчики 2 сопровождения и сбора статистики содержат видео-процессор, соединенный с телекамерой, при этом с помощью телекамеры формируют изображение и передают его в видео-процессор, с помощью которого анализируют изображение, при этом формируют данные. 9. Способ по п. 7, отличающийся тем, что с помощью нескольких датчиков 1 обнаружения и распознавания лиц распознают лица людей на контролируемой территории. 10. Способ по п. 7, отличающийся тем, что действуют несколько датчиков 2 сопровождения и сбора статистики, каждый из которых действует на части контролируемой территории, при этом все датчики в совокупности действуют на всей контролируемой территории.
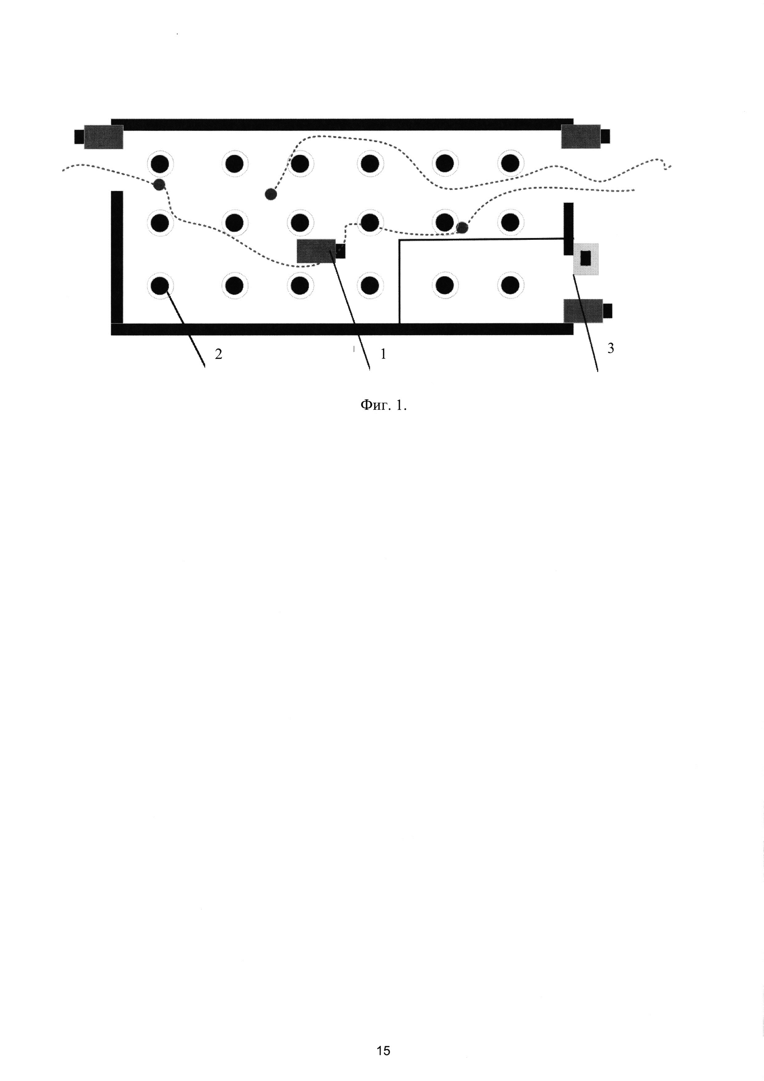
Изобретение относится к охранным системам, а именно к системам и способам контроля перемещения людей, которые представляют собой распределенные системы, состоящие из устройств для контроля перемещения и доступа объектов, в том числе людей, на охраняемой территории, путем обнаружения и распознавания лиц, ведения по заданному маршруту, контроля перемещения и сопровождения, а также контроля доступа на территорию. Изобретение может быть применено для контроля перемещения людей на определенной территории по заданному маршруту, для сбора статистики посещения мест на территории, разрешенными для этих мест группами людей, что особенно важно для торговых сетей. Основной областью применения изобретения являются общественные места (банки, офисы, магазины, аэропорты, вокзалы, объекты ТЭК, морские и речные порты и другие объекты, на которых требуется подсчет и анализ перемещения клиентов, в которых необходим пропускной и автоматический визуальный контроль прохода клиентов. Существуют системы для подсчета и трекинга потока клиентов с использованием технологии стереокамер, основой которых является датчик для подсчета и трекинга потока клиентов. Алгоритм обработки сигналов со стереокамеры позволяет с большой точностью подсчитывать и отслеживать клиентов в их плотном потоке. С оптической системы информация поступает в процессор счетчика, где по алгоритму стереовидения воссоздают карту высот, которая позволяет с большой точностью создать объемную математическую модель окружающего пространства. Подсчет людей выполняют путем определения головы каждого клиента, проходящего внутри площади покрытия датчика, что позволяет исключать из числа подсчитанных клиентов детей, теней, солнечных бликов, продуктовых тележек, детских колясок, сумок и др. Существуют системы распознаванием лиц такие, как автоматический паспортный контроль, в котором в автоматическом режиме выполняют аутентификацию личности по биометрической информации и фотографии. На основе информации об аутентификации принимают решение о прохождении паспортного контроля человеком. Существуют дактилоскопические системы контроля доступа на территорию (в помещения) с использованием технологий Match-On-Server, Match-On-Card, Match-On-PC, которые отличаются выбором места хранения дактилоскопического шаблона (на отдельном сервере, на компьютере пользователей, на интеллектуальном карточном устройстве), выбором места сопоставления дактилоскопического шаблона. Однако, вышеупомянутые системы позволяют подсчитать число клиентов, но не позволяют определить класс клиентов, выполняют контроль доступа клиентов на определенные территории, но не позволяют контролировать перемещение клиентов по маршруту с использованием контрольных точек. Кроме того, вышеупомянутые системы имеют высокие требования к пропускной способности каналов связи, поэтому являются сложно интегрируемыми. Основная причина высоких требований к каналам связи заключается в использовании внешних серверных решений, что значительно отражается на стоимости конечной системы. Хорошо известны системы контроля прохода. В качестве примера одного из таких устройств можно привести систему контроля прохода и перемещения в тоннеле, описанную в патенте RU 2606554, которая фиксирует факты прохода в тоннель метрополитена сотрудников и посторонних лиц и отслеживающей их дальнейшее перемещение по тоннелю. Технический результат - повышение оперативности контроля прохода и перемещения сотрудников и посторонних лиц. Известны отдельные устройства контроля, которые не решают комплексную задачу сопровождения объекта на определенной территории. Так, например, в изобретении по патенту RU 2566680 выделяют захваченные движущиеся объекты на изображении на устройстве отображения экрана мониторинга в реальном времени. Техническим результатом является обеспечение контроля в случае, когда информация для человека, назначенного в качестве контролируемой цели, включает в себя ошибку, и предоставление возможности корректировки информации слежения. Предложено устройство контроля, включающее: блок задания контролируемой цели, который инструктирует, чтобы захваченные изображения, сохраненные в записывающем устройстве, отображались на мониторе, и, в ответ на операцию ввода наблюдающим человеком, чтобы назначить движущийся контролируемый объект, задает назначенный движущийся объект в качестве контролируемой цели; блок выбора кандидатов, который выбирает в качестве кандидата движущийся объект, с высокой вероятностью соответствующий движущемуся объекту, заданному в качестве контролируемой цели; блок представления изображения кандидата, который извлекает в качестве изображения кандидата захваченное изображение, в которое включен движущийся объект, и инструктирует монитору отображать изображение кандидата, так что наблюдающий человек выбирает подходящее изображение кандидата; и блок корректировки информации слежения, который изменяет контролируемую цель на движущийся объект, ассоциированный с выбранным изображением кандидата, и корректирует информацию слежения. Наиболее близкими к заявленному изобретению являются система и способ контроля перемещения людей в закрытых помещениях с использованием камеры видимого диапазона и инфракрасного датчика с низкой частотой кадров (заявка US 2015324656). В данных системе и способе объекты в закрытых помещениях отслеживают путем получения первой последовательности изображений с камеры видимого диапазона с одной частотой и второй последовательности изображений с камеры с тепловым инфракрасным датчиком со второй частотой. Частота кадров инфракрасного датчика существенно ниже частоты кадров с камеры видимого диапазона. Объекты (людей) отслеживают в первой последовательности изображений для получения траекторий их перемещения. Теплые области во второй последовательности изображений выделаются с целью детектирования. Пути и результаты детектирования выровнены по пространству и по времени для проверки их соответствия после выравнивания. Данные система и способ выбраны в качестве прототипов заявленного изобретения. Недостатки системы и способа прототипов заключаются в высокой вероятности разрыва отслеживаемых траекторий перемещения людей без последующего их восстановления, а также в отсутствии подсистемы контроля доступа людей в отдельные помещения на контролируемой территории. Техническим результатом заявленного изобретения является создание системы и способа контроля перемещения людей с улучшенным качеством контроля перемещения, за счет комплексирования нескольких датчиков и использования датчиков различных типов, в том числе датчиков, содержащих стереокамеры; с увеличенной вероятностью правильного обнаружения людей, за счет применения технологий глубокого обучения, технологий распределенной обработки информации в аппаратно-программном обеспечении идентификации и верификации лиц, сопоставления, интеллектуального анализа и принятия решений; с уменьшенными требованиями к средствам коммуникации между блоками системы, за счет использования видео-датчиков со встроенной аналитической обработкой изображения, позволяющих передавать обработанные данные меньшего объема, чем исходные видео-данные; с уменьшенными требованиями к пропускной способности сетевой инфраструктуры и с увеличенной площадью покрытия, за счет использования датчиков сопровождения и сбора статистики, выполненных на основе оптической системы широкого угла обзора. Поставленный технический результат достигнут путем создания системы контроля перемещения людей (фиг. 1-3), содержащей, по меньшей мере, один датчик 1 обнаружения и распознавания лиц, а также, по меньшей мере, один датчик 2 сопровождения и сбора статистики, которые соединены с подсистемой 9 мониторинга и сбора статистики, по меньшей мере, с одним сервером 8 интеллектуального анализа и принятия решения, который соединен с базой данных 10, причем - датчик 1 обнаружения и распознавания лиц выполнен в виде телекамеры с возможностью распознавания лиц людей на контролируемой территории и за пределами контролируемой территории вблизи ее границы, при этом определения характеристик и признаков лиц людей и передачи их в сервер 8 интеллектуального анализа и принятия решения и в базу данных 10; - датчик 2 сопровождения и сбора статистики выполнен в виде оптической системы со стереокамерами широкого угла обзора с возможностью обнаружения людей на контролируемой территории, а также определения статистических данных о траекториях перемещения и областях скопления людей на контролируемой территории и передачи статистических данных в сервер 8 интеллектуального анализа и принятия решения; - сервер 8 интеллектуального анализа и принятия решения выполнен с возможностью комплексного совместного анализа характеристик и признаков лиц людей и данных о траекториях перемещения и областях скопления людей на контролируемой территории, при этом определения нетипового поведения людей, и их отклонения от типовой траектории перемещения; - сервер 8 интеллектуального анализа и принятия решения содержит соединенные между собой подсистему 4 идентификации и верификации лица, подсистему 5 комплексирования датчиков сопровождения, подсистему 6 сопоставления и принятия решения и подсистему 7 контроля и доступа к базе данных; при этом датчики 1 обнаружения и распознавания лиц, датчики 2 сопровождения и сбора статистики и СКУД-датчики 3 соединены между собой, а также с подсистемой 4 идентификации и верификации лица, с подсистемой 5 комплексирования датчиков сопровождения и сбора статистики и с подсистемой 9 мониторинга и сбора статистики; подсистема 6 сопоставления и принятия решения соединена с подсистемой 9 мониторинга и сбора статистики; СКУД-датчики 3 соединены с подсистемой 7 контроля и доступа к базе данных, которая соединена с базой данных 10, причем - подсистема 4 идентификации и верификации лица выполнена с возможностью получения характеристик и признаков лиц людей от датчиков 1 обнаружения и распознавания лиц и их сравнения с характеристиками и признаками лиц людей, хранящимися в базе данных 10, при этом определения присутствия постоянных клиентов и нежелательных людей на контролируемой территории; - подсистема 5 комплексирования датчиков сопровождения и сбора статистики выполнена с возможностью получения, сопоставления и анализа данных о траекториях перемещения и областях скопления людей на контролируемой территории с датчиков 2 сопровождения и сбора статистики, при этом определения комплексных данных о траекториях перемещения и областях скопления людей на контролируемой территории; - подсистема 6 сопоставления и принятия решения выполнена с возможностью получения и анализа информации с датчиков 1 обнаружения и распознавания лиц, с датчиков 2 сопровождения и сбора статистики и СКУД-датчиков 3, при этом выполнения контроля и доступа на территорию, контроля траекторий перемещения людей и восстановления траекторий, в случае их потери датчиками 2; - подсистема 7 контроля и доступа к базе данных выполнена с возможностью безопасного и быстрого получения информации из базы данных. - подсистема 9 мониторинга и сбора статистики выполнена с возможностью получения от подсистемы 6 сопоставления и принятия решения данных комплексного анализа информации, а также с возможностью определения статистических данных о состоянии системы и определяемых системой параметров в интервал времени. В предпочтительном варианте осуществления система также содержит СКУД-датчик 3, который соединен с сервером 8 интеллектуального анализа и принятия решения, и выполнен с возможностью контроля перемещения людей внутрь или за пределы контролируемой территории. В предпочтительном варианте осуществления системы датчики 1 обнаружения и распознавания лиц и датчики 2 сопровождения и сбора статистики содержат видео-процессор, соединенный с телекамерой, при этом телекамера выполнена с возможностью формирования изображения и передачи его в видео-процессор, выполненный с возможностью анализа изображения, при этом формирования данных. В предпочтительном варианте осуществления система содержит несколько датчиков 1 обнаружения и распознавания лиц, выполненных с возможностью распознавания лиц людей на контролируемой территории. В предпочтительном варианте осуществления система содержит несколько датчиков 2 сопровождения и сбора статистики, каждый из которых выполнен с возможностью действия на части контролируемой территории, при этом все датчики в совокупности выполнены с возможностью действия на всей контролируемой территории. Поставленный технический результат достигнут также путем создания способа контроля перемещения людей, в котором - с помощью датчика 1 обнаружения и распознавания лиц, выполненного в виде телекамеры, распознают лица людей на контролируемой территории и за пределами контролируемой территории вблизи ее границы, при этом определяют характеристики и признаки лиц людей и передают их в сервер 8 интеллектуального анализа и принятия решения и в базу данных 10; - с помощью датчика 2 сопровождения и сбора статистики, выполненного в виде оптической системы со стереокамерами широкого угла обзора, обнаруживают людей на контролируемой территории, а также определяют статистические данные о траекториях перемещения и областях скопления людей на контролируемой территории и передают статистические данные в - сервер 8 интеллектуального анализа и принятия решения, с помощью которого выполняют комплексный совместный анализ характеристик и признаков лиц людей и данных о траекториях перемещения и областях скопления людей на контролируемой территории, при этом определяют нетиповое поведение людей, и их отклонения от типовой траектории перемещения, при этом - с помощью подсистемы 4 идентификации и верификации лица получают характеристики и признаки лиц людей от датчиков 1 обнаружения и распознавания лиц и сравнивают их с характеристиками и признаками лиц людей, хранящимися в базе данных 10, при этом определяют присутствие постоянных клиентов и нежелательных людей на контролируемой территории; - с помощью подсистемы 5 комплексирования датчиков сопровождения и сбора статистики получают, сопоставляют и анализируют данные о траекториях перемещения и областях скопления людей на контролируемой территории с датчиков 2 сопровождения и сбора статистики, при этом определяют комплексные данные о траекториях перемещения и областях скопления людей на контролируемой территории; - с помощью подсистемы 6 сопоставления и принятия решения получают и анализируют информацию с датчиков 1 обнаружения и распознавания лиц, с датчиков 2 сопровождения и сбора статистики и СКУД-датчиков 3, при этом контролируют и доступ на территорию, контролируют траектории перемещения людей и восстанавливают траектории, в случае их потери датчиками 2; - с помощью подсистемы 7 контроля и доступа к базе данных безопасно и быстрого получают информацию из базы данных. - с помощью подсистемы 9 мониторинга и сбора статистики получают от подсистемы 6 сопоставления и принятия решения данные комплексного анализа информации, а также с определяют статистические данные о состоянии системы и определяемых системой параметров в интервал времени. В предпочтительном варианте осуществления способа помощью СКУД-датчика 3, который соединен с сервером 8 интеллектуального анализа и принятия решения, контролируют перемещение людей внутрь или за пределы контролируемой территории. В предпочтительном варианте осуществления способа в датчики 1 обнаружения и распознавания лиц и датчики 2 сопровождения и сбора статистики содержат видео-процессор, соединенный с телекамерой, при этом с помощью телекамеры формируют изображение и передают его в видео-процессор, с помощью которого анализируют изображение, при этом формируют данные. В предпочтительном варианте осуществления способа с помощью нескольких датчиков 1 обнаружения и распознавания лиц распознают лица людей на контролируемой территории. В предпочтительном варианте осуществления способа действуют несколько датчиков 2 сопровождения и сбора статистики, каждый из которых действует на части контролируемой территории, при этом все датчики в совокупности действуют на всей контролируемой территории. Для лучшего понимания заявленного изобретения далее приводится его подробное описание с соответствующими графическими материалами. Фиг. 1. Схема размещения датчиков в системе контроля перемещения людей, выполненная согласно изобретению. Фиг. 2. Схема размещения и площади покрытия датчиков сопровождения и сбора статистики, выполненная согласно изобретению. Фиг. 3. Функциональная схема системы контроля перемещения людей, выполненная согласно изобретению. Элементы: 1 - датчик обнаружения и распознавания лиц; 2 - датчик сопровождения и сбора статистики; 3 - СКУД-датчик; 4 - подсистема идентификации и верификации лица; 5 - подсистема комплексирования датчиков сопровождения и сбора статистики; 6 - подсистема сопоставления и принятия решения; 7- подсистема контроля и доступа к базе данных; 8 - сервер интеллектуального анализа и принятия решения; 9 - подсистема мониторинга и сбора статистики; 10 - база данных. Рассмотрим более подробно вариант выполнения заявленной системы контроля перемещения людей, представленный на фиг. 1-3, и способ ее функционирования. Система контроля перемещения людей (фиг. 1-3) содержит несколько датчиков 1 обнаружения и распознавания лиц, а также несколько датчиков 2 сопровождения и сбора статистики, которые соединены с сервером 8 интеллектуального анализа и принятия решения, который соединен с базой данных 10. Система контроля перемещения людей также содержит подсистему 9 мониторинга и сбора статистики. Сервер 8 интеллектуального анализа и принятия решения содержит соединенные между собой подсистему 4 идентификации и верификации лица, подсистему 5 комплексирования датчиков сопровождения, подсистему 6 сопоставления и принятия решения и подсистему 7 контроля и доступа к базе данных. Датчики 1 обнаружения и распознавания лиц, датчики 2 сопровождения и сбора статистики и СКУД-датчики 3 соединены между собой, а также с подсистемой 4 идентификации и верификации лица, с подсистемой 5 комплексирования датчиков сопровождения и сбора статистики и с подсистемой 9 мониторинга и сбора статистики. Подсистема 6 сопоставления и принятия решения соединена с подсистемой 9 мониторинга и сбора статистики. СКУД-датчики 3 соединены с подсистемой 7 контроля и доступа к базе данных, которая соединена с базой данных 10. Комплексирование нескольких датчиков и использования датчиков различных типов, в том числе датчиков, содержащих стереокамеры, позволяет улучшить качество контроля перемещения. Датчики 1 обнаружения и распознавания лиц и датчики 2 сопровождения и сбора статистики содержат видео-процессор, соединенный с телекамерой, при этом телекамера выполнена с возможностью формирования изображения и передачи его в видео-процессор, выполненный с возможностью анализа изображения, при этом формирования данных. Использование видео-датчиков со встроенной аналитической обработкой изображения в видео-процессоре, а именно датчиков 1 обнаружения и распознавания лиц и датчиков 2 сопровождения и сбора статистики, позволяет получать и передавать обработанные в видео-процессоре данные меньшего объема, чем исходные видео-данные, формируемые телекамерой, тем самым уменьшить требования к средствам коммуникации между блоками заявленной системы. Система контроля перемещения людей (фиг. 1-3) функционирует следующим образом. С помощью датчика 1 обнаружения и распознавания лиц, выполненного в виде телекамеры, распознают лиц людей на контролируемой территории и за пределами контролируемой территории вблизи ее границы, при этом определяют характеристики и признаки лиц людей и передают их в сервер 8 интеллектуального анализа и принятия решения и в базу данных 10. С помощью датчика 2 сопровождения и сбора статистики, выполненного в виде оптической системы со стереокамерами широкого угла обзора, обнаруживают людей на контролируемой территории, а также определяют статистические данные о траекториях перемещения и областях скопления людей на контролируемой территории и передают статистические данные в сервер 8 интеллектуального анализа и принятия решения, с помощью которого выполняют комплексный совместный анализ характеристик и признаков лиц людей и данных о траекториях перемещения и областях скопления людей на контролируемой территории, при этом определяют нетиповое поведение людей, и их отклонения от типовой траектории перемещения. Использование датчиков 2 сопровождения и сбора статистики, выполненных на основе оптической системы широкого угла обзора, позволяет уменьшить требования к пропускной способности сетевой инфраструктуры системы и увеличить площадь ее покрытия. С помощью СКУД-датчика 3, который соединен с сервером 8 интеллектуального анализа и принятия решения, контролируют перемещение людей внутрь или за пределы контролируемой территории. С помощью подсистемы 4 идентификации и верификации лица получают характеристики и признаки лиц людей от датчиков 1 обнаружения и распознавания лиц и сравнивают их с характеристиками и признаками лиц людей, хранящимися в базе данных 10, при этом определяют присутствие постоянных клиентов и нежелательных людей на контролируемой территории. С помощью подсистемы 5 комплексирования датчиков сопровождения и сбора статистики получают, сопоставляют и анализируют данные о траекториях перемещения и областях скопления людей на контролируемой территории с датчиков 2 сопровождения и сбора статистики, при этом определяют комплексные данные о траекториях перемещения и областях скопления людей на контролируемой территории. С помощью подсистемы 6 сопоставления и принятия решения получают и анализируют информацию с датчиков 1 обнаружения и распознавания лиц, с датчиков 2 сопровождения и сбора статистики и СКУД-датчиков 3, при этом контролируют и доступ на территорию, контролируют траектории перемещения людей и восстанавливают траектории, в случае их потери датчиками 2. С помощью подсистемы 7 контроля и доступа к базе данных безопасно и быстрого получают информацию из базы данных. С помощью подсистемы 9 мониторинга и сбора статистики получают от подсистемы 6 сопоставления и принятия решения данные комплексного анализа информации, а также с определяют статистические данные о состоянии системы и определяемых системой параметров в интервал времени. Хотя описанный выше вариант выполнения изобретения был изложен с целью иллюстрации заявленного изобретения, специалистам ясно, что возможны разные модификации, добавления и замены, не выходящие из объема и смысла заявленного изобретения, раскрытого в прилагаемой формуле изобретения.