патент
№ RU 2394934
МПК B21D1/14

СПОСОБ ТЕРМИЧЕСКОЙ ОБРАБОТКИ СВАРНЫХ КОНСТРУКЦИЙ ИЗ АЛЮМИНИЕВЫХ СПЛАВОВ И УСТРОЙСТВО ДЛЯ ЕГО ОСУЩЕСТВЛЕНИЯ

Авторы:
Карасев Игорь Сергеевич
Номер заявки
2009104537/02
Дата подачи заявки
10.02.2009
Опубликовано
20.07.2010
Страна
RU
Как управлять
интеллектуальной собственностью
Чертежи 
2
Реферат

Изобретение относится к области термической обработки металлов и сплавов, а именно к термообработке сварных конструкций из алюминиевых сплавов. Для снятия внутренних напряжений в сварной конструкции и сохранения ее геометрической формы перед термообработкой сварную конструкцию закладывают в устройство, содержащее корпус в виде стальной трубы, с установленными на концах плитами, одна из которых неподвижна, а вторая имеет возможность перемещения вдоль оси устройства. На плитах установлены клиновые прижимы, в промежутке между плитами расположены ложементы со съемными упорами, между которыми имеется установочный зазор. С помощью винтовых и клиновых прижимов, а также ложементов и плит, выправляют имеющиеся деформации и отклонения от геометрической формы. После фиксации необходимых размеров и формы конструкции, устройство с конструкцией помещают в печь, нагревают до температуры 350°С и выдерживают в течение 0,5 ч, нагревание прекращают и при снижении температуры до 150°С вынимают из печи. 2 н.п. ф-лы, 2 ил.

Формула изобретения

1. Устройство для термической обработки сварных конструкций из алюминиевых сплавов, содержащее устройство для фиксации сварной конструкции, состоящее из корпуса, выполненного из стальной трубы, с установленными на концах плитами, одна из которых неподвижна, а вторая имеет возможность перемещения вдоль продольной оси, на плитах установлены клиновые прижимы, в промежутке между плитами расположены ложементы со съемными упорами, между которыми имеется установочный зазор и печь для нагрева сварной конструкции, размещенной в устройстве для фиксации.

2. Способ термической обработки сварных конструкций из алюминиевых сплавов, включающий фиксацию сварной конструкции путем совмещения внутренних поверхностей поперечных и продольных элементов сварной конструкции с поверхностями плит и ложементов, закрепления их клиновыми прижимами к плитам, упорами к ложементам с обеспечением установочного зазора, затем помещают в печь, нагревают до 350°С, выдерживают в течение 0,5 ч охлаждают в печи до 150°С с последующим охлаждением на воздухе.

Описание

[1]

Изобретение относится к термической обработке металлов и сплавов, а именно к термообработке сварных конструкций из алюминиевых сплавов, и может быть использовано в авиакосмической, судостроительной, автомобильной и других областях промышленности.

[2]

Известен способ термообработки алюминиевых сплавов, в том числе сварных конструкций (ПИ 1.2.255-83, Производственная инструкция «Термическая обработка полуфабрикатов и деталей из алюминиевых деформируемых сплавов» (ВИАМ, г.Москва, 1983 г.). Известный способ предусматривает отжиг сварных конструкций в печи для снятия напряжений при температуре 250-350°С. Недостатком известного способа является то, что он не предусматривает при этом предотвращение и устранение деформаций.

[3]

Известен способ термообработки и правки сварных алюминиевых конструкций для уменьшения внутренних напряжений и деформаций (ПИ 1.4.1555-2000, Производственная инструкция «Сварка дуговая алюминиевых и магниевых сплавов в среде защитных газов» (НИАТ г.Москва, 2000 г.). Известный способ предусматривает устранение различных видов остаточных деформаций способом местной холодной правки и применением местного нагрева. Недостатком известного способа является то, что пониженное значение модуля упругости алюминиевых сплавов, особенно в сечениях со значительной жесткостью, затрудняет или делает невозможным применение местной холодной правки сварных конструкций. Кроме того, холодная правка приводит к появлению наклепа, что отрицательно сказывается на эксплутационных свойствах изделия. Правка местным нагревом не всегда применима, так как связана со значительными трудностями контроля температуры.

[4]

Известен способ термообработки сварных конструкций, совмещенный с термофиксацией (А.Г. Братухин и др. Технология производства титановых самолетных конструкций. - М.: Машиностроение, 1995 г.). Недостатком известного способа является то, что он предусматривает термообработку только титановых сплавов.

[5]

Наиболее близким, принятым за прототип решением, является способ правки длинномерных деталей из легких сплавов (патент РФ №2165814 от 25.02.2001 г., B21D 1/14). Способ заключается в том, что подвергаемую правке деталь устанавливают на базу устройства. Воздействуют на нее правящими инструментами до восстановления номинальных размеров. Совместно нагревают, выдерживают при температуре 200-300°С в зафиксированном состоянии в течение определенного времени. Снимают деталь с базы после совместного охлаждения. Недостатком известного способа является то, что способ предусматривает правку детали в какой-либо определенной плоскости, параллельной «базе», и неприемлем для правки конструкции, состоящей из деталей, находящихся в пространстве в различных плоскостях.

[6]

Наиболее радикальным методом снижения остаточных напряжений в сварных конструкциях является термообработка. Предпочтительной температурой для алюминиевых сплавов является температура 250-350°С, при которой процессы релаксации протекают более активно. За время нагрева в 25-30 минут происходит снижение исходных напряжений почти до нуля. Но при этом происходит и снижение прочности, что приводит к изменению геометрической формы крупногабаритной пространственной конструкции. Таким образом для термообработки крупногабаритной сварной пространственной конструкции необходимо создать условия, при которых конструкция (например, каркас контейнера) при нагреве и выдержке при температуре 250-350°С могла сохранить геометрическую форму, а при охлаждении возвратиться в исходное состояние. Для этого необходимо использовать приспособление из более прочного металла с учетом линейных и объемных расширений как самой термообрабатываемой конструкции, так и приспособления (устройства). Необходимо отметить, что если после сварки могут иметь место незначительные изменения геометрической формы: деформации в виде прогибов, неперпендикулярности, непараллельности, винтообразности и т.п., то в процессе термообработки приспособление позволяет исправить вышеуказанные отклонения формы.

[7]

Задачей предлагаемого изобретения является разработка способа термообработки сварной крупногабаритной конструкции, при котором будет возможно изготавливать сложные сварные пространственные конструкции, снимать внутренние напряжения, выправлять деформации и сохранять геометрическую форму изделия.

[8]

Технический результат предлагаемого изобретения заключается в сохранении геометрической целостности (формы) и размерной стабильности крупногабаритных сварных конструкций из алюминиевых сплавов после термической обработки.

[9]

Поставленная задача достигается тем, что перед термообработкой сварной пространственной конструкции ее закладывают в устройство для фиксации, содержащее корпус, выполненный из стальной трубы, с установленными на концах плитами, одна из которых неподвижна, а вторая имеет возможность перемещения вдоль оси устройства. На плитах установлены клиновые прижимы, в промежутке между плитами расположены ложементы со съемными упорами, между которыми имеется установочный зазор. Сварную конструкцию размещают в устройстве для фиксации, при этом совмещают внутренние поверхности поперечных и продольных элементов сварной конструкции с поверхностями плит и ложементов, закрепляют их клиновыми прижимами к плитам, упорами к ложементам с обеспечением установочного зазора, затем помещают в печь, нагревают до температуры 350°С и выдерживают в течение 0,5 час, охлаждают в печи до температуры 150°С с последующим охлаждением на воздухе.

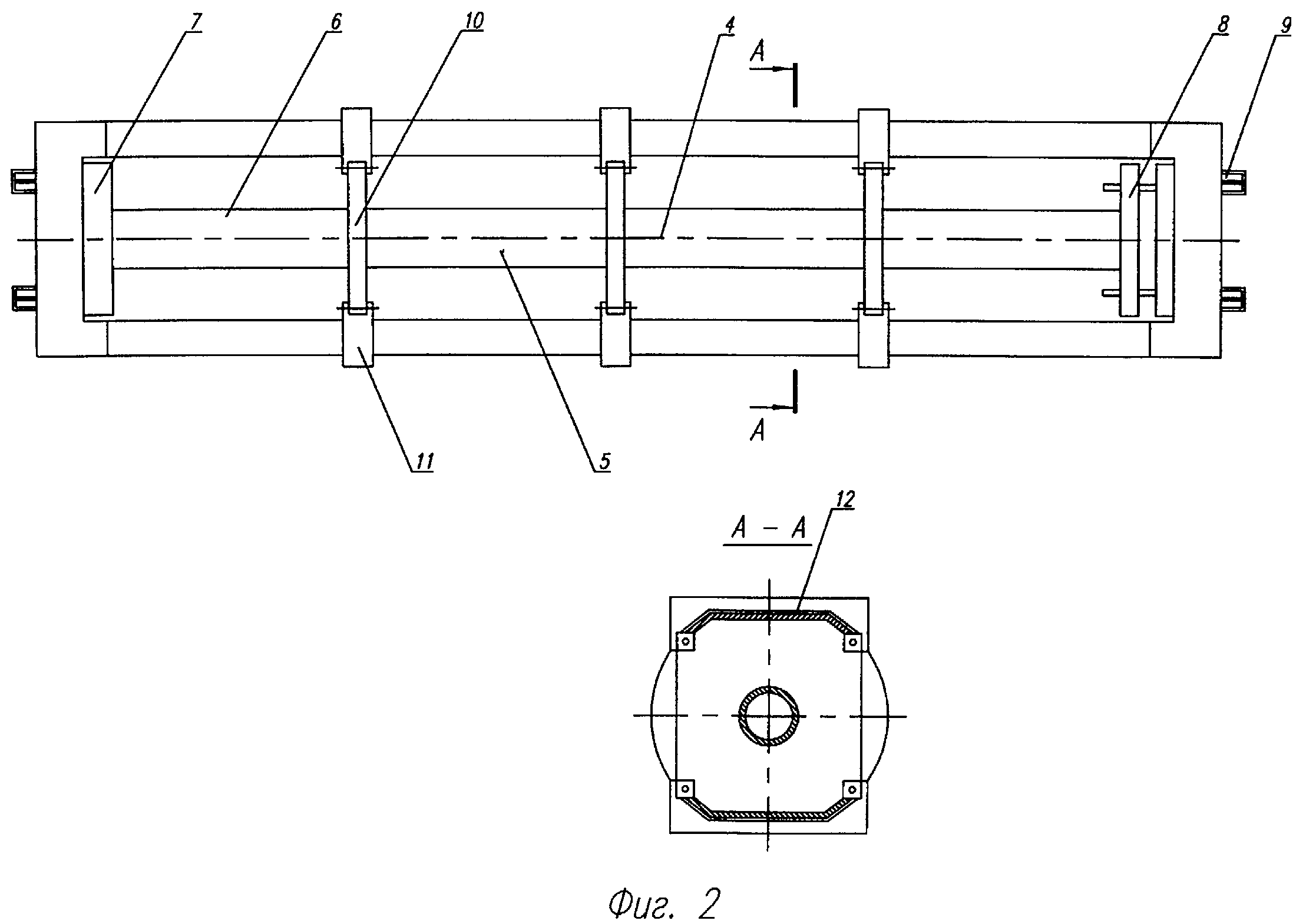
[10]

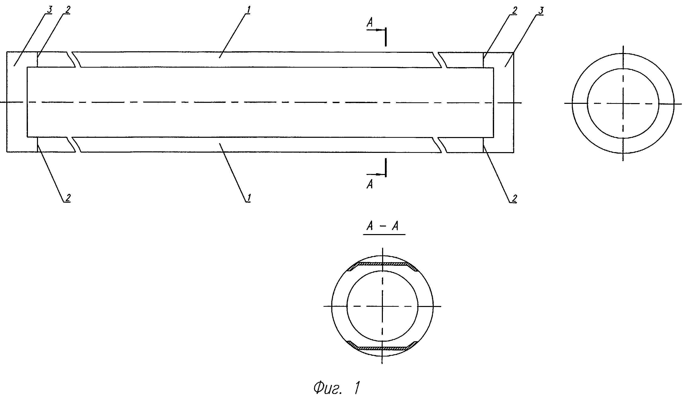
Устройство для термообработки содержит устройство для фиксации сварной конструкции и печь для нагрева. На фиг.1 представлен эскиз сварной конструкции каркаса контейнера. На фиг.2 - эскиз устройства для термообработки сварной конструкции каркаса контейнера (печь для нагрева на эскизе не показана).

[11]

Сварная конструкция каркаса контейнера (фиг.1) состоит из двух параллельных балок 1, соединенных стыковым швом 2 с двумя шпангоутами 3. После сварки в зоне сварных швов 2 возникают напряжения, способствующие деформации балок в виде прогибов, и, как следствие, происходит потеря взаимной параллельности и перпендикулярности сборочных единиц. Дальнейшая сборка контейнера в соответствии с требованиями конструкторской документации невозможна.

[12]

Устройство для фиксации 4 сварной алюминиевой конструкции каркаса контейнера (фиг.2) состоит из корпуса 5, выполненного из стальной трубы 6, с установленными на концах плитами 7 и 8, одна из которых - 7 - неподвижная, а другая - 8 - может перемещаться вдоль продольной оси устройства. На плитах установлены клиновые прижимы 9, в промежутке между плитами 7 и 8 имеются ложементы 10 со съемными упорами 11, между которыми установочный зазор 12 для размещения параллельных балок каркаса контейнера.

[13]

Предлагаемый способ термообработки сварного алюминиевого каркаса осуществляется следующим образом.

[14]

Каркас закладывают в устройство для фиксации 4, совмещая внутренние поверхности каркаса с поверхностями плит 7 и 8 и ложементами 10, закрепляя клиновыми прижимами 9 к плитам 7 и 8, а упорами 11 - к ложементам 10, обеспечивая параллельность и перпендикулярность поперечных и продольных элементов каркаса (балки и шпангоуты) относительно друг друга. Устанавливают зазор 12 между упорами 11 и наружной поверхностью параллельных балок для возможности перемещения балок в устройстве при нагреве, после чего устройство с каркасом помещают в печь и нагревают до температуры 350°С. Выдерживают в течение 0,5 ч. Устройство с каркасом оставляют в печи до снижения температуры до 150°С. При нагреве в печи алюминиевый каркас вместе со стальным устройством удлиняется и расширяется. При этом конструктивные особенности устройства и материал, из которого оно изготовлено, способствуют линейному перемещению и объемному расширению сварного каркаса в рамках заданных параметров. При воздействии температуры 350°С происходит термическая правка деформаций и релаксация внутренних напряжений. При охлаждении в печи до температуры 150°С продолжается процесс релаксации внутренних напряжений и фиксации геометрической формы каркаса, после чего устройство с каркасом вынимают из печи. При охлаждении конструкции на воздухе происходит процесс стабилизации.

[15]

Таким образом, пространственная сварная конструкция из алюминиевого сплава при нагреве и охлаждении фиксируется по основным геометрическим параметрам и не меняет своей заданной геометрической целостности. При этом снижаются внутренние напряжения не только в сварных швах, но и в сваренных элементах и, как следствие, в конструкции в целом.

[16]

Пример эффективности термической обработки сварной алюминиевой конструкции по предложенному способу реализован при изготовлении подвесных контейнеров изделия Су-30МКИ. Сварной каркас контейнера длиной 4000 мм и диаметром 400 мм из сплава АМг6 термообрабатывается для снятия напряжений в сварных соединениях. Полученный результат обеспечивает геометрическую точность в соответствии с конструкторской документацией.

Как компенсировать расходы
на инновационную разработку
Похожие патенты