Изобретение относится к нефтегазодобывающей промышленности, к области эксплуатации скважин, а именно к способам для вторичного вскрытия и обработки призабойной зоны карбонатного пласта. Способ включает спуск в эксплуатационную колонну (ЭК) закрепленных на колонне насосно-компрессорных труб (НКТ) пакера и гидромеханического прокалывающего перфоратора, установку пакера в ЭК с последующим вскрытием ЭК путем подачи в перфоратор под давлением рабочей жидкости с прокалыванием пробойниками перфорационных отверстий в ЭК, размытие каверн путем подачи рабочей жидкости в сформированные перфорационные отверстия ЭК через гидромониторные каналы пробойников перфоратора. Перед спуском колонны НКТ в ЭК проводят исследование карбонатного пласта на приток и определяют интервал с низким притоком нефти. Заполняют ЭК скважины вязкоупругим составом от забоя до кровли перфорируемого карбонатного пласта. На устье скважины на нижний конец колонны НКТ снизу вверх собирают компоновку, включающую прокалывающий гидромеханический перфоратор, циркуляционный клапан, механический пакер, свабный ограничитель. Спускают компоновку на колонне НКТ в ЭК, располагая пробойники перфоратора в интервале карбонатного пласта с низким притоком. Пакер размещают над кровлей карбонатного пласта. Открывают затрубную задвижку и сажают пакер. Производят прокалывающую гидромеханическую перфорацию ступенчато с повышением давления рабочей жидкости в колонне НКТ 5,0-8,0-10,0-12,0 МПа до получения двух симметричных перфорационных отверстий в ЭК, расположенных под углом 180°. При давлении 12 МПа заменяют рабочую жидкость на 15%-ный водный раствор соляной кислоты. Доводят давление закачки до 15,0 МПа. Через гидромониторные каналы пробойников производят размыв каверн в течение 15 мин. Продавливают остатки 15%-ного водного раствора соляной кислоты из колонны НКТ через каверны в призабойную зону карбонатного пласта. Сбрасывают давление в колонне НКТ до нуля и оставляют скважину на технологическую выдержку. Извлекают вязкоупругий состав и продукты реакции 15%-ного водного раствора соляной кислоты с породой карбонатного пласта. По колонне НКТ через отверстия в циркуляционном клапане и перфорационные отверстия ЭК скважины в призабойную зону карбонатного пласта закачивают и продавливают растворитель в объеме из расчета 1,0 мна 1 м высоты карбонатного пласта. Обеспечиваются повышение эффективности размыва каверн, повышение качества очистки призабойной зоны карбонатного пласта, повышение надежности реализации способа. 5 ил.
Способ перфорации скважины и обработки призабойной зоны карбонатного пласта, включающий спуск в эксплуатационную колонну (ЭК) закрепленных на колонне насосно-компрессорных труб (НКТ) пакера и гидромеханического прокалывающего перфоратора, установку пакера в ЭК с последующим вскрытием ЭК путем подачи в перфоратор под давлением рабочей жидкости с прокалыванием пробойниками перфорационных отверстий в ЭК, размытие каверн путем подачи рабочей жидкости в сформированные перфорационные отверстия ЭК через гидромониторные каналы пробойников перфоратора, отличающийся тем, что перед спуском колонны НКТ в ЭК проводят исследование карбонатного пласта на приток и определяют интервал с низким притоком нефти, далее заполняют ЭК скважины вязкоупругим составом от забоя до кровли перфорируемого карбонатного пласта, затем на устье скважины на нижний конец колонны НКТ снизу вверх собирают компоновку, включающую прокалывающий гидромеханический перфоратор, циркуляционный клапан, механический пакер, свабный ограничитель, спускают компоновку на колонне НКТ в ЭК, при этом пробойники перфоратора располагают в интервале карбонатного пласта с низким притоком, механический пакер размещают над кровлей карбонатного пласта, затем открывают затрубную задвижку и сажают механический пакер, после чего производят прокалывающую гидромеханическую перфорацию ступенчато с повышением давления рабочей жидкости в колонне НКТ 5,0-8,0-10,0-12,0 МПа до получения двух симметричных перфорационных отверстий в ЭК, расположенных под углом 180°, затем при давлении 12 МПа заменяют рабочую жидкость на 15%-ный водный раствор соляной кислоты, доводят давление закачки до 15,0 МПа, через гидромониторные каналы пробойников перфоратора производят размыв каверн 15%-ным водным раствором соляной кислоты в течение 15 мин, после продавливают остатки 15%-ного водного раствора соляной кислоты из колонны НКТ через каверны в призабойную зону карбонатного пласта, далее сбрасывают давление в колонне НКТ до нуля и оставляют скважину на технологическую выдержку, затем извлекают вязкоупругий состав и продукты реакции 15%-ного водного раствора соляной кислоты с породой карбонатного пласта, для чего сбрасывают шар в колонну НКТ, повышают давление в колонне НКТ до открытия отверстий в циркуляционном клапане, затем спускают сваб в колонну НКТ и свабированием по колонне НКТ извлекают вязкоупругий состав и продукты реакции 15%-ного водного раствора соляной кислоты с породой пласта, далее по колонне НКТ через отверстия в циркуляционном клапане и перфорационные отверстия ЭК скважины в призабойную зону карбонатного пласта закачивают и продавливают растворитель в объеме из расчета 1,0 м3 на 1 м высоты карбонатного пласта.
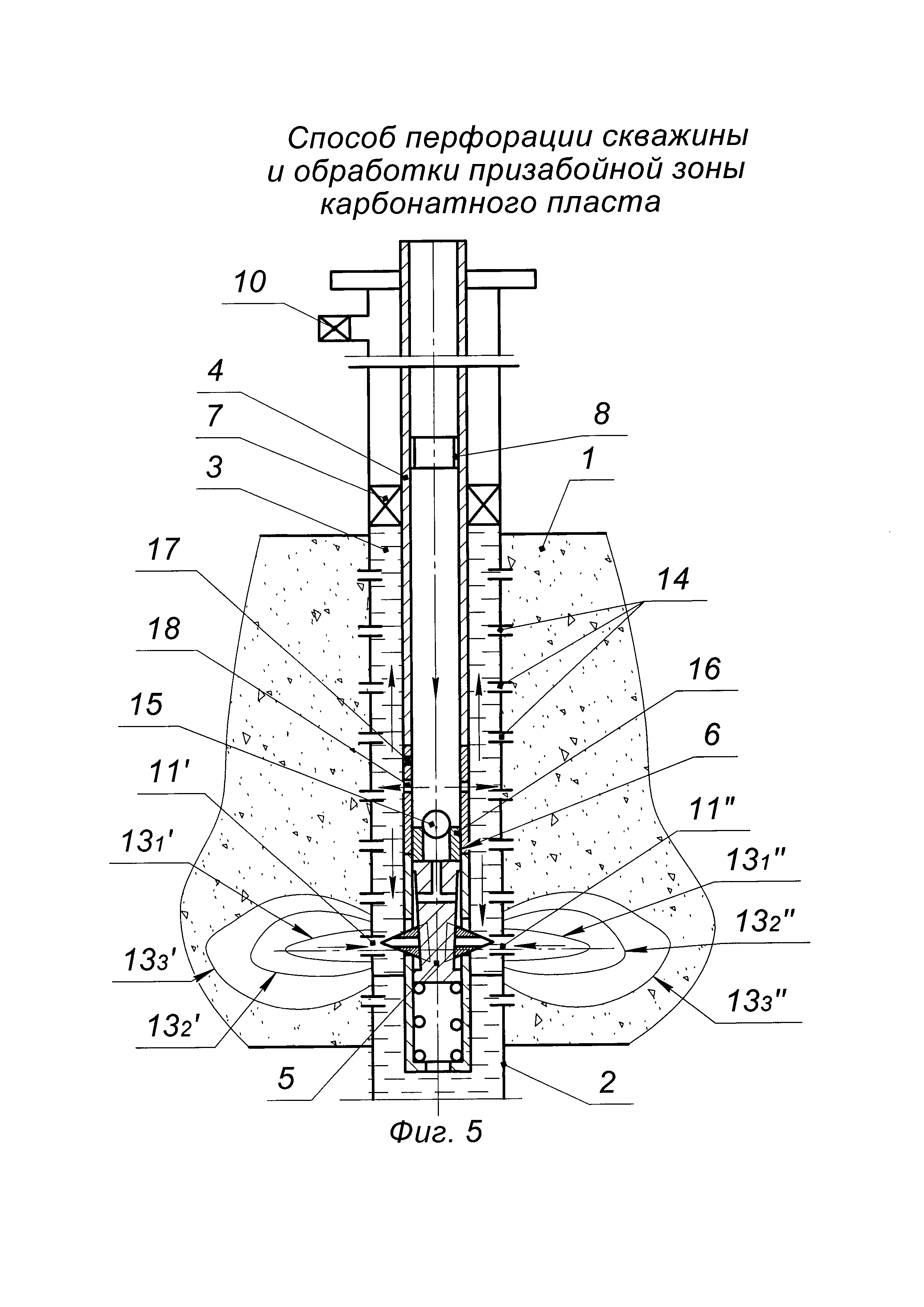
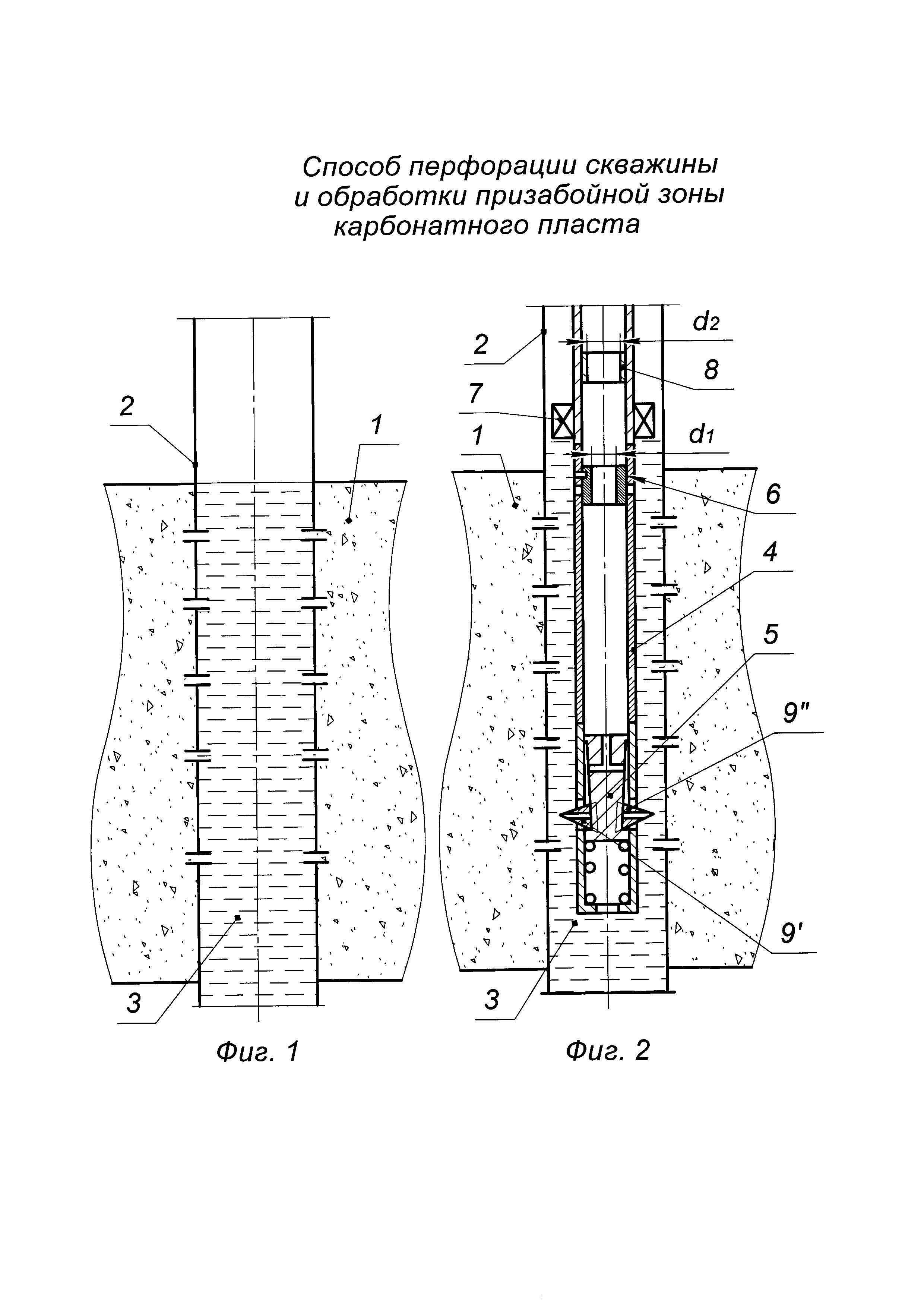
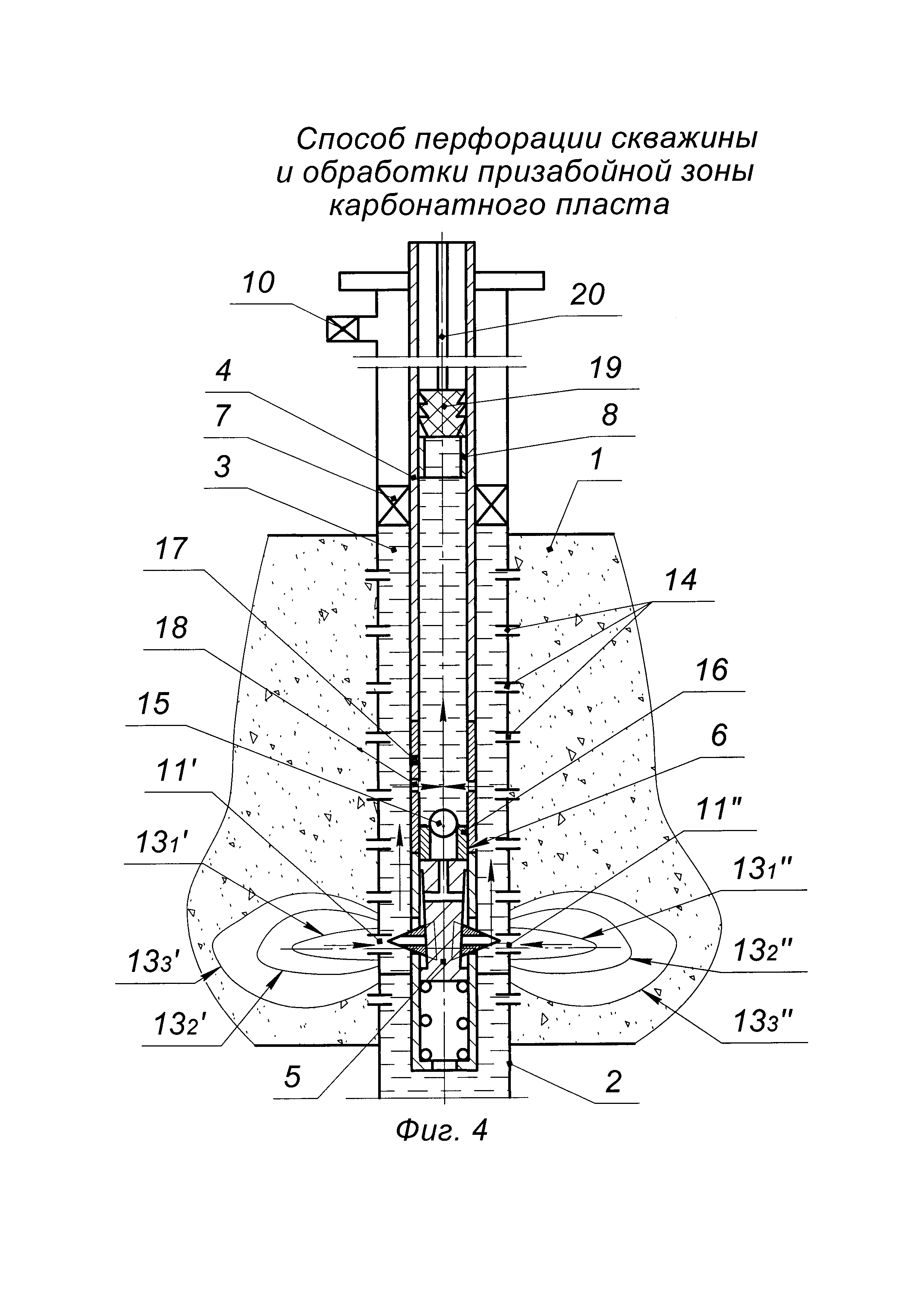
Изобретение относится к нефтегазодобывающей промышленности к области эксплуатации скважин, а именно к способам для вторичного вскрытия и обработки призабойной зоны карбонатного пласта. Известны способы перфорации скважин с использованием гидромеханических перфораторов многоразового использования, которые устанавливаются в скважине на колонне насосно-компрессорных труб (НКТ). Они имеют различные типы и формы рабочих органов с гидромониторными каналами и насадками, которые обеспечивают гидродинамический размыв каверн в заколонном пространстве скважины высокоскоростными струями рабочей жидкости, описанные в патентах: «Устройство для создания перфорационных каналов глубокого проникновения в нефтяных и газовых скважинах» (патент RU №2403380, МПК Е21В 43/114, опубл. 10.11.2010 г. в бюл. №31), «Гидромеханический щелевой перфоратор (варианты)» (патент RU №2247226, МПК Е21В 43/112, опубл. 27.02.2005 г. в бюл. №6). Общими недостатками способов с использованием указанных устройств являются: - снижение фильтрационных свойств пласта, так как при размыве каверн частицы цементного камня и горной породы - кольматант - устремляются вглубь пласта и забивают флюидопроводящие каналы; - низкая эффективность размыва каверн рабочей жидкостью (технической водой), что не позволяет максимально увеличить размеры каверны. Также известен способ кислотной обработки карбонатного пласта (патент RU №2535538, МПК Е21В 43/27, опубл. 20.12.2014 г. в бюл. №35), включающий предварительную промывку скважины органическим растворителем, затем последовательную закачку в скважину органического растворителя, раствора пленкообразователя, в качестве которого используют 5-30%-ный раствор мазута в углеводородном растворителе в объеме 0,5-2,5 м3/м перфорированной толщины пласта, буфера органического растворителя в количестве 3-6 м3 и кислотного раствора в количестве 1-5 м3/м перфорированной толщины пласта и последующую продавку в пласт закачанных жидкостей. Недостатками данного способа являются: - низкое качество обработки призабойной зоны пласта (ПЗП), вследствие кислотной обработки через существующие перфорационные отверстия, т.е. без дополнительного вскрытия эксплуатационной колонны (ЭК) гидромеханической прокалывающей перфорацией; - низкая эффективность обработки ПЗП, отсутствие размыва каверн перед кислотной обработкой, что не позволяет глубоко в ПЗП обработать флюидопроводящие каналы. Наиболее близким по технической сущности и достигаемому результату является способ гидромеханической перфорации скважин на депрессии (патент RU №2612702, МПК Е21В 43/114, опубл. 13.03.2017 г. в бюл. №8), при котором осуществляют спуск в ЭК закрепленных на колонне НКТ струйного насоса, пакера и гидромеханического прокалывающего перфоратора. Устанавливают пакер в ЭК с последующим вскрытием ЭК путем подачи в перфоратор под давлением рабочей жидкости с формированием перфорационных отверстий пробойниками перфоратора. Осуществляют размыв каверн путем подачи рабочей жидкости в сформированные перфорационные отверстия через гидромониторные каналы пробойников перфоратора. Извлекают кольматант из ПЗП путем создания депрессии струйным насосом в подпакерном пространстве. Вскрытие ЭК осуществляют в два этапа. На первом этапе осуществляют формирование технологических перфорационных отверстий без размыва каверн. На втором этапе осуществляют формирование перфорационных отверстий, через которые производят размыв каверн, одновременно с которым осуществляют создание депрессии струйным насосом в подпакерном пространстве и извлечение кольматанта через технологические перфорационные отверстия. Недостатками данного способа являются: - низкая эффективность размыва каверн рабочей жидкостью (технической водой), что не позволяет максимально увеличить размеры каверн; - низкое качество очистки ПЗП скважин, в том числе для скважин с асфальтено-парафиновыми отложениями (АСПО), вызванное отсутствием обработки ПЗП после размыва каверн, из-за этого невозможно увеличить приток нефти из флюидопроводящих каналов пласта через каверны в скважину; - низкая надежность реализации способа, связанная с потерей герметичности гидравлического пакера в процессе реализации способа; - длительность реализации способа, связанная с извлечением кольматанта из ПЗП, так как для этого сначала необходимо откачать жидкость из всего затрубного пространства (пакер гидравлического действия при откачке распакерован) с помощью струйного насоса, в связи с этим высокие финансовые затраты реализации способа. Техническими задачами изобретения являются повышение эффективности размыва каверн, качества очистки ПЗП карбонатного пласта, а также повышение надежности работы пакера и снижение финансовых затрат при реализации способа. Поставленные технические задачи решаются способом перфорации скважины и обработки призабойной зоны карбонатного пласта, включающим спуск в эксплуатационную колонну - ЭК закрепленных на колонне насосно-компрессорных труб - НКТ пакера и гидромеханического прокалывающего перфоратора, установку пакера в ЭК с последующим вскрытием ЭК путем подачи в перфоратор под давлением рабочей жидкости с прокалыванием пробойниками перфорационных отверстий в ЭК, размытие каверн путем подачи рабочей жидкости в сформированные перфорационные отверстия ЭК через гидромониторные каналы пробойников перфоратора. Новым является то, что перед спуском колонны НКТ в ЭК проводят исследование карбонатного пласта на приток и определяют интервал с низким притоком нефти, далее заполняют ЭК скважины вязкоупругим составом от забоя до кровли перфорируемого карбонатного пласта, затем на устье скважины на нижний конец колонны НКТ снизу вверх собирают компоновку, включающую прокалывающий гидромеханический перфоратор, циркуляционный клапан, механический пакер, свабный ограничитель, спускают компоновку на колонне НКТ в ЭК, при этом пробойники перфоратора располагают в интервале карбонатного пласта с низким притоком, механический пакер размещают над кровлей карбонатного пласта, затем открывают затрубную задвижку и сажают механический пакер, после чего производят прокалывающую гидромеханическую перфорацию ступенчато с повышением давления рабочей жидкости в колонне НКТ 5,0-8,0-10,0-12,0 МПа до получения двух симметричных перфорационных отверстий в ЭК, расположенных под углом 180°, затем при давлении 12 МПа заменяют рабочую жидкость на 15%-ный водный раствор соляной кислоты, доводят давление закачки до 15,0 МПа, через гидромониторные каналы пробойников перфоратора производят размыв каверн 15%-ным водным раствором соляной кислоты в течение 15 мин, после продавливают остатки 15%-ного водного раствора соляной кислоты из колонны НКТ через каверны в призабойную зону карбонатного пласта, далее сбрасывают давление в колонне НКТ до нуля и оставляют скважину на технологическую выдержку, затем извлекают вязкоупругий состав и продукты реакции 15%-ного водного раствора соляной кислоты с породой карбонатного пласта, для чего сбрасывают шар в колонну НКТ, повышают давление в колонне НКТ до открытия отверстий в циркуляционном клапане, затем спускают сваб в колонну НКТ и свабированием по колонне НКТ извлекают вязкоупругий состав и продукты реакции 15%-ного водного раствора соляной кислоты с породой пласта, далее по колонне НКТ через отверстия в циркуляционном клапане и перфорационные отверстия ЭК скважины в призабойную зону карбонатного пласта закачивают и продавливают растворитель в объеме из расчета 1,0 м3 на 1 м высоты карбонатного пласта. На фиг. 1-5 схематично изображен предлагаемый способ. Предлагаемый способ реализуют следующим образом. Проперфорированный карбонатный пласт 1 (см. фиг. 1) исследуют на приток нефти и определяют интервал с низким притоком. Например, вскрытый карбонатный пласт 1 в скважине имеет высоту 8 м в интервале 1255-1263 м. По результатам исследований термодебитометрией определили, что в интервале 1261-1263 м приток (дебит) нефти карбонатного пласта ниже среднего дебита по карбонатному пласту 1. Например, средний дебит (приток) нефти по пласту 15 т/сут, а в интервале 1261-1263 м дебит нефти составляет 5 т/сут. Далее проводят работы по увеличению нефтеотдачи карбонатного пласта 1. Для этого спускают в скважину технологическую колонну труб (на фиг. 1-5 не показано) и заполняют ЭК 2 (см. фиг. 1) от забоя до кровли карбонатного пласта 1 любым известным вязкоупругим составом 3, например, описанным в патенте RU №2620674 «Состав для изоляции межтрубного пространства скважин» МПК Е21В 33/138, опубл. 29.05.2017 г. в бюл №16. Извлекают технологическую колонну труб. Далее на устье скважины на нижний конец колонны НКТ 4 (см. фиг. 2) снизу вверх собирают компоновку, включающую прокалывающий гидромеханический перфоратор 5 (далее перфоратор), циркуляционный клапан 6, механический пакер 7 и свабный ограничитель 8. При этом выполняется условие где d1 - внутренний диаметр циркуляционного клапана 6, мм; d2 - внутренний диаметр свабного ограничителя 8, мм. В качестве перфоратора 5 используют любое известное устройство, позволяющее последовательно проводить проколы в ЭК 2 с помощью пробойника и размыв каверн через гидромониторные каналы, выполненные в этом же пробойнике. Например, используют устройство для создания перфорационных каналов в скважине, описанное в патенте RU №2487990, МПК Е21В 43/114, опубл. 20.07.2013 г. в бюл. №20. В качестве механического пакера 7 применяют любой известный пакер с механической осевой или радиальной посадкой. Спускают компоновку на колонне НКТ 4 в ЭК 2 (см. фиг. 2). Пробойники (резцы) 9' и 9'' перфоратора 5 располагают в интервале карбонатного пласта 1 с низким притоком 1261-1263 м, а механический пакер 7 размещают над кровлей карбонатного пласта 1. Открывают затрубную задвижку 10 (см. фиг. 3) и сажают механический пакер 7. Открытая задвижка 10 позволяет контролировать герметичность механического пакера 7 в процессе реализации способа. В случае негерметичной посадки пакера демонтируют оборудование и производят повторный спуск, как описано выше. Далее закачкой рабочей жидкости по колонне НКТ 4 производят прокалывающую гидромеханическую перфорацию, т.е. производят вскрытие ЭК 2 в интервале карбонатного пласта 1 с низким притоком нефти. В качестве рабочей жидкости применяют сточную воду плотностью ρ=1100 кг/м3. Для этого, например, с помощью цементировочного агрегата ЦА-320 (на фиг. 1-5 не показан) ступенчато создают давление рабочей жидкости в колонне НКТ 4 и перфораторе 5 сначала до 5,0 МПа с задержкой 10 сек, затем поднимают давление до 8,0 МПа с задержкой 10 сек, затем поднимают давление до 10,0 МПа с задержкой 10 сек, затем поднимают давление до 12,0 МПа. Таким образом, получают два симметричных перфорационных отверстия 11' и 11'' (см. фиг. 3) в ЭК 2, расположенных под углом 180° относительно друг друга. Затем, не сбрасывая давления в колонне НКТ 4 (не извлекая пробойников 9' и 9'' перфоратора 5 из перфорационных отверстий 11' и 11'' в ЭК 2), закачивают в колонну НКТ 4 15%-водный раствор соляной кислоты, т.е. заменяют рабочую жидкость в колонне НКТ 4 на 15%-водный раствор соляной кислоты. Доводят давление закачки по колонне НКТ 4 до 15,0 МПа и через гидромониторные каналы 12' и 12'' пробойников перфоратора 5 производят размыв каверн 131' и 131'', соответственно, 15%-ным водным раствором соляной кислоты в течение 15 минут. Вследствие реакции кислоты с породой карбонатного пласта 1 каверны 131' и 131'' постепенно увеличиваются в размерах до 132' и 132''. После чего остатки 15%-ного водного раствора соляной кислоты из колонны НКТ 4 продавливают с помощью технологической жидкости, например, сточной водой плотностью ρ=1100 кг/м3 в призабойную зону карбонатного пласта 1 через гидромониторные каналы 12' и 12'' пробойников перфоратора 5 и через каверны 131' и 131'' и 132' и 132'', увеличивая размеры каверн до 133' и 133''. Повышается эффективность размыва каверн за счет увеличения фильтрационных свойств карбонатного пласта, так как используется 15%-ный водный раствор соляной кислоты, который позволяет максимально увеличить размеры размываемых каверн. Вязкоупругий состав 3, находящийся в ЭК 2 скважины, не позволяет в процессе размыва каверн 13', 13'', 13''' проникать 15%-ному водному раствору соляной кислоты в существующие интервалы перфорации 14 карбонатного пласта 1. После чего сбрасывают давление в колонне НКТ 4 и перфораторе 5 до нуля и оставляют скважину на технологическую выдержку, например, в течение 8 часов. Затем производят извлечение вязкоупругого состава и продуктов реакции 15%-ного водного раствора соляной кислоты с породой карбонатного пласта 1, находящихся под механическим пакером 7 в ЭК 2. Для этого сбрасывают шар 15 (см. фиг. 4) в колонну НКТ 4. Так как соблюдается условие (1): d1<d2, то шар 15 свободно проходит через свабный ограничитель 8 и садится на втулку 16 циркуляционного клапана 6. С помощью цементировочного агрегата ЦА-320 (на фиг. 1-5 не показан) повышают давление в колонне НКТ 4 (см. фиг. 4) до разрушения срезного винта 17 и открытия отверстий 18 в циркуляционном клапане 6, например, до 7,0 МПа. В результате втулка 16 циркуляционного клапана 6 перемещается вниз вместе с шаром 15 до упора в верхний торец перфоратора 5, при этом открываются отверстия 18 в циркуляционном клапане 6. Спускают сваб 19 на геофизическом кабеле 20 в колонну НКТ 4. Свабированием по колонне НКТ 4 извлекают вязкоупругий состав 3 и продукты реакции 15%-ного водного раствора соляной кислоты с породой карбонатного пласта 1. Например, свабированием извлекают 15 м3 жидкости. По окончании свабирования извлекают из колонны НКТ 4 сваб 19 на геофизическом кабеле 20. Далее по колонне НКТ 4 через отверстия 18 (см. фиг. 5) в циркуляционном клапане 6, перфорационные отверстия 11', 11'' и существующие перфорационные отверстия 14 ЭК 2 скважины в призабойную зону карбонатного пласта 1 закачивают и продавливают технологической жидкостью, например сточной водой плотностью 1100 кг/м3, растворитель в объеме из расчета 1,0 м3 на 1 м высоты карбонатного пласта 1. При высоте карбонатного пласта 1, равной 8 м, закачивают и продавливают по колонне НКТ 4: 1,0 м3 ⋅ 8 м/м = 8 м3 растворителя. В качестве растворителя применяют любой известный растворитель для удаления АСПО из призабойной зоны карбонатного пласта, например, растворитель «МИА-пром» или «Интат». Выпадение АСПО является основной причиной снижения фильтрационных характеристик ПЗП добывающих скважин, поэтому обработка растворителем позволяет улучшить фильтрационные характеристики ПЗП добывающих скважин. По окончании обработки растворителем карбонатного пласта 1 распакеровывают механический пакер 7 и извлекают компоновку на колонне НКТ 4 из ЭК 2 скважины. Процесс реализации способа окончен. Повышается качество очистки призабойной зоны карбонатного пласта, так как после размыва каверн производится обработка ПЗП растворителем, как через размытые каверны, так и существующие интервалы перфорации карбонатного пласта, что позволяет увеличить приток (дебит) продукции из флюидопроводящих каналов пласта через каверны и перфорационные отверстия в скважину. Повышается надежность реализации способа, так как закачку и продавку 15%-ного водного раствора соляной кислоты и растворителя проводят под контролем герметичности механического пакера. Механический пакер в отличие от гидравлического не распакеровывается и не требует создания в нем гидравлического давления для сохранения герметичности. Сокращается продолжительность извлечения кольматанта из призабойной зоны карбонатного пласта и вязкоупругого состава, так как извлечение производится только из подпакерной зоны посаженного механического пакера, а не из всего затрубного пространства, в связи с чем снижаются финансовые затраты на реализацию способа. Предлагаемый способ перфорации скважины и обработки призабойной зоны карбонатного пласта позволяет: - повысить эффективность размыва каверн; - повысить качество очистки призабойной зоны карбонатного пласта; - повысить надежность реализации способа; - снизить финансовые затраты.