патент
№ RU 2643082
МПК B64G1/10

Многоцелевая трансформируемая орбитальная система и способ ее применения

Авторы:
Благов Анатолий Викторович
Номер заявки
2016107162
Дата подачи заявки
29.02.2016
Опубликовано
30.01.2018
Страна
RU
Как управлять
интеллектуальной собственностью
Чертежи 
1
Реферат

Группа изобретений относится к построению и управлению космическими аппаратами на орбитах ИСЗ. Система включает в себя орбитальную станцию, целевые (ЦМ) и обеспечивающие модули на компланарных орбитах. ЦМ имеют в своем составе многоразовые возвращаемые аппараты (МВА) крылатой схемы. В МВА размещены отсеки с целевой аппаратурой, используемые многократно бортовые системы модуля и ракеты-носителя и др. необходимые системы. Предусмотрен пилотируемый транспортно-целевой модуль с пилотируемым МВА. Модули системы выводятся на рабочие орбиты и управляются на них системами управления МВА с корректировкой программы наземными средствами. По завершении жизненного цикла элементов системы они переводятся на траекторию спуска в зону захоронения в Мировом океане. МВА совершают самолетную посадку на выбранный аэродром и, после прохождения регламента, используются повторно. Техническим результатом группы изобретений является создание с минимальными затратами и экологическим ущербом многоцелевой перестраиваемой орбитальной системы на компланарных орбитах. 2 н.п. ф-лы, 3 ил.

Формула изобретения

1. Многоцелевая трансформируемая орбитальная система, включающая: многомодульную орбитальную пилотируемую станцию в виде состыкованных на орбите для выполнения программы работ базового обитаемого орбитального модуля и не менее одного целевого модуля (ЦМ), оснащенных бортовыми системами и целевой аппаратурой, а также обеспечивающих пилотируемых и автоматических транспортных кораблей с узлами стыковки, ракеты-носители, снабженные системами управления, наземный комплекс управления (НКУ), отличающаяся тем, что целевые и обеспечивающие пилотируемые и автоматические модули системы находятся в раздельном полете на компланарных орбитах для автономной работы в космосе, кроме случаев, когда программа полета предусматривает проведение их стыковки на орбите, каждый ЦМ снабжен крылатым многоразовым возвращаемым аппаратом (МВА), состыкованным на Земле при помощи узла стыковки с возможностью отделения его после выполнения программы работ, и имеет внутренний объем для размещения экипажа при посещении и проведении работ на борту ЦМ, пилотируемый транспортно-целевой модуль (ПТЦМ) выполнен в виде рабочего отсека с размещенными в нем блоками заменяемой целевой аппаратуры ЦМ, двигательной установкой и узлами стыковки, к одному из которых пристыкован модифицированный под размещение экипажа многоразовый возвращаемый аппарат (МВА-М) и оборудованный отделяемым жилым отсеком надувной конструкции, автоматический транспортный модуль (ATM) имеет в своем составе МВА, топливный отсек с двигательной установкой маневра, системой стыковки с системой перекачки топлива, при этом каждый элемент орбитальной системы связан с НКУ, а бортовые системы МВА и МВА-М снабжены системой управления модулями и ракетой-носителем сокращенной в части системы управления комплектации.

2. Способ применения многоцелевой трансформируемой орбитальной системы, включающий выведение на орбиту модулей станции и их стыковку с пилотируемым базовым модулем орбитальной станции, доставку экипажа на борт станции и его замену с помощью пилотируемых транспортных кораблей, выполнение экипажем программных работ на борту станции, снабжение экипажа необходимыми грузами с помощью автоматических транспортных кораблей снабжения, возвращение экипажа на Землю с помощью возвращаемого аппарата капсульной или крылатой схемы, отличающийся тем, что производят выведение на орбиту ЦМ и обеспечивающих ПТЦМ и ATM и размещают их в расчетные точки компланарных орбит, в соответствии с программой в автоматическом режиме проводят целевые работы, в случае необходимости осуществляют оперативное перестроение ЦМ на компланарной орбите путем изменения ее параметров с помощью бортовой двигательной установки, при завершении программы использования ЦМ в космосе выдают тормозной импульс для его затопления в заданном районе Мирового океана, отделяют МВА, который с помощью бортовой двигательной установки выдает корректирующий импульс для формирования орбиты, обеспечивающей его посадку на аэродром базирования с использованием аэродинамического маневра в атмосфере; по мере выработки топлива ЦМ по данным НКУ выводят на орбиту ATM, стыкуют с ЦМ для перекачки топлива, после чего отделяют ATM от ЦМ, при возможности осуществляют дозаправку топливом других ЦМ, после выработки топлива ATM выдают тормозной импульс, отделяют топливный отсек для его захоронения в зоне отчуждения в Мировом океане, с помощью бортовой двигательной установки МВА выдают корректирующий импульс для формирования орбиты, обеспечивающей его посадку на аэродром базирования с использованием аэродинамического маневра в атмосфере; для проведения регламентных работ на одном или более ЦМ и программы космических исследований с участием экипажа на компланарную орбиту выводят ПТЦМ, раскрывают жилой отсек надувной конструкции, стыкуют ПТЦМ с обслуживаемым ЦМ, проводят необходимые работы, после выполнения которых осуществляют перелет к другому ЦМ, при необходимости пополняют запас топлива от ATM, по завершении программы работ по обслуживанию ЦМ и плановых работ по космическим исследованиям с участием экипажа выдают ПТЦМ тормозной импульс, отделяют рабочий отсек и жилой отсек надувной конструкции для затопления их в заданном районе Мирового океана, с помощью бортовой двигательной установки МВА-М выдают корректирующий импульс для формирования орбиты, обеспечивающей его посадку на аэродром базирования с использованием аэродинамического маневра в атмосфере; с возвращенными на Землю МВА и МВА-М проводят регламентно-восстановительные работы и передают их в состав новых ЦМ, ATM и ПТЦМ для повторного использования с ракетами-носителями сокращенной в части системы управления комплектации.

Описание

[1]

Изобретение относится к ракетно-космической технике в части обеспечения эффективного решения широкого круга разноплановых задач, в том числе меняющихся во времени, целевыми космическими аппаратами, находящимися на орбитах ИСЗ, с минимально возможными финансовыми затратами.

[2]

Известен комплекс «Мир», состоящий из многомодульной орбитальной пилотируемой станции в виде состыкованных на орбите для выполнения программы работ базового орбитального блока и пяти целевых модулей (ЦМ), оснащенных бортовыми системами и целевой аппаратурой, а также обеспечивающих пилотируемых и автоматических транспортных кораблей, наземного комплекса управления (НКУ), ракет-носителей, снабженных системами управления (Альбом «Орбитальный комплекс «Мир 1986-2001» / авторский коллектив: В. Семенов, Д. Аргутинский, Ю. Яшин и др. Росавиакосмос: ЗАО «Компания Видеокосмос», 2001).

[3]

Недостатком данного технического устройства является невозможность одновременного решения разноплановых задач, требующих сочетания различных условий космического полета для эффективного их выполнения, а также невозможность функционирования целевых блоков вне связки с базовым модулем станции.

[4]

Ближайшим аналогом предлагаемого технического решения для создания многоцелевой трансформируемой орбитальной системы является орбитальный комплекс «Алмаз» в составе орбитальной пилотируемой станции и возвращаемого аппарата капсульного типа (Challence to Apollo: The Soviet Union and the Space Race, 1945-1974. NASA SP-2000-4408, by Asif A. Siddigi, p. 590-596.).

[5]

Недостатком данного технического решения является невозможность возврата на землю дорогостоящей аппаратуры управления станцией и ракетой-носителем.

[6]

Технической задачей предлагаемого изобретения является создание многоцелевой трансформируемой орбитальной системы на основе разнопрофильных целевых модулей и эффективного способа ее применения в течение длительного времени эксплуатации.

[7]

Решение указанной задачи достигается тем, что целевые и обеспечивающие пилотируемые и автоматические модули системы находятся в раздельном полете на компланарных орбитах для автономной работы в космосе, кроме случаев, когда программа полета предусматривает проведение их стыковки на орбите, каждый ЦМ снабжен крылатым многоразовым возвращаемым аппаратом (МВА), состыкованным на Земле при помощи узла стыковки с возможностью отделения его после выполнения программы работ, и имеет внутренний объем для размещения экипажа при посещении и проведении работ на борту ЦМ, пилотируемый транспортно-целевой модуль (ПТЦМ) выполнен в виде рабочего отсека с размещенными в нем блоками заменяемой целевой аппаратуры ЦМ, двигательной установкой и узлами стыковки, к одному из которых пристыкован модифицированный под размещение экипажа многоразовый возвращаемый аппарат (МВА-М), оборудованный отделяемым жилым отсеком надувной конструкции, автоматический транспортный модуль (ATM) имеет в своем составе МВА, топливный отсек с двигательной установкой маневра, системой стыковки с системой перекачки топлива, при этом каждый элемент орбитальной системы связан с НКУ, а бортовые системы МВА и МВА-М снабжены системой управления модулями и ракетой-носителем сокращенной в части системы управления комплектации.

[8]

При формировании системы производят выведение на орбиту ЦМ и обеспечивающих ПТЦМ и ATM и размещают их в расчетные точки компланарных орбит, в соответствии с программой в автоматическом режиме проводят целевые работы, в случае необходимости осуществляют оперативное перестроение ЦМ на компланарной орбите путем изменения ее параметров с помощью бортовой двигательной установки, при завершении программы использования ЦМ в космосе выдают тормозной импульс для его затопления в заданном районе Мирового океана, отделяют МВА, который с помощью бортовой двигательной установки выдает корректирующий импульс для формирования орбиты, обеспечивающей его посадку на аэродром базирования с использованием аэродинамического маневра в атмосфере; по мере выработки топлива ЦМ по данным НКУ выводят на орбиту ATM, стыкуют с ЦМ для перекачки топлива, после чего отделяют ATM от ЦМ, при возможности осуществляют дозаправку топливом других ЦМ, после выработки топлива ATM выдают тормозной импульс, отделяют топливный отсек для его захоронения в зоне отчуждения в Мировом океане, с помощью бортовой двигательной установки МВА выдают корректирующий импульс для формирования орбиты, обеспечивающей его посадку на аэродром базирования с использованием аэродинамического маневра в атмосфере; для проведения регламентных работ на одном или более ЦМ и программы космических исследований с участием экипажа на компланарную орбиту выводят ПТЦМ, раскрывают жилой отсек надувной конструкции, стыкуют ПТЦМ с обслуживаемым ЦМ, проводят необходимые работы, после выполнения которых осуществляют перелет к другому ЦМ, при необходимости пополняют запас топлива от ATM, по завершении программы работ по обслуживанию ЦМ и плановых работ по космическим исследованиям с участием экипажа выдают ПТЦМ тормозной импульс, отделяют рабочий отсек и жилой отсек надувной конструкции для затопления их в заданном районе Мирового океана, с помощью бортовой двигательной установки МВА-М выдают корректирующий импульс для формирования орбиты, обеспечивающей его посадку на аэродром базирования с использованием аэродинамического маневра в атмосфере; с возвращенными на Землю МВА и МВА-М проводят регламентно-восстановительные работы и передают их в состав новых ЦМ, ATM и ПТЦМ для повторного использования с ракетами-носителями сокращенной в части системы управления комплектации.

[9]

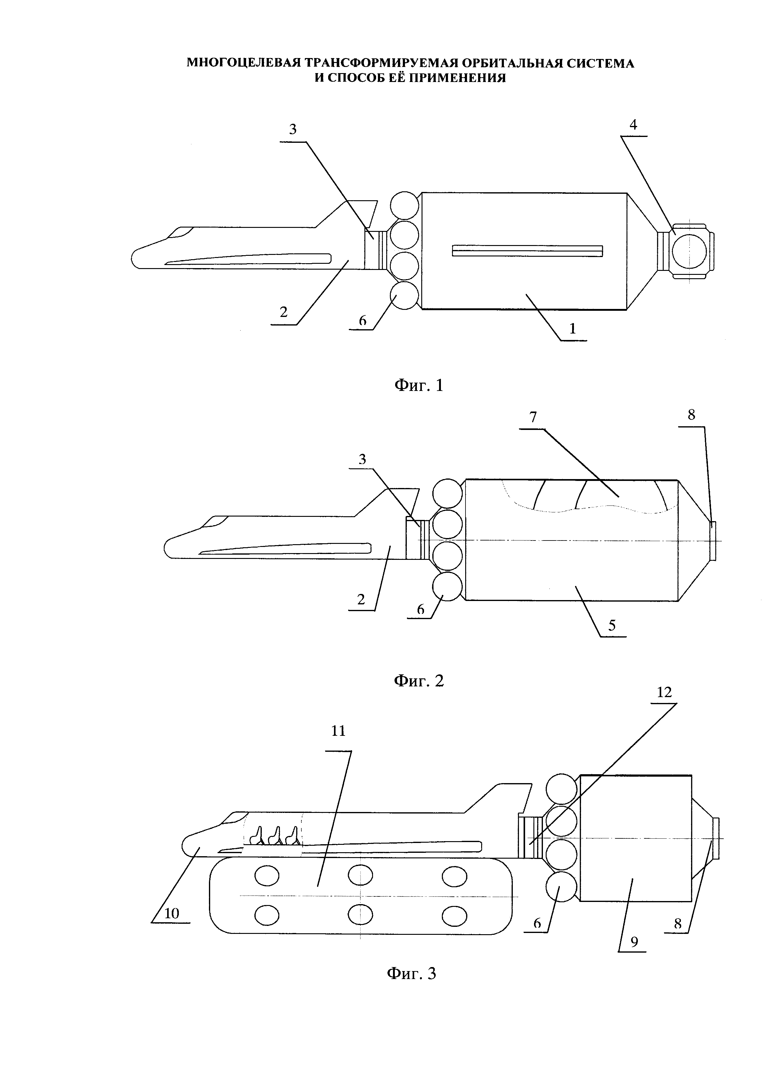
На приведенных чертежах изображены модули многоцелевой трансформируемой орбитальной системы по предлагаемому техническому решению.

[10]

Фиг. 1 - общий вид целевого модуля.

[11]

Фиг. 2 - общий вид автоматического транспортного модуля.

[12]

Фиг. 3 - общий вид пилотируемого транспортно-целевого модуля.

[13]

Принятые обозначения:

[14]

1. Рабочий отсек ЦМ с целевой аппаратурой;

[15]

2. МВА для ЦМ и ATM;

[16]

3. Узел стыковки МВА с рабочим отсеком ЦМ и топливным отсеком ATM;

[17]

4. Узел стыковки ЦМ с модулями системы на орбите;

[18]

5. Топливный отсек ATM;

[19]

6. Маршевая двигательная установка ЦМ, ATM и ПТЦМ для маневра на орбите;

[20]

7. Топливные баки ATM;

[21]

8. Узел стыковки;

[22]

9. Рабочий отсек ПТЦМ;

[23]

10. МВА-М для ПТЦМ;

[24]

11. Отделяемый жилой отсек надувной конструкции;

[25]

12. Модифицируемый стыковочный узел МВА-М с рабочим отсеком.

[26]

Функционирование многоцелевой трансформируемой орбитальной системы для решения многоплановых задач в космосе осуществляется следующим образом.

[27]

Производят выведение на рабочие орбиты ЦМ (фиг. 1) и обеспечивающих и ATM (фиг. 2) и ПТЦМ (фиг. 3).

[28]

Рабочий отсек ЦМ с целевой аппаратурой поз. 1 (фиг. 1) состыковывается на Земле с МВА для ЦМ поз. 2 (фиг. 1) с помощью узла стыковки поз. 3 (фиг. 1), который обеспечивает разделение рабочего отсека и МВА на орбите при завершении программы использования ЦМ. В процессе выполнения целевых работ в соответствии с программой в автоматическом режиме при необходимости осуществляют оперативное перестроение ЦМ на компланарной орбите путем изменения ее параметров с помощью бортовой двигательной установки поз. 6 (фиг. 1). При посещении ЦМ экипажем для проведения плановых регламентных или ремонтных работ с применением ПТЦМ (фиг. 3) его стыковка с ЦМ осуществляется с помощью узла стыковки поз. 4 (фиг. 1). Для сбора в случае необходимости нескольких ЦМ на орбите их объединение осуществляется через эти же узлы стыковки. При завершении программы использования ЦМ в космосе выдают тормозной импульс с помощью двигательной установки поз. 6 (фиг. 1) для его затопления в заданном районе Мирового океана, отделяют МВА поз. 2 (фиг. 1), который с помощью бортовой двигательной установки МВА (не показано) выдает корректирующий импульс для формирования орбиты, обеспечивающей его посадку на аэродром базирования с использованием аэродинамического маневра в атмосфере.

[29]

По мере выработки топлива ЦМ по данным НКУ выводят на орбиту ATM (фиг. 2), в составе которого имеется топливный отсек поз. 5 (фиг. 2) с баками поз. 7 (фиг. 2) и двигательной установкой с системой перекачки топлива (не показаны), и МВА для ATM поз. 6 (фиг. 2). Стыковку ATM с ЦМ осуществляют с помощью узла стыковки поз. 8 (фиг. 2), и осуществляют перекачку топлива для ЦМ. После дозаправки топливом отделяют АТК от ЦМ с помощью маршевой двигательной установки поз. 6 (фиг. 2), при наличии запасов топлива, осуществляют дозаправку топливом других ЦМ и ПТЦМ. После израсходования запасов топлива ATM дают тормозной импульс с помощью двигательной установки поз. 6 (фиг. 2), отделяют топливный отсек для его захоронения в зоне отчуждения Мирового океана, а МВА возвращается на аэродром базирования по схеме, описанной для МВА ЦМ.

[30]

В соответствии с программой работы системы на компланарную орбиту выводят ПТЦМ (фиг. 3), имеющий в своем составе рабочий отсек поз. 9 (фиг. 3), модернизированный МВА-М поз. 10 (фиг. 3) и отделяемый жилой отсек надувной конструкции поз. 11 (фиг. 3). Раскрывают отделяемый жилой отсек надувной конструкции поз. 11 (фиг. 3), в расчетное время стыкуют ПТЦМ с обслуживаемым ЦМ с помощью стыковочного узла поз. 8 (фиг. 3). Экипаж из МВА-М переходит через модернизированный стыковочный узел поз. 12 (фиг. 3) в рабочий отсек, проводит необходимые работы, после выполнения которых с помощью двигательной установки поз. 6 (фиг. 3) осуществляют перелет к очередному ЦМ, по завершении программы работ по обслуживанию отстыковывают ПТЦМ от последнего ЦМ. Далее экипаж продолжает выполнение специальной программы работ по исследованию космического пространства, по завершении которой дают тормозной импульс ПТЦМ, отделяют рабочий отсек поз. 9 (фиг. 3) и жилой отсек надувной конструкции поз. 11 (фиг. 3) для затопления их в заданном районе Мирового океана.

[31]

МВА-М по схеме описанной для МВА ЦМ осуществляет посадку на аэродром базирования с использованием аэродинамического маневра в атмосфере.

[32]

С возвращенными на Землю МВА ЦМ и ATM поз. 2 (фиг. 1, 2) и МВА-М поз. 10 (фиг. 3) проводят регламентно-восстановительные работы и передают их в состав новых ЦМ, ATM и ПТЦМ для повторного использования с ракетами-носителями упрощенной в части бортовой системы управления комплектации.

[33]

Предлагаемое техническое решение по сравнению с известными позволяет кардинально изменить подход ко многим направлениям развития отечественной космонавтики, повысить эффективность применения системы с минимальными затратами, за счет многократного использования наиболее значимых компонентов космической техники и возможности оперативного расширения объема и характера решаемых задач, а также обеспечить экологические требования в части «космического мусора».

Как компенсировать расходы
на инновационную разработку
Похожие патенты