патент
№ RU 2659724
МПК F41C7/00

Стрелковое оружие

Авторы:
Шамаев Владимир Александрович
Номер заявки
2017127663
Дата подачи заявки
02.08.2017
Опубликовано
03.07.2018
Страна
RU
Как управлять
интеллектуальной собственностью
Чертежи 
4
Реферат

Изобретение относится к области вооружения, а именно к стрелковому оружию. Стрелковое оружие содержит ствольную коробку со стволом, затворную раму с затвором и рукояткой, ударно-спусковой механизм, включающий курок, направляющий стержень с боевой пружиной. На курке выполнены фигурный паз, в котором установлен штифт с возможностью скольжения, и выступ, взаимодействующий с направляющим стержнем при взведении курка. Затворная рама снабжена подпружиненным двуплечим рычагом, жестко соединенным с рукояткой, причем при повороте рукоятки одно плечо рычага взаимодействует с углублением, выполненным в ствольной коробке, а другое плечо взаимодействует с выступом на направляющем стержне. Достигается повышение эксплуатационных характеристик. 7 ил.

Формула изобретения

Стрелковое оружие, содержащее ствольную коробку со стволом, затворную раму с затвором и рукояткой, ударно-спусковой механизм, включающий курок, направляющий стержень с боевой пружиной, отличающееся тем, что на курке выполнены фигурный паз, в котором установлен штифт с возможностью скольжения, и выступ, взаимодействующий с направляющим стержнем при взведении курка, затворная рама снабжена подпружиненным двуплечим рычагом, жестко соединенным с рукояткой, причем при повороте рукоятки одно плечо рычага взаимодействует с углублением, выполненным в ствольной коробке, а другое плечо взаимодействует с выступом на направляющем стержне.

Описание

[1]

Изобретение относится к стрелковому оружию и может быть использовано в охотничьем, боевом и спортивном оружии.

[2]

Известны спортивные винтовки МБО-1М и МБО-1К (см. Трофимов В.Н. «Отечественные спортивные винтовки и их охотничьи модификации. Справочник.» - М.: «Издательский Дом Рученькиных», 2005, с. 226-234, см. ж. «Калашников» №8, 2013 год, с.12-21), содержащие ствольную коробку со стволом, затворную раму с затвором, ударно-спусковой механизм, включающий корпус, спусковой крючок, курок и направляющий стержень с боевой пружиной. На затворной раме на оси закреплена подпружиненная рукоятка перезаряжания. На рычаге рукоятки затворной рамы выполнен выступ для фиксации затворной рамы в крайнем переднем положении.

[3]

Недостатком данных винтовок является большое усилие взведения курка после выстрела при перезаряжании, что приводит к потере устойчивости винтовки при необходимости быстрого прицеливания по мишени для производства последующего выстрела, например, в соревнованиях по биатлону.

[4]

Технической задачей заявляемого изобретения является повышение эксплуатационных характеристик.

[5]

Технический результат заключается в обеспечении повышения устойчивости изделия при скоростных перезаряжаниях с последующим прицеливанием по мишени или цели и значительного уменьшения усилия взведения курка при перезаряжании.

[6]

Поставленная задача достигается тем, что стрелковое оружие содержит ствольную коробку со стволом, затворную раму с затвором и рукояткой, ударно-спусковой механизм, включающий курок, направляющий стержень с боевой пружиной. На курке выполнены фигурный паз, в котором установлен штифт с возможностью скольжения, и выступ, взаимодействующий с направляющим стержнем при взведении курка, затворная рама снабжена подпружиненным двуплечим рычагом, жестко соединенным с рукояткой, причем при повороте рукоятки одно плечо рычага взаимодействует с углублением, выполненным в ствольной коробке, а другое плечо взаимодействует с выступом на направляющем стержне.

[7]

Сущность изобретения поясняется чертежами, на которых изображено:

[8]

на фиг. 1 – общий вид стрелкового оружия;

[9]

на фиг. 2 – общий вид стрелкового оружия (курок спущен, затворная рама с затвором в крайнем переднем положении);

[10]

на фиг. 3 – выносной элемент А на фиг. 2;

[11]

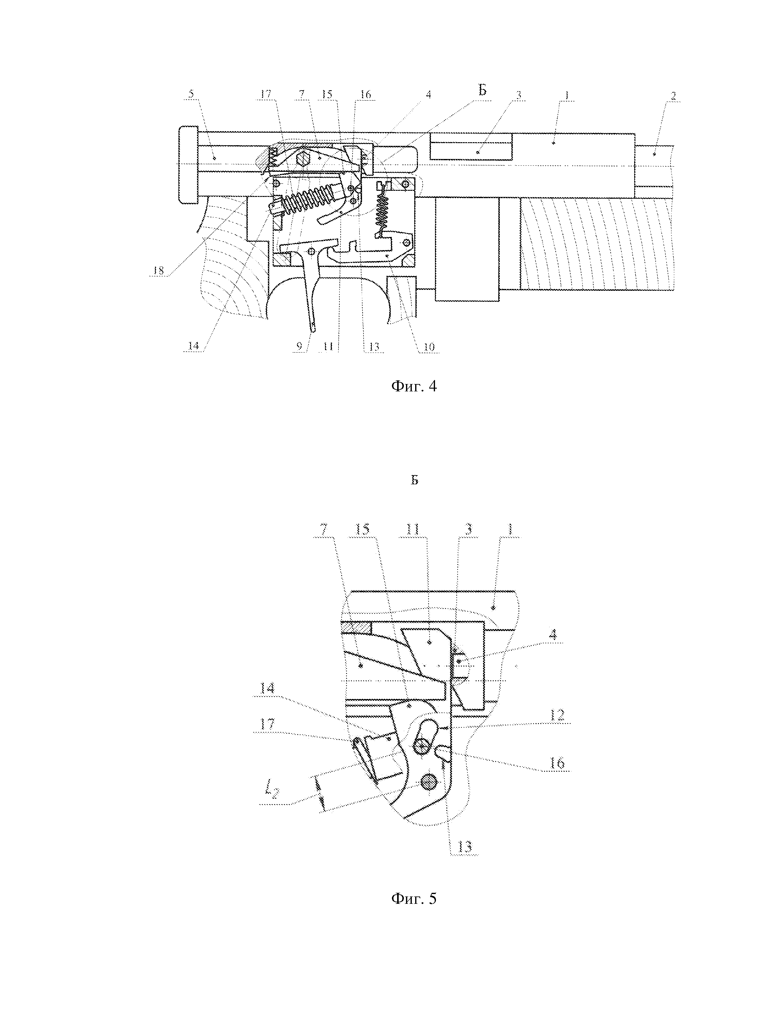
на фиг. 4 – общий вид стрелкового оружия (рукоятка с двуплечим рычагом повернуты, направляющий стержень с выступом опущены вниз по фигурному пазу курка, затворная рама разблокирована);

[12]

на фиг. 5 – выносной элемент Б на фиг. 4;

[13]

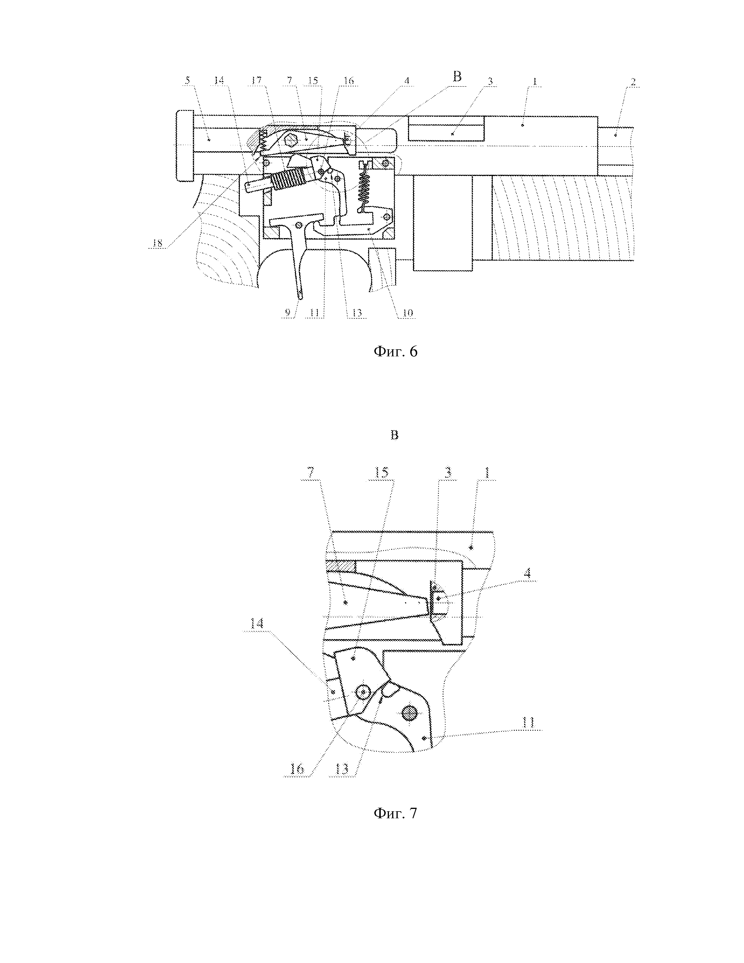
на фиг. 6 – общий вид стрелкового оружия (курок взведен, затворная рама с затвором в крайнем переднем положении);

[14]

на фиг. 7 – выносной элемент В на фиг. 6.

[15]

Стрелковое оружие содержит ствольную коробку 1 со стволом 2, затвор 3 с ударником 4, перемещающуюся возвратно-поступательно относительно ствольной коробки 1 затворную раму 5 с подпружиненной рукояткой 6 и двуплечим рычагом 7, жестко соединенным с рукояткой 6. Ударно-спусковой механизм 8 установлен в ствольной коробке 1 и состоит из спускового крючка 9, шептала 10, курка 11 с фигурным пазом 12 и выступом 13, направляющего стержня 14 с выступом 15, штифтом 16 и боевой пружиной 17, расположенной на направляющем стержне 14. В ствольной коробке 1 выполнено углубление 18.

[16]

Перед производством выстрела необходимо взвести курок 11. Перед началом взведения усилие боевой пружины 17 передается на курок на расстоянии L1 от оси курка 11. Для взведения курка 11 следует отвести за рукоятку 6 затворную раму 5 с затвором 3 в крайнее заднее положение. При этом рукоятка 6 поворачивается вместе с двуплечим рычагом 7, который одним плечом, выйдя из углубления 18 в ствольной коробке 1, разблокирует затворную раму 5 со ствольной коробкой 1, а вторым плечом, взаимодействуя с выступом 15, сжимает направляющий стержень 14 со штифтом 16, который, скользя по фигурному пазу 12 курка 11, опускается вниз, что уменьшит расстояние L2 до места взаимодействия усилия боевой пружины 17 относительно оси курка 11. Вследствие чего значительно уменьшается усилие взведения курка и повышается при этом устойчивость оружия. В конце поворота курка 11 его выступ 13 взаимодействует со стержнем 14 и ставит штифт 16 в первоначальное положение, что исключает потери энергии курка 11.

[17]

Для производства выстрела необходимо нажать на спусковой крючок 9, после чего курок 11 под действием боевой пружины 17 и направляющего стержня 14 энергично ударит по ударнику 4 затвора 3. Происходит выстрел.

[18]

Предложенная конструкция стрелкового оружия позволяет повысить эксплуатационные характеристики за счет повышения устойчивости изделия при скоростных перезаряжаниях с последующим прицеливанием по мишени или цели и значительного уменьшения усилия взведения курка при перезаряжании.

Как компенсировать расходы
на инновационную разработку
Похожие патенты