патент
№ RU 2644446
МПК G02B6/24

СПОСОБ ИЗГОТОВЛЕНИЯ УСТРОЙСТВА ЭНЕРГОНЕЗАВИСИМОГО ШИФРОВАНИЯ МНОГОПОТОКОВОГО ОПТИЧЕСКОГО СИГНАЛА В КАНАЛАХ ПЕРЕДАЧИ ИНФОРМАЦИИ

Авторы:
Даниленко Александр Николаевич Даниленко Дмитрий Александрович Воронцов Леонид Викторович
Все (5)
Номер заявки
2016127429
Дата подачи заявки
07.07.2016
Опубликовано
12.02.2018
Страна
RU
Как управлять
интеллектуальной собственностью
Чертежи 
2
Реферат

Изобретение относится к системам передачи оптических сигналов с шифрованным состоянием структуры информационного потока и может быть использовано при разработке оптико-электронных модулей специального назначения, имеющих незащищенные участки канала передачи информации. В способе изготовления устройства энергонезависимого шифрования многопотокового оптического сигнала в каналах передачи информации на адгезионной ленте размещают группы оптических волокон по числу передаваемых информационных потоков. Маркируют свободные концы групп оптических волокон, скатывают адгезионную ленту в рулон, формируя общий волоконный жгут. Далее выделяют отмаркированные группы оптических волокон в отдельные оптические жгуты, обеспечивающие передачу информационных потоков оптического сигнала, разрезают общий волоконный жгут посередине адгезионной ленты, формируя посредством единого разреза передающий и принимающий волоконно-оптические жгуты с абсолютно идентичными торцевыми поверхностями, обеспечивающие смешивание потоков оптического сигнала до прохождения им среды открытого доступа и последующее разделение информационных потоков оптического сигнала при его дешифровке. При этом посредством согласующего компонента осуществляют оптическое согласование торцевых поверхностей передающего и принимающего волоконно-оптического жгутов. Технический результат - упрощение методики изготовления устройств энергонезависимого шифрования многопотокового оптического сигнала. 3 ил.

Формула изобретения

Способ изготовления устройства энергонезависимого шифрования многопотокового оптического сигнала в каналах передачи информации, заключающийся в том, что на адгезионной ленте размещают группы оптических волокон по числу передаваемых информационных потоков, маркируют свободные концы групп оптических волокон, скатывают адгезионную ленту в рулон, формируя общий волоконный жгут, выделяют отмаркированные группы оптических волокон в отдельные оптические жгуты, обеспечивающие передачу информационных потоков оптического сигнала, разрезают общий волоконный жгут посередине адгезионной ленты, формируя посредством единого разреза передающий и принимающий волоконно-оптические жгуты с абсолютно идентичными торцевыми поверхностями, обеспечивающие смешивание потоков оптического сигнала до прохождения им среды открытого доступа и последующее разделение информационных потоков оптического сигнала при его дешифровке, посредством согласующего компонента осуществляют оптическое согласование торцевых поверхностей передающего и принимающего волоконно-оптического жгутов.

Описание

[1]

Изобретение относится к системам передачи оптических сигналов с шифрованным состоянием структуры информационного потока и может быть использовано при разработке оптико-электронных модулей специального назначения, имеющих незащищенные участки канала передачи информации.

[2]

Обзор существующего уровня техники позволяет найти описание способов изготовления устройств для передачи мультимедийных данных, а также приема потока закодированных изображений, основанных, например, на эффективном сжатии мультимедийной информации (см. материалы описания RU 2375839 С2, 10.12.2009).

[3]

Известны также устройства и способы обработки закодированного изображения, сигналы которого состоят из множества компонентов цвета (например, RU 2447611 С2, 10.04.2012) и способ декодирования изображений, в соответствии с которым информационный поток формируется посредством разделения каждого кадра сигнала движущегося изображения на опорные блоки заданного размера (RU 2509438 С2, 10.03.2014).

[4]

Особенностью способов изготовления устройств для передачи информационного потока в закодированном виде является технологическая сложность их реализации. Устройства осуществляют энергозависимую шифровку/дешифровку информационного потока данных, поскольку относятся к области обработки электрического (аналогового или цифрового) сигнала, в который предварительно преобразуют сигнал оптический, и не содержат кодировки сигнала на уровне самой его структуры (для последующей передачи от модуля к модулю), которая могла бы быть реализована энергонезависимым образом. Известные устройства, позволяющие осуществить кодирование информационного потока данных, осуществляют кодирование/декодирование входного видеосигнала, связанное, прежде всего, с цветоразностными и яркостными компонентами изображения, в соответствии с принятыми стандартами.

[5]

Известные методики шифрования и дешифрования звукового потока в каналах передачи речевых сигналов, где передаваемый аналоговый речевой сигнал на передающей стороне преобразуют в цифровой речевой сигнал, шифруют и одновременно с опорным сигналом передают в канал передачи, а на приемной стороне эти сигналы принимают, дешифруют и восстанавливают исходный аналоговый сигнал, не могут столь же эффективно использоваться при шифровании и дешифровании оптического потока (т.е., например, для передачи оптических изображений или информационных модулированных сигналов) ввиду сложности реализации данных методик применительно к физической оптике.

[6]

Известные квантовые криптосистемы, предназначенные для шифрования информации в квантовых системах передачи данных, содержащие оптические каналы, обеспечивают надежную защиту передаваемой информации благодаря использованию квантовых свойств фотонов (см., например, RU 2360367 С1, 27.06.2009). Однако способы шифрования, реализуемые в криптосистемах, ориентированы на дистанционную передачу закрытых ключей в оптических квантовых каналах. Квантовые криптосистемы имеют очень сложную структуру формирования закрытого сигнала, энергозависимы и имеют узкую специфику применения в оптотехнике.

[7]

Наиболее близким к заявляемому способу изготовления устройства энергонезависимого шифрования многопотокового оптического сигнала в каналах передачи информации можно считать способ изготовления волоконно-оптического модуля (см. RU 2117321 С1, 10.08.1998). В данном способе описана методика формирования волоконно-оптических жгутов, позволяющая достичь равномерности освещения исследуемых объектов, что может использоваться при изготовлении волоконно-оптических приемопередающих устройств. При этом способ не содержит методики обеспечения защиты передаваемого потока информации и не может применяться при изготовлении устройств шифрования оптического сигнала.

[8]

Задачей изобретения является разработка способа изготовления устройства энергонезависимого шифрования многопотокового оптического сигнала, при его транспортировке в каналах передачи информации, в соответствии с которым реализуется шифрование самой структуры оптического потока без использования для этой цели специальных программно-аппаратных средств.

[9]

Техническим результатом изобретения является упрощение методики изготовления устройств энергонезависимого шифрования многопотокового оптического сигнала.

[10]

Технический результат достигается тем, что в способе изготовления устройства энергонезависимого шифрования многопотокового оптического сигнала в каналах передачи информации на адгезионной ленте размещают группы оптических волокон по числу передаваемых информационных потоков, маркируют свободные концы групп оптических волокон, скатывают адгезионную ленту в рулон, формируя общий волоконный жгут, выделяют отмаркированные группы оптических волокон в отдельные оптические жгуты, обеспечивающие передачу информационных потоков оптического сигнала, разрезают общий волоконный жгут посередине адгезионной ленты, формируя посредством единого разреза передающий и принимающий волоконно-оптические жгуты с абсолютно идентичными торцевыми поверхностями, обеспечивающие смешивание потоков оптического сигнала до прохождения им среды открытого доступа и последующее разделение информационных потоков оптического сигнала при его дешифровке, посредством согласующего компонента осуществляют оптическое согласование торцевых поверхностей передающего и принимающего волоконно-оптического жгутов.

[11]

Сущность изобретения поясняется на фигурах 1-3.

[12]

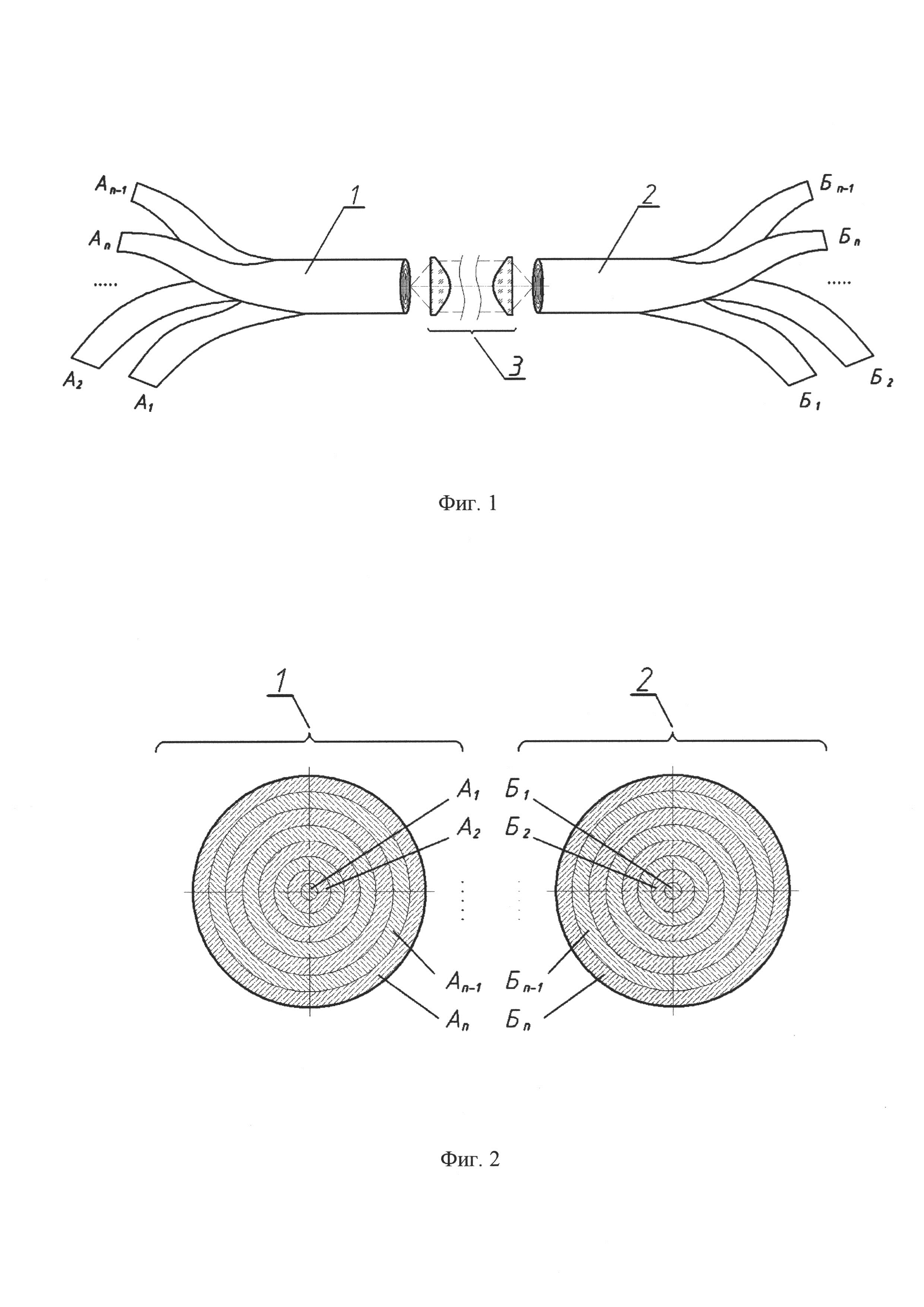
На фиг. 1 схематично представлено устройство с энергонезависимым шифрованием многопотокового оптического сигнала, реализованное предлагаемым способом, где: 1 - передающий волоконно-оптический жгут канала передачи информации, 2 - принимающий волоконно-оптический жгут канала передачи информации, 3 - согласующий компонент канала передачи информации.

[13]

На фиг. 2 схематично представлено распределение зон на торцах каждого из волоконно-оптических жгутов, соответствующих строго определенным информационным потокам.

[14]

На фиг. 3 условно показана структура формирования передающего и принимающего волоконно-оптических жгутов, обеспечивающего строго определенное соответствие зон на их торцах и осуществляемого при реализации способа.

[15]

Способ реализуется следующим образом.

[16]

1. На адгезионной ленте, в общем случае представляющей из себя тонкую плоскую ленту, покрытую связующим веществом, размещают группы оптических волокон (соответствующие потокам А1 Б1, А2 Б2, …, An-1 Бn-1, An Бn, (см. фиг. 3)), при этом число размещаемых групп оптических волокон соответствует заданному числу передаваемых информационных потоков.

[17]

2. Свободные концы групп оптических волокон, вне адгезионной ленты, маркируют любым известным способом для последующего их выделения из общего волоконного жгута (и передачи-приема потоков А1 Б1, А2 Б2, …, An-1 Бn-1, An Бn).

[18]

3. Скатывают адгезионную ленту в рулон, за счет чего каждая из групп волокон (см. фиг. 3), соответствующая потокам А1 Б1, А2 Б2, …, An-1 Бn-1, An Бn, образует концентричные кольцевые зоны в поперечном сечении волоконно-оптического жгута (при этом центральная часть жгута, как показано на фиг. 2, может быть сформирована из группы оптических волокон, заполняющих окружность).

[19]

4. Из общего волоконного жгута (см. фиг. 1), вне адгезионной ленты, по обе ее стороны выделяют отмаркированные группы оптических волокон в отдельные оптические жгуты.

[20]

5. Разрезают общий волоконный жгут посередине адгезионной ленты (см. фиг. 3), формируя в едином разрезе (общем разрезе для обеих частей устройства) передающий 1 и принимающий 2 волоконно-оптические жгуты с абсолютно идентичными торцевыми поверхностями (см. фиг. 2), что позволяет осуществить дальнейшее согласование (посредством согласующего компонента 3) отдельных потоков оптического сигнала.

[21]

6. Посредством согласующего компонента 3 осуществляют оптическое согласование торцевых поверхностей передающего 1 и принимающего 2 волоконно-оптического жгутов (оптическое сопряжение соответствующих кольцевых зон на торцах), располагая все формирующие канал элементы друг относительно друга таким образом, чтобы в принимающем волоконно-оптическом жгуте обеспечивалось восстановление исходных информационных потоков. При этом качество юстировки взаимного расположения элементов устройства и дистанция между торцевыми поверхностями волоконно-оптических жгутов позволяет обеспечить необходимое качество транспортировки многопотокового оптического сигнала, которое может быть оценено, например, отношением сигнал/шум.

[22]

В процессе использования устройства шифрования, изготовленного по предлагаемому способу, отдельные шифруемые информационные потоки оптического сигнала подают в соответствующие им каналы, средой распространения излучения для которых служат выделенные отдельные оптические жгуты для последующей транспортировки этих потоков (представленных на фиг. 1 как А1, А2, …, An-1, An) в передающем волоконно-оптическом жгуте 1 до его торцевой поверхности, на которой они распределены по кольцевым зонам (см. фиг. 2). Смешанный таким образом многопотоковый сигнал, направляется в открытую среду (среду открытого доступа, где оптический сигнал распространяется в незащищенном виде). При этом принимающий волоконно-оптический жгут 2 (т.е. приемная часть устройства, являясь абсолютно идентичной его передающей части) разделяет информационные потоки оптического сигнала (представленные на фиг. 1 как Б1, Б2, …, Бn-1, Бn) по соответствующим им каналам, средой распространения излучения для которых служат выделенные отдельные оптические жгуты.

[23]

Таким образом, устройство с энергонезависимым шифрованием многопотокового оптического сигнала, реализованное предлагаемым способом, содержит передающий волоконно-оптический жгут канала передачи информации 1, принимающий волоконно-оптический жгут канала передачи информации 2 и согласующий компонент канала передачи информации 3. Передающий и принимающий волоконно-оптические жгуты канала передачи информации имеют абсолютно идентичные торцевые поверхности, обращенные друг к другу и состоят из групп оптических волокон, размещенных в жгутах строго определенным образом.

[24]

Так, группы оптических волокон передающего волоконно-оптического жгута 1 с одной его стороны образуют отдельные оптические каналы для передачи каждого из потоков А1, А2, …, An-1, An (при этом отдельные оптические каналы выделены в отдельные оптические жгуты), а с другой его стороны, на торцевой поверхности - отдельные кольцевые зоны. Соответствующие им группы оптических волокон принимающего волоконно-оптического жгута 2 с одной его стороны, на торцевой поверхности, образуют отдельные кольцевые зоны, а с другой - отдельные оптические каналы для приема каждого из потоков Б1, Б2, …, Бn-1, Бn (при этом отдельные оптические каналы также выделены в отдельные оптические жгуты).

[25]

Согласующий компонент канала передачи информации 3 представляет из себя оптическую систему, оптически сопрягающую между собой торцевые поверхности жгутов, обращенные друг к другу. Элементы оптической системы, в частном случае, могут быть выполнены заодно с торцевыми поверхностями волоконно-оптических жгутов, т.е. оконцовывать их.

[26]

Строгое соответствие групп оптических волокон, при котором обеспечивается согласование каждого оптического канала, т.е. когда передаваемый поток А1 преобразуется в принимаемый поток Б1, поток А2 - в поток Б2, …, поток An-1 - в поток Бn-1, поток An - в поток Бn, осуществлено, таким образом, при формировании общего волоконного жгута (с выделением отдельных оптических жгутов) и его разрезании. Посредством же согласующего компонента канала передачи информации 3 реализуется строгое согласование шифруемых оптических каналов при последующей передачи (т.е., собственно, транспортировки) многопотокового оптического сигнала. При этом процесс шифрования, реализуемый в устройстве, заключается в смешивании потоков оптического сигнала до прохождения им среды открытого доступа (где оптический сигнал распространяется в незащищенной среде), при котором последующее разделение потоков (дешифрование) возможно только с использованием строго определенной "ответной" части канала передачи информации (абсолютная идентичность передающей и приемной частей, обеспечиваемая в предлагаемом способе, является условием для восстановления зашифрованного сигнала, т.е. условием последующего разделения потоков, необходимого для дешифровки).

[27]

Дистанция для передачи смешанного (т.е. зашифрованного многопотокового) сигнала зависит от качества юстировки взаимного расположения элементов устройства, свойств среды распространения излучения, площади и количества кольцевых зон, по которым распределены шифруемые потоки оптического сигнала.

[28]

Шифрование многопотокового оптического сигнала с использованием разделения общего потока на кольцевые зоны в передающем и принимающем волоконно-оптических жгутах, позволяет доступным и довольно простым образом обеспечить минимальное влияние угловых рассогласований торцов этих жгутов на качество передачи каждого из оптических потоков (повороты торцов жгутов вокруг их общей оси не приводят к ухудшению качества транспортировки сигнала в канале передачи информации, т.к. кольцевые зоны являются концентричными геометрическими фигурами), при этом обеспечивая значительный эффект в смешивании оптических потоков, наиболее выраженный при малых толщинах кольцевых зон (т.е. малых площадях зон).

[29]

Поскольку вся совокупность признаков предлагаемого способа позволяет изготовить устройство, в котором реализуется шифрование самой структуры оптического потока без использования для этой цели специальных программно-аппаратных средств, аналого-цифровых и цифро-аналоговых преобразователей (АЦП и ЦАП), а также вычислительных алгоритмов, устройство реализует энергонезависимое шифрование. Данная особенность, а также конструктивная простота устройства, изготовленного в соответствии с предлагаемым способом, обеспечивают упрощение методики изготовления устройств энергонезависимого шифрования многопотокового оптического сигнала.

[30]

В результате поиска, на основании источников патентной и технической информации, не обнаружены способы с совокупностью существенных признаков, совпадающих с предлагаемым изобретением и обеспечивающих заявляемый технический результат, таким образом, предлагаемое изобретение представляет собой техническое решение задачи, являющееся новым и обладающим изобретательским уровнем.

[31]

Простота предлагаемого способа предоставляет широкие возможности конструктивной реализации устройства и не требует для этого специальных средств и технологий изготовления. Таким образом, предлагаемое техническое решение является промышленно применимым и отвечает всем критериям патентоспособности.

Как компенсировать расходы
на инновационную разработку
Похожие патенты