патент
№ RU 2557325
МПК H01S3/0977
Номер заявки
2013136118/28
Дата подачи заявки
01.08.2013
Опубликовано
20.07.2015
Страна
RU
Как управлять
интеллектуальной собственностью
Чертежи 
12
Реферат

Изобретение относится к лазерной технике. Разрядная система эксимерного лазера включает в себя расположенную в лазерной камере (1) зону объемного разряда (4) между первым и вторым электродами (2), (3), продольные оси которых параллельны друг другу, каждый блок предыонизации (5) содержит систему формирования однородного завершенного скользящего разряда (CP) по поверхности протяженной диэлектрической пластины (6), имеющей в поперечном сечении изогнутую форму. Изогнутая диэлектрическая пластина (6) может быть выполнена в виде диэлектрической трубки. Технический результат заключается в обеспечении возможности увеличения энергии и мощности лазера. 2 н. и 19 з.п. ф-лы, 13 ил.

Формула изобретения

1. Разрядная система эксимерного лазера, включающая в себя расположенные в лазерной камере (1) протяженные первый электрод (2), установленный со стороны стенки лазерной камеры (1), второй электрод (3), зону объемного разряда (4) между первым и вторым электродами (2), (3), продольные оси которых параллельны друг другу, по меньшей мере, один блок предыонизации (5), содержащий
систему формирования однородного завершенного скользящего разряда (CP) между расположенными на поверхности протяженной диэлектрической пластины (6) протяженными поджигающим электродом (7) и либо инициирующим электродом (9), либо дополнительным электродом (14), соединенным с инициирующим электродом (9),
при этом протяженная диэлектрическая пластина (6) имеет в поперечном сечении изогнутую форму,
поджигающий электрод (7) установлен на лицевой поверхности (8) изогнутой диэлектрической пластины (6) вдоль нее,
протяженный инициирующий электрод (9) примыкает к обратной поверхности (10) диэлектрической пластины (6) и, по меньшей мере, примыкающая к инициирующему электроду (9) протяженная часть обратной поверхности (10) изогнутой диэлектрической пластины (6) является цилиндрической.

2. Устройство по п. 1, в котором система формирования CP установлена так, чтобы образующие цилиндрической поверхности изогнутой диэлектрической пластины (6) были параллельны продольным осям первого и второго электродов (2), (3).

3. Устройство по п. 1, в котором, лицевая и обратная стороны (8), (10) изогнутой диэлектрической пластины (6) являются цилиндрическими.

4. Устройство по п. 1, в котором, по меньшей мере, часть поверхности изогнутой диэлектрической пластины (6), совмещенная с поверхностью инициирующего электрода (9), является кругло- цилиндрической.

5. Устройство по п. 1, в котором изогнутая диэлектрическая пластина (6) выполнена в виде протяженной части цилиндрической тонкостенной диэлектрической трубки, заключенной между двумя продольными сечениями трубки, параллельными ее продольной оси.

6. Устройство по п. 1, в котором два идентичных блока предыонизации (5) расположены по бокам либо первого электрода (20), выполненного сплошным, либо второго электрода (3), выполненного сплошным.

7. Устройство по п. 1, в котором лицевая поверхность (8) изогнутой диэлектрической пластины (6) выпуклая.

8. Устройство по п. 1, в котором в качестве материала изогнутой диэлектрической пластины (6) используется либо сапфир, либо керамика, в частности, Al2O3.

9. Устройство по п. 1, в котором инициирующий электрод (9) выполнен охлаждаемым либо потоком газа, либо жидким теплоносителем.

10. Устройство по п. 1, в котором каждая точка зоны разряда (4) между первым и вторым электродами (2), (3) находится в зоне прямой видимости, по меньшей мере, части поверхностности изогнутой диэлектрической пластины (6), используемой для формирования СР.

11. Устройство по п. 1, в котором лицевая поверхность (8) изогнутой диэлектрической пластины (6) вогнутая.

12. Устройство по п. 1, в котором часть изогнутой диэлектрической пластины (6), не используемая для формирования CP, расположена с обратной стороны либо первого электрода (2), либо второго электрода (3).

13. Устройство по п. 1, в котором изогнутая диэлектрическая пластина (6) выполнена в виде цилиндрической тонкостенной диэлектрической трубки с продольным разрезом (29).

14. Устройство по п. 1, в котором изогнутая диэлектрическая пластина (6) выполнена в виде цилиндрической тонкостенной диэлектрической трубки с продольным разрезом (29), инициирующий электрод (9) размещен внутри диэлектрической трубки, и дополнительный электрод (14) соединен с инициирующим электродом (9) через продольный разрез (29) диэлектрической трубки.

15. Устройство по п. 1, в котором либо поджигающий электрод (7), либо дополнительный электрод (14), соединен либо с первым электродом (2), либо со вторым электродом (3).

16. Устройство по любому из пп. 1-5, 7-9, 12, 13, 15, в котором либо первый электрод (2), либо второй электрод (3) выполнен частично прозрачным, имеющим с обратной стороны протяженную нишу (35), в которой, по меньшей мере, частично размещен протяженный блок предыонизации (5), при этом в блоке предыонизации (5) система формирования CP выполнена симметричной относительно плоскости (30), включающей в себя продольные оси (31), (32) первого и второго электродов (2), (3), и содержит две зоны CP, симметрично расположенные по обе стороны указанной плоскости (30).

17. Устройство по любому из пп. 1-5, 7-9, 12, 13, 15, в котором либо первый электрод (2), либо второй электрод (3) выполнен частично прозрачным, имеющим с обратной стороны протяженную нишу (35), в которой, по меньшей мере, частично
размещен протяженный керамический изолятор (36) с п-образным, либо П-образным поперечным сечением, и система формирования CP, по меньшей мере, частично размещенная в протяженном керамическом изоляторе (36), содержит две зоны CP, симметрично расположенные по обе стороны плоскости (30), включающей в себя продольные оси (31), (32) первого и второго электродов (2), (3).

18. Разрядная система эксимерного лазера, включающая в себя расположенные в лазерной камере (1) протяженные первый электрод (2), установленный со стороны стенки лазерной камеры (1), второй электрод (3), зону объемного разряда (4) между первым и вторым электродами (2), (3), продольные оси которых параллельны друг другу, и, по меньшей мере, один блок предыонизации (5), при этом
каждый блок предыонизации (5) содержит систему формирования однородного завершенного CP на поверхности цельной диэлектрической трубки (6) между протяженными поджигающим электродом (7) и дополнительным электродом (14), установленными на лицевой поверхности диэлектрической трубки (6) вдоль нее, причем внутри диэлектрической трубки размещен протяженный инициирующий электрод (9), примыкающий к обратной поверхности (10) диэлектрической трубки (6).

19. Устройство по п. 18, в котором дополнительный электрод (14) подсоединен к инициирующему электроду (9) через торец диэлектрической трубки.

20. Устройство по п. 18 с либо первым электродом (2), либо вторым электродом (3), выполненным частично прозрачным, имеющим с обратной стороны протяженную нишу (35), в которой, по меньшей мере, частично размещен протяженный блок предыонизации (5), при этом в блоке предыонизации (5) система формирования CP выполнена симметричной относительно плоскости (30), включающей в себя продольные оси (31), (32) первого и второго электродов (2), (3), и содержит две зоны CP, симметрично расположенные по обе стороны указанной плоскости (30).

21. Устройство по любому из пп. 18-20, в котором поджигающий электрод 7 и дополнительный электрод 14 размещены диаметрально противоположно на лицевой поверхности цельной диэлектрической трубки вдоль нее.

Описание

[1]

ОБЛАСТЬ ТЕХНИКИ.

[2]

Изобретение относится к квантовой электронике, в частности к импульсно-периодическим эксимерным лазерам с УФ предыонизацией скользящим разрядом и может быть использовано при проектировании и изготовлении эксимерных лазеров и лазерных систем с высокой средней мощностью излучения.

[3]

ПРЕДШЕСТВУЮЩИЙ УРОВЕНЬ ТЕХНИКИ

[4]

В мощных эксимерных лазерах возбуждение активной среды осуществляется импульсно-периодическим объемным разрядом высокого (2,5-5 атм) давления в смесях инертных газов (Ne, He, Xe, Kr, Ar) с галогеносодержащими молекулами F2, HCl при высокой ~1 МВт/см3 плотности мощности накачки. Такой разряд принципиально неустойчив, и время сохранения объемным разрядом однородной формы обычно не превышает нескольких десятков наносекунд. При этом обеспечение оптимального уровня предыонизации активной среды, подверженной ряду изменений в процессе долговременной непрерывной работы, относится к основным факторам, определяющим достижение высоких выходных характеристик эксимерных лазеров. Кроме этого, конфигурация блока УФ предыонизации в многом определяет геометрию разрядной системы лазера и, соответственно, условия накачки активной среды.

[5]

В соответствии с потребностями современных высокопроизводительных технологий с использованием эксимерных лазеров их мощность постоянно возрастает. Однако повышение энергии и средней мощности излучения газоразрядных эксимерных лазеров имеет фундаментальные физические ограничения, которые при превышении оптимальных значений энергии генерации и частоты повторения импульсов обусловливают уменьшение эффективности лазера, снижение надежности и стабильности его работы и, в конечном счете, увеличение затрат на эксплуатацию лазера.

[6]

Все это определяет актуальность поиска решений, позволяющих оптимизировать конструкцию и метод работы эксимерных лазеров, повысить их мощность и стабильность работы, снизить затраты на получение энергии генерации.

[7]

Известна разрядная система эксимерного лазера [1], в которой УФ предыонизация осуществляется зажигаемыми сбоку от высоковольтного электрода коронными разрядами. При использовании в эксимерном лазере разрядная система позволяет эффективно получать энергию генерации при высокой частоте следования импульсов. Недостатком указанного устройства является малый уровень предыонизации, ограничивающий возможность увеличения апертуры основного разряда, повышения энергии генерации и средней мощности лазера.

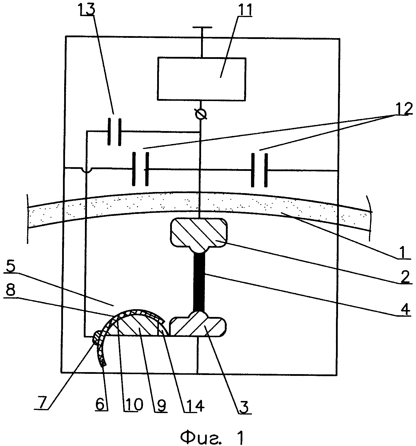
[8]

Этого недостатка лишена разрядная система эксимерного лазера с УФ предыонизацией, осуществляемой излучением от двух рядов искр, автоматически зажигаемых при зарядке импульсных конденсаторов сбоку от высоковольтного электрода, расположенного со стороны стенки лазерной камеры [2]. Данная система обеспечила достижение высокой (600 Вт) средней мощности лазерного УФ излучения в эксимерном KrF лазере. Недостатком электродной системы с УФ предыонизатором в виде рядов отдельных искровых промежутков является пространственная неоднородность предыонизации по длине электродов, что уменьшает КПД лазера, и ее сложность из-за необходимости герметизировать десятки токовводов предыонизатора. Кроме того, искровые промежутки обусловливают повышенное поступление в газ продуктов эрозии электродов блока предыонизации, что уменьшает время жизни газовой смеси лазера.

[9]

Частично этих недостатков лишена разрядная система эксимерного лазера с предыонизацией, осуществляемой через частично прозрачный электрод УФ излучением завершенного скользящего разряда (СР) по поверхности плоской диэлектрической. пластины [3]. В данной электродной системе обеспечивается высокий уровень и пространственная однородность предыонизации разрядной зоны между высоковольтным и заземленным электродами лазера. Достигается возможность повышения энергии генерации и средней мощности излучения лазера. При этом реализуется возможность в несколько раз уменьшить прокачиваемую через блок предыонизации энергию, что, в свою очередь, повышает время жизни газовой смеси. При генерации на XeCl средняя мощность эксимерного лазера с данной электродной системой достигала более 1 кВт. Однако частично прозрачный электрод с блоком предыонизации, расположенным с его обратной стороны, имеет относительно большие поперечные размеры, что повышает индуктивность разрядного контура. Этот фактор ограничивает получение высокоэффективной генерации в эксимерных лазерах на фторидах инертных газов (KrF, ArF), для которых наблюдается резкая зависимость эффективности лазера от индуктивности разрядного контура. Кроме этого, частично прозрачные электроды сложны и дороги в изготовлении.

[10]

Частично этих недостатков лишена разрядная система эксимерного лазера, содержащая расположенные в лазерной камере протяженные первый электрод, установленный со стороны стенки лазерной камеры, второй электрод, зону объемного разряда между первым и вторым электродами, продольные оси которых параллельны друг другу, блок предыонизации, содержащий, систему формирования однородного завершенного скользящего разряда (CP), включающую в себя диэлектрическую пластину,

[11]

поджигающий электрод, установленный на лицевой поверхности диэлектрической пластины вдоль нее, и протяженный инициирующий электрод, примыкающий к обратной стороне диэлектрической пластины [4]. Система формирования CP по поверхности протяженной диэлектрической (сапфировой) пластины расположена сбоку от второго электрода, выполненного сплошным. УФ предыонизация от скользящего разряда обеспечивает пространственно однородную предыонизацию зоны разряда между электродами лазера оптимально высокой интенсивности, при относительно малом энерговкладе в скользящий разряд. Все это позволяет получать высокоэффективную генерацию лазера с высокой (до 5 кГц) частотой следования импульсов при большом времени жизни газовой смеси.

[12]

Однако, система формирования CP, интегрированная в систему циркуляции газового потока лазера, обладает большими поперечными размерами, что увеличивает затраты на прокачку газа. Кроме этого, не вся зона основного разряда, примыкающая ко второму электроду, соединенному с инициирующим электродом, оптически связана с частью поверхности плоской пластины, используемой для зажигания CP, осуществляющего УФ предыонизацию. Это обусловливает возможность получения лишь относительно узкого, шириной £ 3мм, разряда между первым и вторым электродами и ограничивает возможности получения высоких (свыше ~0,1 Дж/импульс) значений выходной энергии лазера при генерации на экимерных молекулах.

[13]

РАСКРЫТИЕ ИЗОБРЕТЕНИЯ

[14]

Задачей изобретения является создание разрядных систем, интегрируемых в наиболее мощные эксимерные лазеры и лазерные системы различных конфигураций с целью высокоэффективного повышения энергии генерации и средней мощности лазерного УФ излучения.

[15]

Техническим результатом изобретения является улучшение разрядной системы эксимерного лазера, повышение энергии генерации, средней мощности излучения при высоком КПД лазера и снижение эксплуатационных затрат.

[16]

Для решения указанных задач предлагается разрядная система эксимерного лазера, включающая в себя расположенные в лазерной камере протяженные первый электрод, установленный со стороны стенки лазерной камеры и второй электрод, зону объемного разряда между первым и вторым электродами, продольные оси которых параллельны друг другу, по меньшей мере, один блок предыонизации, содержащий систему формирования однородного завершенного скользящего разряда (CP) между расположенными на поверхности протяженной диэлектрической пластины протяженными поджигающим электродом и либо инициирующим электродом, либо дополнительным электродом, соединенным с инициирующим электродом, при этом протяженная диэлектрическая пластина имеет в поперечном сечении изогнутую форму, поджигающий электрод установлен на лицевой поверхности изогнутой диэлектрической пластины вдоль нее, протяженный инициирующий электрод примыкает к обратной поверхности

[17]

диэлектрической пластины и, по меньшей мере, примыкающая к инициирующему электроду протяженная часть обратной поверхности изогнутой диэлектрической пластины является цилиндрической.

[18]

В вариантах изобретения система формирования CP установлена так, чтобы образующие цилиндрической поверхности изогнутой диэлектрической пластины были параллельны продольным осям первого и второго электродов.

[19]

В вариантах изобретения лицевая и обратная стороны изогнутой диэлектрической пластины являются цилиндрическими.

[20]

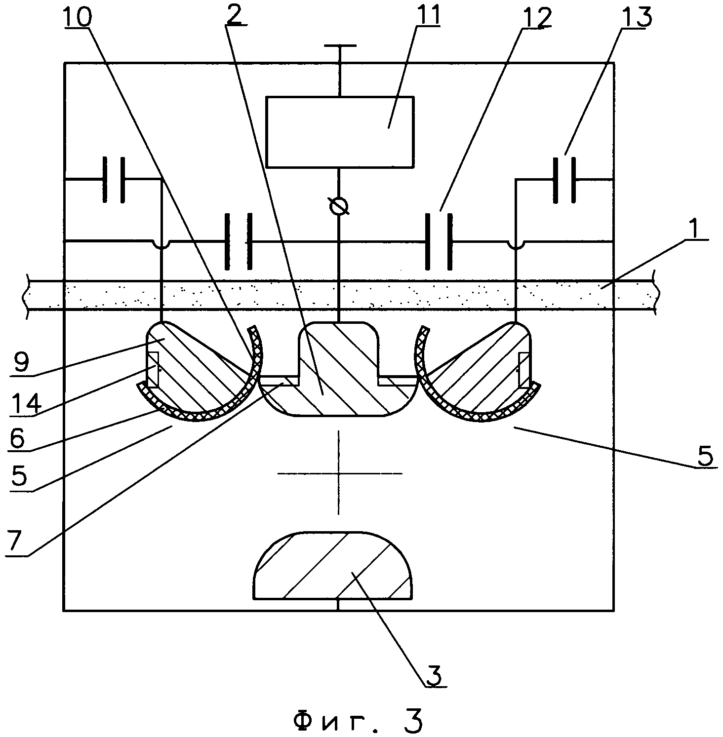
В вариантах изобретения, по меньшей мере, часть поверхности изогнутой диэлектрической пластины, совмещенная с поверхностью инициирующего электрода, является кругло- цилиндрической.

[21]

В вариантах изобретения изогнутая диэлектрическая пластина выполнена в виде протяженной части цилиндрической тонкостенной диэлектрической трубки, заключенной между двумя продольными сечениями трубки, параллельными ее продольной оси.

[22]

В вариантах изобретения два идентичных блока предионизации расположены по бокам либо первого электрода, выполненного сплошным, либо второго электрода, выполненного сплошным.

[23]

В вариантах изобретения лицевая поверхность изогнутой диэлектрической пластины выпуклая.

[24]

В вариантах изобретения в качестве материала изогнутой диэлектрической пластины используется либо сапфир, либо керамика, в частности, Al2O3.

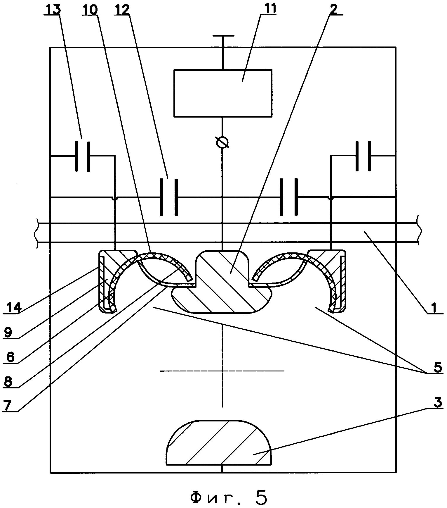
[25]

В вариантах изобретения инициирующий электрод выполнен охлаждаемым либо потоком газа, либо жидким теплоносителем.

[26]

В вариантах изобретения каждая точка зоны разряда между первым и вторым электродами находится в зоне прямой видимости, по меньшей мере, части поверхностности изогнутой диэлектрической пластины, используемой для формирования СР.

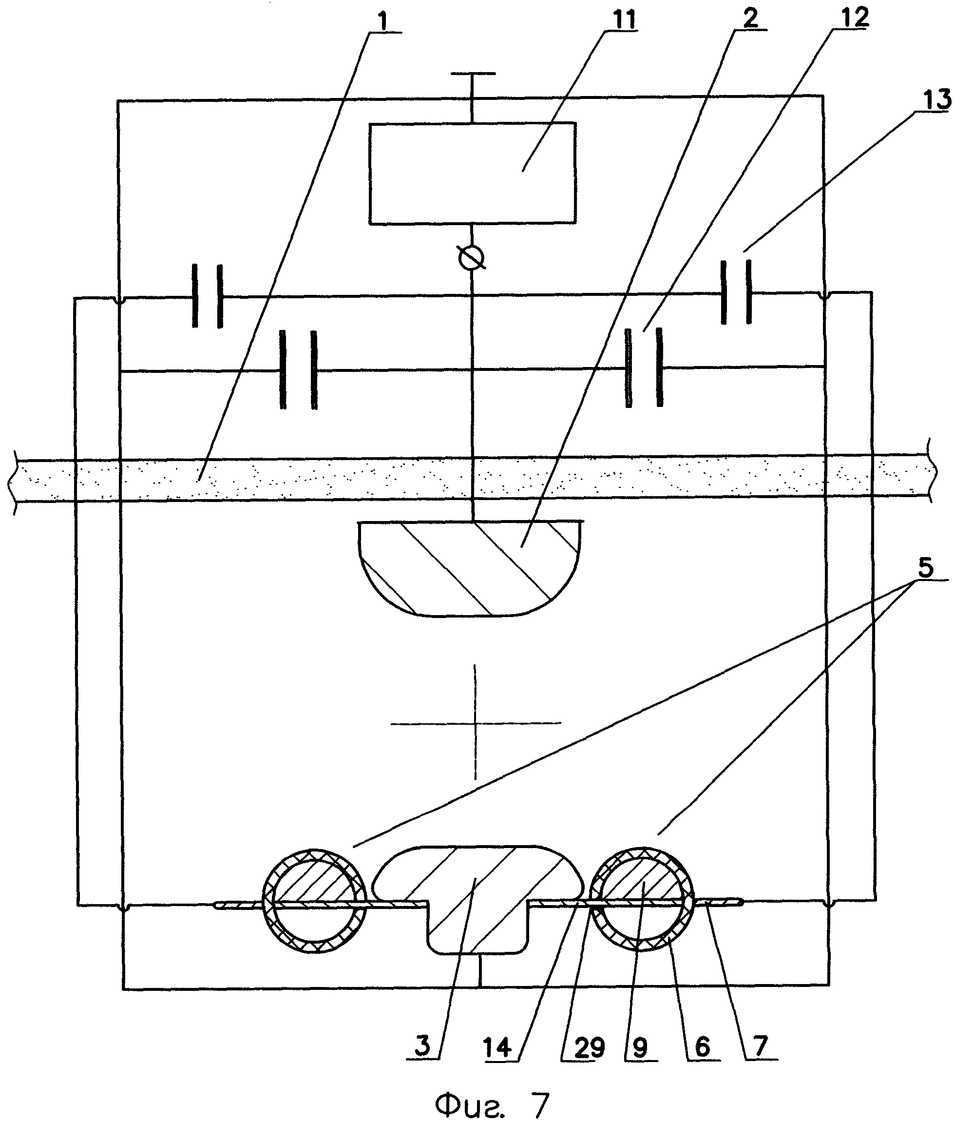
[27]

В вариантах изобретения лицевая поверхность изогнутой диэлектрической пластины вогнутая.

[28]

В вариантах изобретения часть изогнутой диэлектрической пластины, не используемая для формирования CP, расположена с обратной стороны либо первого электрода, либо второго электрода.

[29]

В вариантах изобретения изогнутая диэлектрическая пластина выполнена в виде цилиндрической тонкостенной диэлектрической трубки с продольным разрезом.

[30]

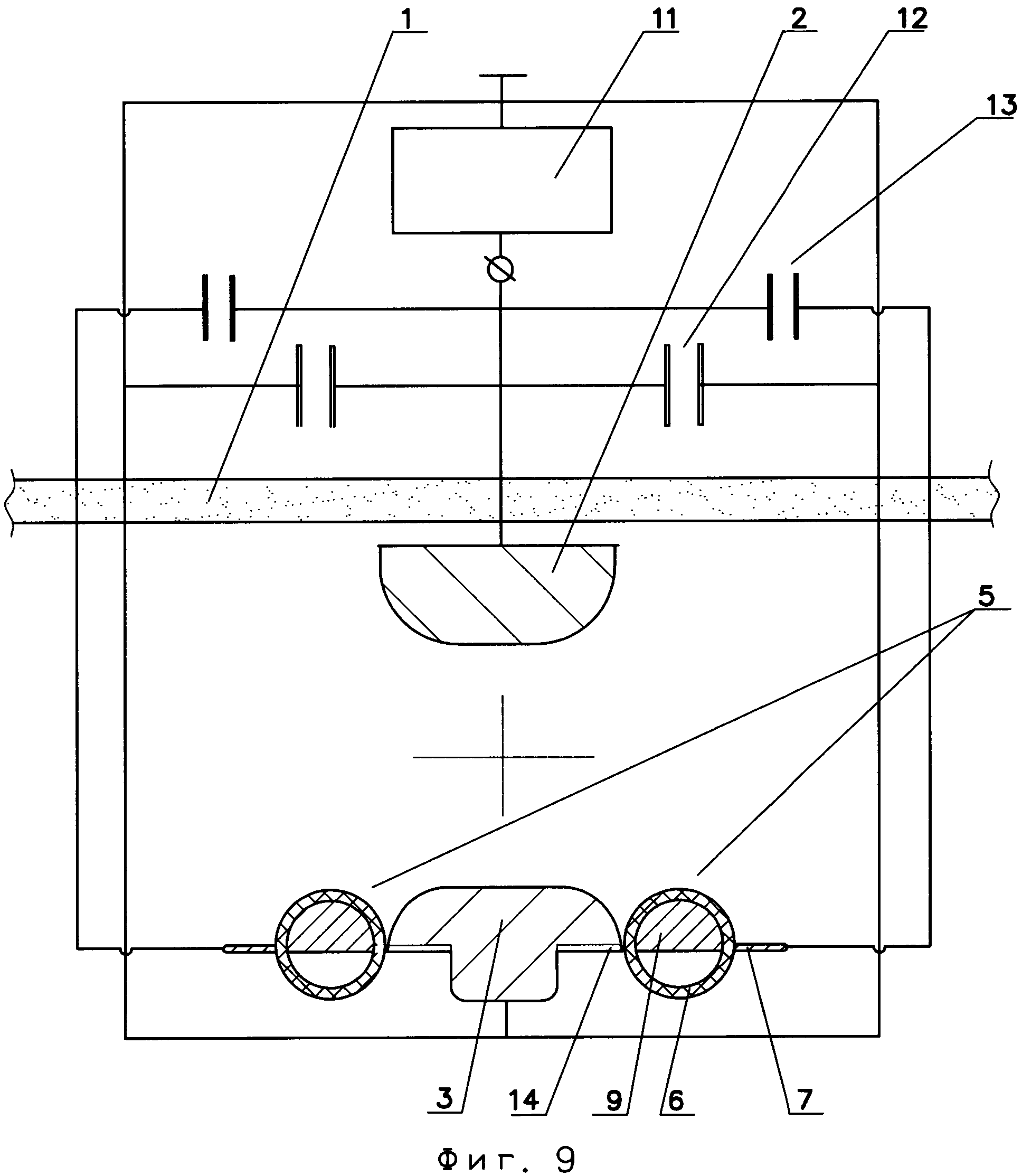
В вариантах изобретения изогнутая диэлектрическая пластина выполнена в виде цилиндрической тонкостенной диэлектрической трубки с продольным разрезом, инициирующий электрод размещен внутри диэлектрической трубки, и дополнительный электрод соединен с инициирующим электродом через продольный разрез диэлектрической трубки.

[31]

В вариантах изобретения система формирования CP содержит в качестве изогнутой диэлектрической пластины цельную диэлектрическую трубку, внутри которой, размещен

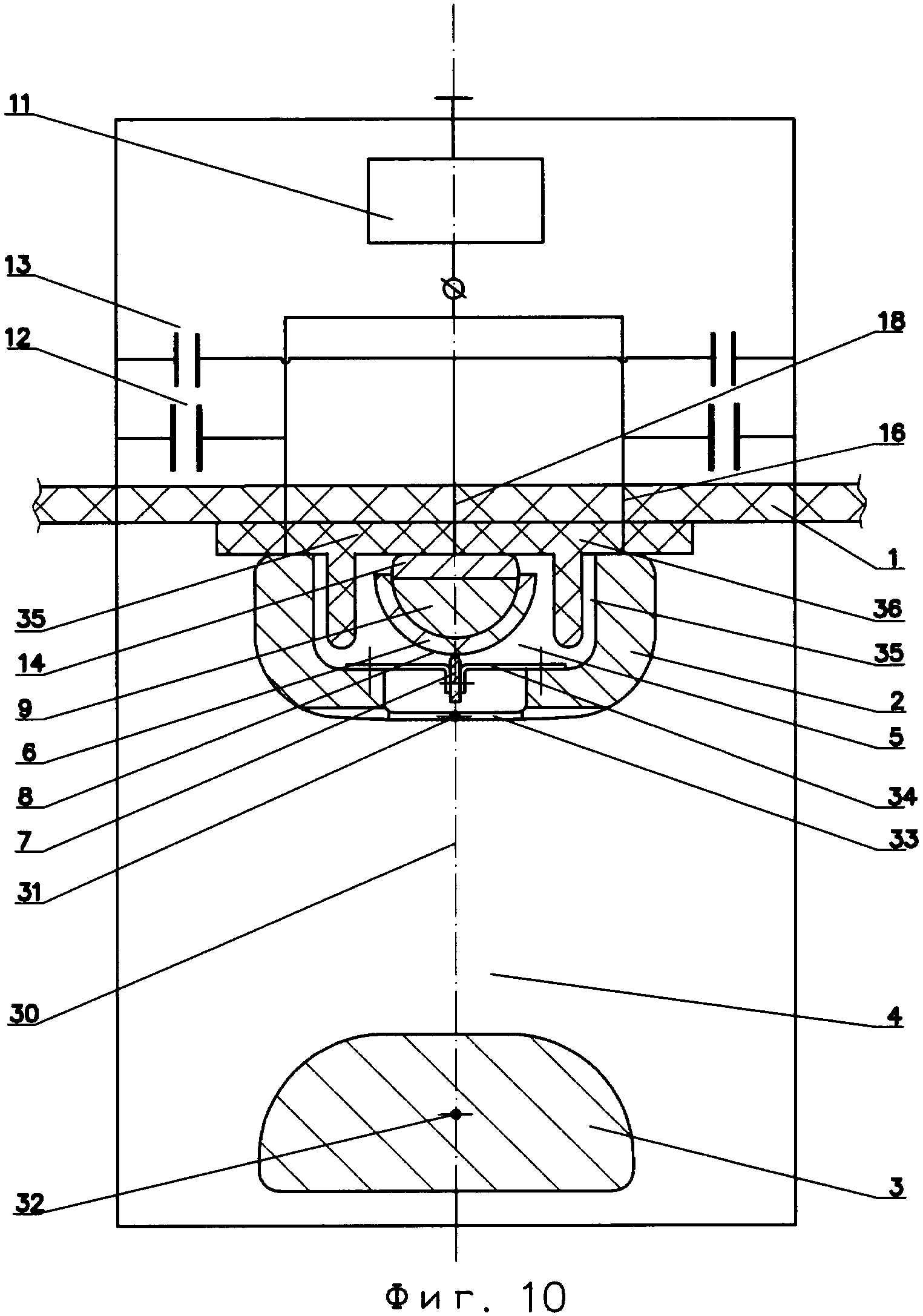
[32]

инициирующий электрод, при этом на наружной поверхности цельной диэлектрической трубки размещен дополнительный электрод.

[33]

При этом предпочтительно, что дополнительный электрод, подсоединен к инициирующему электроду через торец диэлектрической трубки.

[34]

В вариантах изобретения либо поджигающий электрод, либо дополнительный электрод, соединен либо с первым электродом, либо со вторым электродом.

[35]

В вариантах изобретения поджигающий электрод, либо дополнительный электрод совмещен либо с первым электродом, либо со вторым электродом.

[36]

В вариантах изобретения либо первый электрод, либо второй электрод выполнен частично прозрачным, имеющим с обратной стороны протяженную нишу, в которой, по меньшей мере, частично, размещен протяженный блок предыонизации, при этом в блоке предыонизации система формирования CP выполнена симметричной относительно плоскости, включающей в себя продольные оси первого и второго электродов, и содержит две зоны CP, симметрично расположенные по обе стороны указанной плоскости.

[37]

При этом предпочтительно, что в протяженной нише, по меньшей мере, частично, размещен керамический изолятор с п-образным, либо П-образным поперечным сечением, и система формирования CP, по меньшей мере, частично размещена в протяженном керамическом изоляторе.

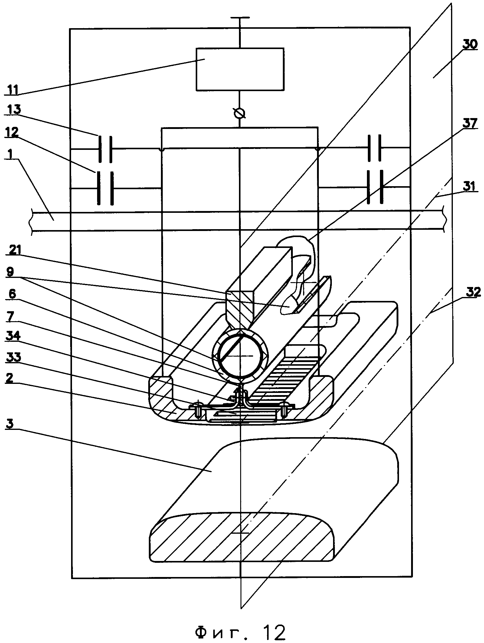
[38]

В другом аспекте изобретение относится к разрядной системе эксимерного лазера, включающей в себя расположенные в лазерной камере протяженные первый электрод, установленный со стороны стенки лазерной камеры, второй электрод, зону объемного разряда между первым и вторым электродами, продольные оси которых параллельны друг другу, и, по меньшей мере, один блок предыонизации, при этом каждый блок предыонизации содержит систему формирования однородного завершенного CP на поверхности цельной диэлектрической трубки между протяженными поджигающим электродом и дополнительным электродом, установленными на лицевой поверхности диэлектрической трубки вдоль нее, причем внутри диэлектрической трубки размещен протяженный инициирующий электрод, примыкающий к обратной поверхности диэлектрической трубки.

[39]

Предпочтительно, что дополнительный электрод подсоединен к инициирующему электроду через торец диэлектрической трубки.

[40]

В вариантах изобретения на лицевой поверхности цельной диэлектрической трубки вдоль нее диаметрально противоположно размещены поджигающий электрод и дополнительный электрод.

[41]

Вышеупомянутые и другие объекты, аспекты, особенности и преимущества изобретения станут более очевидными из последующего описания и формулы изобретения.

[42]

Описание дается в виде, достаточном для понимания принципов изобретения специалистами в области лазерной техники. Детальное описание компонент экимерных газоразрядных лазеров можно найти в [1-3, 5].

[43]

КРАТКОЕ ОПИСАНИЕ ЧЕРТЕЖЕЙ

[44]

Существо изобретения поясняется прилагаемыми чертежами, которые представлены в виде достаточном для понимания принципов изобретения и ни в коей мере не ограничивают объема настоящего изобретения.

[45]

Фиг.1 - схема разрядной системы с одним блоком предыонизации.

[46]

Фиг.2 - схема лазера с разрядной системой, включающей два блока предыонизации, установленные по бокам второго электрода.

[47]

Фиг.3 - схема разрядной системы с двумя блоками предыонизации, установленными по бокам первого электрода.

[48]

Фиг.4 - схема лазера с разрядной системой, включающей два блока предыонизации, установленные по бокам первого электрода.

[49]

Фиг.5 - схема разрядной системы с блоками предыонизации, включающими систему формирования СР по вогнутой поверхности диэлектрика.

[50]

Фиг.6 - схема лазера с предыонизацией излучением СР на вогнутой поверхности диэлектрика.

[51]

Фиг.7 - схема разрядной системы с блоками предыонизации, включающими систему формирования СР по поверхности диэлектрической трубки с продольным разрезом.

[52]

Фиг.8 - схема лазера с блоками предыонизации, включающими систему формирования СР по поверхности диэлектрической трубки с продольным разрезом.

[53]

Фиг.9 - схема разрядной системы с двумя блоками предыонизации, включающими систему формирования СР по поверхности цельной диэлектрической трубки.

[54]

Фиг.10 - схема разрядной системы с предыонизацией через частично прозрачный первый электрод.

[55]

Фиг.11 - схема лазера с предыонизацией через частично прозрачный первый электрод.

[56]

Фиг.12 - схема разрядной системы с частично прозрачным первым электродом и системой формирования СР по поверхности цельной диэлектрической трубки.

[57]

Фиг.13 - схема лазера с частично прозрачным первым электродом и системой формирования СР по поверхности цельной диэлектрической трубки.

[58]

На чертежах совпадающие элементы устройства обозначены одинаковыми номерами позиций.

[59]

ВАРИАНТЫ ОСУЩЕСТВЛЕНИЯ ИЗОБРЕТЕНИЯ

[60]

В соответствии с изобретением разрядная система эксимерного лазера содержит расположенные в лазерной камере 1 протяженные первый электрод 2, установленный со стороны стенки лазерной камеры 1, второй электрод 3, зону объемного разряда 4 между первым и вторым электродами 2, 3, продольные оси которых, перпендикулярные плоскости Фиг. 1, параллельны друг другу. Разрядная система также содержит блок предыонизации 5 с системой формирования однородного завершенного скользящего разряда (CP). Система формирования CP включает в себя протяженную диэлектрическую пластину 6, поджигающий (как мы его называем) электрод 7, установленный на лицевой поверхности 8 диэлектрической пластины 6 вдоль нее, протяженный инициирующий (как мы его называем) электрод 9, примыкающий к обратной стороне 10 диэлектрической пластины 6 и расположенный на поверхности диэлектрической пластины протяженный дополнительный (как мы его называем) электрод 14, который либо соединен, либо совмещен (Фиг. 1) с инициирующим электродом 9. Необходимая для высокоэффективной высокостабильной работы лазера однородность завершенного CP достигается, когда межэлектродное расстояние l системы формирования CP на поверхности диэлектрической пластины (6) между поджигающим электродом (7) и дополнительным электродом (14) не меньше определенного характерного значения: l≥1,5 см. При этом протяженная диэлектрическая пластина 6 имеет в поперечном сечении изогнутую форму и, по меньшей мере, часть обратной поверхности 10 диэлектрической пластины 6, примыкающая к протяженному инициирующему электроду 9, является цилиндрической.

[61]

Разрядная система эксимерного лазера также содержит набор конденсаторов 12, подсоединенных к первому и второму электродам 2, 3, и импульсный источник питания 11, подключенный к конденсаторам 12 и предназначенный для их импульсной зарядки до напряжения пробоя, обеспечивающего газовый разряд между первым и вторым электродами 2, 3 для возбуждения газовой смеси лазера и генерации луча лазера с помощью резонатора (не показан). Предпочтительно, что импульсный источник питания 11 связан с блоком предыонизации 5 через дополнительные конденсаторы 13, предназначенные для обеспечения автоматической предыонизации при их импульсной зарядке через CP блока предыонизации 5.

[62]

Использование изогнутой диэлектрической пластины в системе формирования завершенного скользящего разряда обеспечивает компактность разрядной системы лазера, что обусловливает уменьшение индуктивности разрядного контура и возможность высокоэффективного повышения энергии генерации, а также

[63]

увеличения частоты следования импульсов и повышения средней мощности излучения лазера. Выполнение, по меньшей мере, части диэлектрической пластины, примыкающей к инициирующему электроду, цилиндрической обеспечивает относительную простоту изготовления изогнутой диэлектрической пластины 6 и упрощает совмещение ее обратной поверхности 10 с поверхностью протяженного инициирующего электрода 9, что необходимо для высокой однородности СР.

[64]

В предпочтительных вариантах изобретения система формирования СР установлена так, чтобы образующие цилиндрической поверхности 10 изогнутой диэлектрической пластины 6 были параллельны продольным осям первого и второго электродов 2, 3. При этом зона СР параллельна зоне объемного разряда 4. Это обеспечивает однородный уровень предыонизации по всей длине протяженной зоны объемного разряда 4 и, соответственно, его высокую однородность и устойчивость к акустическим возмущениям в режиме с высокой частотой следования импульсов.

[65]

В варианте изобретения (Фиг.1) блок предыонизации 5 установлен вблизи второго электрода 3. При этом в соответствии с одним из вариантов изобретения инициирующий электрод 9 системы формирования СР соединен со вторым электродом 3 лазера. Это обеспечивает компактность устройства, уменьшает индуктивность разрядного контура лазера, повышая его эффективность.

[66]

В вариантах изобретения (Фиг 1) изогнутая диэлектрическая пластина 6 выполнена в виде протяженной части цилиндрической тонкостенной диэлектрической трубки, заключенной между двумя продольными сечениями трубки, параллельными ее продольной оси. Это упрощает изготовление изогнутой диэлектрической пластины 6.

[67]

В вариантах изобретения (Фиг.1) лицевая 8 и обратная 10 стороны изогнутой диэлектрической пластины 6 являются кругло цилиндрическими. Это обеспечивает дальнейшее упрощение изготовления изогнутой диэлектрической пластины 6 при использовании в качестве заготовки кругло-цилиндрической диэлектрической трубки.

[68]

Для повышения энергии генерации и мощности лазера в вариантах изобретения (Фиг.2-9) устройство содержит два идентичных блока предионизации 5, расположенные по бокам выполненного сплошным либо первого электрода 2, либо второго электрода 3.

[69]

Особенности и преимущества разрядной системы более наглядно иллюстрируются при ее рассмотрении в составе эксимерного лазера. Газоразрядный эксимерный лазер или лазер на молекулярном фторе, поперечное сечение которого показано на Фиг.2, содержит лазерную камеру 1, заполненную газовой смесью. В примере реализации изобретения (Фиг.2) лазерная камера 1 выполнена на основе керамической трубы, в которой размещены отстоящие друг от друга протяженные первый электрод 2, расположенный со стороны стенки лазерной камеры 1, и второй электрод 3.

[70]

Два идентичных блока предионизации 5 расположены по бокам второго электрода 3, выполненного сплошным, что обеспечивает относительную простоту электрода, его высокую надежность и большое время жизни.

[71]

Как правило, размещение систем формирования CP вблизи второго электрода 3 позволяет минимизировать индуктивность разрядного контура, что повышает КПД высокоэнергетичного эксимерного лазера.

[72]

В каждом блоке предыонизации 5 завершенный CP формируется на поверхности изогнутой диэлектрической пластины 6 между поджигающим электродом 7 и дополнительным электродом 14. При этом на инициирующий электрод 9 замыкается только ток зарядки емкости части диэлектрической пластины, на которой зажигают СР. В связи с этим протяженный массивный инициирующий электрод 9 может быть изготовлен из относительно дешевого материала, предпочтительно с высокой теплопроводностью, например, из А1. Дополнительный электрод 14, на который замыкается основной ток завершенного CP выполняется из эрозионно-стойкого металла, например, из Ni, Cu-W и др. В связи с этим в вариантах изобретения дополнительный электрод 14 системы формирования CP совмещен со вторым электродом 3 лазера (Фиг. 2), либо с первым электродом 2. В вариантах изобретения дополнительный электрод 14 соединен со вторым электродом 3, либо с первым электродом 2 В предпочтительных вариантах изобретения дополнительный электрод 14 соединен с инициирующим электродом 9 (Фиг 2). Все это упрощает электрическую цепь системы формирования СР.

[73]

Вне лазерной камеры 1 вдоль нее расположен набор конденсаторов 12, подсоединенных к первому и второму электродам 2, 3 через подсоединенные к обкладкам конденсаторов токоведущие шины, электрические вводы 15, 16 лазерной камеры 1 и газопроницаемые обратные токопроводы 17, расположенные в лазерной камере 1 по обе стороны от электродов 2, 3. К конденсаторам 12 подключен импульсный источник питания 11. Также импульсный источник питания 11 связан с блоком предыонизации 5 через дополнительные электрические вводы 18 лазерной камеры 1 и газопроницаемые дополнительные обратные токопроводы 19.

[74]

Для обновления газа в зоне объемного разряда 4 между очередными разрядными импульсами в лазерной камере 1 размещена система циркуляции газа, содержащая

[75]

диаметральный вентилятор 20, охлаждаемые водой трубки 21 теплообменника, два протяженных спойлера 22, выполненных в варианте изобретения керамическими, и протяженные направляющие лопасти 23 для формирования газового потока (Фиг.2).

[76]

Для генерации луча лазера снаружи лазерной камеры 1 размещен резонатор (для упрощения не показан). Лазерная камера также может содержать фильтр (не показан), в частности, электростатический для чистки газовой смеси лазера от продуктов эрозии элементов лазерной камеры.

[77]

В вариантах изобретения (Фиг 1, Фиг.2) лицевая поверхность 8 изогнутой диэлектрической пластины 6 выпуклая. В отличие от известного из [4] использования плоской диэлектрической пластины реализуется возможность интеграции высокоэффективного блока предыонизации 5 в систему циркуляции газа таким образом, что поджигающий и дополнительный электроды 7, 14 системы формирования СР не препятствуют формированию высокоскоростного потока газа в зоне объемного разряда 4.

[78]

Кроме этого, в отличие от известной из [4] разрядной системы с плоской диэлектрической пластиной системы формирования СР, устраняются неосвещаемые области зоны объемного разряда 4 вблизи второго электрода 3. Для реализации возможности высокоэффективного повышения энергии генерации лазера в вариантах изобретения каждая точка зоны объемного разряда 4 находится в зоне прямой видимости, по меньшей мере, части разрядного промежутка на поверхностности изогнутой диэлектрической пластины 6, используемой для формирования СР. Для этого изогнутые диэлектрические пластины 6 двух блоков предыонизации 5 должны быть установлены так, чтобы касательная к поверхности первого второго электрода 3, перпендикулярная плоскости, включающей в себя продольные оси первого и второго электродов 2, 3, касалась или пересекала часть поверхностности каждой изогнутой диэлектрической пластины 6, используемой для зажигания СР. Высокий однородный уровень предыонизация зоны объемного разряда 4, обеспечиваемый УФ излучением двух СР улучшает однородность и устойчивость объемного разряда, обеспечивает повышение стабильности выходных характеристик лазера, а также возможность увеличения апертуры лазерного пучка, энергии генерации и средней мощности излучения лазера.

[79]

Выполнение протяженной диэлектрической пластины изогнутой в поперечном сечении, в частности, с выпуклой лицевой поверхностью позволяет удалять электроды 7, 9, 14 систем формирования СР от зоны объемного разряда 4 (Фиг.2). Это минимизирует искажения, вносимые блоками предыонизации 5 в распределение напряженности электрического поля в зоне объемного разряда 4, обеспечивая однородность объемного разряда и устойчивость его однородной формы к акустическим возмущениям в режиме с высокой частотой следования импульсов. В результате достигается высокая стабильность энергии лазерного излучения от импульса к импульсу и высокое качество лазерного луча.

[80]

Для эксимерных лазеров газ, заполняющий лазерную камеру при характерном давлении в диапазоне от 2,5 до 5 атм представляет собой смесь инертных газов с донорами галогенов. В связи с этим в вариантах изобретения в качестве материала изогнутой диэлектрической пластины 6 каждого блока предыонизации 5 предпочтительно используются эрозионностойкие и галогеностойкие диэлектрики: либо сапфир, либо керамику, в частности, Al2O3, которые обеспечивают большое время жизни диэлектрической пластины в составе блока предыонизации, а также большое время жизни газовой смеси лазера, содержащей чрезвычайно химически активные компоненты F2 или HCl.

[81]

В варианте изобретения (Фиг.2) инициирующий электрод 9 и примыкающая к нему изогнутая диэлектрическая пластина 6, нагреваемая СР охлаждаются, по меньшей мере, частично за счет передачи тепла массивной металлической протяженной направляющей лопасти 23, в свою очередь охлаждаемой газовым потоком, циркулирующим в лазерной камере 1.

[82]

В вариантах изобретения инициирующий электрод 9 может быть охлаждаемым жидким теплоносителем. Для этого инициирующий электрод может либо иметь канал для циркуляции охлаждающей жидкости.

[83]

В вариантах изобретения инициирующий электрод 9 может быть охлаждаемым частью потока газа, циркулирующего в лазерной камере 1, имея с тыльной стороны инициирующего электрода 9 ребра или штыри радиатора.

[84]

Возможности достижения максимальной мощности лазерного УФ излучения в лазерах и лазерных системах с использованием лазерных камер, выполненных на основе керамической трубы, подробнее рассмотрено в [6].

[85]

В вариантах изобретения, иллюстрируемых Фиг.3 два идентичных блока предыонизации 5 расположены по бокам первого электрода 2. Как правило, такое размещение систем формирования СР упрощает систему токопроводов в лазерной камере 1.

[86]

В вариантах изобретения (Фиг.3) в каждом блоке предыонизации 5 дополнительный электрод 14 установлен с обратной стороны 10 изогнутой диэлектрической пластины 6. Установка дополнительного электрода 14 с обратной стороны 10 изогнутой диэлектрической пластины 6 на небольшом расстоянии от ее края позволяет дополнительно уменьшить поперечный размер системы формирования однородного СР. За счет этого достигается компактность разрядной системы и ее малая индуктивность, что повышает КПД высокоэнергетичного широкоапертурного эксимерного лазера.

[87]

В вариантах изобретения дополнительного электрод 14 совмещен с инициирующим электродом 9, что в ряде случаев упрощает систему формирования СР и разрядную систему лазера в целом. С этой же целью в вариантах изобретения поджигающий электрод 7 совмещен с первым электродом 2 (Фиг.3).

[88]

Разрядная система (Фиг.3), выполненная в соответствии с настоящим изобретением, применима для мощных эксимерных лазеров различных конструкций, в том числе, для конструкции лазера, представленной на Фиг.2.

[89]

Для иллюстрации на Фиг.4 показана разрядная система, выполненная в соответствии с вариантом настоящего изобретения, применительно к мощному эксимерному лазера с конструкцией, отличной от рассмотренной ранее. Для этого варианта изобретения лазерная камера 1, выполненная преимущественно металлической, содержит протяженные керамические контейнеры 24, установленные вблизи первого электрода 2. Концевые части каждого керамического контейнера 24 герметично закреплены на торцах лазерной камеры 1. В керамических контейнерах 24 размещены конденсаторы 12 малоиндуктивно подсоединенные к первому и второму электродам 2, 3 через токовводы 15, 16 и газопроницаемые обратные токопроводы 17. Со стороны первого электрода 2 в металлической стенке лазерной камеры 1 вдоль нее установлены герметичные высоковольтные токовводы 25, каждый из которых снабжен керамическим изолятором 26. Внутри лазерной камеры 1 по обе стороны керамических контейнеров 24 размещены протяженные заземленные токопроводы 27, соединенные с металлической стенкой лазерной камеры 1. При этом источник питания 11 малоиндуктивно подключен к конденсаторам 12 через высоковольтные токовводы 25 и заземленные токопроводы 27, а также через высоковольтные и заземленные токовводы 15, 16 каждого керамического контейнера 24. Такое малоиндуктивное подсоединение источника питания 11 к конденсаторам 12 обеспечивает высокие значения скорости нарастания электрического поля и величины напряженности электрического поля в области разряда 4 на стадии пробоя. Это улучшает однородность объемного разряда лазера и повышает устойчивость однородной формы разряда к акустическим возмущениям, возникающих в лазерной камере при высокой частоте повторения разрядных импульсов. В результате достигается увеличение КПД лазера.

[90]

По обе стороны от первого электрода 2, выполненного сплошным, установлены два идентичных блока предыонизации 5, каждый из которых содержит систему формирования СР по поверхности изогнутой диэлектрической пластины 6, выполненной в виде протяженной части кругло-цилиндрической тонкостенной трубки, заключенной между ее двумя продольными сечениями. При этом в каждом блоке предыонизации 5 поджигающий электрод 7 системы формирования СР, установленный на выпуклой лицевой поверхности изогнутой диэлектрической пластины 6 соединен с первым электродом 2, а дополнительный электрод 14 соединен с инициирующим электродом 9, примыкающим к обратной стороне изогнутой диэлектрической пластины 6.

[91]

Для автоматической предыонизации, упрощающей эксплуатацию лазера, в керамических контейнерах 24 размещены дополнительные конденсаторы 13, емкость которых многократно меньше емкости конденсаторов 12, и они занимают незначительную часть объема контейнеров 24. Дополнительные конденсаторы 13 связаны с блоком предыонизации 5, а именно соединены с дополнительным электродом 14 системы формирования СР через дополнительные токовводы 18.

[92]

На Фиг.4 каждый керамический контейнер 24 имеет форму прямоугольной трубы, что обеспечивает компактность керамических контейнеров 24 с высокой степенью их заполнения керамическими конденсаторами 12, используемыми для мощных газоразрядных лазеров. В результате достигается малая индуктивность разрядного контура и повышение КПД лазера.

[93]

В вариантах изобретения, иллюстрируемых Фиг.4, с целью уменьшения индуктивности разрядного контура конденсаторы 12 максимально приближены к области разряда 4. В этих вариантах изобретения протяженные керамические контейнеры 24 размещены сбоку от области разряда 4, образуя своими поверхностями, обращенными к зоне разряда 4, расположенные вверх и вниз по потоку от области разряда 4 направляющие газового потока или спойлеры, значительно изменяющие направление газового потока при прохождении области разряда 4. Такая геометрия газового потока может быть эффективна, поскольку она устраняет нежелательный эффект отрыва газового потока от второго электрода 3 после прохождения потоком области разряда 4. Как это более подробно рассмотрено в [7], использование керамических контейнеров с размещенными в них конденсаторами позволяет оптимизировать геометрию газового потока, разрядного контура и разрядной системы эксимерного лазера в более широких по сравнению с известными аналогами пределах. Наряду с этим, за счет размещения керамических контейнеров 24 по бокам области разряда 4, расположенные в них конденсаторы 12 могут быть максимально приближены к области разряда 4. При этом в предложенном изобретении стенка контейнера может быть тоньше, чем стенка керамической разрядной камеры лазеров, известных из [1] и применяемых в мощной двулучевой лазерной системе VYPER [8]. Соответственно, индуктивность разрядного контура может быть уменьшена. Кроме этого, за счет применения блоков предыонизации 5, выполненных в соответствии с настоящим изобретением (Фиг.4) уровень предыонизации выше, чем в аналогах [1, 7], использующих предыонизацию коронным разрядом. Все это обеспечивает возможность повышения стабильности выходных характеристик эксимерного лазера, а также возможность увеличения апертуры объемного разряда, энергии и мощности лазерного излучения при высоком КПД лазера.

[94]

В вариантах реализации изобретения (Фиг.5) в двух идентичных блоках предыонизации 5, расположенных по бокам первого электрода 2, лицевая поверхность 8 изогнутой диэлектрической пластины 6 вогнутая. Изогнутая диэлектрическая пластина 6 предпочтительно выполнена в виде протяженной части кругло-цилиндрической тонкостенной трубки, заключенной между двумя сечениями трубки, параллельными ее продольной оси. При этом обратная поверхность 10 изогнутой диэлектрической пластины 6, выполненной из керамики или сапфира, является частью наружной поверхности кругло цилиндрической трубки, что облегчает возможность ее обработки с высокой точностью при вращении трубки-заготовки. Наряду с этим протяженная поверхность инициирующего электрода, примыкающая к обратной стороне диэлектрической пластины 6 является вогнутой кругло-цилиндрической, что также облегчает возможность ее точной обработки фрезерным инструментом. Все это упрощает технологию изготовления системы формирования СР с точным совмещением поверхностей изогнутой диэлектрической пластины 6 и протяженного инициирующего электрода 9. В результате достигается высокоэффективная работа блока предыонизации 5 за счет обеспечения высокой однородности СР и эффективного охлаждения изогнутой диэлектрической пластины 6 посредством инициирующего электрода 9.

[95]

В соответствии с вариантами изобретении часть изогнутой диэлектрической пластины, не используемая для формирования СР, расположена с обратной стороны либо первого электрода 2 (Фиг.5), либо второго электрода 3 (Фиг.6), что также обеспечивает компактность разрядного контура лазера.

[96]

Фиг.6 иллюстрирует вариант реализации изобретения с двумя идентичными блоками предыонизации 5, установленными по бокам второго электрода 3. В варианте изобретения (Фиг.6) лазерная камера 1 выполнена преимущественно керамической. Для автоматической предыонизации импульсный источник питания 11 связан с каждым блоком предыонизации 5 через дополнительные конденсаторы 13, дополнительные токовводы 18 лазерной камеры, дополнительные газопроницаемые обратные токопроводы 19 и токовводы 28, снабженные керамическими изоляторами.

[97]

В данных вариантах реализации изобретения наряду с упрощением технологии изготовления системы формирования СР достигается малая индуктивность разрядного контура, в том числе, за счет размещения части изогнутой диэлектрической пластины 6 с обратной стороны либо первого электрода 2 (Фиг.5), либо второго электрода 3 (Фиг.6).

[98]

В вариантах изобретения, иллюстрируемых Фиг.7, разрядная система содержит две идентичные системы 5 формирования СР, установленные со стороны второго электрода 3. В каждом из двух блоков предыонизации 5 система формирования СР характеризуется следующим:

[99]

- изогнутая диэлектрическая пластина 6 выполнена в виде цилиндрической тонкостенной диэлектрической трубки с продольным разрезом 29,

[100]

- инициирующий электрод 14 размещен внутри диэлектрической трубки 6 и соединен с инициирующим электродом 9 через продольный разрез 29 диэлектрической трубки 6,

[101]

- дополнительный электрод 14 каждого блока предыонизации 5 соединен со вторым электродом 3.

[102]

Здесь разрез означает, что его поперечный размер много меньше диаметра трубки и близок по величине толщине тонкостенной диэлектрической трубки.

[103]

При выполнении устройства в указанном виде также достигается улучшение компактности системы формирования СР и снижение индуктивности разрядной системы, что позволяет повысить КПД широкоапертурного высокоэнергетичного эксимерного лазера. Выполнение изогнутой диэлектрической пластины 6 в виде керамической трубки с продольным разрезом 29, наряду с компактностью блока предыонизации, обеспечивает относительную простоту технологии изготовления системы формирования СР. Выполнение трубки тонкостенной, то есть при значении ее толщины, не превышающем определенной верхней границы, обеспечивает на стадии зажигания СР высокую напряженность электрического поля на поверхностном разрядном промежутке, необходимую для получения высокой однородности завершенного СР. Характерные размеры тонкостенной трубки 6 могут быть следующими: диаметр 15 мм толщина 1,3 мм.

[104]

На Фиг.8, иллюстрирующем разрядную систему в составе мощного высокоэнергетичного эксимерного лазера, идентичные блоки предыонизации 5 с изогнутыми диэлектрическими пластинами 6 в виде трубки с продольным разрезом расположены по обе стороны от первого электрода 2 в лазерной камере 1, выполненной на основе керамической трубы. В этом варианте достигается простота и компактность разрядного контура системы формировании СР за счет соединения либо совмещения поджигающего электрода 7 с первым электродом лазера 2 и соединения дополнительного электрода 14 с дополнительными конденсаторами 13 через дополнительные токовводы 18, установленные в стенке лазерной камеры 1 вдоль ее длины (без использования дополнительных газопроницаемых обратных токопроводов 19, как в схемах Фиг.2 и Фиг.6).

[105]

В других вариантах изобретения система формирования СР каждого блока предыонизации 5 содержит в качестве изогнутой диэлектрической пластины 6 цельную цилиндрическую тонкостенную диэлектрическую трубку, внутри которой размещен инициирующий электрод 9, при этом на наружной поверхности цельной диэлектрической трубки размещен дополнительный электрод 14 (Фиг.9). В варианте изобретения (Фиг.9) два идентичных блока предыонизации 5 расположены по бокам второго электрода 3. Эти варианты изобретения позволяют наряду с обеспечением компактности блоков предыонизации 5 позволяют еще более упростить изогнутую диэлектрическую пластину системы формирования СР. При этом в вариантах изобретения дополнительный электрод, предпочтительно, хотя не обязательно, подсоединен к инициирующему электроду через торец диэлектрической трубки, что повышает напряженность электрического поля в плазме СР на стадии его зажигания и улучшает однородность завершенного СР.

[106]

Эти варианты изобретения позволяют минимизировать размеры разрядной системы с предыонизацией УФ излучением СР и позволяет повысить энергию генерации и мощность лазерного излучения при использовании простых и надежных сплошных электродов лазера, что в целом упрощает разрядную систему эксимерного лазера.

[107]

Дальнейшее повышение энергии генерации и/или мощности эксимерного лазера возможно при использовании в разрядной системе частично прозрачного электрода.

[108]

В связи с этим в вариантах изобретения либо первый электрод (Фиг.10-12), либо второй электрод (Фиг.13) выполнен частично прозрачным, блок предыонизации 5 размещен с обратной стороны частично прозрачного электрода, при этом система формирования СР выполнена симметричной относительно плоскости 30, включающей в себя продольные оси 31, 32 первого и второго электродов 2, 3, перпендикулярные плоскости чертежа (Фиг.10). При этом система формирования СР содержит две зоны СР, симметрично расположенные по обе стороны указанной плоскости 30. Каждая зона СР расположена на поверхности изогнутой диэлектрической пластины между поджигающим электродом 7 и дополнительным электродом 14 или инициирующим электродом 9 при отсутствии дополнительного электрода 14. За исключением двух концевых частей протяженной изогнутой диэлектрической пластины 6 две зоны СР занимают всю лицевую поверхность 8 изогнутой диэлектрической пластины 6, расположенную по бокам поджигающего электрода 7. В вариантах изобретения часть лицевой поверхности частично прозрачного электрода, примыкающая к зоне объемного разряда 4, изготовлена тонкостенной, профилирована с лицевой стороны и выполнена с щелевыми отверстиями 33.

[109]

В варианте изобретения (Фиг.10) изогнутая диэлектрическая пластина 6 выполнена в виде протяженной части цилиндрической тонкостенной диэлектрической трубки, заключенной между двумя продольными сечениями трубки, параллельными ее продольной оси. При этом лицевая поверхность изогнутой диэлектрической пластины 6 выпуклая и обращена к частично прозрачному первому электроду 2. Часть поверхности протяженного инициирующего электрода 9 примыкает к обратной стороне изогнутой диэлектрической пластины 6, а другая часть поверхности инициирующего электрода 9 соединена, либо совмещена с дополнительным электродом 14. Поджигающий электрод 7 системы формирования СР установлен на выпуклой цилиндрической поверхности изогнутой диэлектрической пластины 6 и соединен с частично прозрачным первым электродом 2 токопроводами 34, установленными вдоль длины поджигающего электрода 7, выполняющими роль креплений поджигающего электрода 7 и практически не снижающими, благодаря высокой прозрачности, уровень предыонизации в зоне разряда 4.

[110]

Частично прозрачный электрод 2 (Фиг.10) имеет с обратной стороны протяженную нишу 35, в которой, по меньшей мере, частично, размещен протяженный блок предыонизации 5. Это обеспечивает компактность электродного узла и повышает эффективность блока предыонизации 5 за счет его размещения в непосредственной близости от зоны разряда 4.

[111]

В вариантах изобретения в протяженной нише 35 частично прозрачного электрода 2 (Фиг.10), по меньшей мере, частично размещен протяженный керамический изолятор 36 с π-образным (Фиг.10), либо п-образным (не показано) поперечным сечением. При этом блок предыонизации 5, по меньшей мере, частично размещен в протяженном керамическом изоляторе 36 с обратной стороны частично прозрачного электрода 2 (Фиг.10). В этих вариантах изобретения достигается максимальная компактность электродного узла и разрядной системы лазера в целом при устранении с помощью протяженного керамического изолятора 36 паразитных пробоев между частично прозрачным электродом и блоком предыонизации 5. Для устранения паразитных пробоев между токовводами 16 и 18 они предпочтительно должны располагаться в различных поперечных сечениях разрядной системы или другими словами в шахматном порядке при виде сверху. При этом закрылки π-образного сечения протяженного керамического изолятора 36 предотвращают паразитный пробой с токоввода 18 на кромку частично прозрачного электрода 2 (Фиг.10).

[112]

Разрядная система, выполненная в соответствии с настоящим изобретением, применима для мощных эксимерных лазеров различных конструкций. Для иллюстрации на Фиг.11 показана разрядная система, выполненная в соответствии с вариантом настоящего изобретения, применительно к мощному эксимерному лазеру, в котором лазерная камера 1, выполненная преимущественно металлической, содержит протяженные керамические контейнеры 24, установленные вблизи частично прозрачного первого электрода 2. В керамических контейнерах 24, концевые части которых герметично закреплены на торцах лазерной камеры 1, размещены конденсаторы 12, малоиндуктивно подсоединенные к первому и второму электродам 2, 3 через токовводы 15, 16, установленные в данном варианте изобретения в керамических контейнерах 24, и через газопроницаемые обратные токопроводы 17. При этом источник питания 11 малоиндуктивно подключен к конденсаторам 12 через снабженные керамическими изоляторами 26 высоковольтные токовводы 25 лазерной камеры 1 и заземленные токопроводы 27, а также через высоковольтные и заземленные токовводы 15, 16 каждого керамического контейнера 24.

[113]

Размещенные в керамических контейнерах 24 дополнительные конденсаторы 13, обеспечивающие автоматическую предыонизацию, связаны с блоком предыонизации 5 через дополнительные токовводы 18, установленные в керамических контейнера 24 по их длине.

[114]

Блок предыонизации 5 частично размещен в протяженной нише 35 с обратной стороны частично прозрачного первого электрода 2 (Фиг.11). При этом система формирования СР выполнена симметричной относительно плоскости, включающей в себя продольные оси первого и второго электродов 2, 3 и включает две зоны СР, симметрично расположенные по обе стороны указанной плоскости. Поджигающий электрод 7, установленный на выпуклой цилиндрической поверхности изогнутой диэлектрической пластины 6, соединен с частично прозрачным первым электродом 2 токопроводами 34. Изогнутая диэлектрическая пластина 6 может быть выполнен в виде части кругло-цилиндрической тонкостенной диэлектрической трубки с продольным разрезом. При этом инициирующий электрод 9 размещен внутри диэлектрической трубки, и дополнительный электрод 14 соединен с инициирующим электродом 9 через продольный разрез диэлектрической трубки. За счет выполнении в указанном виде система формирования однородного протяженного СР максимально компактна, что позволяет минимизировать поперечные размеры частично прозрачного электрода, с обратной стороны которого установлен блок предыонизации 5, и уменьшить индуктивность разрядного контура.

[115]

В вариантах изобретения каждый керамический контейнер 24 имеет форму либо круглой, либо прямоугольной трубы (Фиг.11). В последнем случае обеспечивается большая компактность керамических контейнеров 24 с высокой степенью заполнения их объема керамическими конденсаторами 12. В результате достигается малая индуктивность разрядного контура и повышение КПД лазера.

[116]

На Фиг.11 части поверхности каждого керамического контейнера 10, обращенные к области разряда 4, установлены заподлицо с первым электродом 2, образуя вблизи него расположенные верх и вниз по потоку направляющие газового потока. Это позволяет формировать высокоскоростной поток газа в области разряда 4.

[117]

За счет использования частично прозрачного электрода снижается минимальный, достаточный для поддержания максимального КПД лазера, коэффициент К смены газа в разрядном объеме при высокой частоте повторения импульсов. Вследствие этого реализуется возможность увеличения частоты следования разрядных импульсов, повышения средней мощности излучения при высоком КПД лазера и снижения эксплуатационных расходов.

[118]

Дополнительным фактором, способствующим снижению индуктивности разрядного контура является то, что при осуществлении предыонизация через частично прозрачный первый электрод 2 обращенные к области разряда 4 изолирующие поверхности керамических контейнеров 24 не подвержены УФ облучению блоком предыонизации 5, что позволяет сделать разрядный контур максимально компактным.

[119]

Для работы с высокой частотой следования импульсов дополнительный электрод 14, соединенный с инициирующим электродом 9 предпочтительно выполнен охлаждаемым потоком газа.

[120]

В вариантах изобретения (Фиг.12, 13), направленных на дальнейшее упрощение системы формирования СР, изогнутая диэлектрическая пластина 6 выполнена в виде цельной диэлектрической трубки, на лицевой наружной поверхности которой вдоль нее диаметрально противоположно размещены поджигающий электрод 7 и дополнительный электрод 14, На Фиг.12 представлена схема данного варианта изобретения с первым электродом 2, выполненным частично прозрачным, В вариантах изобретения дополнительный электрод 14 подсоединен, к инициирующему электроду 9, размещенному внутри диэлектрической трубки, через торец диэлектрической трубки, например, посредством электрического проводника 37 (Фиг.12). При этом инициирующий электрод 9 может быть выполнен в виде тонкой металлической пластины, свернутой в трубку с диаметром, равным внутреннему диаметру диэлектрической трубки (Фиг.12), а электрический проводник 37 может быть частью тонкой металлической пластины (фольги).

[121]

Фиг.13 иллюстрирует вариант изобретения со вторым электродом 3, выполненным частично прозрачным в составе эксимерного лазера с лазерной камерой 1 на основе керамической трубы. Вариант изобретения с применением второго электрода, выполненного частично прозрачным, обеспечивает минимальную индуктивность разрядного контура. Это достигается за счет того блок предыонизации 5 и токовый контур СР расположены снаружи разрядного контура основного объемного разряда, что позволяет минимизировать его индуктивность.

[122]

Разрядная система с предыонизацией через частично прозрачный электрод (Фиг.10-13) характеризуется малым (близким к единице) коэффициентом смены газа К в зоне разряда 4, что позволяет повысить энергию генерации и мощность эксимерного лазера при обеспечении его высокой эффективности.

[123]

В соответствии с вариантом изобретения инициирующий электрод 9 может быть выполнен охлаждаемым жидким теплоносителем. Для этого инициирующий электрод может либо иметь канал 38 для циркуляции охлаждающей жидкости (Фиг.13).

[124]

Разрядная система эксимерного лазера работает следующим образом. При включении источника питания 11 между первым 2 и вторым 3 электродами лазера, а также на подключенных к ним конденсаторах 12 начинает нарастать напряжение. Потенциал высоковольтного первого электрода 2, расположенного со стороны стенки газонаполненной лазерной камеры 1, через дополнительные конденсаторы 13, связывающие источник питания 11 с блоком предыонизации 5, расположенным сбоку от второго электрода 3 (Фиг.1), передается на протяженный поджигающий электрод 7, установленный вдоль лицевой поверхности 8 протяженной диэлектрической пластины 6, имеющей в поперечном сечении изогнутую форму. Между поджигающим электродом 7 и инициирующим электродом 9 системы формирования СР, соединенным с заземленным вторым электродом 3 лазера, также начинает нарастать напряжение. На лицевой поверхности 8 той части изогнутой диэлектрической пластины 6, к обратной поверхности 10 которой, являющейся цилиндрической, примыкает протяженный инициирующий электрод 9, развивается волна ионизации. В процессе пробега волны ионизации от поджигающего электрода 7 к инициирующему электроду 9 происходит зарядка распределенной электрической емкости изогнутой диэлектрической пластины 6 до напряжения, приблизительно равного напряжению поджигающего электрода 7. После пробега волны ионизации от поджигающего электрода 7 к инициирующему электроду 9 между ними зажигается завершенный скользящий разряд, ток которого ограничен током зарядки дополнительных конденсаторов 13. Электрическая емкость дополнительных конденсаторов 13 выбирается многократно меньше емкости конденсаторов 12, подключенных к первому и второму электродам 2, 3, продольные оси которых параллельны друг другу. УФ излучение СР на поверхности изогнутой диэлектрической пластины 6, образующие цилиндрической поверхности 10 которой параллельны продольным осям первого и второго электродов 2, 3, осуществляет предыонизацию зоны разряда 4 между первым и вторым электродами 2, 3. Предыонизация осуществляется со стороны второго электрода 3 (Фиг.1). После того, как напряжение между первым и вторым электродами - 3, 4 достигает значения пробивного напряжения, происходит основной объемный разряд между ними. Энергия, запасенная в конденсаторах 12 вкладывается в объемный разряд между первым и вторым электродами 2, 3, что с помощью резонатора (не показан) позволяет получить энергию генерации лазера.

[125]

Использование изогнутой диэлектрической пластины 6 по сравнению с плоской обеспечивает компактность системы формирования СР и разрядной системы лазера в целом, что уменьшает индуктивность разрядного контура, обеспечивает возможность повышения частоты следования импульсов и увеличения средней мощности лазерного излучения при высоком КПД лазера. При этом выполнение, по меньшей мере, части диэлектрической пластины, примыкающей к инициирующему электроду, цилиндрической обеспечивает относительную простоту изготовления изогнутой диэлектрической пластины 6. За счет того, что образующие цилиндрической поверхности 10 изогнутой диэлектрической пластины 6 параллельны продольным осям первого и второго электродов 2, 3, зона СР параллельна зоне объемного разряда 4, обеспечивая однородный уровень предыонизации по всей длине протяженной зоны объемного разряда 4. Это обеспечивает высокую однородность объемного разряда лазера и его устойчивость к акустическим возмущениям в режиме с высокой частотой следования импульсов.

[126]

В вариантах изобретения (Фиг.1) СР осуществляют по поверхности изогнутой диэлектрическая пластина 6 выполненной в виде протяженной части цилиндрической тонкостенной диэлектрической трубки, заключенной между двумя продольными сечениями трубки, параллельными ее продольной оси. Это упрощает изготовление изогнутой диэлектрической пластины 6. В вариантах изобретения для дальнейшего упрощения устройства СР осуществляют по поверхности изогнутой диэлектрической пластины 6 лицевая 8 и обратная 10 стороны которой предпочтительно являются кругло-цилиндрическими.

[127]

Соединение в вариантах изобретения инициирующего электрода 9 системы формирования СР со вторым электродом 3 лазера (Фиг 1) обеспечивает компактность устройства, упрощает его и уменьшает индуктивность разрядного контура лазера, повышая его эффективность.

[128]

При осуществлении работы с высокой частотой повторения импульсов используют систему циркуляции газа в лазерной камере 1. Цикл работы устройства повторяют, когда охлаждаемый трубками теплообменника 21 высокоскоростной поток газа, обеспечиваемый диаметральным вентилятором 20 и направляющими газового потока, к которым относятся спойлеры 22 и направляющие лопасти 23, сменит газ в области разряда 4 между электродами 2, 3 после очередного лазерного импульса (Фиг.2).

[129]

В вариантах изобретения для повышения энергии генерации и мощности лазера предыонизацию осуществляют одновременно двумя идентичными блоками предионизации 5, расположенными по бокам выполненного сплошным либо первого электрода 2 (Фиг.2, 4, 8), либо второго электрода 3 (Фиг.3, 5-7, 9). С этой целью предыонизацию осуществляют блоками предыонизации 5, установленными так, что каждая точка зоны разряда 4 находится в зоне прямой видимости, по меньшей мере, части поверхностности изогнутой диэлектрической пластины 6, используемой для формирования СР. Выполнение первого и второго электрода сплошными обеспечивает их относительную простоту, высокую надежность и большое время жизни.

[130]

В вариантах изобретения (Фиг.2) ток каждого СР протекает по контуру, включающему в себя наряду с импульсно заряжаемыми дополнительными конденсаторами 13, дополнительные электрические вводы 18 лазерной камеры 1, выполненной в вариантах изобретения (Фиг.2, 6, 8) на основе керамической трубы, и газопроницаемые дополнительные обратные токопроводы 19, обеспечивающие возможность циркуляции газа в лазерной камере 1.

[131]

В вариантах изобретения ток завершенного СР протекает между поджигающим электродом и, по меньшей мере, одним протяженным дополнительным электродом 14 (Фиг.2-13), предпочтительно соединенным с инициирующим электродом 9, что упрощает блок предыонизации 5. В вариантах изобретения дополнительный электрод 14 системы формирования СР соединен или совмещен со вторым электродом 3 (Фиг.2), либо с первым электродом (эти варианты для упрощения не показаны). Все это упрощает электрическую цепь системы формирования СР.

[132]

В вариантах изобретения СР зажигают не только на лицевой поверхности 8 изогнутой диэлектрической пластины 6, но также на ее протяженной боковой кромке (Фиг.1, 3-6) и в некоторых вариантах (Фиг.3) по малой части обратной поверхности 10. Это позволяет дополнительно уменьшить размер системы формирования СР.

[133]

Ток основного объемного разряда протекает по малоиндуктивному разрядному контуру, включающему в себя конденсаторы 12, токовводы корпуса лазера 15, 16, газопроницаемые обратные токопроводы 17, первый и второй электроды 2, 3. Кроме этого, в основной разряд вкладывается сравнительно малая электрическая энергия, запасенная за время импульсной зарядки в дополнительных конденсаторах 13, которая частично выделяется в СР.

[134]

В процессе работы устройства обеспечивают отсутствие паразитных пробоев между высоковольтным первым электродом 2 и заземленными токовводами 16 за счет их размещения на определенном удалении друг от друга. В некоторых вариантах изобретения размещение систем формирования СР вблизи второго электрода 3 позволяет минимизировать индуктивность разрядного контура благодаря максимально возможному приближению к первому электроду 2 токовводов 16 из-за отсутствия блоков предыонизации 5 вблизи первого электрода 2 (Фиг.2), что повышает КПД высокоэнергетичного эксимерного лазера.

[135]

В процессе работы устройства за счет применения выпуклой лицевой поверхности 8 каждой изогнутой диэлектрической пластины 6 блоки предыонизации 5, обеспечивающие высокий однородный уровень предыонизации в каждой точке зоны разряда 4, не препятствуют формированию высокоскоростного потока газа между первым и вторым электродами 2, 3 (Фиг.2). Это улучшает однородность и устойчивость объемного разряда, обеспечивает повышение стабильности выходных характеристик лазера, а также возможность увеличения апертуры лазерного пучка, энергии генерации и средней мощности излучения лазера. Кроме этого электроды 7, 9, 14 системы формирования СР удалены от зоны разряда 4 (Фиг.2). Это минимизирует искажения, вносимые блоками предыонизации 5 в распределение напряженности электрического поля в зоне объемного разряда 4, обеспечивая однородность объемного разряда и устойчивость его однородной формы в режиме с высокой частотой следования импульсов. В результате достигается высокая стабильность энергии лазерного излучения от импульса к импульсу и высокое качество лазерного луча.

[136]

Для обеспечения большого времени жизни изогнутой диэлектрической пластины 6 в составе блока предыонизации 5, а также большого времени жизни газовой смеси лазера, содержащей чрезвычайно химически активные компоненты F2 или HCl в вариантах изобретения в качестве материала изогнутой диэлектрической пластины 6 предпочтительно используются эрозионностойкие и галогеностойкие диэлектрики: либо сапфир, либо керамику, в частности, Al2O3.

[137]

В варианте изобретения (Фиг.2) инициирующий электрод 9 и примыкающая к нему изогнутая диэлектрическая пластина 6, нагреваемая СР охлаждаются в процессе работы, по меньшей мере, частично за счет передачи тепла массивной металлической протяженной направляющей лопасти 23, в свою очередь охлаждаемой газовым потоком, циркулирующим в лазерной камере 1.

[138]

Для эффективного охлаждения системы формирования СР в вариантах изобретения инициирующий электрод 9 или дополнительный электрод 14 могут иметь с тыльной стороны штыри радиатора или ребра радиатора, перпендикулярные продольным осям первого и второго электродов,.

[139]

В вариантах изобретения инициирующий электрод 9 охлаждают жидким теплоносителем, для этого инициирующий электрод 9 имеет канал 38 для циркуляции охлаждающей жидкости (Фиг.13).

[140]

В примерах реализации изобретения, иллюстрируемых Фиг.4 и Фиг.11 с помощью источника питания 11 осуществляют импульсную зарядку конденсаторов 12 и дополнительных конденсаторов 13, размещенных в двух керамических контейнерах 24, расположенным, по меньшей мере, частично по бокам зоны разряда 4 (Фиг.4), либо по бокам первого электрода 2 (Фиг.11). Зарядку конденсаторов 12 осуществляют по малоиндуктивной электрической цепи, включающей в себя герметичные высоковольтные токовводы 25 с керамическими изоляторами 26, установленные со стороны первого электрода 2 в металлической стенке лазерной камеры 1 вдоль нее. Малоиндуктивный контур зарядки конденсаторов 12 также включает токовводы 15, 16 установленные вдоль керамических контейнеров 24 и размещенные внутри лазерной камеры 1 по обе стороны керамических контейнеров 24 протяженные заземленные токопроводы 27, соединенные с металлической стенкой лазерной камеры 1. Одновременно осуществляют зарядку вспомогательных конденсаторов 13, также размещенных в керамических контейнерах 24. Зарядку вспомогательных конденсаторов 13 осуществляют по электрической цепи, включающей в себя дополнительные токковводы 18 и протяженный поверхностный разрядный промежуток между поджигающим и дополнительным электродами 7, 14 блока предыонизации 5. При этом оптимизированная величина емкости вспомогательных конденсаторов 13 во много раз меньше емкости конденсаторов 12, что определяет относительно малый энерговклад во вспомогательный скользящий разряд блока предыонизации 5. В каждом блоке предыонизации 5 УФ излучение вспомогательного завершенного скользящего разряда по поверхности протяженной сапфировой пластины 7 осуществляет предыионизацию газа в области разряда 4. При достижении напряжения пробоя на электродах 2, 3 между ними зажигается объемный газовый разряд. Энергия, запасенная в конденсаторах 12, вкладывается в разряд по малоиндуктивному разрядному контуру, включающему в себя высоковольтные и заземленные токовводы 15, 16 и газопроницаемые обратные токопроводы 17, расположенные по обе по обе стороны первого и второго электродов 2, 3. Разряд обеспечивает возбуждение газовой смеси в области разряда 4, что позволяет получить генерацию луча лазера. Когда с помощью системы циркуляции газа, содержащей диаметральный вентилятор 20, охлаждаемые водой трубки 21 теплообменника, направляющие газового потока, к которым относятся спойлеры 22, направляющие лопасти или лопасть 23, и части поверхности керамических контейнеров 24, обращенные к зоне разряда, сменит газ в области разряда 4, цикл работы лазера повторяется.

[141]

В этих примерах реализации изобретения (Фиг.4, 11) размещение конденсаторов 12 в керамических контейнерах 24 позволяет обеспечить малую индуктивность разрядного контура и повысить КПД лазера. Кроме этого, протяженные части контейнеров 24, обращенные к зоне разряда, образуя вблизи нее расположенные верх и вниз по потоку направляющие газового потока, позволяют эффективно формировать высокоскоростной поток газа между электродами лазера, что позволяет реализовать высокоэффективный режим работы лазера с высокой средней мощностью излучения.

[142]

В вариантах изобретения СР зажигают на поверхности изогнутой диэлектрической пластины 6, лицевая поверхность которой вогнутая (Фг.5, 6). При этом в вариантах изобретения СР зажигают в двух идентичных блоках предыонизации 5, расположенных по бокам либо первого электрода 2 (Фиг.5), либо второго электрода 3 (Фиг.6). В вариантах изобретения контур протекания СР может включать токовводы 28, снабженные керамическими изоляторами (Фиг.6). Изогнутая диэлектрическая пластина 6 предпочтительно выполнена в виде протяженной части кругло-цилиндрической тонкостенной трубки, заключенной между двумя сечениями трубки, параллельными ее продольной оси. В данных вариантах изобретения облегчается обработка поверхности изогнутой диэлектрической пластины 6, точнее наружной поверхности трубки-заготовки, совмещаемой с поверхностью инициирующего электрода 9. Это упрощает технологию изготовления системы формирования СР с точным совмещением поверхностей изогнутой диэлектрической пластины 6 и протяженного инициирующего электрода 9. В результате достигается высокоэффективная работа блока предыонизации 5 за счет обеспечения высокой однородности СР и эффективного охлаждения изогнутой диэлектрической пластины 6 посредством инициирующего электрода 9.

[143]

В соответствии с вариантами изобретении часть изогнутой диэлектрической пластины, не используемая для формирования СР, может быть расположена с обратной стороны либо первого электрода 2 (Фиг.5), либо второго электрода 3 (Фиг.6).

[144]

В данных вариантах реализации изобретения наряду с упрощением технологии изготовления системы формирования СР достигается малая индуктивность разрядного контура, в том числе, за счет размещения части изогнутой диэлектрической пластины 6 с обратной стороны либо первого электрода 2 (Фиг.5), либо второго электрода 3 (Фиг.6).

[145]

В вариантах изобретения предыонизацию осуществляют со стороны либо первого, либо второго электрода (Фиг.7, 8) двумя идентичными системами 5 формирования СР по поверхности изогнутой диэлектрической пластины 6, выполненной в виде цилиндрической тонкостенной диэлектрической трубки с продольным разрезом 29. При этом инициирующий электрод 14 размещен внутри диэлектрической трубки 6, и дополнительный электрод 14 соединен с инициирующим электродом 9 через продольный разрез 29 диэлектрической трубки 6.

[146]

При выполнении устройства в указанном виде достигается наибольшая компактность системы формирования СР и снижение индуктивности разрядной системы, что позволяет повысить КПД широкоапертурного высокоэнергетичного эксимерного лазера.

[147]

Выполнение изогнутой диэлектрической пластины 6 в виде керамической трубки с продольным разрезом 29, наряду с компактностью блока предыонизации, обеспечивает относительную простоту технологии изготовления системы формирования СР.

[148]

В вариантах изобретения (Фиг.9, 12, 13) СР зажигают на поверхности изогнутой диэлектрической пластины 6, в качестве которой используют цельную диэлектрическую трубку, внутри которой, размещен инициирующий электрод 9, при этом дополнительный электрод 14 размещен на наружной поверхности цельной диэлектрической трубки. В вариантах изобретения дополнительный электрод 14 предпочтительно подсоединен к инициирующему электроду через торец диэлектрической трубки, например электрическим проводником 37. В этих вариантах изобретения небольшое отличие в работе блока предыонизации состоит в том, что на стадии незавершенного СР зарядка емкости изогнутой диэлектрической пластины 6 осуществляется по электрическому контуру, включающему в себя электрический проводник 37, соединяющий дополнительный электрод 14 с инициирующим электродом 7 через торец диэлектрической трубки. При выполнении в указанном виде обеспечивается простота конструкции изогнутой диэлектрической пластины, ее компактность, а также малая индуктивность разрядной системы, что повышает КПД высокоэнергетичного широкоапертурного эксимерного лазера.

[149]

В вариантах изобретения предыонизацию осуществляют через частично прозрачный либо первый электрод 2 (Фиг.10-12), либо второй электрод 3 (Фиг.13) блоком предыонизации, размещенным с обратной стороны частично прозрачного электрода. В этих вариантах изобретения с системой формирования СР, выполненной симметричной относительно плоскости 30, включающей в себя продольные оси 31, 32 первого и второго электродов 2, 3, СР зажигают по обе стороны поджигающего электрода 7, установленного на выпуклой цилиндрической поверхности изогнутой диэлектрической пластины 6 и соединенного с частично прозрачным первым электродом 2 токопроводами 34 (Фиг.10-13). Для обеспечения компактности электродного узла и повышения эффективности блока предыонизации 5 СР зажигают в непосредственной близости от зоны разряда 4 за счет, по меньшей мере, частичного размещения блока предыонизации 5 в протяженной нише 35, выполненной на обратной стороне частично прозрачного электрода (Фиг.10-13).

[150]

Для обеспечения большей компактности электродного узла в вариантах изобретения в процессе работы устройства предотвращают паразитные пробои между блоком предыонизации 5 и частично прозрачным электродом за счет, по меньшей мере, частичного, размещения протяженного керамического изолятора 36 с π-образным (Фиг.10), либо п-образным поперечным сечением (не показано) в протяженной нише 35 частично прозрачного электрода.. При этом блок предыонизации 5, по меньшей мере, частично размещают в протяженном керамическом изоляторе 36 с обратной стороны частично прозрачного электрода 2 (Фиг.10). В этих вариантах изобретения достигается максимальная компактность электродного узла и разрядной системы лазера в целом.

[151]

Выполнение системы зажигания скользящего разряда в предложенном виде обеспечивает компактность предыонизатора, размещаемого в непосредственной близости от частично прозрачного электрода. По сравнению с аналогами, в котором для зажигания скользящего разряда используется плоская диэлектрическая пластина, использование изогнутой диэлектрической пластины в виде керамической трубки или ее протяженной части значительно, до в я раз, уменьшает поперечный размер диэлектрической пластины за счет свертывании пластины в трубку. Кроме этого, выполнение системы зажигания СР в предложенном виде позволяет избежать паразитных пробоев между частично прозрачным электродом и предыонизатором. Все это позволяет значительно, до 2-х раз, уменьшить поперечный размер частично прозрачного электрода. При использовании высокоэнергетичных эксимерных лазеров с частично прозрачным электродом минимизация размеров высокоэффективного блока предыонизации на основе однородного протяженного СР, интегрированного в электродный узел, позволяет уменьшить поперечные размеры частично прозрачного электрода, повысить энергию генерации и мощность лазера при его высоком КПД. Кроме этого, уменьшение поперечных размеров частично прозрачного электрода упрощает конструкцию и технологию его изготовления, повышает надежность и время жизни частично прозрачного электрода, снижает расходы на получение энергии генерации в процессе эксплуатации высокоэнергетичного эксимерного лазера.

[152]

Выполнение разрядной системы эксимерного лазера в соответствии с изобретением позволяет уменьшить поперечный размер высокоэффективного блока предыонизации с однородным протяженным СР в виде плазменного листа. За счет этого достигается компактность разрядной системы и ее малая индуктивность, что повышает КПД высокоэнергетичного широкоапертурного эксимерного лазера и уменьшает эксплуатационные расходы.

[153]

В целом, выполнение разрядной системы эксимерного лазера в соответствии с изобретением позволяет минимизировать индуктивность разрядного контура при обеспечении высокоскоростного потока газа между электродами и малого коэффициента К смены газа между электродами, что позволяет повысить энергию генерации и мощность экимерного лазера при снижении затрат на получение лазерного излучения.

[154]

ПРОМЫШЛЕННАЯ ПРИМЕНИМОСТЬ

[155]

Изобретение позволяет создать наиболее высокоэнергетичные, мощные и высокоэффективные эксимерные лазеры и лазерные системы с различными сочетаниями длины волны излучения (от 157 до 351 нм), энергии генерации (от ~0.01 до более 2 Дж/импульс) и частоты следования импульсов (от ~300 Гц до ~6000 Гц) для крупных промышленных производств, научных исследований и других применений. К ним относятся: производство плоских LCD и OLED дисплеев методом лазерного отжига, модификация и упрочнение поверхности, 3D-микрообработка материалов, производство высокотемпературных сверхпроводников методом импульсной лазерной абляции, экологический мониторинг с использованием мощных УФ лидаров, производство интегральных схем методом лазерной ВУФ литографии и др.

[156]

ИСТОЧНИКИ ИНФОРМАЦИИ

[157]

1. Patent US 6757315.

[158]

2. V M Borisov, D Basting, U Stamm, et al, "Compact 600-W KrF laser", Quantum Electron, 1998, 28 (2), pp.119-122.

[159]

Обозначения

[160]

1. лазерная камера

[161]

2. первый электрод

[162]

3. второй электрод

[163]

4. зона объемного разряда

[164]

5. блок предыонизации

[165]

6. диэлектрическая пластина

[166]

7. поджигающий электрод

[167]

8. лицевая поверхность диэлектрической пластины

[168]

9. инициирующий электрод

[169]

10. обратная поверхность диэлектрической пластины

[170]

11. источник питания

[171]

12. конденсаторы

[172]

13. дополнительные конденсаторы

[173]

14. дополнительный электрод

[174]

15, 16 высоковольтные и заземленные токовводы

[175]

17. обратные токопроводы

[176]

18. дополнительные токовводы

[177]

19. дополнительные обратные токопроводы

[178]

20. диаметральный вентилятор

[179]

21. трубки теплообменника

[180]

22. спойлеры

[181]

23. направляющие лопасти

[182]

24. керамические контейнеры

[183]

25. высоковольтные токовводы

[184]

26. керамические изоляторы

[185]

27. протяженные заземленные токопроводы

[186]

28. токовводы

[187]

29. продольный разрез диэлектрической трубки

[188]

30. плоскость, включающая продольные оси первого и второго электродов

[189]

31, 32 продольные оси первого и второго электродов

[190]

33. щелевые отверстия частично прозрачного электрода

[191]

34. токопроводы

[192]

35. протяженная ниша на обратной стороне частично прозрачного электрода

[193]

36. протяженный керамический изолятор

[194]

37. электрический проводник

[195]

38. канал для циркуляции охлаждающей жидкости

[196]

3. V. Borisov, I. Bragin. High-Energy Lasers. In Excimer Laser Technology. Ed. by D. Basting, G. Marowsky. Springer-Verglas Berlin Heidelberg (2005).

[197]

4. Patent EP 1525646 В1.

[198]

5. Patent US 20030118072.

[199]

6. Патентная заявка RU 2012131330.

[200]

7. Патентная заявка RU 2012131348.

[201]

8. Coherent Inc. Excimer & UV Optical Systems Product Catalog 2012.

Как компенсировать расходы
на инновационную разработку
Похожие патенты