патент
№ RU 2158174
МПК B01F11/00

УСТАНОВКА ДЛЯ ПРИГОТОВЛЕНИЯ МНОГОКОМПОНЕНТНЫХ ЖИДКОФАЗНЫХ СМЕСЕЙ

Авторы:
Кудрявцева Н.Е. Иванов О.М. Саруханов Р.Г.
Все (7)
Правообладатель:
Все (7)
Номер заявки
2000102820/12
Дата подачи заявки
08.02.2000
Опубликовано
27.10.2000
Страна
RU
Как управлять
интеллектуальной собственностью
Чертежи 
1
Реферат

[18]

Установка используется для приготовления слабоалкогольных и безалкогольных напитков или ликероводочных изделий. Установка содержит трубопровод подачи многокомпонентного состава в емкость, снабженную системой циркуляции и нагнетающим трубопроводом и системой с гидроакустическими (гидродинамическими) излучателями. Процесс приготовления напитков на установке осуществляется одновременно с распылением ингредиентов в объеме жидкости и с возбуждением акустических колебаний в заполняемой емкости. Гидроакустические излучатели, используемые на установке, не имеют фиксированной направленности акустического поля. Изобретение позволяет повысить степень гомогенизации при снижении энергозатрат. 3 з.п. ф-лы, 2 ил.

Формула изобретения

1. Установка для приготовления многокомпонентных жидкофазных смесей, содержащая входной и выходной трубопроводы, систему циркуляции с насосом и нагнетательным трубопроводом, емкость, снабженную несколькими гидроакустическими излучателями, установленными на вертикальной трубе, соединенной с нагнетательным трубопроводом системы циркуляции, отличающаяся тем, что гидроакустические излучатели не имеют фиксированной направленности акустического поля, а вертикальная труба расположена по оси емкости.

2. Установка по п.1, отличающаяся тем, что гидроакустические излучатели установлены на свободных концах гибких шлангов, закрепленных на вертикальной трубе.

3. Установка по п.1, отличающаяся тем, что входной трубопровод снабжен несколькими патрубками подачи компонентов смеси.

4. Установка по п.1, отличающаяся тем, что выходной трубопровод расположен в днище емкости и снабжен дренажной системой и краном.

Описание

[1]

Изобретение относится к области получения многокомпонентных растворов и смесей и может найти широкое применение в химической, пищевой и других отраслях промышленности и, в частности, например, для приготовления слабоалкогольных и безалкогольных напитков или лекарственных изделий.

[2]

Известно устройство для получения водно-спиртовых смесей, содержащее корпус с диафрагмой с отверстиями, установленной с образованием камер предварительного и окончательного смешивания, причем в патрубках подачи воды и спирта установлены дополнительные диафрагмы с отверстиями в виде сопел и на диафрагме патрубка подачи спирта смонтирован концентратор продольных колебаний (RU 2034915, C 12 G 3/04, 1995 г.). Устройство обеспечивает высокое качество смешения компонентов водно-спиртовой смеси при их высокодисперсном распылении, однако оно малоэффективно при приготовлении смесей с большим количеством компонентов.

[3]

Известна установка для приготовления многокомпонентных эмульсий, содержащая емкость, фильтр, насос, ультразвуковое эмульгирующее устройство, термокамеру и трубопроводы (SU 990284, B 01 F 11/02, 1983 г.). Установка обеспечивает возможность получения эмульсии заданной дисперсности и интенсифицирует процесс приготовления ультразвуковыми колебаниями и температурным режимом. Однако эта установка достаточно громоздкая и энергоемкая.

[4]

Известна установка для приготовления жидкостных смесей, содержащая бак для реагентов, соединенный с эжекционным патрубком гидроакустического излучателя, трубопроводы подачи и приема жидкости, нагнетательный трубопровод с насосом (SU 1526799, B 01 F 11/02, 1989 г.). Выполнение гидроакустического излучателя в виде двух симметричных вихревых камер позволяет переключать подачу реагентов в вихревые камеры и менять направление истечения обработанной струи жидкости, позволяя снизить энергопотребление установки.

[5]

Наиболее близкой по технической сущности и достигаемому результату является установка для приготовления многокомпонентных жидкофазных смесей, содержащая входной и выходной трубопроводы, систему циркуляции с насосом и нагнетательным трубопроводом, емкость, снабженную гидроакустическими излучателями, жестко закрепленными на вертикальной трубе, соединенной с системой циркуляции (GB 1475307, B 01 F 11/02, 1977 г.).

[6]

Благодаря осуществлению направленной циркуляции и воздействию гидроакустических колебаний сокращается время приготовления смесей и при их высокой дисперсности.

[7]

Однако при приготовлении многокомпонентных смесей, в частности напитков, наблюдается неравномерное распределение ингредиентов по всему объему смесительной емкости.

[8]

Задачей настоящего изобретения является создание высокопроизводительной установки, позволяющей получить высокую степень гомогенизации и равномерное распределение компонентов смеси по всему объему смесительной емкости при приготовлении напитков.

[9]

Поставленная задача решается описываемой установкой для приготовления многокомпонентных жидкофазных смесей, содержащей входной и выходной трубопроводы, нагнетательный трубопровод, насос, емкость, снабженную несколькими гидроакустическими излучателями, не имеющими фиксированной направленности акустического поля и установленными на вертикальной трубе, расположенной по оси емкости и соединенной с нагнетательным трубопроводом системы циркуляции.

[10]

Установка предпочтительно содержит гидроакустические излучатели, установленные на свободных концах гибких шлангов, закрепленных на вертикальной трубе. Входной трубопровод может быть снабжен несколькими патрубками подачи компонентов смеси, а выходной трубопровод расположен в днище емкости и снабжен дренажной системой и краном.

[11]

Использование предлагаемого изобретения в объеме вышеизложенной совокупности признаков позволяет повысить производительность процесса приготовления напитков с высокой степенью их однородности и равномерности распределения ингредиентов по всему объему в независимости от последовательности поступления необходимых ингредиентов в емкость для приготовления, а также уменьшает время производства конечного продукта. А это приводит к уменьшению энергозатрат и улучшению качества и эколого-экономических показателей процесса.

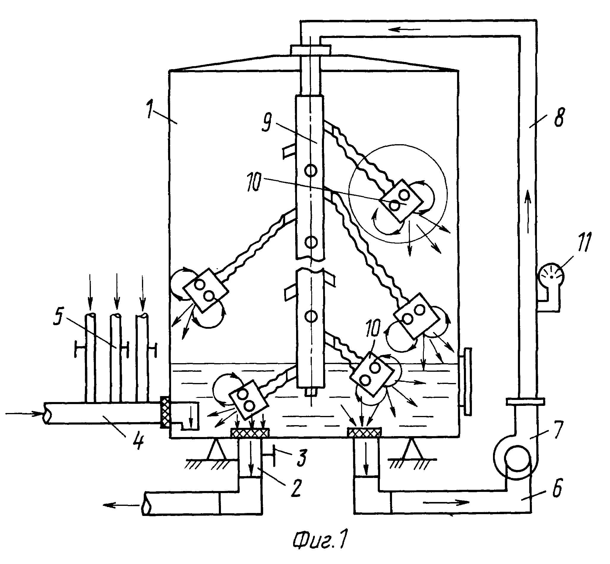
[12]

На фиг. 1 представлен один из возможных вариантов установки. Установка состоит из горизонтальной или вертикальной емкости 1, объемом не менее 50 м3 , на дне которой находится выходной трубопровод с дренажной системой 2 с краном 3 для отвода в приемник готовой продукции. Вода под давлением поступает через входной трубопровод 4, а другие ингредиенты (например, сироп, спирт, ароматические вещества) подают через патрубки 5, входящие в основной входной трубопровод 4. Обогащенная смесь поступает в емкость 1. Далее смесь поступает через всасывающий трубопровод 6 и при помощи насоса 7 под давлением по нагнетательному трубопроводу 8 на вертикальную трубу 9, находящуюся внутри емкости 1. Вертикальная труба 9 снабжена гибкими шлангами, на концах которых находятся гидроакустические излучатели 10, не имеющие фиксированной направленности. Контроль за давлением жидкости на входе в емкость (акустическую систему) осуществляют манометром 11.

[13]

Повышение степени гомогенизации и равномерное распределение ингредиентов по всему объему емкости достигается за счет использования гидроакустических излучателей с нефиксированной направленностью акустического поля, по сути обеспечивающих два цикла смешения при изготовлении жидкофазной смеси: локальный "малый" и "большой" циклы перемешивания. Локальная обработка - это прохождение жидкости через всасывающий патрубок резонаторной камеры гидроакустического излучателя в емкости.

[14]

На фиг. 2 показана схема потока жидкости через излучатель. Большой цикл обработки жидкости заключается в том, что все ингредиенты проходят систему циркуляции от нагнетающего насоса через акустические излучатели в емкость.

[15]

Пример работы установки.

[16]

Процесс приготовления слабоалкогольных и безалкогольных напитков на установке емкостью 100 м3 проводят следующим образом. Исходная (особо чистая) вода под давлением из накопителя подается во входную трубу 4, и тут же поступают все ингредиенты (спирт, сироп, ароматические вещества) по трубопроводам 5. Неоднородная смесь попадает (поступает) в емкость 1 и затем через всасывающий патрубок 6 поступает на вход нагнетающего насоса 7 и под давлением 3 атм по трубопроводу 8 поступает в вертикальную трубу 9 и затем через гидроакустические излучатели 10 распыляется в объеме постоянно заполняемой емкости 1. По мере заполнения емкости неоднородной жидкофазной смесью гидроакустические излучатели 10, не имеющие фиксированной направленности, поочередно возбуждают акустические колебания широкого спектра частот. Объем подаваемой смеси на излучатели составляет 95 м3/час. Процесс приготовления напитка длится не более 1 часа. После приготовления напитка открывается сливной кран 3 и готовый напиток поступает в накопитель через выходной трубопровод с дренажем 2.

[17]

Как показали результаты промышленных испытаний, установка позволила в 2 - 3 раза интенсифицировать процесс приготовления напитка и повысить степень однородности распределения ингредиентов во всем его объеме, при снижении энергозатрат. Кроме этого, при замене одного напитка на другой внутреннюю поверхность емкости 1 необходимо отмыть от следов предыдущего напитка. Предлагаемый способ (установка) позволяет сделать глубокую отмывку внутренней поверхности всей емкости, не требуя дополнительных сложных механизмов и трудозатрат. Кроме того, при необходимости установка позволяет провести процесс полной стерилизации внутренней поверхности емкости.

Как компенсировать расходы
на инновационную разработку
Похожие патенты