патент
№ RU 2611791
МПК E21B29/10

Способ разобщения горизонтальной скважины на отдельные участки

Авторы:
Филиппов Виталий Петрович Абдрахманов Габдрашит Султанович Илалов Рустам Хисамович
Все (5)
Номер заявки
2015155478
Дата подачи заявки
23.12.2015
Опубликовано
01.03.2017
Страна
RU
Как управлять
интеллектуальной собственностью
Чертежи 
2
Реферат

Изобретение относится к нефтегазодобывающей промышленности, а именно к способам изоляции зон осложнений при бурении и ремонте скважин. Способ включает определение геофизическими исследованиями длины и расположения зон разобщения, спуск на колонне труб профильных разобщителей с цилиндрическими концами, каждый из которых размещен на центральном стволе между верхним и нижним упорами. Центральный ствол внутри каждого разобщителя дополнительно снабжают ниппелем и электрическим клапаном, а каждый разобщитель в средней части - цилиндрическим участком под ниппель с калиброванным сужением, расположенным со стороны забоя скважины. Снизу центральный ствол оснащают башмаком с обратным клапаном, а нижний из разобщителей ниже башмака - цилиндрической втулкой с боковыми отверстиями, тарированным внутренним диаметром и нижним упором. После спуска избыточное давление внутри разобщителей создают через электрические клапаны, а после герметизации и фиксации в интервале установки колонну бурильных труб спускают до упора башмака в нижний упор. Ниппели герметично располагаются в калиброванных сужениях, а башмак - в цилиндрической втулке ниже боковых отверстий. Сообщение с пространством ниже разобщителей осуществляют через электрические клапаны, которые открывают и закрывают при необходимости электрическими сигналами с устья скважины. Снижаются временные затраты за счет исключения дополнительных спуско-подъемных операций. 2 ил.

Формула изобретения

Способ разобщения горизонтальной скважины на отдельные участки, включающий определение геофизическими исследованиями длины и расположения зон разобщения, спуск на колонне труб профильных разобщителей с цилиндрическими концами, каждый из которых размещен на центральном стволе между верхним и нижним упорами, причем расстояние между разобщителями выбирают согласно расположению и длинам зон разобщения, создание внутри разобщителей избыточного давления для их выправления и герметичной фиксации в интервале установки, отличающийся тем, что центральный ствол внутри каждого разобщителя дополнительно снабжают ниппелем и электрическим клапаном, а каждый разобщитель в средней части - цилиндрическим участком под ниппель с калиброванным сужением, расположенным со стороны забоя скважины, причем снизу центральный ствол оснащают башмаком с обратным клапаном, а нижний из разобщителей ниже башмака - цилиндрической втулкой с боковыми отверстиями, тарированным внутренним диаметром и нижним упором, после спуска избыточное давление внутри разобщителей создают через соответствующие электрические клапаны, а после герметизации и фиксации в интервале установки колонну бурильных труб спускают до упора башмака в нижний упор, при этом ниппели герметично располагаются в калиброванных сужениях, а башмак - в цилиндрической втулке ниже боковых отверстий, сообщение с пространством ниже разобщителей осуществляют через соответствующие электрические клапаны, которые открывают и закрывают при необходимости электрическими сигналами с устья скважины.

Описание

[1]

Изобретение относится к нефтегазодобывающей промышленности, а именно к способам изоляции зон осложнений при бурении и ремонте скважин.

[2]

Известен способ изоляции осложнений в скважине профильными перекрывателями (патент RU №2433246, Е21В 29/10, опубл. 10.11.2011 г.), включающий спуск на колонне труб профильного перекрывателя, размещенного между верхним упором и калибратором, с посадочным инструментом в интервал установки, расширение перекрывателя калибратором и расширяющимся конусом снизу вверх для плотного и герметичного прижатия к стенкам скважины и извлечение инструмента из скважины. При наличии нескольких интервалов изоляции устанавливают несколько аналогичных по конструкции перекрывателей, концы которых над верхним упором и под калибратором герметично перекрывают перед спуском, на расстоянии между собой и соответствующей длины, достаточной для установки напротив соответствующих интервалов изоляции. Перед калибровкой внутри профильных перекрывателей создают избыточное давление, достаточное для предварительного расправления перекрывателей и фиксации их относительно стенок скважины.

[3]

Недостатками данного способа являются:

[4]

- высокая вероятность заклинивания инструмента в горизонтальном стволе, так как при выходе гидродомкрата в вертикальный участок скважины в горизонтальном стволе нагрузка не доходит до последнего пуансона;

[5]

- высокие материальные затраты на осуществление способа из-за наличия большого количества пуансонов, гидродомкрата и так далее.

[6]

Наиболее близким по технической сущности и достигаемому результату является способ разобщения горизонтальной скважины на отдельные участки (патент RU №2564321, Е21В 29/10, опубл. 27.09.2015 г.), включающий определение геофизическими исследованиями длины и расположения зон разобщения, спуск на колонне труб профильных разобщителей с цилиндрическими концами, каждый из которых размещен между верхним и нижним упорами, при этом расстояние между разобщителями выбирают согласно расположению и длинам зон разобщения, создание внутри разобщителей избыточного давления для их предварительного выправления и фиксации в интервале установки, окончательное расширение разобщителей сверху вниз роликовым развальцевателем с регулируемым диаметром, причем перед спуском в разобщители с двух сторон герметично вставляют верхний и нижний упоры, наружный диаметр которых на 2-3% меньше внутреннего диаметра цилиндрических концов разобщителей, а на профильной части разобщителей размещают уплотнительные элементы так, чтобы при расширении разобщителей развальцевателем не происходило перекрытия по длине уплотнительных элементов для герметизации внутреннего пространства скважины, кроме этого в средней профильной части разобщителя располагают уплотнительные элементы из более твердого и износостойкого материала.

[7]

Недостатком данного способа является необходимость проведения дополнительных спуско-подъемных операций для окончательного расширения профильных разобщителей и прижатия уплотнительных элементов к стенкам скважины, а также для установки электрических клапанов, что приводит к дополнительным временным и материальным затратам.

[8]

Технической задачей предлагаемого способа является снижение временных и материальных затрат на его осуществление за счет исключения дополнительных спуско-подъемных операций для окончательного расширения профильных разобщителей и прижатия уплотнительных элементов к стенкам скважины, а также для установки электрических клапанов.

[9]

Техническая задача решается способом разобщения горизонтальной скважины на отдельные участки, включающим определение геофизическими исследованиями длины и расположения зон разобщения, спуск на колонне труб профильных разобщителей с цилиндрическими концами, каждый из которых размещен на центральном стволе между верхним и нижним упорами, причем расстояние между разобщителями выбирают согласно расположению и длинам зон разобщения, создание внутри разобщителей избыточного давления для их выправления и герметичной фиксации в интервале установки.

[10]

Новым является то, что центральный ствол внутри каждого разобщителя дополнительно снабжают ниппелем и электрическим клапаном, а каждый разобщитель в средней части - цилиндрическим участком под ниппель с калиброванным сужением, расположенным со стороны забоя скважины, причем снизу центральный ствол оснащают башмаком с обратным клапаном, а нижний из разобщителей ниже башмака - цилиндрической втулкой с боковыми отверстиями, тарированным внутренним диаметром и нижним упором, после спуска избыточное давление внутри разобщителей создают через соответствующие электрические клапаны, а после герметизации и фиксации в интервале установки колонну бурильных труб спускают до упора башмака в нижний упор, при этом ниппели герметично располагаются в калиброванных сужениях, а башмак - в цилиндрической втулке ниже боковых отверстий, сообщение с пространством ниже разобщителей осуществляют через соответствующие электрические клапаны, которые открывают и закрывают при необходимости электрическими сигналами с устья скважины.

[11]

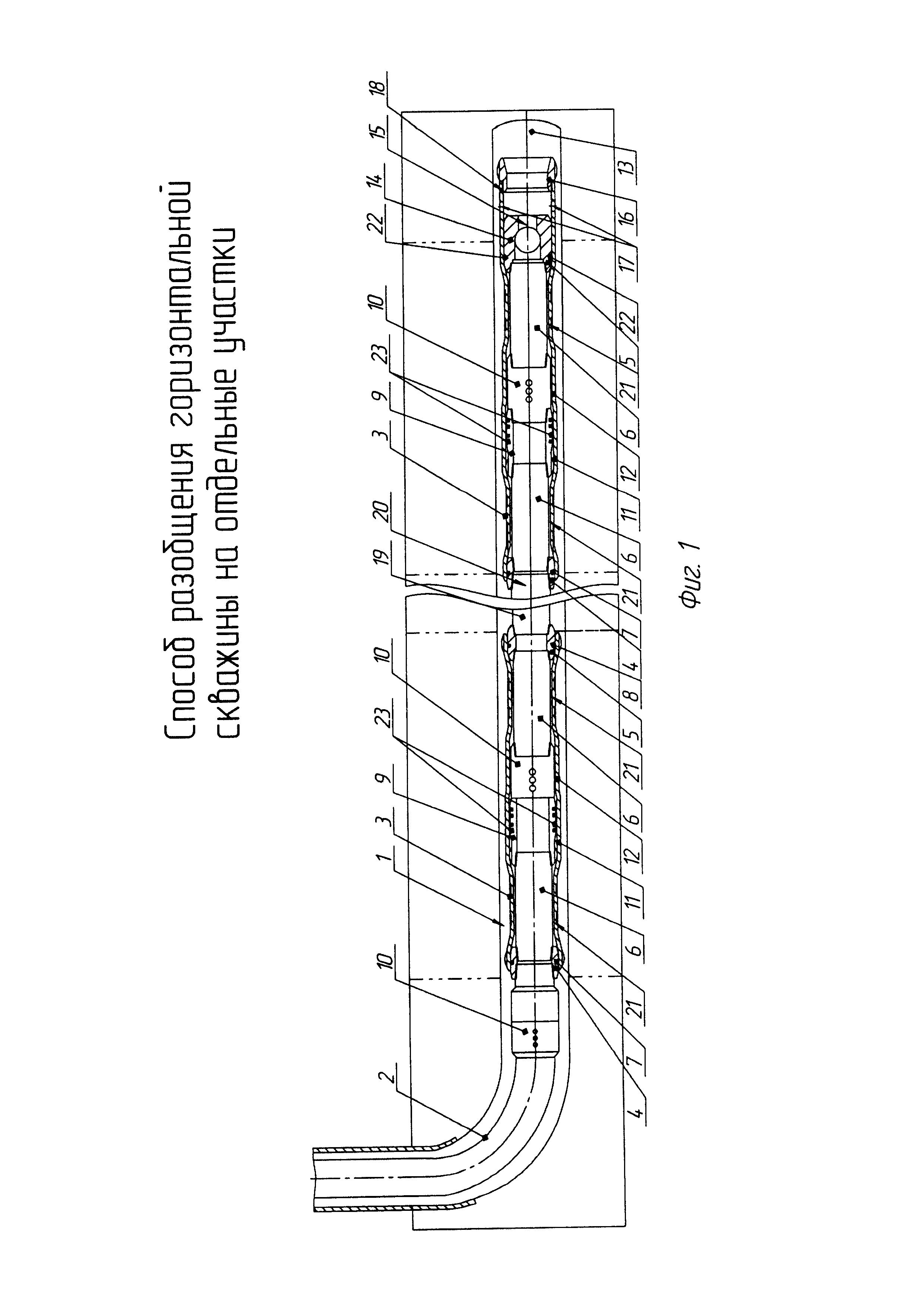
На фиг. 1 показан спуск нескольких размещенных герметично между верхними и нижними упорами, аналогичных по конструкции профильных разобщителей с цилиндрическими участками под ниппель.

[12]

На фиг. 2 показаны несколько аналогичных по конструкции профильных разобщителей в рабочем положении.

[13]

Способ осуществляется в следующей последовательности.

[14]

После проведения геофизических исследований и определения количества, расположения и длин разобщаемых участков в горизонтальный ствол 1 (фиг. 1, 2) скважины на колонне бурильных труб 2 спускают профильные разобщители 3, размещенные герметично между верхним 4 (фиг. 1) и нижним 5 упорами, установленными на центральных стволах 6. Верхний 4 и нижний 5 упоры снабжены герметизирующими манжетами 7, 8. Центральные стволы 6 (фиг. 1, 2) внутри каждого разобщителя 3 дополнительно снабжают ниппелем 9 и электрическим клапаном 10, а каждый разобщитель 3 - цилиндрическим участком 11 с калиброванным сужением 12, расположенным со стороны забоя 13 скважины под ниппель 9. Центральный ствол 6 нижнего разобщителя 3 снизу оснащен башмаком 14 с обратным клапаном 15, а нижний разобщитель 3 (фиг. 1) ниже башмака 14 - цилиндрической втулкой 16 с боковыми отверстиями 17, тарированным внутренним диаметром и нижним упором 18. Профильные разобщители 3 (фиг. 1, 2) с центральными стволами 6 между собой соединяют бурильными трубами 19, длина которых выбирается с учетом длины соответствующих интервалов разобщения. По мере спуска профильных разобщителей 3 в скважину, благодаря обратному клапану 15 башмака 14 внутренняя полость 20 бурильных труб 19 и колонны бурильных труб 2 заполняется скважинной жидкостью.

[15]

Профильные разобщители 3 устанавливают между соответствующими интервалами разобщения. После этого закачкой жидкости в колонну бурильных труб 2 и полость 20 бурильных труб 19 создают избыточное гидравлическое давление, которое через радиальные отверстия в центральных стволах 6 и электрические клапаны 10 распространяется во внутренние полости 21 профильных разобщителей 3, расправляя и фиксируя их относительно стенок горизонтального ствола 1 скважины. Упоры 4, 5 (фиг. 2) освобождаются, колонну бурильных труб спускают до упора башмака 14 в нижний упор 18 цилиндрической втулки 16, при этом повышение веса на индикаторе веса (на фиг. не показано) на устье скважины покажет, что башмак 14 уперся в нижний упор 18. Благодаря тому, что цилиндрическая втулка 16 выполнена с тарированным внутренним диаметром, а башмак 14 снабжен самоуплотняющимися манжетами 22, башмак 14 герметично устанавливается в нижний упор 18 ниже боковых отверстий 17. Ниппели 9 благодаря самоуплотняющимся манжетам 23 герметично располагаются в калиброванных сужениях 12 цилиндрических участков 11 профильных разобщителей 3. Поступление скважинного флюида внутрь профильных разобщителей 3 осуществляется через их нижние концы, далее через радиальные отверстия - во внутреннюю полость центральных стволов 6 и к соответствующим электрическим клапанам 10, затем в колонну бурильных труб 2. К электрическому клапану 10 нижнего разобщителя 3 флюид поступает через обратный клапан 15 башмака 14 и боковые отверстия 17 цилиндрической втулки 16. При этом в случае необходимости электрические клапаны 10 открывают или закрывают электрическими сигналами с устья скважины (на фиг. не показано).

[16]

Предлагаемый способ позволяет снизить временные и материальные затраты на его осуществление за счет исключения дополнительных спуско-подъемных операций для окончательного расширения профильных разобщителей и прижатия уплотнительных элементов к стенкам скважины, а также для установки электрических клапанов.

Как компенсировать расходы
на инновационную разработку
Похожие патенты