патент
№ RU 2596955
МПК G08B17/00

ЭЛЕКТРОИНДУКЦИОННЫЙ ПОЖАРНЫЙ ИЗВЕЩАТЕЛЬ

Авторы:
Хазанов Вадим Аркадьевич Голиков Алексей Валерьевич Романов Александр Егорович
Все (9)
Номер заявки
2015134154/12
Дата подачи заявки
13.08.2015
Опубликовано
10.09.2016
Страна
RU
Как управлять
интеллектуальной собственностью
Чертежи 
2
Реферат

Изобретение относится к области противопожарной техники и предназначено для обнаружения пожароопасной ситуации на самых ранних стадиях развития. Электроиндукционный пожарный извещатель содержит измерительный усилитель, блок обработки информации, блок питания, высоковольтный импульсный генератор и измерительную линию. Измерительная линия состоит из газохода, выполненного из диэлектрического материала и имеющего прямоугольное сечение, и побудителя расхода аэрозоля. Диэлектрический газоход состоит из зарядной камеры и измерительной камеры с индукционным электродом. Зарядная камера выполнена с возможностью реализации в ней барьерного разряда за счет двух плоских металлических электродов, установленных на внешних сторонах верхней и нижней граней диэлектрического газохода один под другим, при этом один из электродов подключен к высоковольтному импульсному генератору, а второй - заземлен. Техническим результатом является упрощение конструкции и уменьшение габаритных размеров пожарного извещателя, увеличение долговременной стабильности его работы, а также уменьшение потребления энергии, необходимой для зарядки аэрозольных частиц, при сохранении высокой достоверности определения пожароопасной ситуации. 3 ил.

Формула изобретения

Электроиндукционный пожарный извещатель, содержащий измерительный усилитель, блок обработки информации, блок питания, высоковольтный импульсный генератор и измерительную линию, состоящую из побудителя расхода аэрозоля и полого газохода, содержащего зарядную камеру и измерительную камеру с индукционным электродом, причем зарядная камера включает в себя два металлических электрода, один из которых подключен к высоковольтному импульсному генератору, а второй - заземлен, отличающийся тем, что газоход выполнен из диэлектрического материала и имеет прямоугольное сечение, а электроды зарядной камеры, выполненной с возможностью реализации в ней барьерного разряда, являются плоскими и установлены на внешних сторонах верхней и нижней граней диэлектрического газохода один под другим.

Описание

[1]

Изобретение относится к области противопожарной техники и предназначено для обнаружения пожароопасной ситуации на самых ранних стадиях развития.

[2]

Применение в качестве пожарных извещателей устройств, реализующих электроиндукционный принцип измерения параметров аэродисперсной системы, основанный на зарядке частиц, находящихся в потоке аэрозоля, и последующем измерении их суммарного объемного заряда индукционным способом, является наиболее перспективным направлением в области обнаружения пожароопасной ситуации. Электроиндукционные извещатели позволяют производить непрерывные измерения в широком диапазоне размеров частиц и обладают очень высокой чувствительностью.

[3]

Известен электроиндукционный пожарный извещатель, описанный в [1]. Данный пожарный извещатель состоит из измерительного усилителя, блока обработки информации, блока питания, высоковольтного импульсного генератора, схемы стабилизации тока коронного разряда и измерительной линии, содержащей полый цилиндрический газоход и побудитель расхода аэрозоля. Газоход состоит из зарядной камеры и измерительной камеры, включающей в себя индукционный электрод. Зарядная камера газохода содержит внешний некоронирующий электрод - кольцо, на который с выхода высоковольтного импульсного генератора подается импульсное напряжение, и заземленный внутренний коронирующий электрод - иглу. Вышеописанный извещатель выбран в качестве прототипа.

[4]

Принцип работы устройства-прототипа заключается в следующем.

[5]

Исследуемый аэрозоль с постоянной скоростью прокачивается побудителем расхода через газоход измерительной линии. В измерительной камере между коронирующим и некоронирующим электродами высоковольтным импульсным генератором возбуждается электрическое поле, напряженность которого обеспечивает зажигание короны на острие коронирующего электрода - иглы. Проходя между электродами зарядной камеры, аэрозольные частицы приобретают электрический заряд, пропорциональный их размеру и напряженности электрического поля между электродами. Заряженные аэрозольные частицы попадают в измерительную камеру, где на индукционном электроде наводят заряд, создающий на входной емкости измерительного усилителя пропорциональное этому заряду напряжение, на основании которого вычисляют соответствующее значение концентрации частиц.

[6]

Применение коронного разряда накладывает ряд существенных ограничений на конструкцию и работу вышеописанного извещателя.

[7]

Во-первых, наличие в газоходе таких элементов, как коронирующий электрод, расположенный по центру канала, вносит искажения в газовый поток, нарушая его равномерность, которая в газоходе пожарного извещателя электроиндукционного типа существенно влияет на количество заряженных аэрозольных частиц, достигающих области регистрации наведенного объемного заряда, и, как следствие, на качество выходного сигнала и достоверность определения пожароопасной ситуации. Для обеспечения равномерности потока в данном извещателе необходимо увеличить расстояние от области заряда частиц до области его регистрации, что существенно сказывается на габаритах измерительной линии и самого извещателя в целом.

[8]

Во-вторых, острие коронирующего электрода должно иметь определенный радиус, минимально необходимый для зажигания коронного разряда. В указанном пожарном извещателе коронирующий электрод расположен внутри зарядной камеры и подвержен деградации его острия, что приводит к снижению долговременной стабильности работы извещателя. Ухудшение качества острия коронирующего электрода ведет к необходимости увеличения напряженности поля, требуемой для поджигания и удержания коронного разряда, что приводит к заметному увеличению энергопотребления устройства. При автоматическом поддержании тока коронного разряда деградация острия может привести к выходу из диапазона регулирования высоковольтного генератора и прекращению коронного разряда. Значительное увеличение напряжения при деградации острия коронирующего электрода может также приводить к искровым пробоям в наименее защищенных частях схемы и конструкции устройства.

[9]

Помимо этого, в извещателях такого типа в целях обеспечения равномерности поля коронного разряда предъявляются повышенные требования к качеству выполнения деталей зарядной камеры и шероховатости поверхностей (во избежание загрязнения газохода), а также к точности позиционирования коронирующего электрода - иглы, относительно некоронирующего электрода - кольца. При несоблюдении этих требований эффективность заряда аэрозольных частиц существенно снижается, что также влияет на достоверность определения пожароопасной ситуации.

[10]

Кроме того, конструкция прототипа усложнена наличием схемы стабилизации тока коронного разряда, обеспечивающей поддержание режима коронного разряда. Наличие данной схемы является обязательным условием эффективной работы вышеописанного пожарного извещателя, т.к. при ее отсутствии сигнал на выходе извещателя становится нестабильным, из-за чего эффективность работы устройства становится зависимой от внешних условий, что сильно сказывается на повторяемости результатов измерения.

[11]

Технический результат заявленного изобретения заключается в упрощении конструкции и уменьшении габаритных размеров измерительной линии пожарного извещателя при сохранении равномерности потока аэрозоля, увеличении долговременной стабильности работы извещателя, а также в уменьшении потребления энергии, необходимой для зарядки аэрозольных частиц, при сохранении эффективности передачи объемного заряда, обеспечивающей высокую достоверность определения пожароопасной ситуации.

[12]

Указанный технический результат достигается тем, что электроиндукционный пожарный извещатель, содержащий измерительный усилитель, блок обработки информации, блок питания, высоковольтный импульсный генератор и измерительную линию, состоящую из побудителя расхода аэрозоля и полого газохода, содержащего зарядную камеру и измерительную камеру с индукционным электродом, причем зарядная камера включает в себя два металлических электрода, один из которых подключен к высоковольтному импульсному генератору, а второй - заземлен, отличается тем, что газоход выполнен из диэлектрического материала и имеет прямоугольное сечение, а электроды зарядной камеры, выполненной с возможностью реализации в ней барьерного разряда, являются плоскими и установлены на внешних сторонах верхней и нижней граней диэлектрического газохода один под другим.

[13]

В заявляемом извещателе сечение газохода выполнено прямоугольным, с возможностью нанесения на его верхнюю и нижнюю грани плоских электродов один под другим, при этом в качестве материала газохода используется диэлектрик. Такое исполнение газохода обеспечивает возникновение электрического поля барьерного разряда между электродами зарядной камеры. При этом грани газохода выполняют роль диэлектрических барьеров для электродов зарядной камеры, тем самым предотвращая возможность образования сквозного тока в межэлектродном пространстве, что в свою очередь отменяет необходимость применения схемы стабилизации тока. Преимуществами такой конструкции также являются отсутствие элементов, вносящих искажения в воздушный поток, и высокая скорость прокачки аэрозоля, обусловленная небольшой площадью сечения газохода. Таким образом, поток аэрозоля будет проходить через газоход быстро и равномерно, а расстояние от области зарядки частиц до области регистрации заряда сократится, тем самым габариты измерительной линии и всего извещателя уменьшатся.

[14]

Кроме того, предлагаемый электроиндукционный пожарный извещатель отличается долговременной стабильностью работы, поскольку в нем полностью отсутствует эффект деградации электродов. Электроды находятся за пределами области протекания разряда и поэтому не подвергаются тем воздействиям, которые неизбежны для электродов коронного разряда - коррозии и потере массы на острие коронирующего электрода, приводящим к увеличению радиуса острия иглы.

[15]

Помимо этого, длительность импульса высокого напряжения, требующегося для зажигания барьерного разряда, на порядок меньше, чем длительность импульса - для зажигания коронного разряда. Если применять ионизацию пакетом импульсов, то при одинаковой длительности пакета энергозатраты барьерного разряда в разы меньше энергозатрат коронного, при этом эффективность заряда частиц остается одинаковой.

[16]

Сущность изобретения поясняется чертежами.

[17]

На фиг. 1 представлена структурная схема заявляемого электроиндукционного пожарного извещателя.

[18]

На фиг. 2 представлено конструктивное исполнение зарядной камеры газохода.

[19]

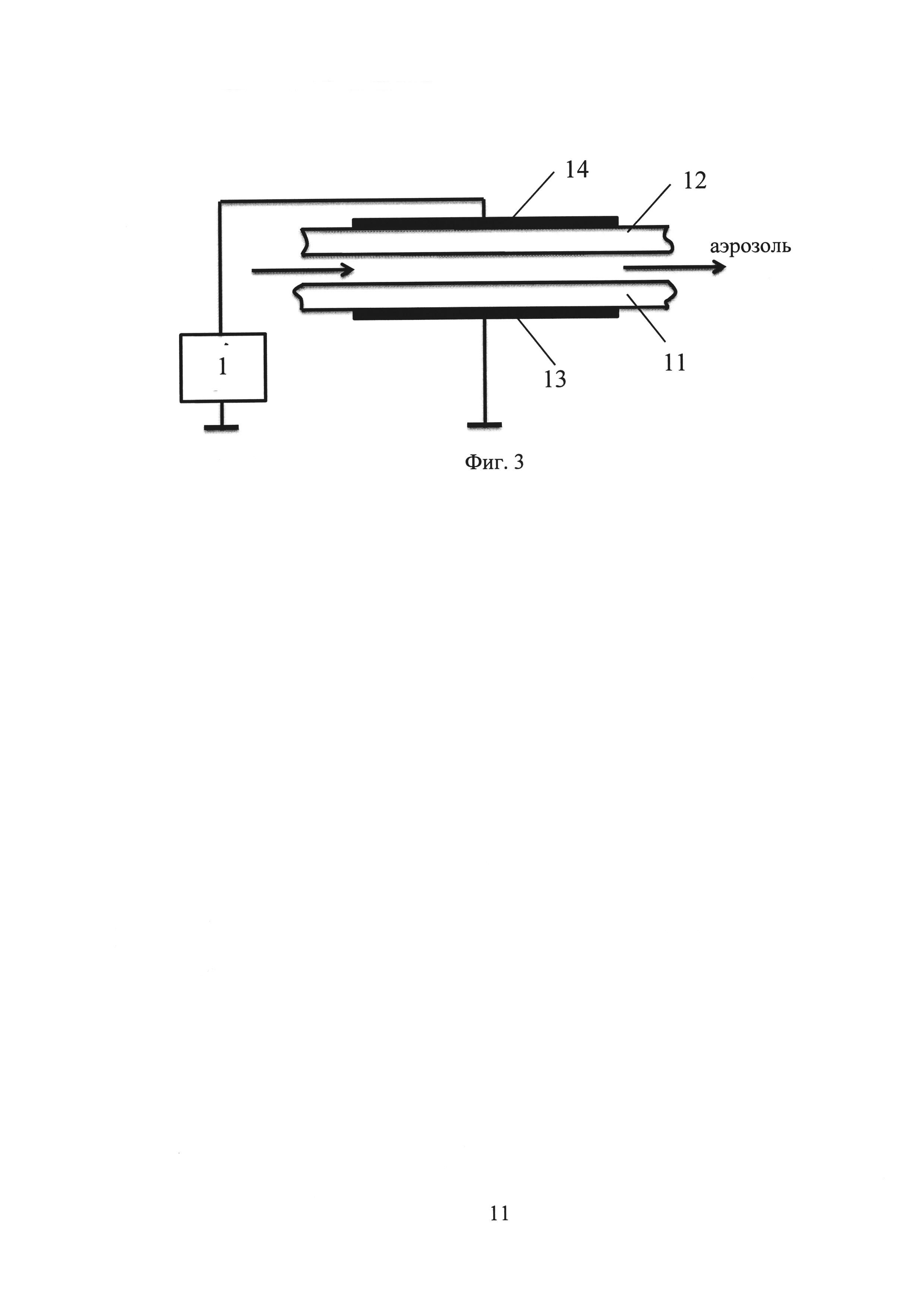
На фиг. 3 приведена упрощенная схема зарядной камеры, реализующей барьерный разряд.

[20]

Электроиндукционный пожарный извещатель (фиг. 1) состоит из высоковольтного импульсного генератора 1, измерительного усилителя 2, блока обработки информации 3, блока питания 4 и измерительной линии 5, включающей в себя полый газоход прямоугольного сечения 6 и побудитель расхода аэрозоля 7. Газоход 6 образован установленными последовательно зарядной камерой 8 и измерительной камерой 9 с индукционным электродом 10, выход которого подключен к входу измерительного усилителя 2.

[21]

Полый газоход прямоугольного сечения 6 (фиг. 2) выполняется из любого диэлектрического материала с высоким коэффициентом диэлектрической проницаемости (например, из поликора) и имеет верхнюю 11 и нижнюю 12 грани, расстояние между которыми выбирается в диапазоне от одного до нескольких миллиметров (не более 3 мм) для обеспечения оптимального режима энергопотребления.

[22]

Зарядная камера 8 (фиг. 2 и 3) включает в себя два плоских металлических электрода 13 и 14, нанесенных методом напыления или приклеиванием на внешние стороны верхней 11 и нижней 12 граней диэлектрического газохода 6 один под другим, причем один из электродов, например 14, подключен к высоковольтному импульсному генератору 1, а другой электрод, например 13, заземлен. При этом электроды 13 и 14 с внешней стороны покрываются изолирующим диэлектрическим материалом (не показан) для обеспечения дополнительной защиты электродов от износа. Такая конструкция зарядной камеры 8 обеспечивает реализацию барьерного разряда, необходимого для заряда частиц аэрозоля.

[23]

Заявляемое устройство работает следующим образом.

[24]

При подведении к одному из электродов, например 14, импульсного высокого напряжения от генератора 1 в зарядной камере 8 газохода 6 возникает барьерный безыскровой электрический разряд. Исследуемый аэрозоль с постоянной скоростью прокачивается побудителем расхода 7 через газоход 6. Проходя через зарядную камеру 8, аэрозольные частицы заряжаются в поле барьерного разряда. В результате, в том объеме аэрозоля, который прошел через зарядную камеру 8 во время импульса барьерного разряда, частицы получают электрический заряд, и поток аэрозоля оказывается промодулированным по плотности объемного заряда. Попадая в измерительную камеру 9, заряженные аэрозольные частицы индуцируют на индукционном электроде 10 заряд, создающий на входной емкости измерительного усилителя 2 пропорциональное этому заряду напряжение, соответствующее концентрации частиц.

[25]

Как следует из вышеизложенного, достижение технического результата, заключающегося в упрощении конструкции электроиндукционного пожарного извещателя, имеющего небольшие габаритные размеры, а также в снижении потребления энергии, необходимой для зарядки аэрозольных частиц, при сохранении равномерности потока аэрозоля и эффективности передачи объемного заряда, обеспечивающего высокую достоверность определения пожароопасной ситуации, становится возможным за счет конструкции зарядной камеры, создающей поле барьерного разряда.

[26]

Кроме того, простота и высокая технологичность конструкции газохода измерительной линии с интегрированной зарядной камерой предлагаемого устройства позволяют снизить затраты при изготовлении электроиндукционных пожарных извещателей.

[27]

Из открытых источников патентной и другой информации применение барьерного разряда для заряда аэрозольных частиц в пожарных извещателях электроиндукционного типа неизвестно.

[28]

Испытания опытного образца показали, что электроиндукционный пожарный извещатель, изготовленный в соответствии с предлагаемым техническим решением, позволяет производить измерения в широком диапазоне размеров частиц и обеспечивает обнаружение пожароопасной ситуации на ранних стадиях возникновения.

[29]

Источники информации

[30]

[1] Патент РФ №2459268, опубликован 20.08.2012 г. - прототип.

[31]

Авторы: Анцев И.Г., Голиков А.В., Петухов C.H., Хазанов В.А., Романов А.Е., Янченков М.Ю., Торопов Д.А., Есипов А.Л., Милов Р.В.

Как компенсировать расходы
на инновационную разработку
Похожие патенты