патент
№ RU 2678743
МПК E21B19/00

УСТРОЙСТВО ДЛЯ ЗАВОРОТА КОЛОННЫХ ГОЛОВОК

Авторы:
Ковальчук Александр Павлович
Номер заявки
2018114344
Дата подачи заявки
18.04.2018
Опубликовано
31.01.2019
Страна
RU
Как управлять
интеллектуальной собственностью
Чертежи 
1
Реферат

Изобретение относится к нефтегазодобывающей и геологоразведочной отраслям промышленности и предназначено для заворота и отворота колонной головки. Устройство для заворота колонных головок включает устанавливаемое на фланце колонной головки основание в форме диска с центральным отверстием и концентрично расположенными отверстиями, гнездо, закрепленное к основанию, элемент для передачи крутящего момента основанию и привод для вращения основания. Концентрично расположенные отверстия основания выполнены в количестве четырех и с цилиндрической стенкой. Основание соединяется с фланцем колонной головки с помощью гаек и болтов или шпилек, пропущенных через концентрично расположенные отверстия основания и отверстия фланца. Гнездо выполнено в форме цилиндра с соосно расположенной квадратного сечения выборкой. Цилиндр гнезда установлен в центральное отверстие основания и закреплен к основанию сваркой. В квадратную выборку цилиндра с возможностью осевого перемещения установлен элемент для передачи крутящего момента основанию, выполненный в виде отрезка квадратной трубы, на верхний торец которого приварено цилиндрическое кольцо, внутренний диаметр которого выбран больше диагонали внутреннего квадрата поперечного сечения отрезка квадратной трубы. Наружный диаметр этого кольца выбран больше ширины наружной стенки отрезка квадратной трубы. На верхнюю стенку цилиндрического кольца установлен соосно отрезку квадратной трубы и закреплен сваркой отрезок цилиндрической трубы. Он имеет на верхнем конце наружную коническую резьбу, куда завернута соответствующей резьбой муфта для соединения устройства к элеватору. Приводом для вращения основания служит подвесной гидравлический ключ, применяемый для свинчивания и развинчивания бурильных и насосно-компрессорных труб. В предложенном устройстве упрощается конструкция за счет снижения количества деталей и применения подвесного гидравлического ключа. 2 ил.

Формула изобретения

Устройство для заворота колонных головок, включающее устанавливаемое на фланце колонной головки основание в форме диска с центральным отверстием и концентрично расположенными отверстиями, гнездо, закрепленное к основанию, элемент для передачи крутящего момента основанию и привод для вращения основания, отличающееся тем, что концентрично расположенные отверстия основания выполнены в количестве четырех и с цилиндрической стенкой, при этом основание соединяется с фланцем колонной головки с помощью гаек и болтов или шпилек, пропущенных через концентрично расположенные отверстия основания и отверстия фланца, при этом гнездо выполнено в форме цилиндра с соосно расположенной квадратного сечения выборкой, при этом цилиндр гнезда установлен в центральное отверстие основания и закреплен к основанию сваркой, причем в квадратную выборку цилиндра с возможностью осевого перемещения установлен элемент для передачи крутящего момента основанию, выполненный в виде отрезка квадратной трубы, на верхний торец которого приварено цилиндрическое кольцо, внутренний диаметр которого выбран больше диагонали внутреннего квадрата поперечного сечения отрезка квадратной трубы, а наружный диаметр кольца выбран больше ширины наружной стенки отрезка квадратной трубы, причем на верхнюю стенку цилиндрического кольца установлен соосно отрезку квадратной трубы и закреплен сваркой отрезок цилиндрической трубы, имеющий на верхнем конце наружную коническую резьбу, куда завернута соответствующей резьбой муфта для соединения устройства к элеватору, причем приводом для вращения основания служит подвесной гидравлический ключ, применяемый для свинчивания и развинчивания бурильных и насосно-компрессорных труб.

Описание

[1]

Изобретение относится к нефтегазодобывающей и геологоразведочной отраслям промышленности и предназначено для заворота и отворота колонной головки.

[2]

Известно устройство для заворота колонных головок (Патент RU 2376448, МПК Е21В 19/06, В25В 21/00, опубл. 20.12.2009, Бюл. №35), включающее устанавливаемое на фланце колонной головки основание в форме диска с центральным отверстием и концентрично расположенными отверстиями, гнездо, закрепленное к основанию, элемент для передачи крутящего момента основанию и привод для вращения основания.

[3]

Прототип содержит узел подключения гидролиний и значительное количество деталей - основание в форме диска с резьбовыми отверстиями, пальцы, гнездо, закрепленное болтами к основанию, цилиндр, зубчатое колесо с «юбкой», где выполнены отверстия, плита, три гидроцилиндра с поршнями и плунжерами, пружина, четыре трубки с накидными гайками и ниппелями. Приводом для вращения основания служит связанное с ним зубчатое колесо, зубья которой находятся в зацеплении с зубьями двух зубчатых реек, выполненных в средней части двух плунжеров гидроцилиндров. Для перемещения плунжеров с зубчатыми рейками в гидроцилиндры жидкость подается по рукавам высокого давления от гидравлической насосной станции. Отверстия в основании для крепления устройства к колонной головке выполнены резьбовые, куда ввертываются пальцы. Гнездо имеет форму фланца с цилиндрическим выступом, где выполнена расточка для зубчатого колеса и выступ для гидроцилиндра. Фланец гнезда крепится к основанию болтовым соединением. Гнездо сложной формы, болтовое крепление гнезда к основанию, узел подключения гидролиний, значительное количество деталей, привод для вращения основания и резьбовые отверстия в основании усложняют конструкцию устройства.

[4]

Технической задачей изобретения является упрощение конструкции устройства.

[5]

Поставленная задача решается тем, что в устройстве для заворота колонных головок, включающем устанавливаемое на фланце колонной головки основание в форме диска с центральным отверстием и концентрично расположенными отверстиями, гнездо, закрепленное к основанию, элемент для передачи крутящего момента основанию и привод для вращения основания, новым является то, что концентрично расположенные отверстия основания выполнены в количестве четырех и с цилиндрической стенкой, при этом основание соединяется с фланцем колонной головки с помощью гаек и болтов или шпилек, пропущенных через концентрично расположенные отверстия основания и отверстия фланца, при этом гнездо выполнено в форме цилиндра с соосно расположенной квадратного сечения выборкой, при этом цилиндр гнезда установлен в центральное отверстие основания и закреплен к основанию сваркой, причем в квадратную выборку цилиндра с возможностью осевого перемещения установлен элемент для передачи крутящего момента основанию, выполненный в виде отрезка квадратной трубы, на верхний торец которого приварено цилиндрическое кольцо, внутренний диаметр которого выбран больше диагонали внутреннего квадрата поперечного сечения отрезка квадратной трубы, а наружный диаметр кольца выбран больше ширины наружной стенки отрезка квадратной трубы, причем на верхнею стенку цилиндрического кольца установлен соосно отрезку квадратной трубы и закреплен сваркой отрезок цилиндрической трубы, имеющий на верхнем конце наружную коническую резьбу, куда завернута соответствующей резьбой муфта для соединения устройства к элеватору, причем приводом для вращения основания служит подвесной гидравлический ключ, применяемый для свинчивания и развинчивания бурильных и насосно-компрессорных труб.

[6]

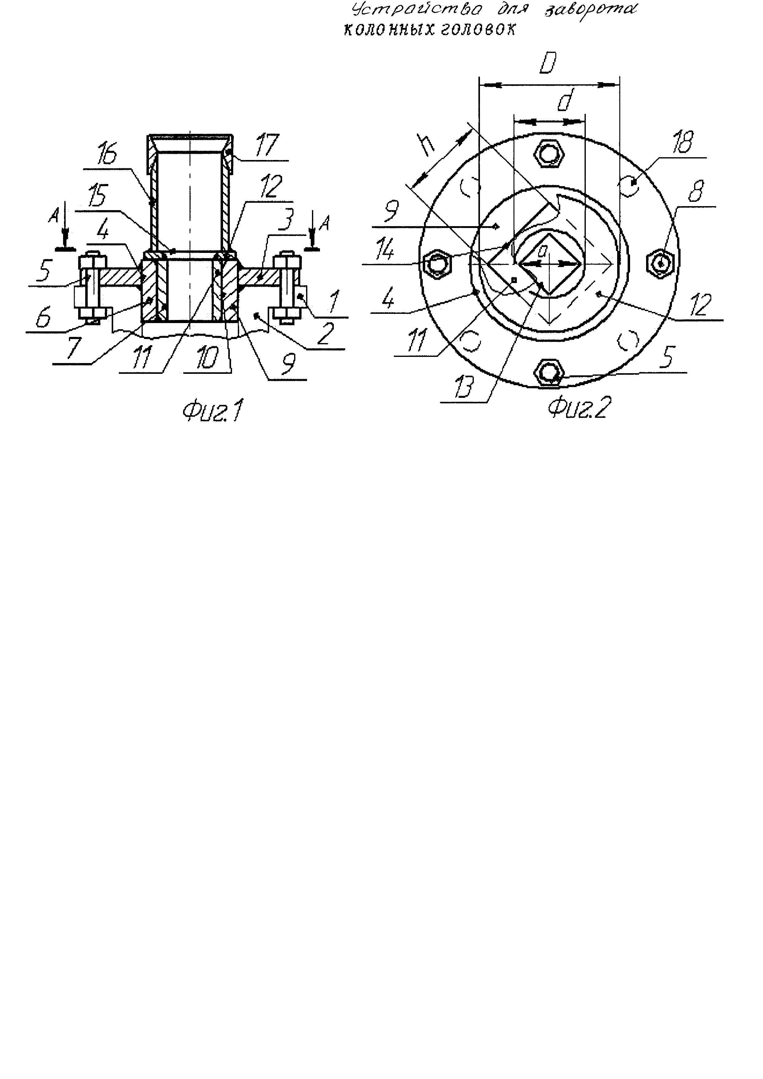
На фиг. 1 изображено предлагаемое устройство в разрезе; на фиг. 2 изображен разрез А-А фиг. 1. Устройство для заворота колонных головок включает устанавливаемое на фланце 1 колонной головки 2 основание 3 в форме диска с центральным отверстием 4 и концентрично расположенными отверстиями 5, гнездо 6, закрепленное к основанию 3. Также устройство включает элемент 7 для передачи крутящего момента основанию 3 и привод для вращения основания. Концентрично расположенные отверстия 5 основания выполнены в количестве четырех и с цилиндрической стенкой. Количество этих отверстий 5 выбрано четырем, чтобы сократить время соединения основания 3 к фланцу 1 колонной головки. Основание 3 соединяется с фланцем 1 колонной головки 2 с помощью гаек и болтов или шпилек 8, пропущенных через концентрично расположенные отверстия 5 основания 3 и отверстия фланца 1 (на фланцах имеются отверстия для шпилек). Гнездо 6 выполнено в форме цилиндра 9 с соосно расположенной квадратного сечения выборкой 10. При этом цилиндр 9 гнезда 6 установлен в центральное отверстие 4 основания 3 и закреплен к основанию 3 сваркой. В квадратную выборку 10 цилиндра 9 с возможностью осевого перемещения установлен элемент 7 для передачи крутящего момента основанию 3. Этот элемент 7 выполнен в виде отрезка квадратной трубы 11, на верхний торец которого приварено цилиндрическое кольцо 12 (далее - кольцо 12), внутренний диаметр d которого выбран больше длины а диагонали внутреннего квадрата 13 поперечного сечения отрезка квадратной трубы 11. Благодаря такому внутреннему диаметру кольца 12, сварочный шов лежит по всему периметру внутренней грани стенки этого кольца. За счет чего обеспечивается прочное сварочное соединение кольца 12 с отрезком квадратной трубы 11. Наружный диаметр D этого кольца 12 выбран больше ширины h наружной стенки 14 отрезка квадратной трубы 11, чтобы кольцо 12 всей нижней плоской стенкой прилегал к верхнему торцу цилиндра 9. На верхнею стенку 15 цилиндрического кольца 12 установлен соосно отрезку квадратной трубы 11 и закреплен сваркой отрезок цилиндрической трубы 16. Он имеет на верхнем конце наружную коническую резьбу, куда завернута соответствующей резьбой муфта 17 для соединения устройства к элеватору. Приводом для вращения основания служит подвесной гидравлический ключ, применяемый для свинчивания и развинчивания бурильных и насосно-компрессорных труб, например, описанный в авторском свидетельстве SU 1184922, МПК Е21 В19/16, 15.10.1985, Бюл. №38 или, выпускаемые заводами ключи ГКШ-1200, ГКШ-1500.

[7]

Устройство для заворота колонных головок работает следующим образом. Вначале грузоподъемным механизмом на фланец 1 колонной головки 2 устанавливается основание 3, к которому приварен цилиндр 9 гнезда 6. При этом нижний конец гнезда входит в выборку колонной головки 2. После установки основания 3 на фланец 1, поворотом основания 3, совмещают ее отверстия 5 с отверстиями 18 фланца 1 и соединяют основание 3 с фланцем 1 с помощью шпилек 8. Установке шпилек 8 и завинчиванию гаек отрезок цилиндрической трубы 16 не мешает, так как он вместе с соединенными к нему кольцом 12 и отрезком квадратной трубы 11 находятся в стороне от колонной головки 2. Шпильки 8 устанавливают только в четыре отверстия 5 (как изображено на фиг. 2). Четыре шпильки, устанавливаемые в эти отверстия 5, обеспечивает отворот и заворот колонной головки предложенным устройством. На фланцах 1 колонной головки может быть 8, 12 и более отверстий 18 для шпилек. После закрепления основания 3 к фланцу 1 колонной головки, в квадратную выборку 10 цилиндра 9 вводят отрезок квадратной трубы 11. При этом кольцо 12 упирается на верхний торец цилиндра 9 и, закрепленной сваркой к этому кольцу 12, отрезок цилиндрической трубы 16 располагается в вертикальном положении. Далее с помощью подвесного гидравлического ключа, например типа ГКШ-1200, производят поворот отрезка цилиндрической трубы 16. Связанный с этим отрезком трубы 16 через цилиндрическое кольцо 12, отрезок квадратной трубы 11 и цилиндр 9, основание 3 поворачивает фланец 1 колонной головки 2. Снятие колонной головки с обсадной колонны может производится при замене пакера, исследовании скважины или при гидроразрыве пласта. Снятие устройства с колонной головки производится в порядке, обратном установке.

[8]

В предложенном устройстве в отличии от прототипа основание соединяется с фланцем колонной головки с помощью стандартных изделий: болтов или шпилек с гайками. Также в нем отсутствуют: узел подключения гидролиний, резьбовые отверстия в основании, пальцы, зубчатое колесо с «юбкой», где выполнены отверстия, плита, три гидроцилиндра с поршнями и плунжерами с зубчатой рейкой, пружина, трубки с накидными гайками и ниппелями. Приводом для вращения основания служит подвесной гидравлический ключ, выпускаемый отечественной промышленностью. Благодаря вышеотмеченному, упрощается конструкция предложенного устройства.

[9]

Перечень использованной информации: Патент RU 2376448, МПК Е21В 19/06, В25В 21/00, опубл. 20.12.2009, Бюл. №35

Как компенсировать расходы
на инновационную разработку
Похожие патенты