патент
№ RU 2643700
МПК H01Q21/00

Турникетная антенна

Авторы:
Бирюкова Тамара Семеновна Орлов Валерий Алексеевич Сулимова Галина Анатольевна
Все (4)
Номер заявки
2016145561
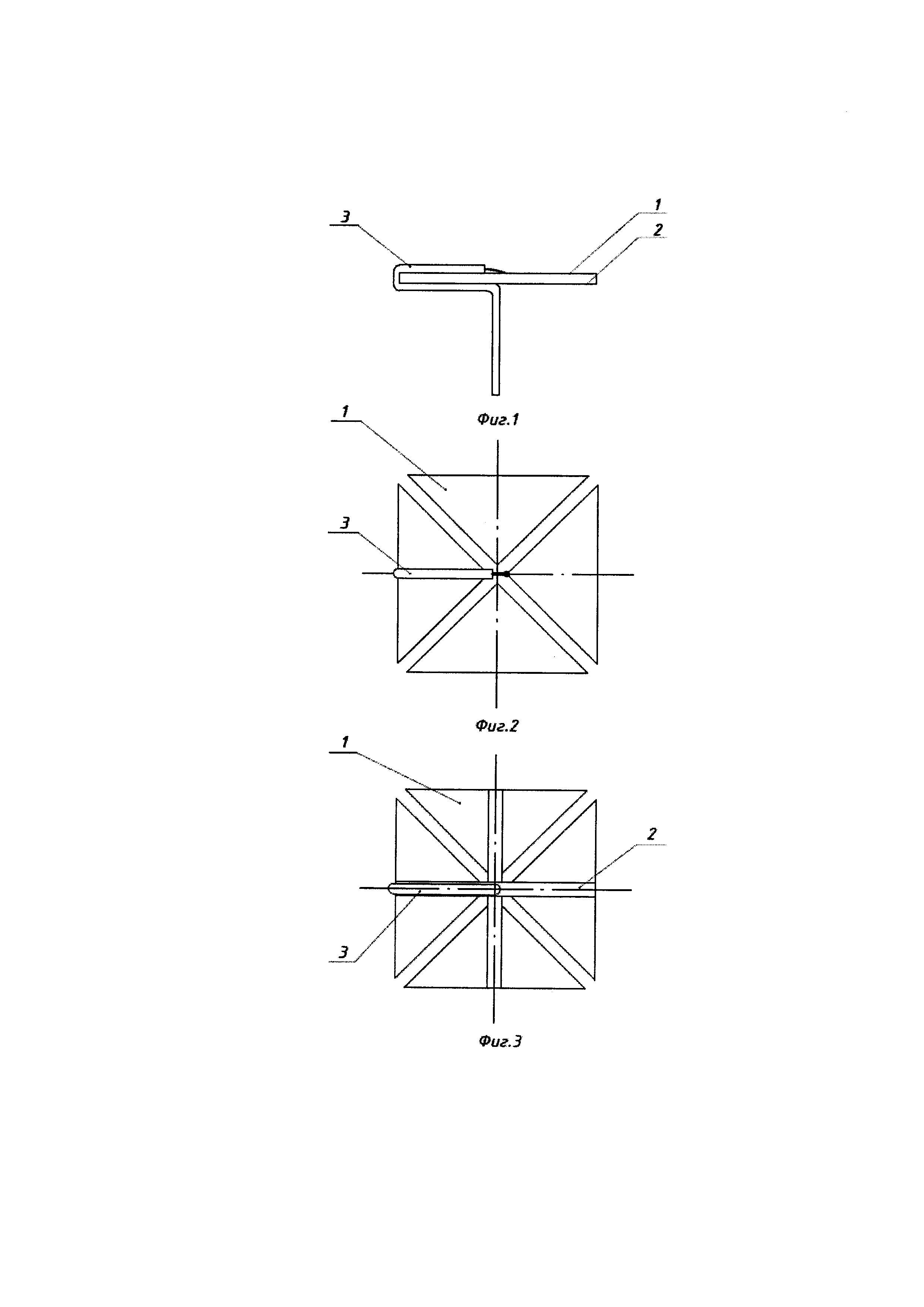
Дата подачи заявки
21.11.2016
Опубликовано
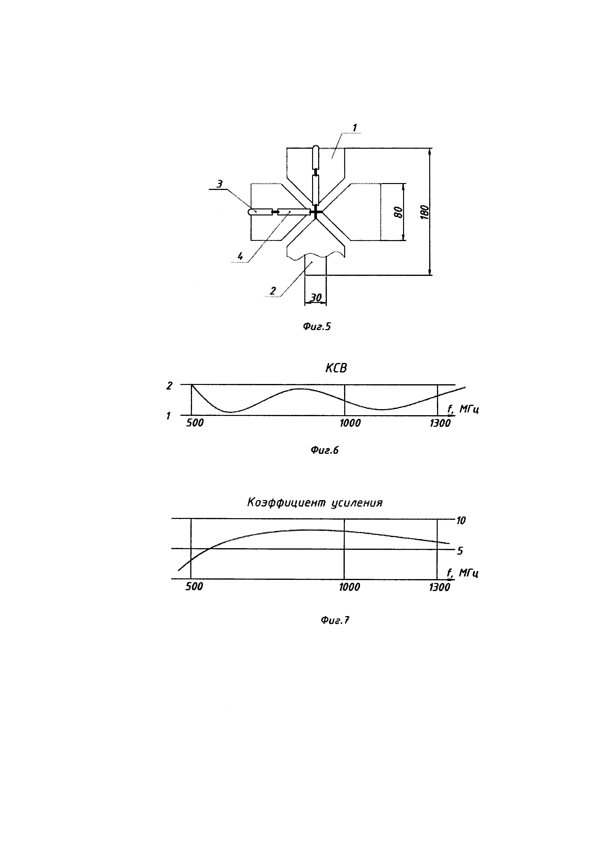
05.02.2018
Страна
RU
Как управлять
интеллектуальной собственностью
Чертежи 
3
Реферат

Изобретение относится к антенно-фидерным устройствам, а именно к антеннам, предназначенным для излучения и приема волн двух ортогональных поляризаций. Результат достигается тем, что в турникетной антенне, содержащей два крестообразно расположенных вибратора, к зазору в средней точке которых присоединены входные коаксиальные кабели, плечи вибраторов выполнены из металлического листа в виде равнобедренных прямоугольных треугольников, расположенных в одной плоскости, с вершинами прямого угла в центре антенны. Дальние от центра антенны края каждого вибратора соединены между собой металлической полосой, расположенной по биссектрисе прямого угла. Ширина металлической полосы и высота ее расположения над вибраторами много меньше длины рабочей волны. Входные кабели проложены от центра антенны по металлическим полосам к одному из плеч каждого вибратора и по нему к зазору между плечами вибратора. Технический результат изобретения состоит в расширении частотного диапазона, упрощении конструкции, уменьшении габаритов, улучшении согласования. 1 з.п. ф-лы, 7 ил.

Формула изобретения

1. Турникетная антенна, содержащая два крестообразно расположенных вибратора, к зазору в средней точке которых присоединены входные коаксиальные кабели, отличающаяся тем, что плечи вибраторов выполнены из металлического листа в виде равнобедренных прямоугольных треугольников, расположенных в одной плоскости, с вершинами прямого угла в центре антенны, дальние от центра антенны края каждого вибратора соединены между собой металлической полосой, расположенной по биссектрисе прямого угла, причем ее ширина и высота расположения над вибраторами много меньше длины рабочей волны, а входные кабели проложены от центра антенны по металлическим полосам к одному из плеч каждого вибратора и по нему к зазору между плечами вибратора.

2. Турникетная антенна по п. 1, отличающаяся тем, что ширина вибраторов ограничена пределами (0,8-1,1) от длины их плеча.

Описание

[1]

Изобретение относится к антенно-фидерным устройствам, а именно к антеннам, предназначенным для излучения и приема волн двух ортогональных поляризаций.

[2]

Известна турникетная антенна, состоящая из двух ортогональных вибраторов (И.Н. Григоров. Антенны, Радиософт, Москва, 2003 г., стр. 152, рис. 13.1), имеющая два входа для двух ортогональных поляризаций. Антенна имеет очень широкую диаграмму направленности излучения и малый коэффициент усиления. Для увеличения коэффициента усиления турникетная антенна размещается над металлическим экраном, чем обеспечивается однонаправленное излучение.

[3]

Известна также СВЧ-турникетная антенна (Патент США №8.068066, МПК H01Q 21/26 (2006.01), 29.11.2011 г.), содержащая заземленное основание и два пересекающихся дипольных элемента трубчатой конструкции, расположенных на фиксированном расстоянии от земли. Питание на антенну подается с использованием U-образного отрезка коаксиального кабеля (четвертьволновой трансформатор). Антенна имеет узкую полосу частот, сложную конструкцию. Согласование с кабелем осуществляется в узкой полосе частот.

[4]

Наиболее близким по совокупности существенных признаков к предлагаемому изобретению является турникетная антенна, содержащая два крестообразно расположенных вибратора, к зазору в средней точке которых присоединены два входных коаксиальных кабеля (Д.М. Сазонов. Антенны и устройства СВЧ, Изд. Высшая школа, Москва, 1988 г., стр. 251-253, рис. 108а).

[5]

Антенна имеет узкую полосу рабочих частот и не имеет возможности регулировки, например с целью улучшения согласования с кабелем или регулирования ширины диаграммы направленности и получения максимального КНД.

[6]

Технической проблемой, решение которой обеспечивается при использовании изобретения, является расширение частотного диапазона, упрощение конструкции, уменьшение габаритов и улучшение согласования.

[7]

Результат достигается тем, что в турникетной антенне, содержащей два крестообразно расположенных вибратора, к зазору в средней точке которых присоединены входные коаксиальные кабели, плечи вибраторов выполнены из металлического листа в виде равнобедренных прямоугольных треугольников, расположенных в одной плоскости, с вершинами прямого угла в центре антенны. Дальние от центра антенны края каждого вибратора соединены между собой металлической полосой, расположенной по биссектрисе прямого угла. Ширина металлической полосы и высота ее расположения над вибраторами много меньше длины рабочей волны. Входные кабели проложены от центра антенны по металлическим полосам к одному из плеч каждого вибратора и по нему - к зазору между плечами вибратора. Ширина вибраторов выбрана максимально возможной.

[8]

Ширина вибраторов может быть ограничена пределами 0,8-1,1 от длины их плеча.

[9]

На фиг. 1 представлен вид сбоку предложенной антенны.

[10]

На фиг. 2 - вид сверху.

[11]

На фиг. 3 - вид снизу.

[12]

На фиг. 4 - экспериментальный макет №1 и его характеристики.

[13]

На фиг. 5 - экспериментальный макет №2.

[14]

На фиг. 6 и фиг. 7 - характеристики макета №2.

[15]

Цифрами на фигурах обозначены:

[16]

1 - плечо вибратора;

[17]

2 - металлическая полоса;

[18]

3 - входной коаксиальный кабель;

[19]

4 - трансформатор.

[20]

Крепежные детали - изоляторы на фигурах условно не показаны. Они могут быть выполнены в виде диэлектрических пластин в центре и на концах вибраторов. Антенна может быть выполнена на фольгированном диэлектрике.

[21]

Входное напряжение подводится по входному кабелю 3 к вершинам между плечами 1 и возбуждает на этих активных плечах продольные излучающие токи.

[22]

Ортогональный вибратор имеет широкие плечи, на них от питаемого вибратора наводятся поперечные для ортогонального вибратора токи, которые участвуют в формировании диаграммы направленности и входного сопротивления питаемого вибратора. Взаимное положение и поперечные размеры вибраторов расширяют полосу согласования, в том числе и ортогонального вибратора. Совокупность перечисленных признаков приводит к увеличению полосы рабочих частот. Узел подвода входных кабелей через металлические полосы устраняет влияние входных кабелей на излучение антенны.

[23]

Характеристики экспериментального образца №1 приведены на фиг. 4.

[24]

Дальнейшее улучшение характеристик турникетной антенны достигается подбором ширины вибраторов, то есть удалением их 45° оконечностей (фиг. 5). Экспериментально определено соотношение ширины и длины плеча вибраторов для достижения максимальной широкополосности, равное 0,8-1,1. При этом входные сопротивления на различных частотах на круговой диаграмме Вольперта располагаются очень кучно, что дает возможность согласовать антенну с 50-омным кабелем четвертьволновым трансформатором 75 Ом (43 мм РК75-2-21) в широкой полосе частот (фиг. 6).

[25]

При размещении предложенной антенны над металлическим плоским экраном (на высоте 60 мм) ее согласование несколько ухудшается на нижних частотах рабочего диапазона, что мало сказывается на коэффициенте усиления на этих частотах. На верхних частотах плечи ортогонального вибратора работают как пассивные элементы, сужающие диаграмму направленности активного вибратора (помимо расширения его полосы), поэтому на верхних частотах предложенная антенна имеет некоторое преимущество по коэффициенту усиления перед стержневой турникетной антенной (фиг. 7).

[26]

При размещении антенны в свободном пространстве ее габариты не превышают четверти длины рабочей волны (фиг. 4), при размещении над экраном 0,3 длины максимальной рабочей волны (фиг. 7).

Как компенсировать расходы
на инновационную разработку
Похожие патенты