патент
№ RU 2206834
МПК F23M99/00

ЗАПОРНОЕ УСТРОЙСТВО АМБРАЗУРЫ ТОПКИ

Авторы:
Морозова Л.И.
Номер заявки
2000127927/06
Дата подачи заявки
08.11.2000
Опубликовано
20.06.2003
Страна
RU
Как управлять
интеллектуальной собственностью
Чертежи 
1
Реферат

[23]

Изобретение относится к поворотным запорным устройствам амбразур топок котлов, служащих для введения выдвижных труб обдувочных аппаратов. Запорное устройство амбразуры топки содержит закрепленный на амбразуре короб, заслонку, связанную с коробом шарниром с горизонтальной осью вращения, размещенным на уровне верхнего края амбразуры, средство для открытия заслонки в виде выдвижной трубы обдувочного аппарата с сопловой головкой, заслонка выполнена в виде цилиндрического сектора, ось которого совпадает с осью шарнира, а короб снабжен гнездом, размещенным выше уровня шарнира с возможностью размещения в нем заслонки, и ограничительным упором. Заслонка снабжена установленной под углом к радиальной стенке, взаимодействующей с сопловой головкой, радиальной упорной пластиной, а выдвижная труба снабжена упорным элементом, установленным с возможностью взаимодействия с упорной пластиной при обратном ходе выдвижной трубы. Сопловая головка выполнена диаметром больше диаметра выдвижной трубы и сопряжена с ней по конусу, а упорная пластина снабжена вырезом, причем ширина выреза больше диаметра выдвижной трубы и меньше диаметра сопловой головки. Упорная пластина выполнена по форме амбразуры. 3 з.п. ф-лы, 2 ил.

Формула изобретения

1. Запорное устройство амбразуры топки, содержащее закрепленный на амбразуре короб, заслонку, связанную с коробом шарниром с горизонтальной осью вращения, размещенным на уровне верхнего края амбразуры, средство для открытия заслонки в виде выдвижной трубы обдувочного аппарата с сопловой головкой, отличающееся тем, что заслонка выполнена в виде цилиндрического сектора, ось которого совпадает с осью шарнира, а короб снабжен гнездом, размещенным выше уровня шарнира с возможностью размещения в нем заслонки, и ограничительным упором.

2. Запорное устройство по п.1, отличающееся тем, что заслонка снабжена, установленной под углом к радиальной стенке, взаимодействующей с сопловой головкой, радиальной упорной пластиной, а выдвижная труба снабжена упорным элементом, установленным с возможностью взаимодействия с упорной пластиной при обратном ходе выдвижной трубы.

3. Запорное устройство по п.2, отличающееся тем, что сопловая головка выполнена диаметром больше диаметра выдвижной трубы и сопряжена с ней по конусу, а упорная пластина снабжена вырезом, причем ширина выреза больше диаметра выдвижной трубы и меньше диаметра сопловой головки.

4. Запорное устройство по п.2 или 3, отличающееся тем, что упорная пластина выполнена по форме амбразуры.

Описание

[1]

Изобретение относится к поворотным запорным устройствам амбразур топок котлов, служащих для введения выдвижных труб обдувочных аппаратов.

[2]

Известно запорное устройство амбразуры топки, содержащее закрепленный на амбразуре короб, заслонку, связанную с коробом шарниром с горизонтальной осью вращения, средство для открытия заслонки в виде выдвижной трубы обдувочного аппарата с сопловой головкой, причем шарнир размещен на уровне нижнего края амбразуры, заслонка выполнена в виде пластины.

[3]

Для принудительного открытия заслонки она снабжена установленной под углом 90o дополнительной пластиной с вырезом для прохода сопловой головки, взаимодействующей с упорным кольцом на последней.

[4]

В закрытом и открытом положениях заслонка удерживается весом стержней-противовесов, связывающих дополнительную пластинку с заслонкой, т.е. за счет пересечения общим центром масс вертикальной плоскости, проходящей через ось вращения (авт. свид. СССР 1649197, МПК F 16 J 13/16, 1991).

[5]

Золошлаковые отложения на нижней стенке амбразуры и на заслонке препятствуют нормальной работе такой заслонки и для ее обеспечения требуется частая чистка амбразуры. Кроме того, заслонка и шарнирный узел, находясь под термическим воздействием со стороны котла, т.е. интенсивно окисляясь, и механическим воздействием, разрушающим окисный слой, интенсивно изнашиваются.

[6]

Известно также запорное устройство амбразуры топки, содержащее закрепленный на амбразуре короб, заслонку, связанную с коробом шарниром с горизонтальной осью вращения, размещенным на уровне верхнего края амбразуры, средство для открытия заслонки в виде выдвижной трубы обдувочного аппарата с сопловой головкой. Заслонка выполнена в виде пластины, к нижнему отогнутому краю которой прикреплен стержень-пригруз для повышения надежности закрепления заслонки под собственным весом. В закрытом положении заслонка размещается под тупым углом, около 105o со стороны топки (АО "Трансочистка" Аппарат обдувки ОМП-М. Техническое описание и инструкция по эксплуатации, 1993, р. 1). В этом устройстве при нормальной работе шарнирного узла не требуется специальных средств для закрытия заслонки, в остальном же этому устройству свойственны те же недостатки, что и описанному выше. Кроме того, из-за наклонного положения заслонки золошлаковые отложения образуются на ее поверхности, обращенной к топке, что дополнительно осложняет ее работу.

[7]

При повышении торможения в шарнирном узле заслонка может не закрыться под действием собственного веса, т.е. устройство теряет работоспособность.

[8]

Техническая задача, которую решает предлагаемое изобретение, - повышение надежности работы запорного устройства и его долговечности.

[9]

Задача решается за счет того, что в запорном устройстве, содержащем закрепленный на амбразуре короб, заслонку, связанную с коробом шарниром с горизонтальной осью вращения, размещенным на уровне верхнего края амбразуры топки, и средством для открытия заслонки в виде выдвижной трубы обдувочного аппарата с сопловой головкой, в отличие от известного заслонка выполнена в виде цилиндрического сектора, ось которого совпадает с осью шарнира, а короб снабжен гнездом, размещенным выше уровня шарнира с возможностью размещения в нем заслонки, и ограничительным упором.

[10]

Ввиду того, что заслонка выполнена в виде цилиндрического сектора, золошлаковые отложения на дне амбразуры не препятствуют открытию заслонки. Кроме того, в закрытом положении заслонка обращена к топке своей цилиндрической поверхностью, а ее радиальная стенка, взаимодействующая с сопловой головкой, и шарнирный узел экранированы телом заслонки от прямого воздействия со стороны топки, меньше окисляются и, следовательно, меньше изнашиваются.

[11]

Заслонка работоспособна без каких-либо дополнительных средств: в открытом положении она удерживается выдвижной трубой обмывочного аппарата, опираясь на нее своим краем, и закрывается при выводе трубы из амбразуры под собственным весом.

[12]

Для предотвращения зависания заслонки в открытом положении, например в результате возникшего по какой-либо причине торможения в шарнире, для принудительного закрытия она может быть снабжена упорной радиальной пластиной, установленной под углом к радиальной стенке, а выдвижная труба при этом снабжена упорным элементом, с которым упорная пластина взаимодействует при обратном ходе выдвижной трубы.

[13]

При конструктивном исполнении сопловой головки диаметром, большим диаметра выдвижной трубы, сама головка может служить таким упорным элементом. Например, для этого сопловая головка сопряжена с выдвижной трубой по конусу, а упорная пластина снабжена вырезом, причем ширина выреза больше диаметра выдвижной трубы и меньше диаметра сопловой головки.

[14]

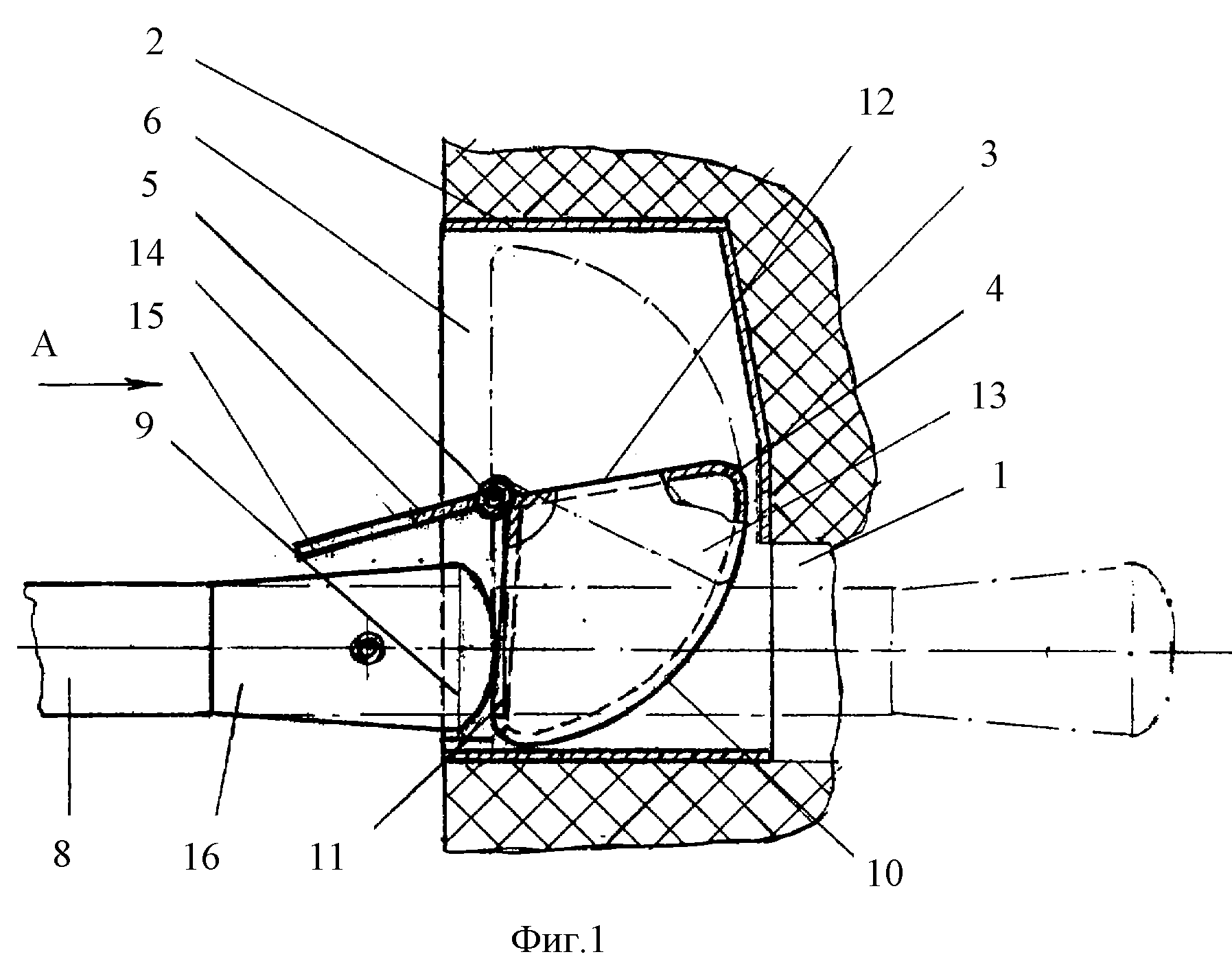
На фиг.1 изображен общий вид устройства в закрытом положении.

[15]

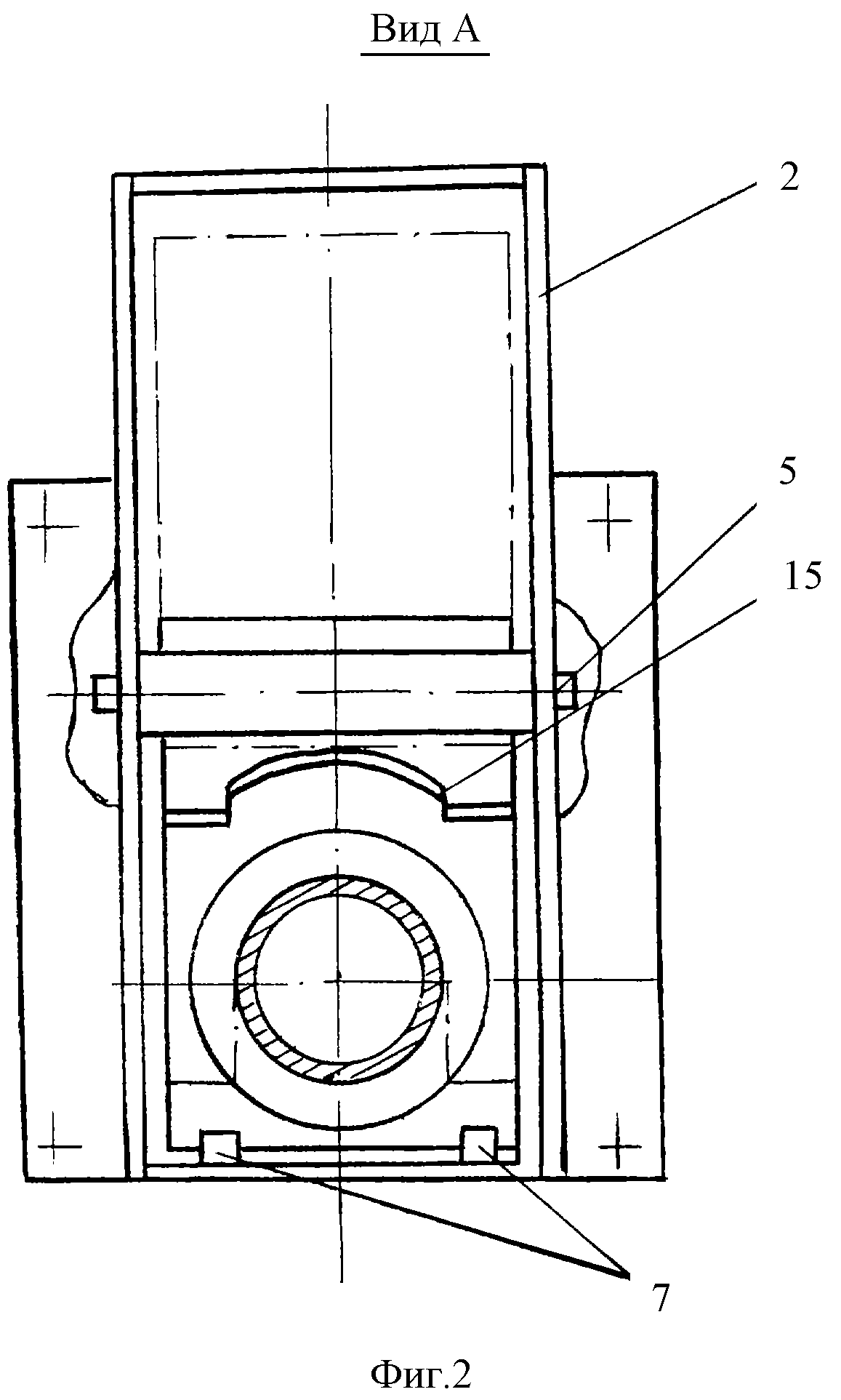
На фиг.2 - то же, вид по стрелке А. В открытом положении устройство изображено на фиг.1 и 2 штрихпунктирными линиями.

[16]

Запорное устройство содержит закрепленный на амбразуре 1 (см. фиг.1) короб 2, вмонтированный в обмуровку 3 котла, заслонку 4, выполненную в виде цилиндрического сектора, связанную с коробом шарниром 5 с горизонтальной осью вращения (см. фиг.2). Шарнир 5 размещен на уровне верхнего края амбразуры, а короб снабжен гнездом 6, размещенным выше уровня шарнира с возможностью размещения в нем заслонки, и ограничительным упором 7 для фиксации заслонки в закрытом положении. Средство для открытия и закрытия заслонки в виде выдвижной трубы 8 обдувочного аппарата с сопловой головкой 9 размещено по оси амбразуры 1 с возможностью аксиального перемещения.

[17]

Для уменьшения массы заслонки и улучшения теплоизоляции шарнирного узла она выполнена полой, при этом цилиндрическая оболочка 10 связана с шарнирным узлом радиальной стенкой 11, взаимодействующей с сопловой головкой. Жесткость конструкции придают радиальная стенка 12 и боковые стенки 13.

[18]

Для исключения зависания заслонка снабжена установленной под углом к радиальной стенке 11, упорной радиальной пластиной 14, выполненной по форме амбразуры, на упорной пластине сделан вырез 15 для прохода сопловой головки. В качестве упорного элемента на выдвижной трубе в предлагаемой конструкции служит сама сопловая головка, а для обеспечения обратного хода она сопряжена с выдвижной трубой по конусу 16, при этом ширина выреза 15 на упорной пластине больше диаметра выдвижной трубы, но меньше диаметра сопловой головки.

[19]

Для уменьшения трения выдвижной трубы о заслонку при ее обратном ходе острые углы заслонки скруглены.

[20]

Устройство работает следующим образом.

[21]

При перемещении выдвижной трубы 8 сопловая головка 9, упираясь в радиальную стенку 11 заслонки 4, поворачивает заслонку вокруг шарнира 5, перемещая ее в гнездо 6 короба 2, вмонтированного в обмуровку 3 котла. Сопловая головка проходит через вырез 15 в упорной пластине 14 в амбразуру 1 топки, а упорная пластина запирает амбразуру с внешней стороны, уменьшая тепловое излучение и вылет золы из топки в процессе обдувки.

[22]

После окончания процесса обдувки при обратном ходе выдвижной трубы упорная пластина скользит по конусу 16 сопловой головки 9, принудительно поворачивая заслонку 4. Заслонка возвращается в закрытое положение до взаимодействия радиальной стенки 11 с ограничительным упором 7, цилиндрическая оболочка 10 обращена к амбразуре 1. Радиальная стенка 12 и боковые стенки 13 заслонки предотвращают попадание золошлаковых отложений на внутреннюю поверхность цилиндрической оболочки 10. Заслонка удерживается в закрытом положении под собственным весом и ограничительным упором 7.

Как компенсировать расходы
на инновационную разработку
Похожие патенты