патент
№ RU 2626484
МПК E21B43/16

Способ эксплуатации добывающей высоковязкую нефть скважины

Авторы:
Зиятдинов Радик Зяузятович
Номер заявки
2016116347
Дата подачи заявки
26.04.2016
Опубликовано
28.07.2017
Страна
RU
Как управлять
интеллектуальной собственностью
Чертежи 
3
Реферат

Изобретение относится к нефтяной промышленности и предназначено для снижения асфальтеносмолопарафиновых отложений (АСПО) на внутрискважинном оборудовании и разрушения водонефтяной эмульсии в скважине при эксплуатации скважины, добывающей высоковязкую нефть. Способ включает спуск в скважину компоновки, состоящей снизу вверх из нижнего перфорированного патрубка, штангового насоса, колонны насосно-компрессорных труб - НКТ и колонны штанг. Приводят в работу штанговый насос под действием перемещений колонны штанг, подают высоковязкой нефть к устью скважины по колонне НКТ и проводят отбор высоковязкой нефти по колонне НКТ с возможностью прямой промывки. После приведения в работу штангового насоса и начала отбора высоковязкой нефти снимают начальную динамограмму и определяют первоначальные максимальную и минимальную нагрузки на колонну штанг. Продолжают отбор высоковязкой нефти из скважины по колонне НКТ штанговым насосом и периодически снимают динамограммы. Если по результатам снятия динамограмм отклонение максимальной или минимальной нагрузок составляет от 0 до 5% от начальных значений, то продолжают эксплуатировать скважину. Если отклонение составляет от 5 до 30% от начальных значений, то останавливают штанговый насос и производят обратную промывку скважины закачкой насосным агрегатом горячей нефти через межколонное пространство в нижний перфорированный патрубок по колонне НКТ в желобную емкость до падения давления закачки в межколонном пространстве в 1,5 раза. После чего производят повторное снятие динамограммы. Определяют максимальную или минимальную нагрузки на колонну штанг, из условия достижения от 0 до 5% от начальных значений. Если при периодических снятиях динамограмм отклонение максимальной или минимальной нагрузок составляет от 30 до 100% от начальных значений, то, не прерывая отбор высоковязкой нефти штанговым насосом, спускают геофизический кабель с наконечником на конце. Производят импульсную высокочастотную термоакустическую - ИВЧТА обработку ствола скважины и призабойной зоны пласта. В процессе проведения ИВЧТА обработки ствола скважины и призабойной зоны пласта производят периодическое снятие динамограммы через каждые 4 ч до восстановления значения максимальной и минимальной нагрузок на колонну штанг от 0 до 5% от начальных значений. После чего, не прерывая отбора высоковязкой нефти, обработку скважины прекращают и извлекают из межколонного пространства скважины геофизический кабель с наконечником. Техническим результатом является повышение эффективности эксплуатации добывающей высоковязкую нефть скважины за счет снижения интенсивности процесса отложений АСПО на внутренних стенках скважины, разрушения водонефтяной эмульсии и увеличения объёма отбора высоковязкой нефти из скважины. 3 ил.

Формула изобретения

Способ эксплуатации добывающей высоковязкую нефть скважины, включающий спуск в скважину компоновки, состоящей снизу вверх из нижнего перфорированного патрубка, штангового насоса, колонны насосно-компрессорных труб - НКТ и колонны штанг, приведение в работу штангового насоса под действием перемещений колонны штанг, отбор высоковязкой нефти по колонне НКТ к устью скважины с возможностью промывки, отличающийся тем, что после приведения в работу штангового насоса в работу и начала отбора высоковязкой нефти снимают начальную динамограмму и определяют первоначальные максимальную и минимальную нагрузки на колонну штанг, продолжают отбор высоковязкой нефти из скважины по колонне НКТ штанговым насосом и периодически снимают динамограммы, если по результатам снятия динамограмм отклонение максимальной или минимальной нагрузок составляет от 0 до 5% от начальных значений, то продолжают эксплуатировать скважину, если от 5 до 30% от начальных значений, останавливают штанговый насос и производят обратную промывку скважины закачкой насосным агрегатом горячей нефти через межколонное пространство, нижний перфорированный патрубок по колонне НКТ в желобную емкость до падения давления закачки в межколонном пространстве в 1,5 раза, после чего производят повторное снятие динамограммы и определяют максимальную или минимальную нагрузки на колонну штанг, из условия достижения от 0 до 5% от начальных значений, если при периодических снятиях динамограмм отклонение максимальной или минимальной нагрузок составляет от 30 до 100% от начальных значений, то, не прерывая отбор высоковязкой нефти штанговым насосом, спускают геофизический кабель с наконечником на конце и производят импульсную высокочастотную термоакустическую - ИВЧТА обработку ствола скважины и призабойной зоны пласта, причем в процессе проведения ИВЧТА обработки ствола скважины и призабойной зоны пласта производят периодическое снятие динамограммы через каждые 4 ч до восстановления значения максимальной и минимальной нагрузок на колонну штанг от 0 до 5% от начальных значений, после чего, не прерывая отбора высоковязкой нефти, обработку скважины прекращают и извлекают из межколонного пространства скважины геофизический кабель с наконечником.

Описание

[1]

Изобретение относится к нефтяной промышленности и предназначено для снижения содержания асфальтеносмолопарафиновых отложений (АСПО) на внутрискважинном оборудовании и разрушения водонефтяной эмульсии в скважине при эксплуатации скважины, добывающей высоковязкую нефть.

[2]

Известен способ эксплуатации скважины (патент RU №2302513, МПК E21B 37/06, E21B 41/02, опубл. 10.07.2007, бюл. №19), включающий периодическую регулируемую подачу реагента в межтрубное пространство скважины дозировочным насосом, при подземном ремонте осложненной скважины кабель питания электродвигателя насоса меняют на кабель с капиллярной трубкой, который спускают на колонне насосно-компрессорных труб (НКТ) в скважину и осуществляют одновременный отбор нефти насосом и подачу химического реагента по капиллярной трубке, при этом подачу химического реагента осуществляют либо на прием скважинного насоса, либо в интервал перфорации скважины, для чего на конец капиллярной трубки кабеля присоединяют полиэтиленовую капиллярную трубку расчетной длины с помощью соединительного ниппеля с грузом-форсункой.

[3]

Недостатками данного способа являются:

[4]

- во-первых, низкая эффективность эксплуатации добывающей высоковязкую нефть скважины, так как под действием реагента, подаваемого по капиллярной трубке, при отборе насосом высоковязкой нефти из карбонатных пород на приеме насоса и в колонне труб образуется стойкая водонефтяная эмульсия вследствие высокой обводненности (от 40 до 80%), что приводит к увеличению нагрузки на привод (колонны штанг) насоса и, как следствие, увеличению потребляемой электроэнергии на 1 м3 отобранной продукции (высоковязкой нефти);

[5]

- во-вторых, низкая надежность реализации способа, так как водонефтяная эмульсия и АСПО, образующиеся на приеме насоса, забивают нижний конец капиллярной трубки, что приводит к отказу в подаче реагента;

[6]

- в-третьих, необходимость проведения подземного ремонта скважины (ПРС) при отказе подачи реагента по капиллярной трубке, а это ожидание ПРС и дополнительные затраты на ПРС, кроме того, как в ожидании, так и в процессе проведения ПРС отбор высоковязкой нефти не производится, что снижает объем отбора высоковязкой нефти из скважины.

[7]

Известен способ эксплуатации добывающей высоковязкую нефть скважины (патент RU №2494232, МПК E21B 43/00, опубл. 27.09.2013, бюл. №27), включающий спуск в скважину компоновки, состоящей снизу вверх из нижнего перфорированного патрубка, клапана, сбивного клапана, пакера, штангового насоса, колонны НКТ, верхнего перфорированного патрубка и колонны штанг, приведение в работу штангового насоса под действием перемещений колонны штанг, подачу высоковязкой нефти к устью скважины по колонне НКТ и через верхний перфорированный патрубок по межтрубному пространству, периодическую прямую промывку закачкой промывочной жидкости по колонне НКТ и отбором через верхний перфорированный патрубок и межтрубное пространство, обратную промывку горячей нефтью путем подъема насоса над верхним перфорированным патрубком, закачки горячей нефти по межтрубному пространству и отбора через верхний перфорированный патрубок и колонну НКТ. Недостатками данного способа являются:

[8]

- во-первых, низкая эффективность эксплуатации добывающей скважины при высоких отклонениях максимальной и минимальной нагрузок от начальных значений (свыше 30%), потому что только промывкой горячей нефтью практически невозможно восстановить начальную нагрузку даже до 5% ниже начальных значений на колонну штанг (привод), поэтому колонна штанг практически постоянно работает под высокой нагрузкой и, как следствие, увеличивается потребляемая электроэнергия на 1 м3 отобранной продукции (высоковязкой нефти), что в конечном итоге приводит к зависанию колонны штанг и невозможности дальнейшего отбора высоковязкой нефти из скважины;

[9]

- во-вторых, низкое качество промывки, обусловленное наличием пакера, который не позволяет эффективно воздействовать как на колонну НКТ ниже пакера, включая нижний перфорированный патрубок, так и на призабойную зону пласта, ведь именно оттуда начинается процесс отложения АСПО и образования водонефтяной эмульсии, т.е. колонна НКТ промывается горячей нефтью только выше верхнего перфорированного патрубка;

[10]

- в-третьих, интенсификация (ускорение) процессов отложения АСПО и водонефтяной эмульсии на внутренних стенках колонны НКТ за счет одновременного подъема высоковязкой нефти по колонне НКТ и межтрубному пространству вследствие очень медленной скорости подъема высоковязкой нефти к устью скважины (скорость подъема по межтрубному пространству в 5-6 раз ниже скорости подъема по колонне НКТ);

[11]

- в-четвертых, снижение объемов отбора высоковязкой нефти из скважины, вследствие ускоренного отложения АСПО необходимо чаще выполнять периодические промывки скважины от АСПО и водонефтяной эмульсии, для чего необходимо останавливать скважину, привлекать бригаду ПРС, приподнимать насос из колонны НКТ и проводить промывку.

[12]

Техническими задачами изобретения являются повышение эффективности эксплуатации добывающей высоковязкую нефть скважины, качества промывки скважины горячей нефтью, а также снижение интенсивности процесса отложения АСПО и водонефтяной эмульсии на внутренних стенках скважины, увеличение объема отбора высоковязкой нефти из скважины.

[13]

Поставленные задачи решаются способом эксплуатации добывающей высоковязкую нефть скважины, включающим спуск в скважину компоновки, состоящей снизу вверх из нижнего перфорированного патрубка, штангового насоса, колонны насосно-компрессорных труб - НКТ и колонны штанг, приведение в работу штангового насоса под действием перемещений колонны штанг, отбор высоковязкой нефти по колонне НКТ к устью скважины с возможностью промывки.

[14]

Новым является то, что после приведения в работу штангового насоса в работу и начала отбора высоковязкой нефти снимают начальную динамограмму и определяют первоначальные максимальную и минимальную нагрузки на колонну штанг, продолжают отбор высоковязкой нефти из скважины по колонне НКТ штанговым насосом и периодически снимают динамограммы, если по результатам снятия динамограмм отклонение максимальной или минимальной нагрузок составляет от 0 до 5% от начальных значений, то продолжают эксплуатировать скважину, если от 5 до 30% от начальных значений, то останавливают штанговый насос и производят обратную промывку скважины закачкой насосным агрегатом горячей нефти через межколонное пространство, нижний перфорированный патрубок по колонне НКТ в желобную емкость до падения давления закачки в межколонном пространстве в 1,5 раза, после чего производят повторное снятие динамограммы и определяют максимальную или минимальную нагрузки на колонну штанг, из условия достижения от 0 до 5% от начальных значений, если при периодических снятиях динамограмм отклонение максимальной или минимальной нагрузок составляет от 30 до 100% от начальных значений, то, не прерывая отбор высоковязкой нефти штанговым насосом, спускают геофизический кабель с наконечником на конце и производят импульсную высокочастотную термоакустическую - ИВЧТА обработку ствола скважины и призабойной зоны пласта, причем в процессе проведения ИВЧТА обработки ствола скважины и призабойной зоны пласта производят периодическое снятие динамограммы через каждые 4 ч до восстановления значения максимальной и минимальной нагрузок на колонну штанг от 0 до 5% от начальных значений, после чего, не прерывая отбора высоковязкой нефти, обработку скважины прекращают и извлекают из межколонного пространства скважины геофизический кабель с наконечником.

[15]

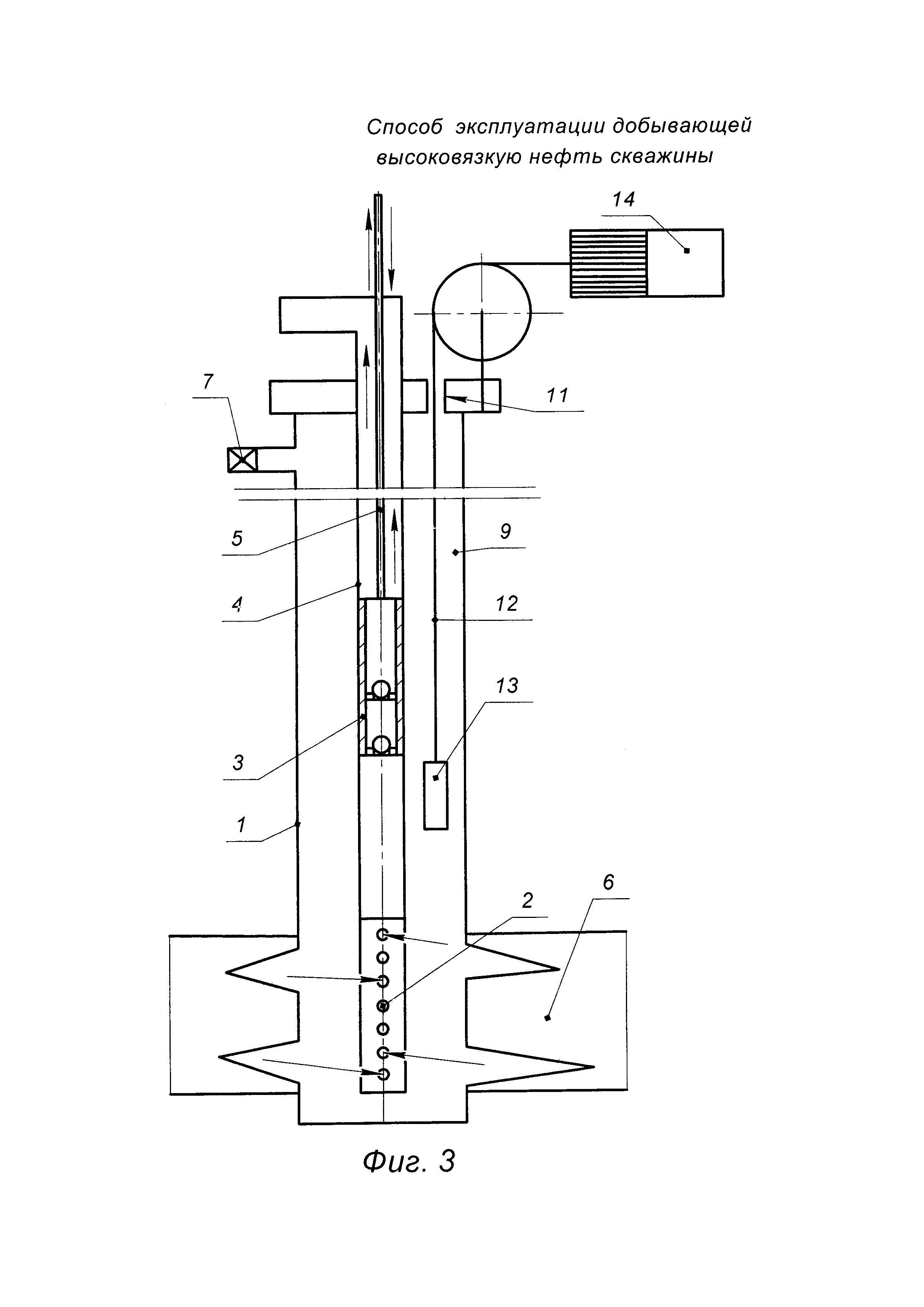
На фиг. 1 схематично изображен способ эксплуатации добывающей высоковязкую нефть скважины.

[16]

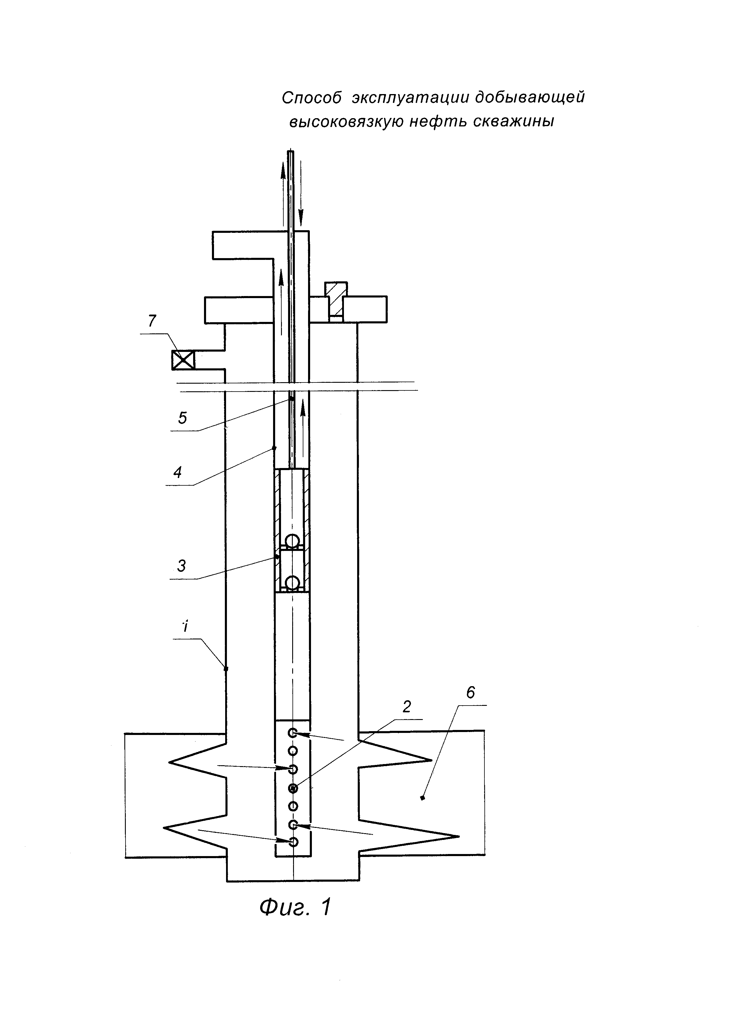
На фиг. 2 схематично изображен способ эксплуатации добывающей высоковязкую нефть скважины при обратной промывке скважины.

[17]

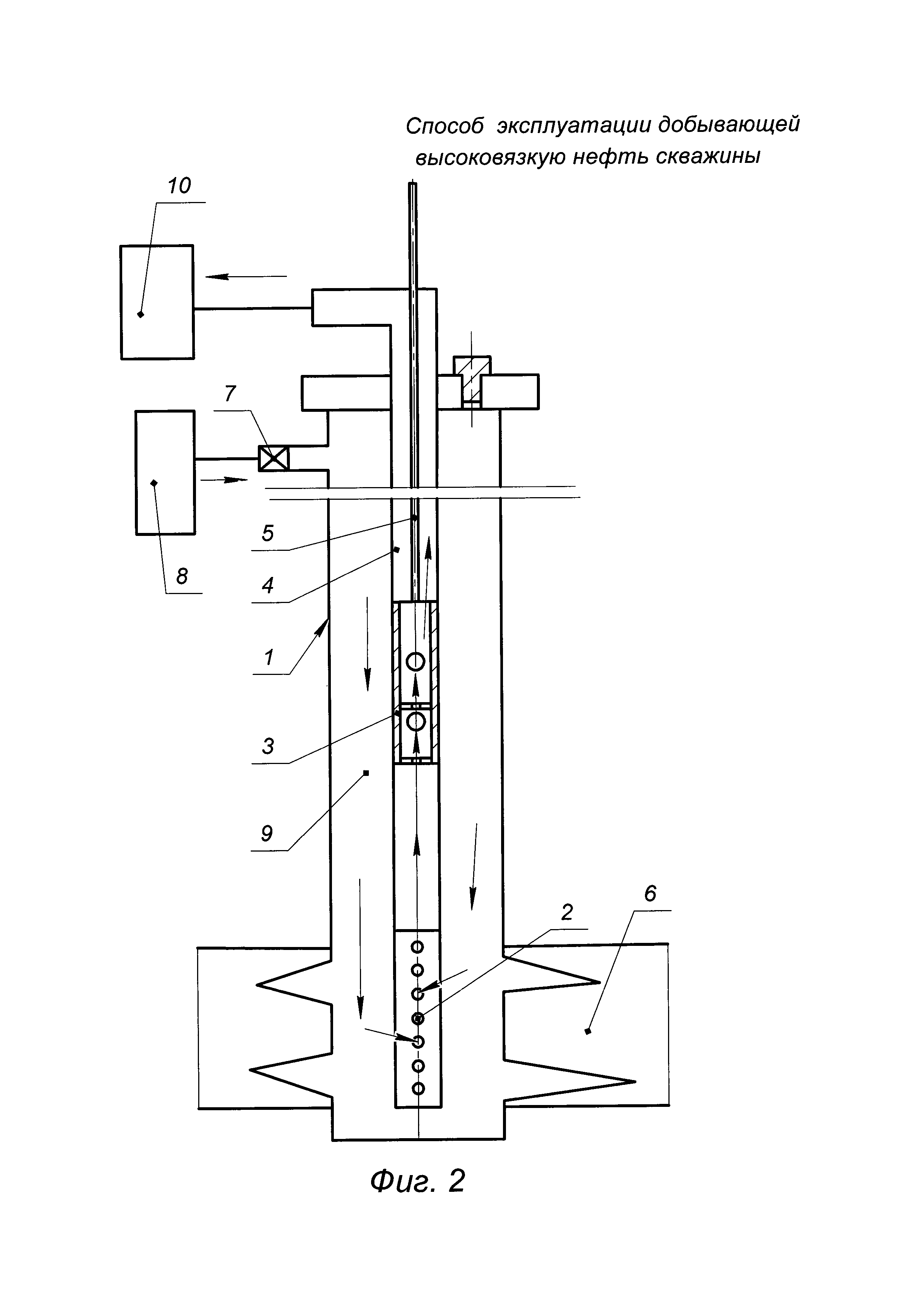
На фиг. 3 схематично изображен способ эксплуатации добывающей высоковязкую нефть скважины в сочетании с ИВЧТА обработкой скважины.

[18]

Предлагаемый способ реализуют следующим образом.

[19]

В скважину 1 (см. фиг. 1) спускают компоновку, состоящую снизу вверх из нижнего перфорированного патрубка 2, штангового насоса 3 колонны НКТ 4, колонны штанг 5.

[20]

Приводят в работу штанговый насос 3 под действием перемещений (возвратно-поступательных) колонны штанг 5 с устья скважины 1, например, с помощью станка-качалки (на фиг. 1-3 не показан). Благодаря возвратно-поступательному перемещению колонны штанг 5 (см. фиг. 1) штанговый насос 3 подает высоковязкую нефть к устью скважины 1. Производится отбор высоковязкой нефти, например, вязкостью 100 МПа⋅с, из пласта 6 с высоковязкой нефтью по колонне НКТ 4 к устью скважины 1 и далее на сборный пункт при закрытой задвижке 7.

[21]

После начала отбора высоковязкой нефти из скважины 1 снимают динамограмму и определяют максимальную и минимальную нагрузки на колонну штанг 5.

[22]

Например, начальные максимальная и минимальная нагрузки составляют:

[23]

Pн.мах=3200 кг; Pн.мин=1416 кг.

[24]

Далее продолжают отбор высоковязкой нефти из скважины 1 с помощью штангового насоса 3 по колонне НКТ 4 и периодически, например, один раз в 5 сут снимают динамограммы, по результатам которых определяют максимальную и минимальную нагрузки на колонну штанг 5. Если по результатам снятия динамограмм отклонение максимальной или минимальной нагрузок составляет от 0 до 5% от начальных значений, то продолжают эксплуатировать скважину 1.

[25]

Например, если через первые пять сут P1мах=3280 кг; P1мин=1380 кг

[26]

[(P1мах/Pн.мах)⋅100%]-100%=[(3280 кг/3200 кг⋅100%)]-100%=102,5%-100%=2,5%, условие 0<2,5%<5% выполняется,

[27]

100%-[(P1мин/Pн.мин)⋅100%]=100%-[(1380/1416⋅100%)]=100%-97,4%=2,6%, условие 0<2,6%<5% выполняется, то продолжают эксплуатацию добывающей высоковязкую нефть скважины 1 еще 5 сут до следующего снятия динамограмм.

[28]

Если по результатам снятых динамограмм отклонение максимальной или минимальной нагрузок составляет от 5 до 30% от начальных значений, например, максимальная и минимальная нагрузки составляют P2мах=3720 кг; P2мин=1210 кг, тогда [(P2мах/Pн.мин⋅100%)]-100%=[(3720кг/3200кг⋅100%)]-100%=116,25%-100%=16,25%, условие выполняется 5%<16,25%<30%.

[29]

100%-[(P2мин/Pн.мин)⋅100%]=100%-[(1210/1416⋅100%)]=100%-85,45%=14,55%, условие выполняется 5%<14,55%<30%, то останавливают штанговый насос 3 (см. фиг. 2) (отключают привод - колонну штанг 5) и производят обратную промывку скважины 1 закачкой насосным агрегатом 8, например, ЦА-320, горячей нефти через открытую задвижку 7 в межколонное пространство 9 скважины 1, нижний перфорированный патрубок 2 по колонне НКТ 4, через открывающиеся под действием гидравлического давления снизу нагнетательный и всасывающий клапаны (на фиг. 1-3 показаны условно) штангового насоса 3 в желобную емкость 10 (см. фиг. 2).

[30]

Обратную промывку горячей нефтью ведут до снижения гидравлического давления в межколонном пространстве в 1,5 раза, например, в начале промывки давление закачки на манометре насосного агрегата 7 составляло 7,5 МПа, при этом в процессе промывки гидравлическое давление снизилось до 5,0 МПа, т.е. 7,5 МПа /5 МПа=1,5. После чего закрывают задвижку 7 и отсоединяют насосный агрегат 8 от межколонного пространства 9 скважины 1.

[31]

Повышается качество промывки горячей нефтью всей компоновки, спущенной в скважину 1, а также призабойной зоны пласта за счет отсутствия пакера, ограничивающего промывку призабойной зоны пласта 6 с высоковязкой нефтью и нижней части компоновки, как описано в прототипе, при этом промывка горячей нефтью происходит от пласта 6 с высоковязкой нефтью, что эффективно противодействует процессу отложения АСПО и образования водонефтяной эмульсии в скважине.

[32]

Увеличивается объем отбора высоковязкой нефти из скважины 1, так как за счет повышения качества промывки сокращается количество периодических промывок, а значит, увеличивается время отбора высоковязкой нефти из скважины 1.

[33]

После чего производят повторное снятие динамограммы и определяют максимальную или минимальную нагрузки на колонну штанг, из условия достижения от 0 до 5% от начальных значений, например, P3мах=3300 кг; P3мин=1370 кг, тогда [(P3мах/Pн.мин)⋅100%]-100%=[(3300 кг/3200 кг⋅100%)]-100%=103,13%-100%=3,13%, условие 0<3,13%<5% выполняется.

[34]

100%-[(P3мин/Pн.мин)⋅100%]=100%-[(1370/1416⋅100%)]=100%-96,8%=3,2%, условие 0<3,2%<5% выполняется, таким образом продолжают дальнейшую эксплуатацию добывающей высоковязкую нефть скважины.

[35]

Если при периодических снятиях динамограмм отклонение максимальной или минимальной нагрузок составляет от 30% до 100% от начальных значений, например, P1мах=4540 кг; P1мин=780 кг, тогда [(P1мах/Pн.мах)⋅100%]-100%=[(4540 кг/3200 кг⋅100%]-100%=141,8%-100%=41,9%, условие выполняется 30%<41,9%<100%,

[36]

100%-[(P1мин/Pн.мин)⋅100%]=100%-[(780/1416⋅100%)]=100%-55,1%=44,9%, условие выполняется 30%<44,9%<100%, то, не прерывая отбор высоковязкой нефти штанговым насосом 3 (см. фиг. 3), спускают через эксцентричное отверстие 11, выполненное в планшайбе скважины 1, предварительно отвернув пробку (на фиг. 1-3 показана условно), в межколонное пространство 9 скважины 1 геофизический кабель 12 с наконечником 13 на конце посредством геофизического подъемника 14 для проведения ИВЧТА обработки скважины 1.

[37]

В качестве геофизического кабеля 12 используют стандартный грузонесущий геофизический кабель простой конструкции.

[38]

Далее включают станцию управления (на фиг. 1-3 не показана), находящуюся в геофизическом подъемнике 14, и производят ИВЧТА обработку ствола скважины и призабойной зоны пласта 6, не прерывая отбора высоковязкой нефти из скважины 1 штанговым насосом 3 посредством возвратно-поступательных перемещений колонны штанг 5 (привода).

[39]

В процессе проведения ИВЧТА обработки ствола скважины и призабойной зоны пласта производят периодическое снятие динамограммы через каждые 4 ч до восстановления значений максимальной и минимальной нагрузок на колонну штанг от 0 до 5% от начальных значений, при этом исключается зависание колонны штанг 5 при ее возвратно-поступательном перемещении.

[40]

Например, через 12 ч после начала ИВЧТА обработки скважины 1 снимают динамограмму (в третий раз), при этом максимальная и минимальная нагрузки составляют: P3мах=3270 кг; P3мин=1395 кг, тогда [(P3мах/Pн.мах)⋅100%]-100%=[(3270 кг/3200 кг⋅100%)]-100%=102,18%-100%=2,18%, условие выполняется 0<2,18%<5%,

[41]

100%-[(P3минн.мин)⋅100%]=100%-[(1395/1416⋅100%)]=100%-98,5%=1,5%, условие выполняется 0<1,5%<5%. Таким образом, видно, что отклонения в процентом соотношении максимальной и минимальной нагрузок до и после ИВЧТА обработки скважины 1 не превышают 5%.

[42]

После непрерывной в течение 12 ч ИВЧТА обработки скважины 1 ее прекращают и посредством геофизического подъемника 14 извлекают из межколонного пространства 9 скважины 1 геофизический кабель 12 с наконечником 13, закрывают эксцентричное отверстие 11 планшайбы скважины 1 пробкой (см. фиг. 1).

[43]

Повышается эффективность добычи высоковязкой нефти за счет применения ИВЧТА обработки в тех случаях, когда невозможно периодическими промывками восстановить максимальную и минимальную начальные нагрузки на колонну штанг 5, что позволяет:

[44]

- предотвратить образование отложений АСПО и стойкой водонефтяной эмульсии в процессе отбора высоковязкой нефти на приеме штангового насоса 3 и внутри колонны НКТ 4;

[45]

- улучшить гидродинамический режим работы скважины в целом за счет увеличения подвижности высоковязкой нефти в призабойной зоне пласта и уменьшения трения в лифте скважины за счет акустического влияния, уменьшения вязкости и плотности скважинной среды за счет повышения температуры и разрушения эмульсии, создающих дополнительную депрессию на пласт.

[46]

Все работы при реализации предлагаемого способа осуществляются «бесподходным» методом, т.е. не требуют привлечения бригад подземного или капитального ремонта и остановки скважины при отборе высоковязкой нефти.

[47]

Применение ИВЧТА обработки в отличие от промывки повышает качество очистки внутрискважинного оборудования от АСПО и стойкой водонефтяной эмульсии.

[48]

После проведения ИВЧТА обработки скважины восстанавливается нагрузка на колонну штанг 5 (привод), что снижает потребляемую электроэнергию на 1 м3 отобранной продукции (высоковязкой нефти).

[49]

ИВЧТА обработка основана на совместном облучении тепловым и акустическим полями, для чего в ствол скважины спускают, например, со скоростью 0,5 м/с, наконечник 13 (термоакустический излучатель), соединенный геофизическим кабелем 12 с наземным ультразвуковым генератором мощностью 4-30 кВт в диапазоне частот 5-16 кГц. Одновременное распространение этих полей в продуктивном пласте 6 способствует многократному увеличению его эффективной температуропроводности и очистке призабойной зоны. Радиус зоны воздействия достигает 8 м. В зоне воздействия снижается вязкость нефти, разрушаются и выносятся при последующей эксплуатации отложения АСПО. В результате применения ИВЧТА обработки осуществляется термическое и вибромеханическое (акустическое) воздействие по всему тракту размещения геофизического кабеля на глубину скважины за счет передачи по нему сверхмощных и коротких высокочастотных импульсов, режима генерирования и передачи высокоплотной и высокочастотной энергии по кабелю в виде коротких высокочастотных и мощных импульсов на глубину скважины.

[50]

Во время передачи мощных импульсов вследствие высокой частоты изменения тока в них и поверхностного экранного эффекта происходит выделение тепла в металле колонны НКТ 4 по типу индукционного высокочастотного нагрева, а из-за высокого уровня мощности и возникновения ударных электродинамических сил создается по всему тракту передачи упругая механическая волна в металле колонны НКТ 4 и тем самым осуществляется высокочастотное виброакустическое воздействие на высоковязкую нефть, находящуюся внутри колонны НКТ 4.

[51]

Предлагаемый способ эксплуатации добывающей высоковязкую нефть скважины позволяет:

[52]

- повысить эффективность добычи высоковязкой нефти;

[53]

- повысить качество промывки высоковязкой нефтью;

[54]

- снизить интенсивность процессов отложения АСПО и водонефтяной эмульсии на внутренних стенках скважины;

[55]

- увеличить объем отбора высоковязкой нефти из скважины.

Как компенсировать расходы
на инновационную разработку
Похожие патенты