патент
№ RU 2655970
МПК B61C1/00

ГИБКИЙ ВОЗДУХОВОД

Авторы:
Ушаков Вячеслав Анатольевич
Номер заявки
2017126161
Дата подачи заявки
20.07.2017
Опубликовано
30.05.2018
Страна
RU
Как управлять
интеллектуальной собственностью
Чертежи 
8
Реферат

Изобретение относится к железнодорожному транспорту, а более конкретно к гибким воздуховодам системы охлаждения тяговых электродвигателей локомотивов для подачи воздуха между кузовом и тележками локомотива. Гибкий воздуховод содержит сформированный с помощью швейных швов гибкий рукав с горловинами, элементы поперечной жесткости, придающие гибкому рукаву трубообразную форму, и закрепленные по горловинам гибкого рукава присоединительные фланцы. Гибкий рукав выполнен из двух слоев плотной водонепроницаемой и водоотталкивающей высокопрочной текстильной ткани, скрепленных между собой прошивкой по краю замкнутым соединительным накладным швейным швом и наложением по площади ткани сетки армирующих соединительных накладных швейных швов, путем формирования трубообразной конструкции наложением продольного соединительного "в замок" швейного шва, а по горловинам гибкого рукава - окантовочного швейного шва. Достигается повышение надежности работы, увеличение ресурса и снижение трудоемкости при технических обслуживаниях и текущих ремонтах гибкого воздуховода при изготовлении его из традиционных материалов, таких как брезентовая ткань. 2 з.п. ф-лы, 8 ил.

Формула изобретения

1. Гибкий воздуховод, содержащий сформированный с помощью швейных швов гибкий рукав с горловинами, элементы поперечной жесткости, придающие гибкому рукаву трубообразную форму, и закрепленные по горловинам гибкого рукава присоединительные фланцы, отличающийся тем, что гибкий рукав выполнен из двух слоев плотной водонепроницаемой и водоотталкивающей высокопрочной текстильной ткани, скрепленных между собой прошивкой по краю замкнутым соединительным накладным швейным швом и наложением по площади ткани сетки армирующих соединительных накладных швейных швов, путем формирования трубообразной конструкции наложением продольного соединительного "в замок" швейного шва, а по горловинам гибкого рукава - окантовочного швейного шва, а элементы поперечной жесткости выполнены непосредственно из обоих слоев ткани гибкого рукава путем складывания вдвое в виде кольцевых выступов, расположенных с внешней стороны гибкого рукава и прошитых по крайней мере не менее чем одной строчкой швейного шва типа накладного, при этом швейные швы выполнены высокопрочными швейными нитями.

2. Гибкий воздуховод по п. 1, отличающийся тем, что кольцевые выступы дополнительно усилены кольцевыми соединительными накладными швами.

3. Гибкий воздуховод по п. 1, отличающийся тем, что в качестве материала гибкого рукава использована брезентовая ткань, а швейные швы выполнены капроновыми нитями.

Описание

[1]

Изобретение относится к железнодорожному транспорту, а более конкретно к гибким воздуховодам системы охлаждения тяговых электродвигателей локомотивов для подачи воздуха между кузовом и тележками локомотива.

[2]

Известен гибкий воздуховод для подвода охлаждающего воздуха к тяговому электродвигателю трамвайного вагона Т-3 (см. Трамвайные вагоны Т-3. Иванов М.Д., Пономарев А.А., Иеропольский Б.К. М.: "Транспорт", 1977. С. 20-21, и Иванов М.Д., Алпаткин А.П., Иеропольский Б.К. Устройство и эксплуатация трамвая. Учебное пособие для профессионально-технических училищ. Изд. 2-е, переработанное и дополненное. М.: "Высшая школа", 1977, с. 92-96). Известный гибкий воздуховод выполнен в виде мехов. Он имеет два фланца. Нижний фланец выполнен из металла, а верхний фланец - из текстолита. Нижний фланец предназначен для закрепления гибкого воздуховода к патрубку тягового электродвигателя. Верхний фланец выполнен плавающим с возможностью перемещения относительно днища кузова трамвайного вагона в кривых участках рельсового пути и при колебаниях, возникающих при движения трамвайного вагона. Верхний фланец номинально соосен с выходным отверстием вентиляционного канала принудительной подачи воздуха в кузове трамвайного вагона и прижат специальными пружинами к днищу кузова вагона с целью исключения раскрытия стыка между фланцем и днищем. Указанный гибкий воздуховод характеризуется относительно низким ресурсом. В конце XX века на замену изношенному парку трамвайных вагонов Т-3 чешского производства в России пришли трамвайные вагоны серии 71-401 (СПЕКТР-1) российского производства. Конструктивно трамвайный вагон 71-401 (СПЕКТР-1) является конструктивным потомком трамвайных вагонов Т-3 и Т-3М. Для повышения ресурса меха гибкого воздуховода выполнены из чепраковой кожи. Данные воздуховоды применяются также при ремонте и модернизации трамвайных вагонов Т-3 и Т-3М.

[3]

Недостатком известного гибкого воздуховода является относительная конструктивная сложность, повышенная трудоемкость, повышенный износ как мехов, так и верхнего фланца, низкий ресурс конструкции, а также проблематичность применения такого типа воздуховодов для магистральных локомотивов из-за высоких динамических, инерционных и аэродинамических нагрузок. В случае применения гибкого воздуховода из чепраковой кожи к перечисленным недостаткам добавляется повышенная стоимость.

[4]

Известен гибкий воздуховод для подвода охлаждающего воздуха к тяговому электродвигателю электровоза ВЛ19 (Раков В.А., Пономаренко П.К. Электровоз. Изд. 5-е, переработанное. М.: "Государственное транспортное железнодорожное издательство", 1956, с. 80-81). Известный гибкий воздуховод выполнен из брезента в виде гармоники. Отдельные элементы гармоники натянуты на распорные стальные кольца и выполнены из двух слоев брезентовой ткани. В месте соединения отдельных элементов брезентовая ткань имеет накладку из кожи и прошита сапожной дратвой. Крепление гармоники к патрубку тягового двигателя и каналу принудительной подачи воздуха кузова электровоза осуществляется стальными фланцами при помощи болтов.

[5]

Недостатками известного гибкого воздуховода являются конструктивная сложность, низкая технологичность, высокая трудоемкость изготовления, низкий ресурс из-за перетирания брезентовой ткани распорными стальными кольцами.

[6]

Наиболее близкой по технической сущности к заявленной полезной модели является гибкий воздуховод для подвода охлаждающего воздуха к тяговому электродвигателю электровоза 2ЭС6 "Синара" (см. Электровоз 2ЭС6 "Синара" / под. ред. В.В. Брексона. - Верхняя Пышма: ООО "Уральские локомотивы", 2015, с. 213-216 и «Электровоз грузовой постоянного тока 2ЭС6 с коллекторными тяговыми электродвигателями» Руководство по эксплуатации, 2ЭС6.00.000.000 РЭ5 Часть 6, с. 76-83б). Известный гибкий воздуховод входит в систему охлаждения тяговых электродвигателей и связывает канал принудительной подачи воздуха с тяговым электродвигателем, расположенным на тележке электровоза. На каждой секции электровоза таких каналов четыре по числу тяговых электродвигателей секции. Гибкий воздуховод содержит гибкий рукав с горловинами и верхний и нижний присоединительные фланцы. Верхний фланец предназначен для присоединения к каналу принудительной подачи воздуха в тяговый электродвигатель, а нижний фланец - к горловине тягового электродвигателя. Фланцы имеют патрубки, к которым с помощью хомутов присоединены горловины гибкого рукава. Гибкий рукав выполнен из двухслойной брезентовой ткани. Полость в гибком рукаве выполнена наложением продольного соединительного швейного шва. Горловины гибкого рукава усилены наложением окантовочного швейного шва. Между внутренним и внешним слоями брезентовой ткани с шагом 100 мм помещены три поперечных элемента жесткости в виде прямоугольных каркасов из стальной оцинкованной проволоки диаметром 8 мм. Между концами проволоки каркасов оставлены зазоры. Вес каждого из каркасов значителен и равен 0,24 кг. С двух сторон каждого из каркасов выполнен замкнутый соединительный накладной швейный шов. В процессе эксплуатации в составе электровоза данный гибкий воздуховод подвержен воздействию значительных климатических и механических факторов. Такие климатические факторы, как изменение температуры и влажности окружающей среды, изменение атмосферного давления, наличие движущихся потоков пыли или песка, присутствие активных веществ в окружающей атмосфере, грибковых образований (плесень), микроорганизмов, дождя и брызг, присутствие в окружающей среде озона, и механические факторы, как вибрации, удары, ускорения, со временем разрушают гибкий рукав. Из-за взаимного перемещения слоев материала и каркасов гибкого рукава происходит износ материала с последующим утонением и появлением рванин. На фиг. 8 дано фотографическое изображение гибкого воздуховода, применяемого на серийных электровозах, с характерными признаками разрушения и износа.

[7]

Недостатками известного гибкого воздуховода являются сложность и нетехнологичность конструкции, применение разнородных металлов при изготовлении гибкого рукава, низкий ресурс менее 50 тыс. км пробега, связанный с перетиранием слоев брезентовой ткани из-за наличия больших участков брезентовой ткани с незафиксированными между собой слоями и значительным негативным воздействием подвешенных на гибком рукаве стальных каркасов, имеющих значительные массы. Загнутые свободные концы каркасов при движении электровоза совершают колебательные движения, вызывая повышенный износ гибкого рукава. Со временем цинковое покрытие проволоки каркаса под действием климатических факторов начинает разрушатся. Продукты коррозии также оказывают разрушающее действие на материал гибкого рукава.

[8]

Техническим результатом, на достижение которого направлено заявляемое изобретение, является повышение надежности работы, увеличение ресурса и снижение трудоемкости при технических обслуживаниях и текущих ремонтах гибкого воздуховода при изготовлении его из традиционных материалов, таких как брезентовая ткань.

[9]

Указанный технический результат достигается тем, что в гибком воздуховоде, содержащем сформированный с помощью швейных швов гибкий рукав с горловинами, элементы поперечной жесткости, придающие гибкому рукаву трубообразную форму, и закрепленные по горловинам гибкого рукава присоединительные фланцы, гибкий рукав выполнен из двух слоев плотной водонепроницаемой и водоотталкивающей высокопрочной текстильной ткани, скрепленных между собой прошивкой по краю замкнутым соединительным накладным швейным швом и наложением по площади ткани сетки армирующих соединительных накладных швейных швов, путем формирования трубообразной конструкции наложением продольного соединительного "в замок" швейного шва, а по горловинам гибкого рукава - окантовочного швейного шва. Элементы поперечной жесткости выполнены непосредственно из обоих слоев ткани гибкого рукава путем складывания вдвое в виде кольцевых выступов, расположенных с внешней стороны гибкого рукава и прошитых, по крайней мере, не менее чем одной строчкой швейного шва типа накладного. При этом швейные швы выполнены высокопрочными швейными нитями. Кольцевые выступы дополнительно могут быть усилены кольцевыми соединительными накладными швами, в качестве материала гибкого рукава может быть использована брезентовая ткань, а швейные швы прошиты капроновыми нитями.

[10]

Сущность заявляемого изобретения поясняется чертежами, где:

[11]

на фиг. 1 дано фотографическое изображение гибкого воздуховода, присоединенного к каналу системы вентиляции тяговых электродвигателей локомотива;

[12]

на фиг. 2 дано фотографическое изображение гибкого воздуховода, присоединенного к каналу системы вентиляции тяговых электродвигателей локомотива и дополнительно усиленного кольцевыми соединительными накладными швами;

[13]

на фиг. 3 изображено наложение по площади ткани гибкого рукава сетки армирующих соединительных накладных швейных швов до выполнения продольного соединительного "в замок" швейного шва;

[14]

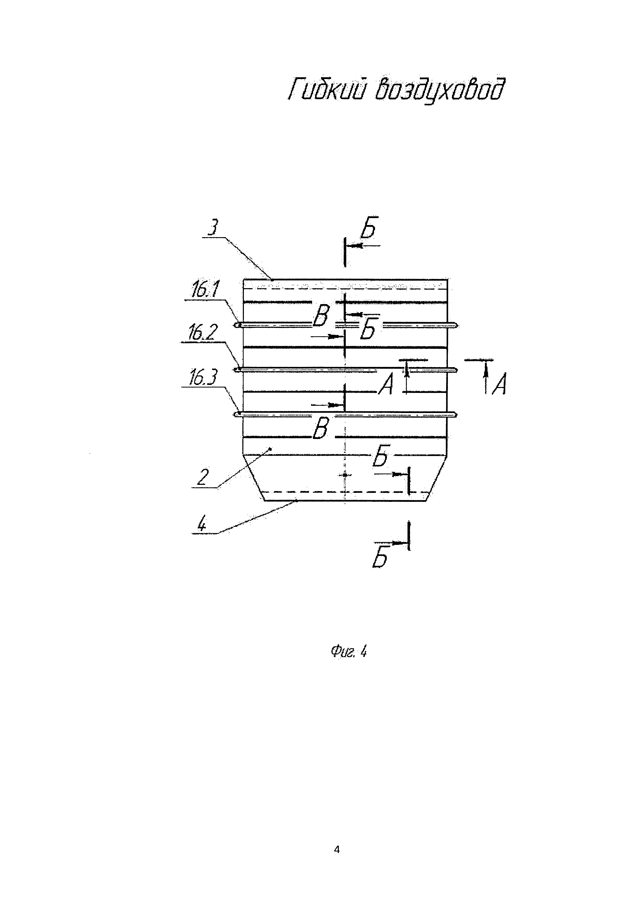
на фиг. 4 изображен гибкий рукав воздуховода;

[15]

на фиг. 5 дан разрез А-А на фиг. 4 с изображением продольного соединительного "в замок" швейный шов гибкого рукава воздуховода;

[16]

на фиг. 6 дан разрез Б-Б на фиг. 4 с изображением окантовочного швейного шва гибкого рукава воздуховода;

[17]

на фиг. 7 дан разрез В-В на фиг. 4 с изображением элемента поперечной жесткости гибкого рукава воздуховода в виде кольцевого выступа;

[18]

на фиг. 8 дано фотографическое изображение гибкого воздуховода, применяемого на серийных электровозах, с характерными признаками разрушения и износа.

[19]

В связи с тем, что виды с фигурами 1, 2, 3 и 8 заявленного изобретения плохо читаются при вертикальном расположении длинных сторон листа, целесообразно было расположить листы с указанными фигурами горизонтально, что позволило существенно укрупнить чертеж.

[20]

Гибкий воздуховод подачи воздуха в тяговый электродвигатель локомотива 1 содержит сформированный с помощью швейных швов гибкий рукав 2 с горловинами 3 и 4, элементы поперечной жесткости 5.1, 5.2 и 5.3, придающие гибкому рукаву трубообразную форму, и закрепленные по горловинам 3 и 4 гибкого рукава хомутами 6.1 и 6.2 присоединительные фланцы 7 и 8. При этом гибкий рукав 2 выполнен из двух слоев 9.1 и 9.2 плотной водонепроницаемой и водоотталкивающей высокопрочной текстильной ткани 10, скрепленных между собой прошивкой по краю 11 замкнутым соединительным накладным швейным швом 12 и наложением по площади ткани сетки армирующих соединительных накладных швейных швов 13, путем формирования трубообразной конструкции наложением продольного соединительного "в замок" швейного шва 14, а по горловинам 3 и 4 - окантовочных швейных швов 15. Элементы поперечной жесткости 5.1, 5.2 и 5.3 выполнены непосредственно из обоих слоев ткани 9.1 и 9.2 гибкого рукава 2 путем складывания вдвое в виде кольцевых выступов 16.1, 16.2 и 16.3, расположенных с внешней стороны гибкого рукава 2 и прошитых, по крайней мере, не менее чем одной строчкой швейного накладного шва 17, а швейные швы выполнены высокопрочными швейными нитями 18. Кольцевые выступы 16.1, 16.2 и 16.3 дополнительно могут быть усилены кольцевыми соединительными накладными швами 19.1, 19.2, 19.3 и 19.4. В качестве материала гибкого рукава 2 может быть использована брезентовая ткань, а швейные швы выполнены капроновыми нитями.

[21]

Заявляемое изобретение осуществляют следующим образом: из двух кусков плотной водонепроницаемой и водоотталкивающей высокопрочной текстильной ткани 10 наложением друг на друга получают двухслойную со слоями 9.1 и 9.2 прямоугольную заготовку для гибкого рукава 2, которую с целью увеличения прочностных характеристик и для исключения взаимного перемещения слоев 9.1 и 9.2, приводящего к повышенному износу, скрепляют прошивкой по краю 11 замкнутым соединительным накладным швейным швом 12 и наложением по площади ткани сетки армирующих соединительных накладных швейных швов 13. Трубообразность конструкции гибкого рукава 2 придают выполнением продольного соединительного "в замок" швейного шва 14, исключающего осыпание ткани, а по горловинам 3 и 4 - окантовочных швейных швов 15. Поперечную жесткость гибкого рукава 2 обеспечивают выполнением кольцевых выступов 16.1, 16.2 и 16.3 непосредственно из обоих слоев ткани 9.1 и 9.2 путем складывания вдвое с последующей прошивкой, по крайней мере, не менее чем одной строчкой швейного накладного шва 17. Поперечная жесткость и прочность дополнительно могут быть усилены кольцевыми соединительными накладными швами 19.1, 19.2, 19.3 и 19.4. Все швейные швы выполняют высокопрочными швейными нитями 18. В качестве материала 10 может быть использована брезентовая ткань, а в качестве нити 18 - капроновая нить. По горловинам 3 и 4 готового гибкого рукава 2 с помощью хомутов 6.1 и 6.2 закрепляют присоединительные фланцы 7 и 8 и гибкий воздуховод 1 готов к использованию. Устанавливают гибкий воздуховод 1 в подкузовном пространстве между кузовом локомотива и одним из двух тяговых электродвигателей тележки. Присоединительным фланцем 7 воздуховод 2 закрепляют к каналу подачи воздуха системы вентиляции тяговых электродвигателей 20, а присоединительным фланцем 8 - к тяговому электродвигателю. В процессе эксплуатации гибкий воздуховод 1 подвержен воздействию значительных климатических и механических воздействий.

[22]

Проблема увеличения ресурса конструкции гибкого воздуховода для подачи охлаждающего воздуха из кузова локомотива в тяговый электродвигатель, расположенный на тележке, является актуальной на сегодняшний день. Работы по увеличению ресурса гибких воздуховодов проводятся, например, на ООО "УК Профит Плюс". Опытные образцы воздуховодов ООО "УК Профит Плюс" выполнены из полимерного композиционного материала и представляют собой конструкцию, состоящую из эластичной оболочки прямоугольного сечения типа «суфле» и присоединительных фланцев, закрепленных с обеих сторон оболочки, по аналогии с воздуховодами, установленными на американских тепловозах производства General Electric и ТЭЗЗ А серии Evolution, собранных в Казахстане (см. Газета АО ВНИИЖТ "Железнодорожник" №20 - 25 (3042), 2016). В настоящий момент опытные гибкие воздуховоды ООО "УК Профит Плюс" проходят эксплуатационные испытания. Проблему увеличения ресурса конструкции гибкого воздуховода для подачи охлаждающего воздуха из кузова локомотива в тяговый электродвигатель, расположенный на тележке, решает также и ООО "Уральские локомотивы". Конструкция гибкого воздуховода выполнена с применением традиционных недорогих материалов, таких как брезентовая ткань и капроновая нить, в соответствии с заявляемым изобретением. На электровозе 2ЭС6 "Синара" №516 приписки эксплуатационного локомотивного депо Челябинск установлены опытные гибкие воздуховоды из ООО "Уральские локомотивы". Данные гибкие воздуховоды введены в эксплуатацию 18 августа 2015 г. В процессе эксплуатации они подвергаются регулярным осмотрам. При этом не обнаружено нарушения целостности данных гибких воздуховодов. На 27 июня 2017 г. фактический пробег опытных гибких воздуховодов разработки и производства ООО "Уральские локомотивы" на электровозе 2ЭС6 "Синара" №516 составил 359026 км. Аналогичные испытания проводятся на электровозе 2ЭС6 "Синара" №452. Фактический пробег гибких воздуховодов ООО "Уральские локомотивы" на 27.06.2017 г. на указанном электровозе составил 485903 км. Наблюдение за гибкими воздуховодами производства ООО "Уральские локомотивы" в процессе эксплуатационных испытаний на серийных электровозах 2ЭС6 "Синара" №452 и №516 показывает, что пробег опытных гибких воздуховодов на 27 июня 2017 г. в 10 раз больше, чем серийных, и признаки наступления предельного состояния не выявлены.

Как компенсировать расходы
на инновационную разработку
Похожие патенты