патент
№ RU 2659363
МПК B60J10/86

Устройство уплотнения верхней части дверного проема кузова транспортного средства

Авторы:
Балдов Никита Алексеевич
Номер заявки
2017114929
Дата подачи заявки
27.04.2017
Опубликовано
29.06.2018
Страна
RU
Как управлять
интеллектуальной собственностью
Чертежи 
3
Реферат

Изобретение относится к устройствам уплотнения дверного проема пассажирских транспортных средств, преимущественно автобусов или троллейбусов. Устройство уплотнения верхней части дверного проема кузова транспортного средства состоит из уплотнителя в виде полосы из эластичного материала с посадочным выступом, закрепленным на поворотной балке, установленной на оси в кронштейне, неподвижно закрепленном в верхней поперечине портала двери, пружины поворота поворотной балки, кулачка, установленного на двери, взаимодействующего с поворотной балкой. Поворотная балка выполнена из металлического профиля, имеющего продольный паз, который введен в посадочный выступ уплотнителя. На поворотной балке закреплен рычаг поджима уплотнения кулачком при закрытой двери. Пружины поворота балки являются пружинами кручения, один конец каждой из которых закреплен на кронштейне, а другой - на поворотной балке. В верхней части дверного проема имеется плоскость, взаимодействующая с верхней кромкой уплотнителя. Кулачок установлен на верхнем торце двери так, что при закрытии двери он нажимает на рычаг поджима уплотнителя в плоскости верхней части дверного проема. Достигается повышение ресурса устройства уплотнения. 3 з.п. ф-лы, 7 ил.

Формула изобретения

1. Устройство уплотнения верхней части дверного проема кузова транспортного средства, состоящее из уплотнителя в виде полосы из эластичного материала с посадочным выступом, закрепленного на поворотной балке, установленной на оси в кронштейне, неподвижно закрепленном в верхней поперечине проема двери; пружины поворота поворотной балки, кулачка, установленного на двери, взаимодействующего с поворотной балкой, отличающееся тем, что поворотная балка выполнена из металлического профиля по меньшей мере с одним продольным пазом, в который введен посадочный выступ уплотнителя; на поворотной балке закреплен рычаг поджима уплотнения кулачком при закрытой двери, пружины поворота балки являются пружинами кручения, один конец каждой из которых закреплен на кронштейне, а другой - на поворотной балке, в верхней части дверного проема имеется уголок, взаимодействующий с верхней кромкой уплотнителя, при этом кулачок установлен на верхнем торце двери так, что при закрытии двери он нажимает на рычаг поджима уплотнителя в плоскости верхней части дверного проема.

2. Устройство по п.1, отличающееся тем, что поворотная балка выполнена из алюминиевого конструкционного профиля сечением 20×20 мм.

3. Устройство по п.1, отличающееся тем, что уплотнитель имеет второй посадочный выступ, установленный во втором пазу алюминиевого профиля, соседнем с первым пазом.

4. Устройство по п.1, отличающееся тем, что уплотнитель в поперечном сечении имеет форму, в закрытом состоянии двери протяженную в направлении, параллельном плоскости двери, и отогнутую вовне нижнюю кромку.

Описание

[1]

Изобретение относится к устройствам уплотнения дверного проема пассажирских транспортных средств, преимущественно автобусов и троллейбусов.

[2]

Известна заявка на изобретение, относящееся к уплотнению торца двери автобуса (заявка KR №1020020031928 А от 03.05.2002 г.) Уплотнение выполнено в виде одной или нескольких полос из полипропилена, закрепленных в канавке профиля, прикрепленного к торцу двери. При открытии и закрытии двери полоса полипропилена движется относительно ровного порога двери и устанавливается с небольшим зазором, исключающим попадание в салон влаги и пыли.

[3]

Недостаток устройства уплотнения торца двери - отсутствие обеспечения полной герметичности, уменьшающейся по мере износа полипропиленовой полосы.

[4]

Известно изобретение, относящееся к уплотнению торца двойной поворотной двери пассажирского транспортного средства, преимущественно автобуса (заявка GB №2362178 A, дата публикации 14.11.2001 г.).

[5]

Уплотнение выполнено в виде гибкой полосы, например из полосы эластичного материала, закрепленного на основании двери и находящегося в контакте с полом, позволяющем свободное движение двери. При открытии двери уплотнение может отгибаться выступом, имеющимся на поворотной стойке.

[6]

Недостаток данной конструкции уплотнения в том, что при значительном числе перегибов полосы из эластичного материала в области перегиба возникают трещины, особенно в условиях низких температур, воздействия реагентов, и уплотнение разрушается и подлежит замене через короткий период эксплуатации.

[7]

Известно устройство уплотнения торцевой части открывающейся внутрь поворотной двери пассажирского транспортного средства, преимущественно автобуса (патент ЕР №1289787 от 04.06.2000 г.), у которого дверь поворачивается с помощью рычагов, закрепленных на вращаемой вертикальной стойке. Устройство состоит из уплотняющей полосы, вертикально расположенной и закрепленной по меньшей мере в двух точках на двух стержнях, образующих параллелограмм так, что в закрытом состоянии двери полоса примыкает к уплотнению края двери и к кромке кузова, а при открытии двери перемещается параллелограммом в сторону двери параллельно ей, не взаимодействуя с кузовом и не подвергаясь изнашиванию за счет трения о кузов.

[8]

Недостаток данного устройства уплотнения торцовой части двери относительно кузова - сложность конструкции его крепления с помощью параллелограмма и трудоемкость обслуживания такой конструкции.

[9]

Известно устройство уплотнения верхней части проема сдвижной двери рельсового транспортного средства (патент GB №2517887 от 27.06.2013), имеющее первый уплотнитель в виде полосы из эластичного материала с протяженным посадочным выступом, неподвижно закрепленный на верхнем торце сдвижной двери, обеспечивающий отвод воды, поступающей в зону контакта двери с проемом в верхний канал, находящийся на кузове; средний канал, в который поступают излишки воды из верхнего канала, и второй уплотнитель в виде полосы из эластичного материала с протяженным посадочным выступом, входящим в С-образный металлический профиль, неподвижно закрепленный на двери, обеспечивающий отвод воды из верхнего канала с первым уплотнителем.

[10]

Недостатки данного устройства - его конструктивная сложность, необходимость в двух протяженных каналах над проемом двери и в двух уплотнителях.

[11]

Известно устройство уплотнения торцовой части двери автобуса (патент KR №100820443 от 22.09.2011 г.), состоящее из полосы эластичного материала, закрепленного на поворотном элементе, установленном на оси, установленной в неподвижно закрепленном кронштейне; пружины поворота поворотного элемента с полосой из эластичного материала.

[12]

Недостаток данного устройства уплотнения - его невысокий ресурс, обусловленный размещением устройства уплотнения с наружной части двери.

[13]

Техническая задача, решаемая изобретением, - повышение ресурса устройства уплотнения.

[14]

Техническая задача решена в устройстве уплотнения верхней части дверного проема кузова транспортного средства, состоящем из уплотнителя в виде полосы из эластичного материала с посадочным выступом, закрепленного на поворотной балке, установленной на оси в кронштейне, неподвижно закрепленном в верхней поперечине проема двери; пружины поворота поворотной балки, кулачка, установленного на двери, взаимодействующего с поворотной балкой, при этом поворотная балка выполнена из металлического профиля по меньшей мере с одним продольным пазом, в который введен посадочный выступ уплотнителя; на поворотной балке закреплен рычаг поджима уплотнения кулачком при закрытой двери; пружины поворота балки являются пружинами кручения, один конец каждой из которых закреплен на кронштейне, а другой - на поворотной балке; в верхней части дверного проема имеется уголок, взаимодействующий с верхней кромкой уплотнителя, при этом кулачок установлен на верхнем торце двери так, что при закрытии двери он нажимает на рычаг поджима уплотнителя в плоскости верхней части дверного проема.

[15]

Для минимизации компоновочного зазора между проемом кузова и дверями и снижения массы поворотная балка выполнена из алюминиевого конструкционного профиля сечением 20×20 мм.

[16]

Для увеличения жесткости закрепления уплотнителя он может иметь второй посадочный выступ, установленный во втором пазу алюминиевого профиля, соседнем с первым пазом.

[17]

Уплотнитель в поперечном сечении имеет форму, в закрытом состоянии двери протяженную в направлении, параллельном плоскости двери.

[18]

Для отсечки поступающей на уплотнитель воды и отвода ее от верхней части проема двери уплотнитель имеет отогнутую вовне нижнюю кромку.

[19]

Решение технической задачи - повышение ресурса устройства уплотнения - достигается совокупностью отличительных признаков устройства: поворотная балка выполнена из металлического профиля по меньшей мере с одним продольным пазом, в который введен посадочный выступ уплотнителя; на поворотной балке закреплен рычаг поджима уплотнения кулачком при закрытой двери; пружины поворота балки являются пружинами кручения, один конец каждой из которых закреплен на кронштейне, а другой - на поворотной балке; в верхней части дверного проема имеется уголок, взаимодействующий с верхней кромкой уплотнителя, при этом кулачок установлен на верхнем торце двери так, что при закрытии двери он нажимает на рычаг поджима уплотнителя в плоскости верхней части дверного проема.

[20]

Для минимизации компоновочного зазора между проемом кузова и дверями и снижения массы поворотная балка выполнена из алюминиевого конструкционного профиля сечением 20×20 мм.

[21]

Для увеличения жесткости закрепления уплотнителя он может иметь второй посадочный выступ, установленный во втором пазу алюминиевого профиля, соседнем с первым пазом.

[22]

Уплотнитель в поперечном сечении имеет форму, в закрытом состоянии двери протяженную в направлении, параллельном плоскости двери.

[23]

Данная совокупность отличительных признаков не обнаружена в процессе патентно-информационного поиска, следовательно, изобретение соответствует критерию "новизна" и не следует явно из уровня техники, поэтому оно соответствует критерию "изобретательский уровень".

[24]

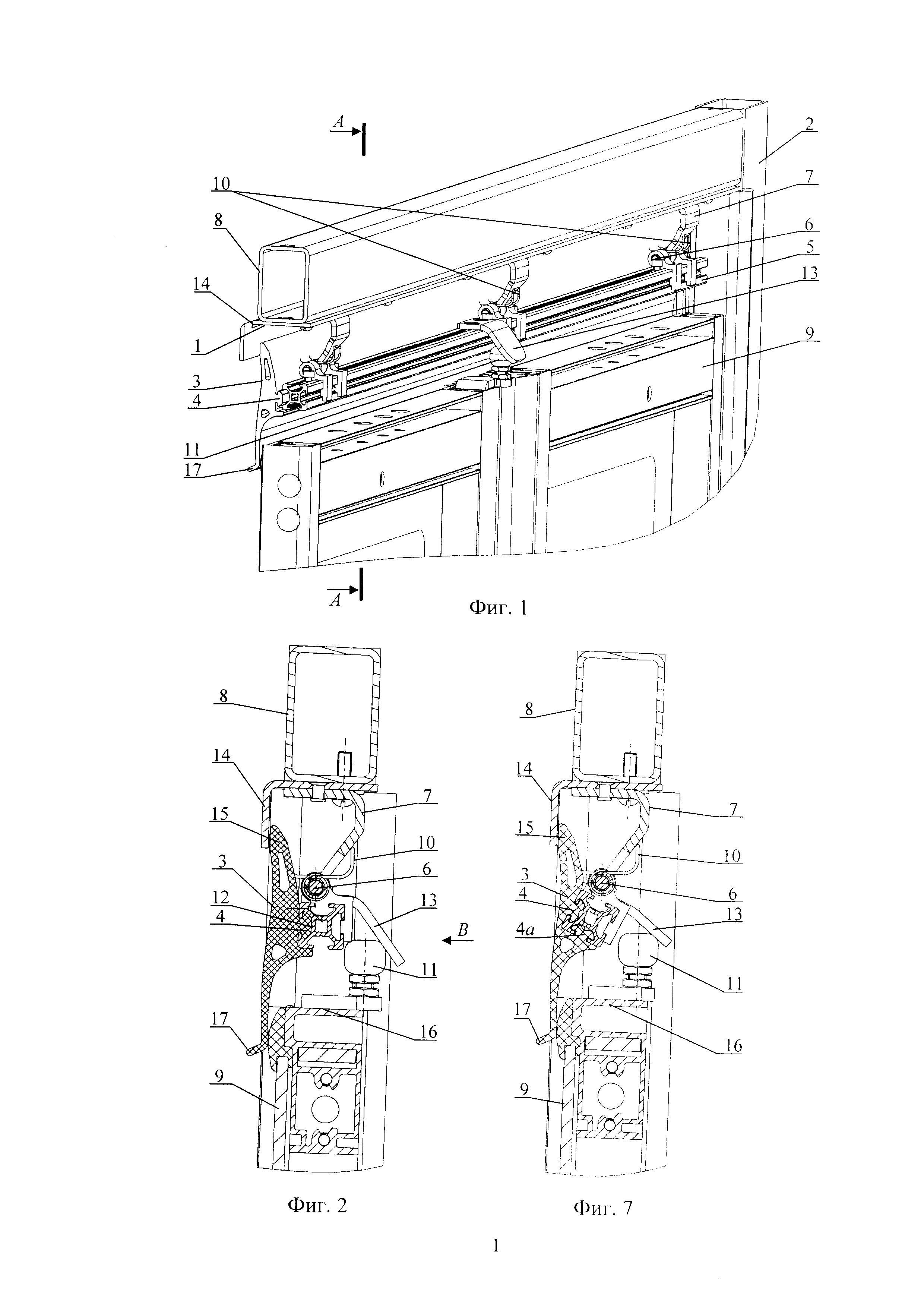
На фиг. 1 показан вид 3/4 из салона автобуса на устройство уплотнения верхней части проема закрытой двери с уплотнителем, имеющим один посадочный выступ.

[25]

На фиг. 2 - сечение A-A на фиг. 1.

[26]

На фиг. 3 - вид В на фиг. 2.

[27]

На фиг. 4 показан вид 3/4 из салона автобуса на устройство уплотнения верхней части проема закрытой двери с уплотнителем, имеющим два посадочных выступа.

[28]

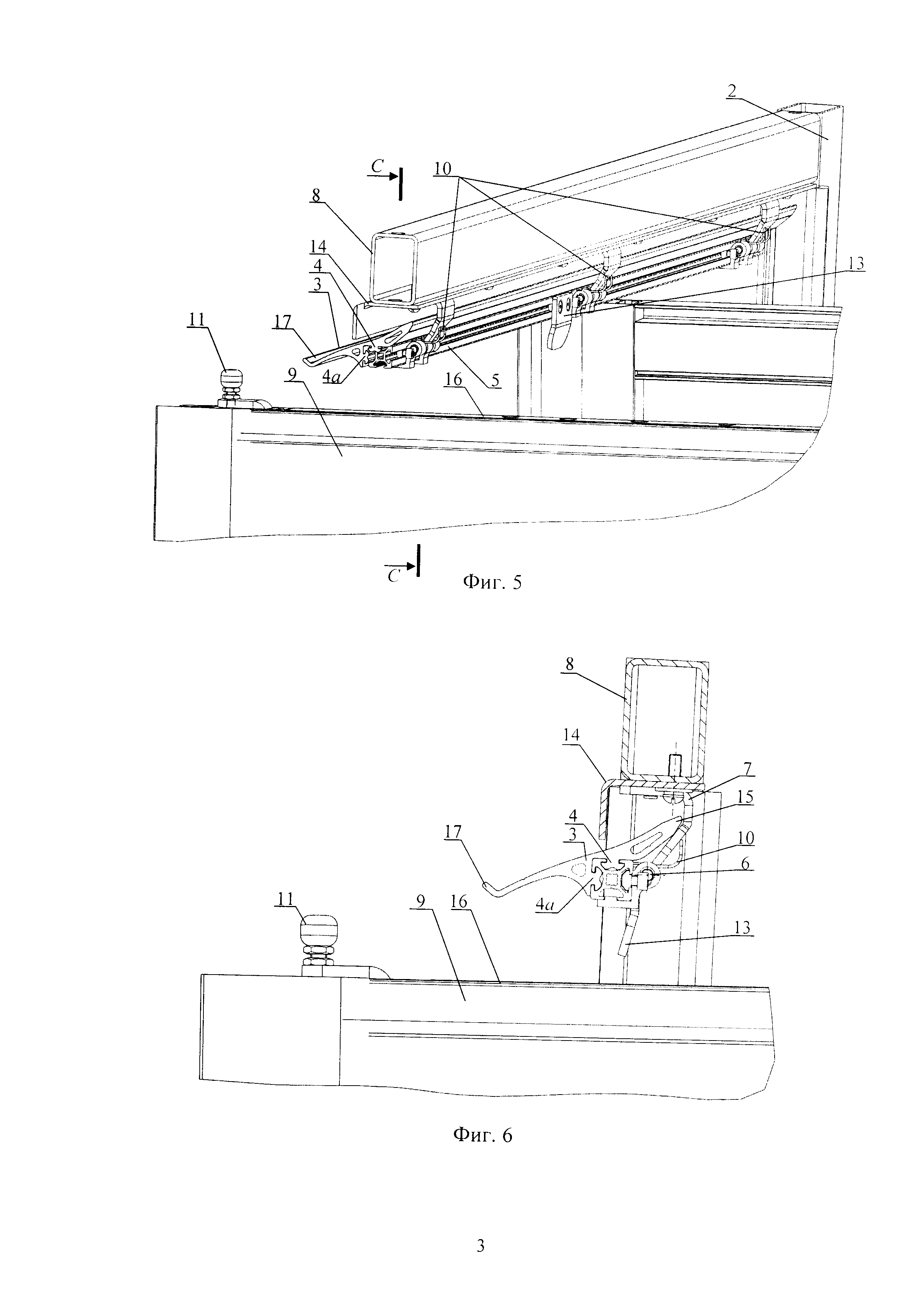
На фиг. 5 показан вид 3/4 из салона автобуса на устройство уплотнения верхней части проема открытой двери с уплотнителем, имеющим два посадочных выступа.

[29]

На фиг. 6 показано сечение С-С на фиг. 5.

[30]

На фиг. 7 - сечение D-D на фиг. 4.

[31]

Устройство уплотнения верхней части дверного проема 1 кузова 2 транспортного средства (фиг. 1-7) состоит из уплотнителя 3 в виде полосы из эластичного материала с посадочным выступом 4 (фиг. 3, 4, 6, 7), закрепленного на поворотной балке 5, установленной на оси 6 в кронштейне 7, неподвижно закрепленном в верхней поперечине 8 проема 1 двери 9; пружины 10 поворота поворотной балки 5; кулачка 11, установленного на двери 9, взаимодействующего с поворотной балкой 5, при этом поворотная балка 5 выполнена из металлического профиля, имеющею, как минимум, один продольный паз 12 (фиг. 1, 2), в который введен посадочный выступ 4 уплотнителя 3; на поворотной балке 5 закреплен рычаг 13 поджима уплотнителя 3 кулачком 11 при закрытой двери 9; пружины 10 поворота балки 5 являются пружинами кручения, один конец каждой из которых закреплен на кронштейне 7, а другой - на поворотной балке 5; в верхней части дверного проема 1 имеется уголок 14, взаимодействующий с верхней кромкой 15 уплотнителя 3, при этом кулачок 11 установлен на верхнем торце 16 двери 9 так, что при закрытии двери 9 он нажимает на рычаг 13 поджима уплотнителя 3 в плоскости верхней части дверного проема 1.

[32]

Для минимизации компоновочного зазора между проемом 1 кузова 2 и дверями 9 и снижения массы устройства уплотнения поворотная балка 5 выполнена из алюминиевого конструкционного профиля сечением 20×20 мм.

[33]

Для обеспечения надежности крепления уплотнителя 3 в поворотной балке 5 уплотнитель 3 может иметь второй посадочный выступ 4a (фиг. 4-7), установленный во втором пазу алюминиевого профиля, соседнем с первым пазом.

[34]

Уплотнитель 3 в поперечном сечении имеет форму, в закрытом состоянии двери 9 протяженную в направлении, параллельном плоскости двери 9.

[35]

Для отвода попадающей на уплотнитель 3 воды и отвода ее от верхней части проема 1 двери 9 уплотнитель 3 имеет отогнутую вовне нижнюю кромку 17 (фиг. 2, 5, 6, 7).

[36]

Описание работы устройства уплотнения при открытии и закрытии двери.

[37]

При закрытом положении дверей 9 транспортного средства поджимной кулачок 11 воздействует на элемент поджима 13 и приводит устройство уплотнения верхней части дверного проема 1 в закрытое положение с примыканием верхней кромки 15 уплотнителя 3 к уголку 14 и примыканием нижней кромки уплотнителя 3 к двери 9.

[38]

Во время начала открывания дверей 9 кулачок 11 движется в направлении выхода пассажиров, ослабляя свое воздействие на рычаг 13 поджима, и пружины 10 воздействуют на поворотную балку 5, поворачивая ее таким образом, чтобы верхняя кромка 15 уплотнителя 3 отходила от уголка 14, а нижняя кромка уплотнителя 3 отходила от двери 9 до того момента, пока верхняя кромка 15 уплотнителя 3 не упрется в кронштейн 7, останавливая движение устройства уплотнения верхней части дверного проема 1 и обеспечивая открывание дверей 9 с беспрепятственным движением кулачка 11.

[39]

Когда двери 9 находятся в открытом положении, устройство уплотнения верхней части дверного проема 1 также находится в открытом положении. Открытое положение устройства уплотнения верхней части дверного проема 1 обеспечивают пружины 10, и такая конструкция считается нормально-открытой.

[40]

Во время закрытия дверей 9 кулачок 11 движется в направлении входа пассажиров, и на определенном этапе закрывания двери 9 воздействует на рычаг 13 поджима с силой, большей, чем сила удержания устройства уплотнения верхней части дверного проема 1, и устройство начинает закрываться: верхняя кромка 15 уплотнителя 3 движется в направлении уголка 14, а нижняя кромка уплотнителя 3 - к двери 9. Это движение происходит до момента, когда двери 9 занимают закрытое положение, верхняя кромка 15 уплотнителя 3 входит в соприкосновение с уголком 14, а нижняя кромка уплотнителя 3 - с дверью 9.

Как компенсировать расходы
на инновационную разработку
Похожие патенты