патент
№ RU 2612416
МПК E21B43/14

Установка для добычи нефти одним насосом из разных интервалов горизонтального ствола скважины (варианты)

Авторы:
Гарифов Камиль Мансурович Ахмадиев Равиль Нурович Глуходед Александр Владимирович
Все (8)
Номер заявки
2015155416
Дата подачи заявки
23.12.2015
Опубликовано
09.03.2017
Страна
RU
Как управлять
интеллектуальной собственностью
Чертежи 
4
Реферат

Группа изобретений относится к нефтегазодобывающей промышленности, в частности к средствам эксплуатации скважин с горизонтальными стволами, в том числе с применением тепловых методов. Установка включает два хвостовика разной длины, сообщенные с входом насоса, причем один из хвостовиков оснащен боковым каналом с управляемым золотниковым клапаном, соединенным штоком с поршнем силового цилиндра, внутренняя полость которого сообщена трубкой с поверхностью для перемещения избыточным давлением поршня, сжатия возвратной пружины и перекрытия бокового канала с отсечением добываемого флюида из скважины. Для возврата в первоначальное состояние поршня вместо пружины может служить давление жидкости на выходе насоса, для этого другая полость цилиндра может быть снабжена другой трубкой, которая сообщена с выходом насоса. Хвостовики спущены в скважину параллельно, короткий из них оснащен управляемым клапаном, а длинный снабжен входом в удаленной зоне горизонтального ствола скважины. Длинный хвостовик может быть сообщен с входом насоса через переточный канал, соединенный с корпусом золотникового клапана с возможностью открытия при перекрытии бокового канала короткого хвостовика, внутрь скважины может быть спущен дополнительный хвостовик, сообщающий вход насоса со средней зоной горизонтального ствола. Поршень может быть подпружинен двумя пружинами, одна из которых выполнена предварительно сжатой примерно до середины рабочего хода поршня. Технический результат заключается в повышении эффективности добычи нефти одним насосом из разных интервалов горизонтального ствола скважины. 2 н. и 5 з.п. ф-лы, 7 ил.

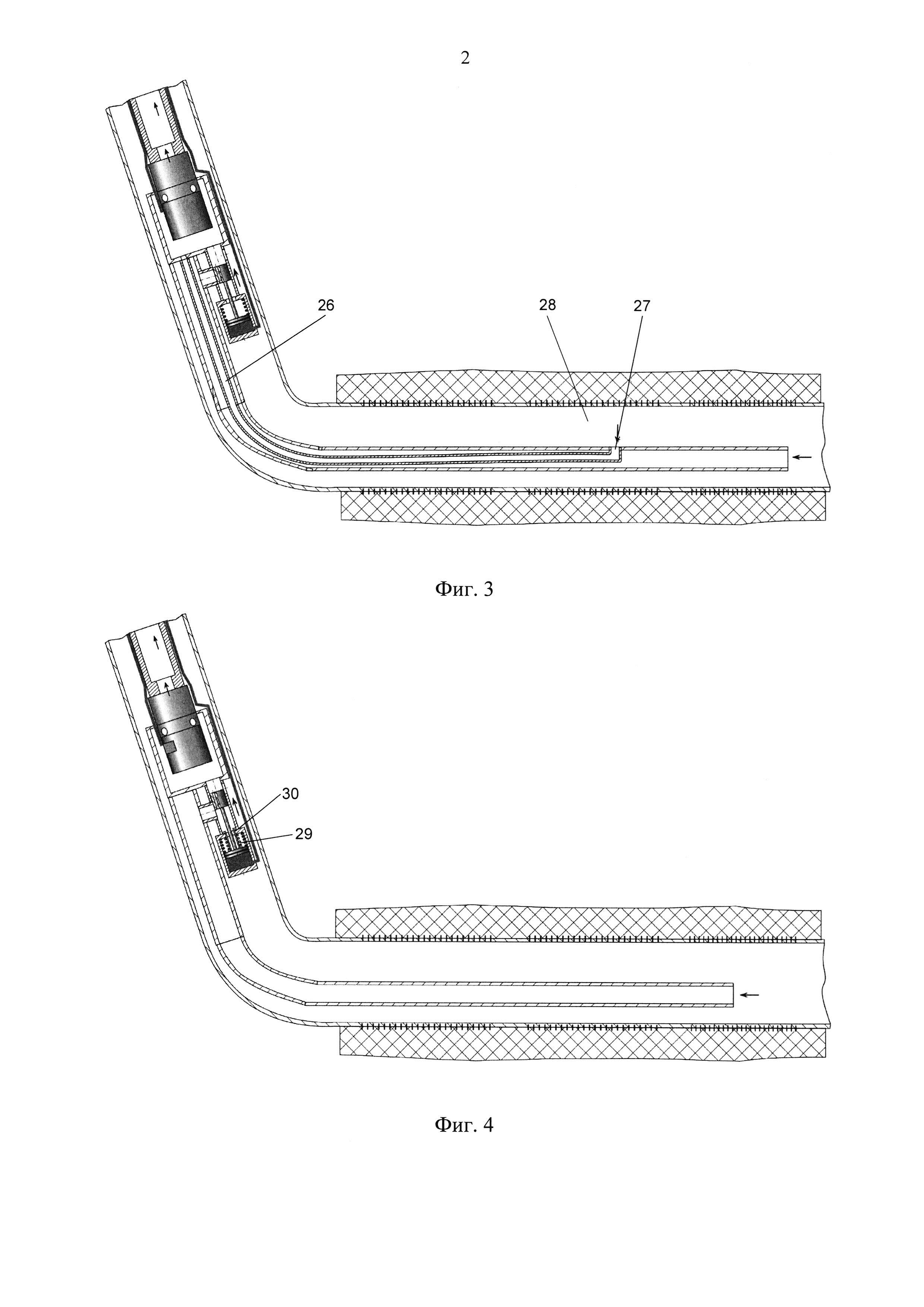
Формула изобретения

1. Установка для добычи нефти одним насосом из разных интервалов горизонтального ствола скважины, включающая два хвостовика разной длины, сообщенные с входом насоса, причем один из хвостовиков оснащен боковым каналом с управляемым золотниковым клапаном, соединенным штоком с поршнем силового цилиндра, внутренняя полость которого сообщена трубкой с поверхностью для перемещения избыточным давлением поршня, сжатия возвратной пружины и перекрытия бокового канала с отсечением добываемого флюида из скважины, отличающаяся тем, что хвостовики спущены в скважину параллельно, короткий из них оснащен управляемым клапаном, а длинный снабжен входом в удаленной зоне горизонтального ствола скважины.

2. Установка для добычи нефти одним насосом из разных интервалов горизонтального ствола скважины по п.1, отличающаяся тем, что длинный хвостовик сообщен с входом насоса через переточный канал, соединенный с корпусом золотникового клапана с возможностью открытия при перекрытии бокового канала короткого хвостовика.

3. Установка для добычи нефти одним насосом из разных интервалов горизонтального ствола скважины по п.2, отличающаяся тем, что внутрь скважины спущен дополнительный хвостовик, сообщающий вход насоса со средней зоной горизонтального ствола.

4. Установка для добычи нефти одним насосом из разных интервалов горизонтального ствола скважины по п.2, отличающаяся тем, что поршень подпружинен двумя пружинами, одна из которых выполнена предварительно сжатой примерно до середины рабочего хода поршня.

5. Установка для добычи нефти одним насосом из разных интервалов горизонтального ствола скважины, включающая два хвостовика разной длины, сообщенные с входом насоса, причем один из хвостовиков оснащен боковым каналом с управляемым золотниковым клапаном, соединенным штоком с поршнем силового цилиндра, одна из внутренних полостей которого сообщена трубкой с поверхностью для перемещения избыточным давлением поршня, перекрытия бокового канала с отсечением добываемого флюида из скважины, а другая полость цилиндра снабжена другой трубкой, отличающаяся тем, что хвостовики спущены в скважину параллельно, короткий из них оснащен управляемым клапаном, а длинный снабжен входом в удаленной зоне горизонтального ствола скважины, причем вторая трубка сообщена с выходом насоса.

6. Установка для добычи нефти одним насосом из разных интервалов горизонтального ствола скважины по п.5, отличающаяся тем, что длинный хвостовик сообщен с входом насоса через переточный канал, соединенный с корпусом золотникового клапана с возможностью открытия при перекрытии бокового канала короткого хвостовика.

7. Установка для добычи нефти одним насосом из разных интервалов горизонтального ствола скважины по п.6, отличающаяся тем, что внутрь скважины спущен дополнительный хвостовик, сообщающий вход насоса со средней зоной горизонтального ствола.

Описание

[1]

Изобретение относится к нефтегазодобывающей промышленности, в частности к средствам эксплуатации скважин с горизонтальными стволами, в том числе с применением тепловых методов.

[2]

Одним из наиболее эффективных методов эксплуатации месторождений с высоковязкой нефтью является метод «САГДИ», предусматривающий закачку пара в одну горизонтальную скважину и добычу нефти из другой, параллельной ей. При большой длине горизонтальной части стволов важен с точки зрения равномерности температурного фронта и нефтеотдачи пласта равномерный отбор продукции по всей его протяженности, который возможно обеспечить отбором продукции скважины одним насосом из нескольких точек горизонтального ствола.

[3]

Известна установка для одновременно-раздельной эксплуатации пластов (патент РФ №2339795, МПК Е21В 43/14, опубл. Бюл. №33, 27.11.2008), включающая электроцентробежный насос (ЭЦН), двигатель которого помещен в кожух с хвостовиками, сообщенными с разными пластами, подключенными к кожуху с помощью электроклапанов, управляемых станцией управления.

[4]

Наиболее близким по технической сущности к предлагаемой установке является оборудование одновременно-раздельной эксплуатации многопластовой скважины (патент РФ №2451164, МПК Е21В 43/14, опубл. Бюл. №14, 20.05.2012), содержащее колонны труб, сообщенные с насосом, золотниковый клапан, управляемый гидроцилиндром с подпружиненным поршнем.

[5]

Недостатками оборудования являются сложность конструкции и невозможность ее применения для отбора продукции из разных интервалов горизонтального ствола.

[6]

Техническими задачами, решаемыми предлагаемой установкой, являются упрощение конструкции и создание возможности для эксплуатации нескольких интервалов (зон) горизонтального ствола.

[7]

Указанные технические задачи решаются установкой для добычи нефти одним насосом из разных интервалов горизонтального ствола скважины, включающей два хвостовика разной длины, сообщенные с входом насоса, причем один из хвостовиков оснащен боковым каналом с управляемым золотниковым клапаном, соединенным штоком с поршнем силового цилиндра, внутренняя полость которого сообщена трубкой с поверхностью для перемещения избыточным давлением поршня, сжатия возвратной пружины и перекрытия бокового канала с отсечением добываемого флюида из скважины.

[8]

Новым является то, что хвостовики спущены в скважину параллельно, короткий из них оснащен управляемым клапаном, а длинный снабжен входом в удаленной зоне горизонтального ствола скважины.

[9]

Новым является также то, что длинный хвостовик сообщен с входом насоса через переточный канал, соединенный с корпусом золотникового клапана с возможностью открытия при перекрытии бокового канала короткого хвостовика.

[10]

Новым является также то, что внутрь скважины спущен дополнительный хвостовик, сообщающий вход насоса со средней зоной горизонтального ствола.

[11]

Новым является также то, что поршень подпружинен двумя пружинами, одна из которых выполнена предварительно сжатой примерно до середины рабочего хода поршня.

[12]

Указанные технические задачи решаются также установкой для добычи нефти одним насосом из разных интервалов горизонтального ствола скважины, включающей два хвостовика разной длины, сообщенные с входом насоса, причем один из хвостовиков оснащен боковым каналом с управляемым золотниковым клапаном, соединенным штоком с поршнем силового цилиндра, одна из внутренних полостей которого сообщена трубкой с поверхностью для перемещения избыточным давлением поршня, перекрытия бокового канала с отсечением добываемого флюида из скважины, а другая полость цилиндра снабжена другой трубкой.

[13]

Новым является то, что хвостовики спущены в скважину параллельно, короткий из них оснащен управляемым клапаном, а длинный снабжен входом в удаленной зоне горизонтального ствола скважины, причем вторая трубка сообщена с выходом насоса.

[14]

Новым является также то, что длинный хвостовик сообщен с входом насоса через переточный канал, соединенный с корпусом золотникового клапана с возможностью открытия при перекрытии бокового канала короткого хвостовика.

[15]

Новым является также то, что внутрь скважины спущен дополнительный хвостовик, сообщающий вход насоса со средней зоной горизонтального ствола.

[16]

На фиг. 1 показана схема установки, на фиг. 2 - вариант схемы установки с поочередной работой интервалов, на фиг. 3 - вариант схемы с дополнительным хвостовиком, на фиг. 4 - вариант схемы с дополнительной пружиной, на фиг. 5 - вариант схемы установки без пружины, на фиг. 6 - вариант схемы установки без пружины с поочередной работой интервалов ствола, на фиг. 7 - вариант схемы установки без пружины с дополнительным хвостовиком.

[17]

Установка на фиг. 1 содержит ЭЦН 1 с кожухом 2, замыкающимся на входном узле 3 с отверстиями 4, сообщенный выходом 5 с колонной лифтовых труб 6. Снизу к кожуху 2 присоединен длинный хвостовик 7, сообщенный с ним отверстием 8, и короткий 9, к которому присоединен корпус 10 золотникового клапана с боковым каналом 11. Внутри корпуса 10 перемещается золотник 12, соединенный штоком 13 с поршнем силового цилиндра 15, подпираемым возвратной пружиной 16. Внутренняя полость 17 силового цилиндра 15 сообщена трубкой 18 с поверхностью (на чертежах не показана).

[18]

Вход 19 длинного хвостовика 7 размещен в удаленной зоне 20 горизонтального ствола 21 с перфорированной эксплуатационной колонной (ЭК) 22 в продуктивном пласте 23.

[19]

Детали установки, не упоминающиеся в описании ее работы, позициями не обозначены.

[20]

Установка на фиг. 2 содержит те же основные элементы конструкции, что и на фиг. 1, но отличается тем, что длинный хвостовик 7 сообщен переточным каналом 24 с отверстием 25 в корпусе 10 золотникового клапана, а отверстие 8 заглушено.

[21]

Установка на фиг. 3 содержит те же основные элементы, что и на фиг. 1 и 2, но отличается тем, что кожух 2 снабжен дополнительным хвостовиком 26, сообщенным входом 27 со средней зоной 28 горизонтального ствола 21. Хвостовик 26 показан на чертеже внутри длинного хвостовика 7, хотя может быть выполнен снаружи параллельно длинному хвостовику 7.

[22]

Установка на фиг. 4 содержит те же основные элементы, что и на фиг. 1 и 2, но отличается тем, что внутри силового цилиндра 15 установлена дополнительная пружина 29, предварительно сжатая с помощью втулки 30 примерно до середины рабочего хода поршня 14.

[23]

Установка на фиг. 5 содержит те же основные элементы, что и на фиг. 1, но отличается тем, что отсутствует возвратная пружина 16, шток 13 загерметизирован уплотнением 31, а другая полость 32 силового цилиндра 15, расположенная по другую сторону поршня 14, снабжена второй трубкой 33, сообщенной с выходом 5 насоса 1.

[24]

Установка на фиг. 6 содержит те же основные элементы, что и на фиг. 2, но отсутствует возвратная пружина 16, шток 13 загерметизирован уплотнением 31, а другая полость 32 силового цилиндра, расположенная по другую сторону поршня 14, снабжена второй трубкой 33 с выходом 5 насоса 1.

[25]

Установка на фиг. 7 содержит те же основные элементы, что и на фиг. 3, но отсутствует возвратная пружина 16, шток 13 загерметизирован уплотнением 31, а другая полость 32 силового цилиндра 15, расположенная по другую сторону поршня 14, снабжена второй трубкой 33, сообщенной с выходом 5 насоса 1.

[26]

Кроме того, во всех вариантах схем кроме удаленной 20 и средней 28 зон горизонтального ствола 21 имеется ближняя зона 34 этого ствола 21.

[27]

Во всех вариантах конструкций золотник 10 имеет ограничители перемещения в крайних верхнем и нижнем положениях, на чертежах не показанные. Ограничители могут быть размещены в корпусе 10, силовом цилиндре, на кожухе и т.д.

[28]

Работает установка следующим образом.

[29]

При отсутствии давления в трубке 18 на фиг. 1 поршень 14 под действием пружины 16 находится в нижнем положении, золотник 10 упирается в нижний ограничитель. При этом боковой канал 11, сообщенный с коротким хвостовиком 9, открыт и жидкость, поступающая из пласта 23 через перфорацию ЭК 22 из ближней зоны 34 и средней 28 горизонтального ствола 21, движется через боковой канал 11, короткий хвостовик 9 на вход насоса 1 и перекачивается им через выход 5 и колонну лифтовых труб 6 на поверхность.

[30]

Одновременно продукция пласта из удаленной зоны 20 горизонтального ствола 21 через вход 19, длинный хвостовик 7 поступает в кожух 2, где, смешиваясь с продукцией из ближней 34 и средней 28 зон, также перекачивается насосом 1 на поверхность.

[31]

Для выравнивания температурного фронта в скважинах с тепловыми методами и выравнивания отбора жидкости из пласта 23 по мере необходимости подают с поверхности жидкость или газ под давлением через трубку 18 в полость 17 силового цилиндра 15. Поршень 14 под давлением жидкости перемещает вверх через шток 13 золотник 12, который, перемещаясь в корпусе 10, перекрывает боковой канал 11 и упирается в верхний ограничитель, при этом возвратная пружина 16 сжимается. На вход насоса 1 поступает жидкость из удаленной 20 и немного из средней 28 зон ствола 21. Установка работает в таком положении до выравнивания температурного фронта отбора жидкости, затем снова снижают давление в трубке 18. Поршень 14 под действием пружины 16 возвращается в исходное положение, боковой клапан 11 открывается и снова на вход насоса 1 поступает продукция из всех зон ствола 21.

[32]

Таким образом, ведут постоянную корректировку температурного фронта и отбора жидкости.

[33]

Установка на фиг. 2 работает следующим образом.

[34]

При отсутствии давления в трубке 18 поршень 14 находится в крайнем нижнем положении. При этом боковой канал 24 и отверстие 12 в корпусе 10 перекрыты золотником 12, находящимся в крайнем нижнем положении. На вход насоса 1 поступает жидкость из ближней 34 и немного из средней 28 зон ствола 21.

[35]

При подаче жидкости или газа в трубку 18 поршень 14 перемещает золотник 12 в крайнее верхнее положение. При этом боковой канал 11 закрывается, а отверстие 25 и канал 24 открываются и на вход насоса 1 поступает продукция из удаленной 20 и немного из средней 28 зон горизонтального ствола 21.

[36]

Периодическими переключениями регулируют температурный фронт и равномерный отбор жидкости из пласта 23.

[37]

Работа установки по фиг. 3 отличается тем, что через дополнительный хвостовик 26 и его вход 27 ведут постоянный отбор жидкости из средней зоны 28 горизонтального ствола 21 и периодическими переключениями, как по схеме на фиг. 2, регулируют отбор из ближней 34 и удаленной 20 зон горизонтального ствола 21.

[38]

Работа установки по фиг. 4 происходит следующим образом. При отсутствии давления в трубке 18 поршень 14 находится за счет давления пружины 16 в крайнем нижнем положении и золотник 12 упирается в нижний ограничитель. В этом положении отверстие 25 и переточный канал 24 перекрыты золотником, а боковой канал 11 открыт. На вход насоса 1 поступает продукция из ближней 34 и частично из средней 28 и удаленной 20 зон ствола 21.

[39]

При подаче жидкости или газа под давлением, например, в 5 МПа в трубку 18 поршень 14 перемещается до упора в предварительно сжатую с помощью втулки 30 дополнительную пружину 29. Для дальнейшего перемещения этого давления недостаточно и золотник 12 останавливается в промежуточном положении, при этом он наполовину перекрывает отверстие 25 и боковой канал 11. На вход насоса 1 поступает продукция из ближней зоны 34, удаленной 20 и частично из средней 28. Для обеспечения отбора только из удаленной зоны 20 повышают давление в трубке 18, например, до 10 МПа, поршень преодолевает усилие предварительного сжатия пружины 29 и далее, сжимая обе пружины 16 и 29, переводит золотник 12 в крайнее верхнее положение до упора в верхний ограничитель. При этом золотник 12 перекрывает боковой канал 11 и на вход насоса 1 поступает продукция пласта 23 по длинному хвостовику 7 из удаленной зоны 20.

[40]

Таким образом, данная схема позволяет отбирать продукцию одновременно из удаленной 20 и ближней 34 зон ствола 21 и по отдельности из каждой из них.

[41]

Работа установки по фиг. 5 отличается от работы установки по фиг. 1 тем, что при отсутствии давления рабочего агента в трубке 18 поршень 14 давлением жидкости с выхода 5 насоса 1, передаваемым по трубке 33 в другую полость 32 силового цилиндра 15, образуемую герметизацией уплотнением 31 штока 13, удерживает поршень 14 в нижнем крайнем положении с упором в нижний ограничитель. При этом боковой канал 11 открыт и на вход насоса 1 поступает продукция пласта 23 из ближней 34 и удаленной 20 зон ствола 21.

[42]

Для закрытия канала 11 и перехода на отбор из удаленной зоны 20 в трубку 18 подают рабочий агент с давлением, превышающим давление на выходе 5 насоса 1. Для возврата золотника 12 в нижнее положение давление в трубке 12 снимают и поршень 14 под давлением жидкости на выходе 5 насоса 1 перемещается в крайнее нижнее положение.

[43]

Работа установки по схеме на фиг. 6 происходит так же, как в установке по схеме на фиг. 2, а перевод золотника 12 из крайнего нижнего в крайнее верхнее положение осуществляют, как в установке по фиг. 5.

[44]

Работа установки по схеме на фиг. 7 осуществляют так же, как и в установке на фиг. 3, так же, как в установке по схеме на фиг. 2, а перевод золотника 12 из крайнего нижнего в крайнее верхнее положение осуществляют, как в установке по фиг. 5.

[45]

Таким образом, предлагаемая установка позволяет производить отбор продукции из пласта из двух или трех зон горизонтального ствола в зависимости от длины ствола и неоднородности пласта с возможностью регулирования отборов из этих зон.

Как компенсировать расходы
на инновационную разработку
Похожие патенты