патент
№ RU 2696441
МПК A61N5/06

Устройство для терапевтического воздействия на голову пациента

Авторы:
Рябоконь Дмитрий Селиверстович
Номер заявки
2017119070
Дата подачи заявки
31.05.2017
Опубликовано
01.08.2019
Страна
RU
Как управлять
интеллектуальной собственностью
Чертежи 
2
Реферат

Изобретение относится к медицинской технике. Устройство для терапевтического воздействия на голову пациента содержит источник питания и элемент воздействия, включающий излучатель, который является составной частью колебательного LC-контура, включенного в схему автогенератора, модулятор, выход которого соединен со схемой автогенератора, источник низкочастотного сигнала, у которого выход соединен с входом модулятора и который выполнен в виде аудиоплеера. Устройство содержит оптический излучатель, выполненный в виде 6 отрезков светодиодной ленты типа SMD 5050 - 60 LED RGB. Каждая светодиодная сборка содержит корпус, в котором установлены светодиоды трех цветов - красного с длиной волны 640 нм, зеленого с длиной волны 530 нм и синего с длиной волны 450 нм, каждый из 5 отрезков закреплен на основании внутри цилиндрического каркаса, при этом цепи питания светодиодов каждого цвета посредством контроллера подключены к выходным клеммам источника питания, содержит 24 светодиода инфракрасного излучения с длиной волны 880 нм. 2 ил.

Формула изобретения

Устройство для терапевтического воздействия на голову пациента, содержащее источник питания и элемент воздействия, включающий излучатель, который является составной частью колебательного LC-контура, включенного в схему автогенератора, модулятор, выход которого соединен со схемой автогенератора, источник низкочастотного сигнала, выполненный в виде аудиоплеера, в памяти которого записаны подобранные музыкальные произведения, каждое из которых является электрическим сигналом с постоянно меняющейся частотой и амплитудой, и усилителя мощности, у которого вход соединен с выходом аудиоплеера, а к выходам усилителя мощности подключены вход модулятора и электроакустический преобразователь, выполненный в виде наушников, отличающееся тем, что содержит дополнительно оптический излучатель, содержащий 6 отрезков светодиодной ленты типа SMD 5050 - 60 LED RGB, из которых один отрезок имеет длину 650 мм и содержит 39 светодиодных сборок, отрезок закреплен на внутренней поверхности цилиндрического каркаса, каждый из 5 отрезков имеет длину 150 мм и содержит 9 светодиодных сборок, каждая светодиодная сборка содержит корпус, в котором установлены светодиоды трех цветов - красного с длиной волны 640 нм, зеленого с длиной волны 530 нм и синего с длиной волны 450 нм, каждый из 5 отрезков закреплен на основании, которое закреплено внутри цилиндрического каркаса, при этом цепи питания светодиодов каждого цвета посредством контроллера подключены к выходным клеммам источника питания, содержит 24 светодиода инфракрасного излучения с длиной волны 880 нм, светодиоды установлены в матрицы, закрепленные на основании, цепи питания инфракрасных светодиодов подключены к выходным клеммам выпрямительного моста.

Описание

[1]

Изобретение относится к медицине, а именно к физиотерапевтическим устройствам для воздействия на голову пациента.

[2]

Предлагаемое устройство для физиотерапии может найти применение в неврологии и психотерапии при лечении ряда заболеваний.

[3]

Известен способ транскраниальной электромагнитной стимуляции мозга для лечения большого депрессивного расстройства у взрослых людей, которым не помогла традиционная терапия. Способ не требует введения электродов под кожу или через черепную коробку. Энергия электромагнитных импульсов излучается от индуктивного излучателя, одетого на голову пациента [1].

[4]

Известно устройство для терапевтического воздействия на голову пациента, содержащее источник питания и элемент воздействия, включающий излучатель, который является составной частью колебательного LC - контура, включенного в схему автогенератора, модулятор, выход которого соединен со схемой автогенератора, источник низкочастотного сигнала, выполненный в виде аудиоплеера, в памяти которого записаны подобранные музыкальные произведения, каждое из которых является электрическим сигналом с постоянно меняющейся частотой и амплитудой, и усилителя мощности, у которого вход соединен с выходом аудиоплеера, а к выходам усилителя мощности подключены вход модулятора и электроакустический преобразователь, выполненный в виде наушников.

[5]

Известное устройство для физиотерапии воздействует на голову пациента высокочастотными электромагнитными колебаниями, которые модулированы низкочастотными колебаниями подобранного музыкального произведения и одновременно воздействуют на слуховой анализатор (ухо) акустическими колебаниями этого музыкального произведения. Таким образом в известном устройстве для воздействия на голову пациента применяется высокочастотная электромагнитотерапия и музыкотерапия [2].

[6]

Это устройство может быть принято в качестве прототипа.

[7]

Для повышения эффективности лечения особую актуальность приобретают меры по совершенствованию существующих и созданию новых эффективных средств, методов реабилитации и профилактики, повышающих резервные возможности организма человека. Особый интерес вызывает использование цветотерапии.

[8]

Цветовая светотерапия (цветотерапия) - метод оздоровления организма, при котором элементарные частицы света фотоны воздействуют на процессы, происходящие в организме: осуществляют передачу информации из окружающей среды, а также внутри организма между клетками, тканями и органами, повышая энергетику, улучшают состояние иммунной системы, регулируют функции многих органов, из которых некоторые являются светозависимыми, задают и поддерживают ритм суточных колебаний в работе систем и органов, активизируют синтез в коже витамина Д3, необходимого для отложения кальция в костной ткани [3, 4].

[9]

Цветолечение стимулирует фотобиоактивацию в биологическом объекте на молекулярном, клеточном, органном и системном уровнях.

[10]

Целебные свойства цвета обусловлены влиянием электромагнитных волн светового диапазона. Энергия фотонов видимого спектра соответствует энергиям физиологической трансформации молекул, что при воздействии создает условия для возбуждения определенных специфических изменений в биологических структурах. Излучения видимого диапазона широко используется в медицине для стимуляции метаболических процессов. Электромагнитное излучение светового диапазона стимулирует тканевый обмен и улучшает микроциркуляцию. Цветовая энергия оказывает положительное воздействие на работу клеток организма человека.

[11]

Задача изобретения - расширение арсенала технических средств для физиотерапии в области неврологии.

[12]

Технический результат - повышение лечебных возможностей

[13]

Технический результат достигается тем, что устройство для терапевтического воздействия на голову пациента, содержащее источник питания и элемент воздействия, включающий излучатель, который является составной частью колебательного LC -контура, включенного в схему автогенератора, модулятор, выход которого соединен со схемой автогенератора, источник низкочастотного сигнала, выполненный в виде аудиоплеера, в памяти которого записаны подобранные музыкальные произведения, каждое из которых является электрическим сигналом с постоянно меняющейся частотой и амплитудой, и усилителя мощности, у которого вход соединен с выходом аудиоплеера, а к выходам усилителя мощности подключены вход модулятора и электроакустический преобразователь, выполненный в виде наушников, согласно изобретению, содержит дополнительно оптический излучатель, содержащий 6 отрезков светодиодной ленты типа SMD 5050 - 60 LED RGB, из которых один отрезок имеет длину 650 мм и содержит 39 светодиодных сборок, отрезок закреплен на внутренней поверхности цилиндрического каркаса, каждый из остальных 5 отрезков имеет длину 150 мм и содержит 9 светодиодных сборок, каждая светодиодная сборка содержит корпус, в котором установлены светодиоды трех цветов - красного с длиной волны 640 нм, зеленого с длиной волны 530 нм и синего с длиной волны 450 нм, каждый из 5 отрезков закреплен на основании, которое закреплено внутри цилиндрического каркаса, при этом цепи питания светодиодов каждого цвета посредством контроллера подключены к выходным клеммам источника питания, содержит 24 светодиода инфракрасного излучения с длиной волны 880 нм, светодиоды установлены в матрицы, закрепленные на основании, цепи питания инфракрасных светодиодов подключены к выходным клеммам выпрямительного моста

[14]

Сущность изобретения заключается в том, что устройство для терапевтического воздействия на голову пациента, содержащее источник питания и элемент воздействия, включающий излучатель, который является составной частью колебательного LC -контура, включенного в схему автогенератора, модулятор, выход которого соединен со схемой автогенератора, источник низкочастотного сигнала, выполненный в виде аудиоплеера, в памяти которого записаны подобранные музыкальные произведения, каждое из которых является электрическим сигналом с постоянно меняющейся частотой и амплитудой, и усилителя мощности, у которого вход соединен с выходом аудиоплеера, к выходам усилителя мощности подключены вход модулятора и электроакустический преобразователь, выполненный в виде наушников, содержит дополнительно оптический излучатель, содержащий 6 отрезков светодиодной ленты типа SMD 5050 - 60 LED RGB, из которых один отрезок имеет длину 650 мм и содержит светодиодных 39 сборок, отрезок закреплен на внутренней поверхности цилиндрического каркаса, каждый из остальных 5 отрезков имеет длину 150 мм и содержит 9 светодиодных сборок, каждая светодиодная сборка содержит корпус, в котором установлены светодиоды трех цветов - красного с длиной волны 640 нм, зеленого с длиной волны 530 нм и синего с длиной волны 450 нм, каждый из 5 отрезков закреплен на основании, которое закреплено внутри цилиндрического каркаса, при этом цепи питания светодиодов каждого цвета посредством контроллера подключены к выходным клеммам источника питания, содержит 24 светодиода инфракрасного излучения с длиной волны 880 нм, светодиоды установлены в матрицы, закрепленные на основании, цепи питания инфракрасных светодиодов подключены к выходным клеммам выпрямительного моста.

[15]

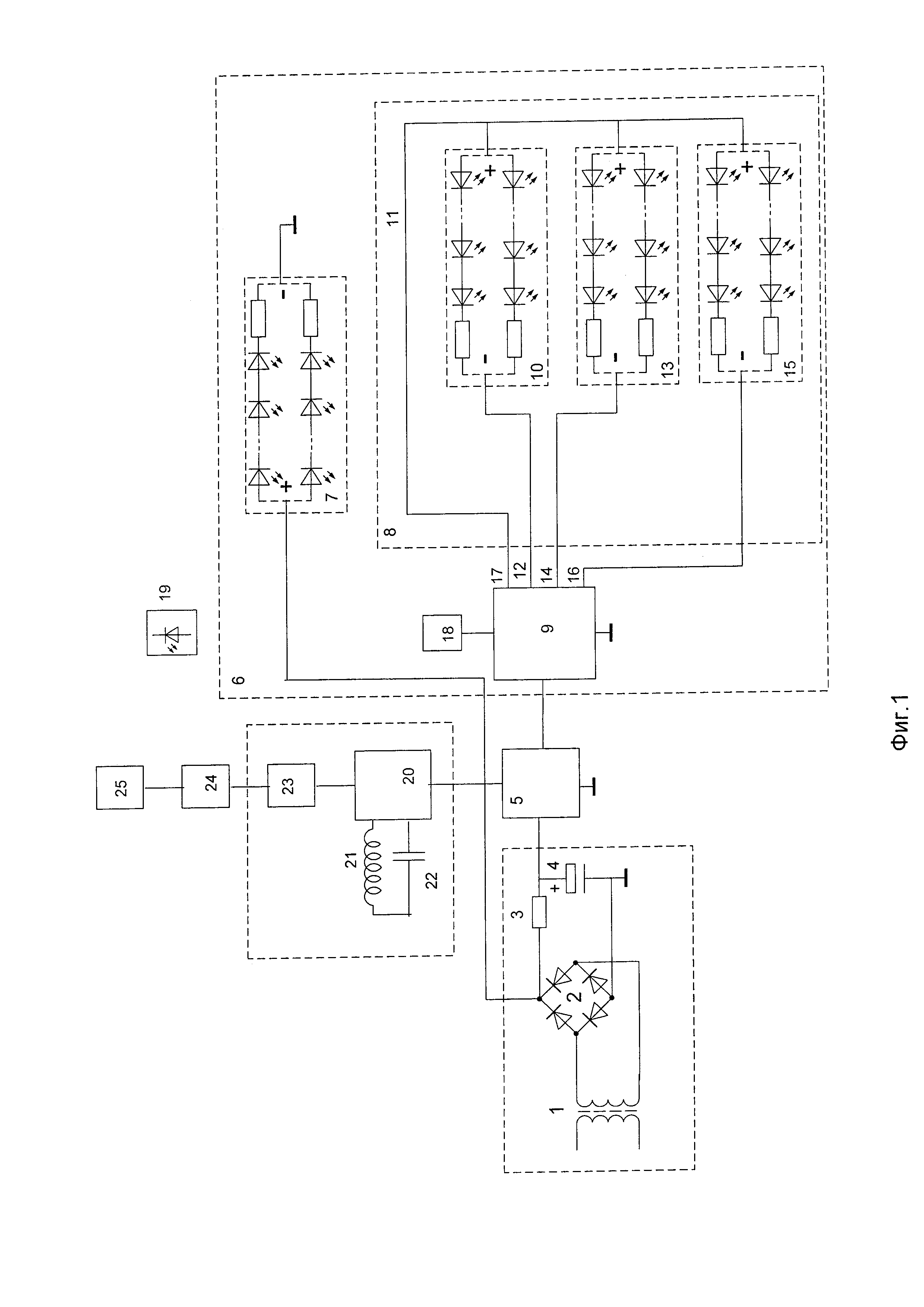
На фиг. 1 приведена функциональная схема аппарата для физиотерапии, на фиг. 2 изображен элемент воздействия.

[16]

Устройство (см. фиг. 1) содержит источник питания, содержащий понижающий трансформатор 1 и мостиковый выпрямитель 2, у которого к выходу <+> подключен первый вывод резистора 3, а к выходу <-> общая шина. Второй вывод резистора 3 соединен с первым выводом конденсатора 4 и входом таймера 5. Второй вывод конденсатора 4 и минусовая клемма таймера 5 соединены с общей шиной. Устройство содержит оптический излучатель 6, включающий инфракрасный излучатель 7, и излучатель красного, зеленого и синего света 8, а также контроллер 9, у которого вход соединен с выходом таймера 5. Излучатель 8 содержит систему красного света 10 с длиной волны 640 нм, содержащую Р светодиодов, у которой контакт <+> соединен с общим проводом 11, а контакт <-> соединен с входом 12 контроллера 9. Систему зеленого света 13 с длиной волны 530 нм, содержащую Р светодиодов, у которой контакт <+> соединен с общим проводом 11, а контакт <-> соединен с входом 14 контроллера 9. Систему синего света 15 с длиной волны 450 нм, содержащую Р светодиодов, у которой контакт <+> соединен с общим проводом 11, а контакт <-> соединен с входом 16 контроллера 9. Общий провод 11 соединен с входом 17 контроллера 9. Система инфракрасного излучения 7 содержит К светодиодов с длиной волны 880 нм, у которой контакт - соединен с общей шиной, а контакт <+> соединен с контактом <+> диодного моста 2. Для управления многоцветной светодиодной подсветкой контроллер снабжен инфракрасным датчиком приема сигналов управления 18. В комплект также входит дистанционный пульт управления 19. С помощью пульта 19 можно выбрать несколько режимов плавной и динамической смены цвета. К выходу таймера 5 подключены схема автогенератора 20, содержащая колебательный контур, состоящий из катушки индуктивности 21 и конденсатора 22. К схеме автогенератора 20 подключен выход модулятора 23, у которого вход соединен с выходом источника низкочастотного сигнала 24, роль которого выполняет аудиоплеер с усилителем мощности 24. В памяти аудиоплеера записанны подобранные музыкальные произведения. К выходу источника низкочастотного сигнала 24 подключены наушники 25. Катушка индуктивности 21 выполняет роль индуктивного излучателя для воздействия на голову пациента электромагнитными колебаниями, которые амплитудно модулированы низкочастотным сигналом, источником которых является специально подобранное музыкальное произведение.

[17]

На фиг. 2 изображен элемент воздействия, содержащий диэлектрический каркас 26, имеющий форму цилиндра, с диаметром 210 мм, на боковой поверхности которого размещена обмотка катушки индуктивности 21. Внутри каркаса закреплена диэлектрическая пластина 27, на которой с одной стороны закреплены 5 отрезков светодиодной ленты 28, каждый из которых имеет длину 150 мм, матрицы с инфракрасными светодиодами 29 и колонки 30, а на противоположной стороне закреплен корпус 31, внутри которого установлены гибридная схема, содержащая элементы схем автогенератора 20 и модулятора 23, а также схема контроллера 9. На внутренней поверхности каркаса 26 закреплен отрезок светодиодной ленты 32 длиной 650 мм. Гибридная схема при помощи кабеля соединены с отдельным функциональным блоком, который содержит источник питания, таймер и источник низкочастотного сигнала. Оптический излучатель выполнен в виде 6 отрезков 29 светодиодной ленты типа SMD 5050 - 60 LED RGB, Каждый отрезок закреплен на основании при помощи клея и содержит 3 модуля. Длина отрезка 150 мм. Каждый модуль имеет длину 50 мм и содержит 3 светодиодных сборки и 3 резистора. Каждая светодиодная сборка содержит корпус, в котором установлены светодиод красного цвета с длиной волны 640 нм, светодиод зеленого цвета с длиной волны 530 нм и светодиод синего цвета с длиной волны 450 нм. Все светодиоды имеют отдельные выводы. У каждого модуля светодиоды одного цвета и один резистор соединены последовательно и образуют цепь питания одного цвета. Цепи питания всех модулей соединены параллельно. Светодиоды одного цвета всех модулей образуют систему соответствующего цвета. Вывод <-> у каждой системы соединен с отдельным проводом. Вывод <+> у каждой системы соединен с общим проводом. При числе отрезков N=5 (см. фиг. 2) число модулей 15, число светодиодных сборок 45. Каждая система содержит 45 светодиодов и 15 резисторов. В устройстве применяется контролер марки RGB-контроллер ZC - 1000 RC. Вход контроллера соединен с выходом таймера, к выходным клеммам подключены общая <+> цепь и <-> цепи соответствующих систем.. Контроллер предназначен для управления многоцветными системами. Контроллер управляется при помощи инфракрасного пульта. При помощи пульта можно выбрать 7 основных цветов, 3 режима изменения яркости свечения, несколько режимов плавной и динамической смены цвета. Режим работы излучателя импульсно - периодический. Цепь питания инфракрасных светодиодов подключена к <+> <-> контактам выпрямительного моста, где имеется напряжение постоянного тока с пульсацией 100 Гц.

[18]

Таким образом инфракрасное излучение модулируется частотой 100 Гц.

[19]

Источник питания выполнен в виде сетевого адаптера. Выходное напряжение 12 В.

[20]

Устройство работает следующим образом. Предварительно подбирается музыкальное произведение. Подбирается режим работы контроллера и таймера. Элемент воздействия размещается на голове пациента. Устанавливается время процедуры на таймере. Выбирается режим контроллера.

[21]

Включается питание, напряжение от источника подается на излучатель. По истечении времени таймер отключает питание.

[22]

Продолжительность процедуры определяется медицинской методикой в каждом отдельном случае.

[23]

Технический результат - повышение лечебных возможностей В сравнении с прототипом получен более высокий лечебный эффект за счет увеличения числа факторов воздействующих на биологические ткани, а именно, одновременно с электромагнитотерапией и музыкотерапией дополнительно оказывает воздействие цветотерапия.

[24]

Источники информации

[25]

1. Транскраниальная электростимуляция, под ред, Д.П. Дворецкого, Санкт-Петербург, РАН Институт физиологии им. И.П. Павлова, 1998, стр 482 - 487

[26]

2. Патент РФ №101363, МПК A61N 2/04 Опубл. 20.01.2011 Бюл. №02

[27]

3. Зверев В.А. // В сб. Визуальная цветостимуляция в рефлексологии, неврологии, терапии и офтальмологии под ред. B.C. Гойденко, - РМА. - М. - 1998. - с. 86

[28]

4. В.П. Жаров и др. Фотоматричные аппараты для терапии пространственно-протяженных патологий. Биомедицинская радиоэлектроника, 1999 г. №5, с. 46-48.

[29]

5. Л.С. Брусиловский, Музыкотерапия: Руководство по психотерапии. - М.: Медицина, 1979 г.

[30]

6. С.В. Шушаружан. Музыкотерапия и резервы человеческого организма. М.: 1998 г.

Как компенсировать расходы
на инновационную разработку
Похожие патенты