патент
№ RU 2694162
МПК G01F9/00

СПОСОБ АВТОМАТИЧЕСКОГО НОРМИРОВАНИЯ РАСХОДА ТОПЛИВА ДЛЯ ТРАНСПОРТНЫХ СРЕДСТВ

Авторы:
Мороз Сергей Маркович
Номер заявки
2018133102
Дата подачи заявки
18.09.2018
Опубликовано
09.07.2019
Страна
RU
Как управлять
интеллектуальной собственностью
Чертежи 
2
Реферат

Изобретение относится к области измерительной техники и может быть использовано на транспорте при эксплуатации транспортных средств. Способ заключается в том, что на транспортное средство предварительно устанавливают бортовой программно-аппаратный комплекс. Задают продолжительность цикла контроля, делят ее на короткие периоды, а диапазоны возможного изменения параметров режима работы и условий эксплуатации транспортного средства - на узкие интервалы. Предварительно с помощью программно-аппаратного комплекса в автоматическом режиме регистрируют в каждом периоде контроля показатели режима работы, условий эксплуатации, наработки и расхода топлива транспортным средством под управлением «образцового» водителя. Для каждого сочетания интервалов, которым принадлежат показатели режима работы и условий эксплуатации, раздельно рассчитывают интервальную норму удельного расхода топлива, а в процессе применения полученного пакета интервальных норм регистрируют в каждом периоде контроля показатели режима работы, условий эксплуатации и фактической наработки транспортного средства. Норму удельного расхода топлива рассчитывают по завершении цикла контроля как сумму произведений каждой из интервальных норм на фактическую наработку для соответствующего сочетания интервалов показателей условий и режима работы в пределах цикла контроля, отнесенную к фактической наработке за цикл контроля. Технический результат - обеспечение возможностей автоматического формирования норм расхода, адекватных изменяющимся условиям эксплуатации и режимам работы транспортного средства по результатам предварительного автоматического контроля наработки и расхода топлива. 2 з.п. ф-лы, 4 ил.

Формула изобретения

1. Способ автоматического нормирования расхода топлива для транспортных средств, заключающийся в том, что выделяют режимы работы, влияющие на расход топлива, предварительно регистрируют показатели наработки и расхода топлива транспортным средством в каждом режиме работы, на основе которых рассчитывают частные нормы удельного расхода для каждого режима работы, а после регистрации рассчитывают норму расхода топлива за время работы как сумму произведений частных норм удельного расхода в каждом режиме работы на фактическую наработку транспортного средства в том же режиме, отличающийся тем, что выделяют условия эксплуатации, влияющие на расход топлива, и продолжительность цикла контроля, который делят на периоды, а диапазоны возможного изменения параметров режима работы и условий эксплуатации транспортного средства - на интервалы, предварительно в автоматическом режиме регистрируют в каждом периоде контроля показатели режима работы, условий эксплуатации, наработки и расхода топлива транспортным средством под управлением «образцового» водителя и для каждого сочетания интервалов, которым принадлежат показатели режима работы и условий эксплуатации, раздельно рассчитывают интервальную норму удельного расхода топлива, а в процессе применения полученного пакета интервальных норм регистрируют в каждом периоде контроля показатели режима работы, условий эксплуатации и фактической наработки транспортного средства, а после регистрации норму удельного расхода топлива рассчитывают для цикла контроля как сумму произведений каждой из интервальных норм на фактическую наработку для соответствующего сочетания интервалов показателей условий и режима работы, отнесенную к фактической наработке за цикл контроля.

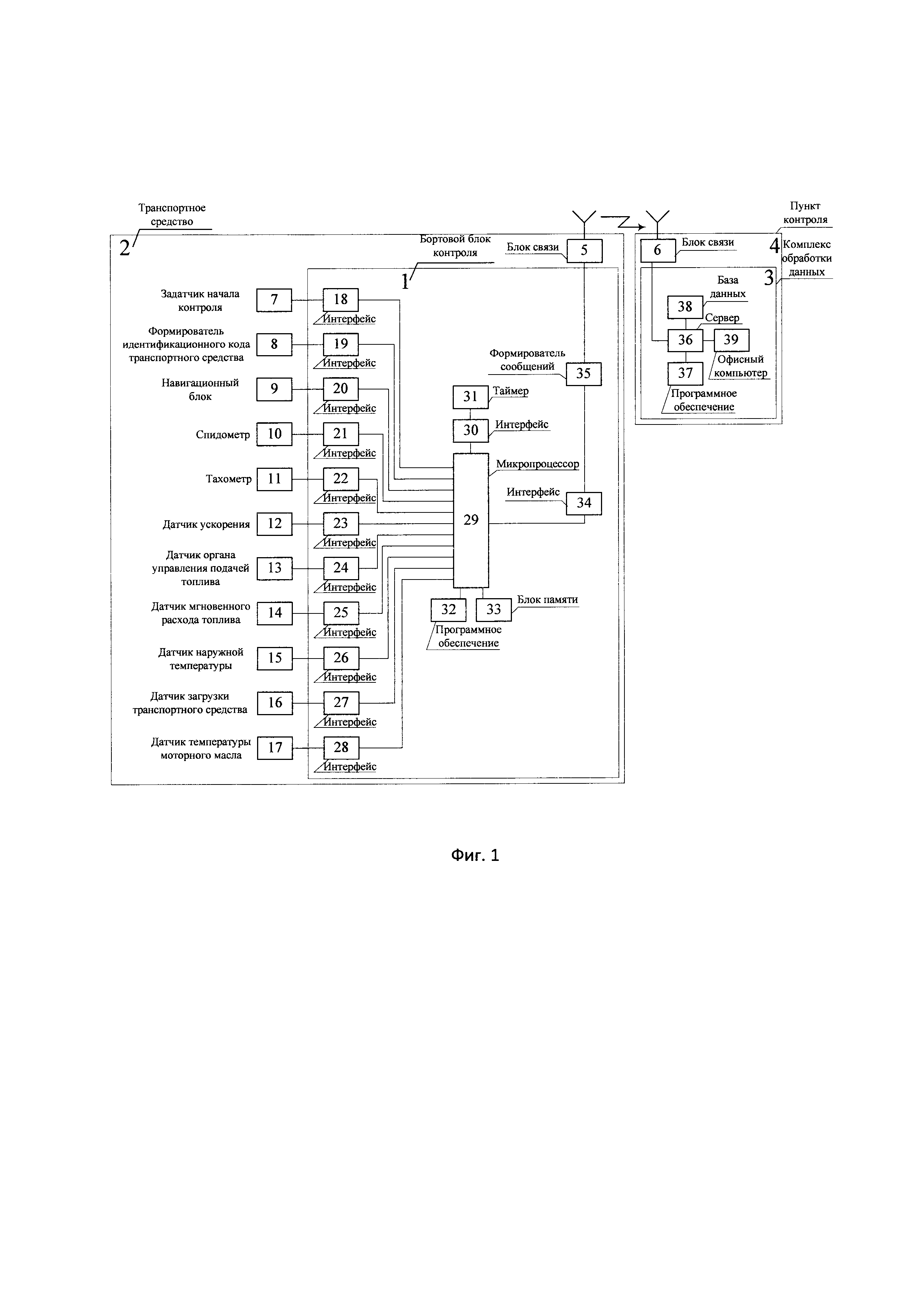
2. Способ п. 1, отличающийся тем, что условия эксплуатации транспортного средства регистрируют, в том числе, по показателям наружной температуры, температуры моторного масла, средней скорости движения и загрузки транспортного средства, а режимы работы транспортного средства - по показателям, в том числе, скорости движения и ускорения, сигнала управления подачей топлива; частоты вращения коленчатого вала двигателя.

3. Способ п. 1, отличающийся тем, что формирование интервальных норм осуществляют на начальном этапе эксплуатации транспортного средства и после каждой замены или капитального ремонта двигателя, а расчет нормы удельного расхода топлива - по завершении цикла контроля.

Описание

[1]

Изобретение относится к области измерительной техники и может быть использовано на транспорте при эксплуатации транспортных средств.

[2]

Известен способ нормирования расхода топлива для транспортных средств, эксплуатируемых на маршрутных перевозках, заключающийся в том, что эмпирически выделяют условия эксплуатации транспортных средств, наиболее влияющие на расход топлива, задают цикл контроля, предварительно регистрируют показатели наработки и расхода топлива на маршруте при условии управления транспортным средством «образцовым» водителем в определенных условиях эксплуатации, формируют регрессионные зависимости расхода топлива на маршруте от показателей условий эксплуатации, а затем для каждого маршрута рассчитывают маршрутные нормы раздельно для каждого типа транспортного средства, каждого интервала внешней температуры и других условий эксплуатации на основе предварительно сформированных регрессионных зависимостей [1].

[3]

Недостатками известного способа является их ограниченная применимость только на перевозках по регулярным маршрутам; необходимость многократного пересмотра норм при изменениях маршрутов, интенсивности движения, наружных температур, при обновлении типов транспортных средств и даже их старении; чрезмерная трудоемкость нормирования с привлечением квалифицированных специалистов с новыми компетенциями и невозможности автоматизации нормирования.

[4]

Наиболее близким техническим решением является способ нормирования расхода топлива машинно-тракторным агрегатом, заключающийся в том, что предварительно выделяют режимы работы, влияющие на расход топлива, причем при формировании норм регистрируют показатели наработки и расхода топлива в каждом режиме работы, на основе которых рассчитывают частные нормы удельного расхода для каждого режима работы, а после регистрации рассчитывают норму расхода топлива за время работы как сумму произведений частных норм на фактическую наработку в том же режиме [2].

[5]

Недостатками известного способа являются необходимость многократного повторения процедуры нормирования при изменениях условий эксплуатации или режима работы транспортного средства при смене маршрутов, времен года и износа транспортного средства; чрезмерная трудоемкость нормирования в связи с необходимостью предварительного определения вида математических зависимостей для корректирования норм расхода топлива в зависимости от условий эксплуатации и режима работы; необходимость привлечения квалифицированных специалистов с новыми компетенциями и невозможность автоматизации нормирования.

[6]

Технической задачей, на решение которой направлено изобретение, является обеспечение возможностей автоматического формирования норм расхода, адекватных изменяющимся условиям эксплуатации и режимам работы транспортного средства по результатам предварительного автоматического контроля наработки и расхода топлива.

[7]

Решение поставленной технической задачи достигается тем, что в способе автоматического нормирования расхода топлива для транспортных средств, заключающемся в том, что выделяют режимы работы, влияющие на расход топлива, предварительно регистрируют показатели наработки и расхода топлива транспортным средством в каждом режиме работы, на основе которых рассчитывают частные нормы удельного расхода для каждого режима работы, а после регистрации рассчитывают норму расхода топлива за время работы как сумму произведений частных норм удельного расхода в каждом режиме работы на фактическую наработку транспортного средства в том же режиме, согласно изобретению задают условия эксплуатации, влияющие на расход топлива, и продолжительность цикла контроля, который делят на периоды, а диапазоны возможного изменения параметров режима работы и условий эксплуатации транспортного средства - на интервалы, предварительно в автоматическом режиме регистрируют в каждом периоде контроля показатели режима работы, условий эксплуатации, наработки и расхода топлива транспортным средством под управлением «образцового» водителя и для каждого сочетания интервалов, которым принадлежат показатели режима работы и условий эксплуатации, раздельно рассчитывают интервальную норму удельного расхода топлива, а в процессе применения полученного пакета интервальных норм регистрируют в каждом периоде контроля показатели режима работы, условий эксплуатации и фактической наработки транспортного средства, а после регистрации норму удельного расхода топлива рассчитывают для цикла контроля как сумму произведений каждой из интервальных норм на фактическую наработку для соответствующего сочетания интервалов показателей условий и режима работы, отнесенную к фактической наработке за цикл контроля.

[8]

Решение поставленной технической задачи достигается также тем, что условия работы транспортного средства регистрируют, в том числе, по показателям наружной температуры, температуры моторного масла, средней скорости движения и загрузки транспортного средства, а режимы работы транспортного средства - по показателям скорости движения и ускорения, сигнала управления подачей топлива; частоты вращения коленчатого вала двигателя.

[9]

Решение поставленной технической задачи достигается также тем, что формирование интервальных норм осуществляют на начальном этапе эксплуатации транспортного средства и после замен или капитального ремонта двигателя, а расчет нормы удельного расхода топлива - по завершении цикла контроля.

[10]

Обеспечение возможностей автоматического формирования норм расхода, адекватных изменяющимся режимам работы и условиям эксплуатации по результатам автоматического контроля и накопления данных по наработке и расходу топлива транспортным средством достигается за счет предварительного деления цикла контроля на периоды, а диапазонов возможного изменения показателей режима работы и условий эксплуатации - на интервалы, при этом для каждого сочетания определенных периода и интервала устанавливается интервальная норма расхода топлива. Причем норму удельного расхода топлива рассчитывают не до начала работы, а по завершении цикла контроля с использованием пакета предварительно подготовленных интервальных норм и данных о наработке транспортного средства при каждом сочетании показателей режима работы и условий эксплуатации.

[11]

Способ автоматического нормирования расхода топлива для транспортных средств состоит в том, что предварительно выделяют для последующего контроля условия эксплуатации транспортного средства, наиболее влияющие на расход топлива.

[12]

Продолжительность цикла контроля задают меньшей продолжительности рейса, ездки, или рабочей смены водителя. При этом цикл контроля делят на периоды, в каждом из которых повторяется выполнение операций контроля.

[13]

Диапазоны возможного изменения показателей режима работы и условий эксплуатации транспортного средства предварительно делят на интервалы, в каждом из которых имеют место значения расхода топлива.

[14]

Предварительно в каждом периоде контроля показатели условий эксплуатации, режима работы, наработки и расхода топлива регистрируют в автоматическом режиме при условии управления транспортным средством «образцовым» водителем. Накопленные значения характеризуют расход топлива при определенных сочетаниях интервалов показателей режима работы и условий эксплуатации, а управление транспортным средством «образцовым» водителем минимизирует влияние человеческого фактора.

[15]

Рассчитывают пакет интервальных норм удельного расхода топлива, каждая из которых соответствует определенному сочетанию интервалов показателей режима работы и условий эксплуатации.

[16]

В процессе применения пакета интервальных норм при эксплуатации транспортного средства регистрируют в каждом периоде контроля показатели наработки, режима работы и условий эксплуатации.

[17]

Рассчитывают норму удельного расхода топлива для цикла контроля как сумму произведений каждой из полученных ранее интервальных норм на фактическую наработку транспортного средства для зарегистрированного сочетания интервалов показателей условий и режима работы, отнесенную к фактической наработке за цикл контроля.

[18]

Условия эксплуатации транспортного средства регистрируют, в том числе, по показателям наружной температуры, температуры моторного масла, средней скорости движения и загрузки транспортного средства.

[19]

Режимы работы транспортного средства регистрируют в автоматическом режиме по сочетаниям показателей, в том числе, скорости движения и ускорения, сигнала управления подачей топлива, частоты вращения коленчатого вала двигателя.

[20]

Формирование норм осуществляют на начальном этапе эксплуатации транспортного средства и после каждой замены или капитального ремонта двигателя.

[21]

Расчет нормы удельного расхода топлива осуществляют по завершении цикла контроля.

[22]

Изобретение поясняется чертежами, где на фиг. 1 представлена схема программно-аппаратного комплекса бортовых и внешних программно-технических средств, реализующих способ автоматического нормирования расхода топлива для транспортных средств. На фиг. 2 изображены схематически графики одновременного изменения параметров режима работы транспортного средства, например, скорости движения V и частоты вращения n коленчатого вала двигателя. На фиг. 3 изображены схематически графики одновременного изменения параметров условий эксплуатации, например, наружной температуры Т и загрузки G транспортного средства. На фиг. 4 изображен схематически график изменения расхода топлива h.

[23]

Способ автоматического нормирования расхода топлива для транспортных средств осуществляют в автоматическом режиме с использованием программно-аппаратного комплекса, бортовые блоки 1 контроля которого размещают на транспортных средствах 2, а внешний комплекс 3 обработки данных - в пункте 4 контроля, например на автотранспортном предприятии, станции технического обслуживания или ином специализированном предприятии. Бортовые блоки 1 контроля на транспортных средствах связывают с комплексом 3 обработки данных каналы телеметрической передачи данных посредством блоков 5 связи на транспортных средствах и блоков 6 связи в пункте 4 контроля. Блоки 5 и 6 связи могут быть реализованы средствами мобильной радиосвязи, например, с использованием CDMA модемов.

[24]

Входы бортового блока 1 подсоединены к выходам установленных на транспортном средстве управляемого задатчика 7 начала контроля, формирователя 8 идентификационного кода транспортного средства, навигационного блока 9, спидометра 10, тахометра 11, датчика 12 ускорения, датчика 13 органа управления подачей топлива, датчика 14 расхода топлива, датчика 15 наружной температуры, датчика 16 загрузки транспортного средства, датчика 17 температуры моторного масла, которые через соответствующие интерфейсы 18-28 связаны со входами микропроцессора 29. К другому входу микропроцессора 29 через интерфейс 30 подключен таймер 31. Микропроцессор 29 снабжен программным обеспечением 32, блоком 33 памяти и через последовательно соединенные интерфейс 34 и формирователь 35 сообщений связан с блоком 5 связи на транспортном средстве 2.

[25]

Комплекс 3 обработки данных включает в себя сервер 36, снабженный программным обеспечением 37, и формируемую им базу данных 38. Сервер 36 своим входом связан с выходом размещенного в пункте 4 контроля блока 6 связи, а своим выходом - с офисным компьютером 39.

[26]

В качестве спидометра 10, тахометра 11, датчика 13 органа управления подачей топлива, датчика 14 расхода топлива, датчика 15 наружной температуры, датчика 16 загрузки транспортного средства, датчика 17 температуры моторного масла могут быть использованы штатные цифровые спидометр, тахометр и штатные интеллектуальные датчики транспортного средства с цифровым выходом или специально введенные в его конструкцию интеллектуальные компоненты, а вместо навигационного блока 9 - штатный цифровой одометр транспортного средства.

[27]

Способ автоматического нормирования расхода топлива для транспортных средств реализуется следующим образом.

[28]

В таймер 31 вносят задаваемую продолжительность периода контроля, в формирователь 8 - идентификационный код транспортного средства, а в блок 33 памяти микропроцессора 29 - границы интервалов показателей режимов работы и условий эксплуатации транспортного средства. При этом режимы работы транспортного средства регистрируют по показателям, в том числе, скорости движения, сигнала управления подачей топлива, частоты вращения коленчатого вала двигателя, а условия эксплуатации - по показателям, в том числе, наружной температуры, загрузки транспортного средства, температуры моторного масла.

[29]

Предварительно при рабочем функционировании транспортного средства под управлением «образцового» водителя накапливают в автоматическом режиме с помощью программно-аппаратного комплекса базовые значения расхода топлива в разных сочетаниях показателей режима работы и условий эксплуатации. По сигналу управляемого оператором задатчика 7 начала контроля при рабочем функционировании транспортного средства бортовой блок 1 включает циклический отсчет таймером 31 продолжительности периодов контроля. Отсчет указанных периодов таймер 31 повторяет до автоматического выключения после накопления базовых значений расхода для всех сочетаний показателей режима работы и условий эксплуатации транспортного средства, имеющих место при эксплуатации.

[30]

С началом первого и каждого последующего циклов контроля микропроцессор 29 в автоматическом режиме производит периодические обращения с периодом ts, меньшим цикла tц контроля, через интерфейсы 18-28 к выходам формирователя 8 идентификационного кода транспортного средства, навигационного блока 9, спидометра 10, тахометра 11, датчика 12 ускорений транспортного средства, датчика 13 органа управления подачей топлива, датчика 14 расхода топлива, датчика 15 наружной температуры, датчика 16 загрузки транспортного средства, датчика 17 температуры моторного масла.

[31]

Полученные в цифровой форме выходные сигналы указанных формирователя 8 идентификационного кода транспортного средства, навигационного блока 9, спидометра 10, тахометра 11, датчика 12 ускорений транспортного средства, датчика 13 органа управления подачей топлива, датчика 14 расхода топлива, датчика 15 наружной температуры, датчика 16 загрузки транспортного средства, датчика 17 температуры моторного масла, характеризующие в совокупности показатели режима работы, условий эксплуатации, наработки и расхода топлива транспортного средства за период ts контроля микропроцессор 29 заносит в блок 33 памяти вместе с поступившим от формирователя 8 идентификационным кодом транспортного средства, номером периода контроля, датой и временем выполнения контроля. Кроме того, микропроцессор 29 рассчитывает и также заносит в блок 33 памяти среднюю скорость движения транспортного средства за ряд периодов контроля.

[32]

Контроль показателей режима работы, условий эксплуатации, наработки и расхода топлива транспортного средства схематически иллюстрируется графиками на фиг. 2-4.

[33]

На фиг. 2 показаны графики изменения параметров, отражающих режим работы транспортного средства, например, скорости движения V и частоты вращения т коленчатого вала двигателя. Пределы возможного изменения указанных параметров разделены на интервалы, отмеченные на графиках фиг. 2 пунктиром и обозначенные соответственно v1, v2, v3, …, va и n1, n2, n3, …, nq. Кроме того, на этих же графиках V и n отмечены циклы tц и периоды ts контроля. Продолжительность периодов ts контроля выбирается такой, чтобы изменения параметров условий эксплуатации в пределах периода были незначительны.

[34]

На фиг. 3 показаны схематически графики изменения параметров условий эксплуатации транспортного средства, например, наружной температуры Т и загрузки G транспортного средства. Пределы возможного изменения указанных параметров разделены на интервалы, отмеченные на графиках фиг. 3 пунктиром и обозначенные соответственно e1, е2, е3, …, em и g1, g2, g3, …, gc. На этих же графиках показаны циклы tц и периоды ts контроля, те же, что и на фиг. 2.

[35]

График на фиг. 4 схематически иллюстрирует изменение расхода топлива h в зависимости от времени при изменениях режимов работы и условий эксплуатации транспортного средства. На графике отмечены те же циклы tц и периоды ts контроля, что и на фиг. 2 и 3. В каждом периоде ts контроля программное обеспечение 32 микропроцессора 29 автоматически рассчитывает расход топлива за этот период нарастающим итогом.

[36]

Таким образом программное обеспечение 32 микропроцессора 29 формирует и регистрирует в блоке 33 памяти пакет данных, включающий идентификационный код транспортного средства, номера цикла tц и периода ts контроля, дату и время выполнения контроля, наработку транспортного средства и расход топлива нарастающим итогом за период ts контроля.

[37]

По окончании периода контроля, задаваемого таймером 31 с помощью интерфейса 30, микропроцессор 29 передает с помощью интерфейса 34 из блока 33 памяти в формирователь 35 сообщений пакет данных, занесенный в блок 33 памяти. Из формирователя 35 сообщений пакет данных с результатами контроля поступает в блок связи 5, который передает его по радиоканалу на приемный блок 6 связи комплекса 3 обработки данных в пункте 4 контроля.

[38]

Указанные операции бортовой блок 1 контроля повторяет для каждого из периодов ts контроля до завершения предварительного накопления данных для сочетаний интервалов, которым принадлежат регистрируемые показатели режимов работы и условий эксплуатации транспортного средства.

[39]

Пакеты данных с результатами контроля в каждом периоде ts поступают от блока 6 связи в сервер 36, который посредством программного обеспечения 37 вносит их в базу данных 38.

[40]

Сервер 36 задает продолжительность циклов tц контроля, в пределах которых программно-аппаратный комплекс периодически повторяет контроль наработки транспортного средства и расхода топлива. Пакеты данных за каждый период ts контроля, полученные от бортового блока 1 контроля, программное обеспечение 37 распределяет по сочетаниям интервалов, в которых зарегистрированы показатели режимов работы и условий эксплуатации транспортного средства.

[41]

Для каждого цикла контроля программное обеспечение 37 рассчитывает удельный расход топлива за этот цикл как отношение расхода топлива в этом цикле к наработке транспортного средства за этот же цикл. Затем программное обеспечение 37 регистрирует в базе данных 38 значения удельного расхода топлива, рассчитанные для каждого сочетания показателей режима работы и условий эксплуатации транспортного средства в качестве интервальных норм расхода, которые при их последующем применении при эксплуатации транспортного средства служат базовыми значениями для расчета индивидуальных норм расхода.

[42]

Предварительное накопление базовых значений интервальных норм расхода сервер 36 производит посредством повторения циклов контроля и указанных расчетов по всем регистрируемым сочетаниям режимов работы и условий эксплуатации транспортного средства.

[43]

При последующей эксплуатации транспортного средства применение накопленных в базе данных 38 интервальных норм расхода программно-аппаратный комплекс производит в автоматическом режиме без вмешательства оператора или водителя. Подобно предварительному накоплению данных бортовой блок 1 контроля повторяет циклический отсчет таймером 31 продолжительности периодов контроля, в каждом из которых регистрирует в блоке 33 памяти показатели режима работы, условий эксплуатации, наработки и расхода топлива транспортного средства за период ts контроля, а также идентификационный код транспортного средства, номер периода контроля, дату и время выполнения контроля. По окончании периода контроля, задаваемого таймером 31 с помощью интерфейса 30, микропроцессор 29 с помощью интерфейса 34, формирователя 35 сообщений и блока 5 связи передает по радиоканалу пакет данных с результатами контроля в ts-м периоде из блока 33 памяти на приемный блок 6 связи комплекса 3 обработки данных в пункте 4 контроля.

[44]

Полученные от блока 6 связи пакеты данных с результатами контроля сервер 36 с помощью программного обеспечения 37 вносит в базу данных 38.

[45]

Сервер 36 задает продолжительность цикла tц контроля, в пределах которого упорядочивает в базе данных 38 пакеты данных, полученные от бортового блока 1 контроля в течение этого цикла. Упорядочивание заключается в распределении полученных в этом цикле пакетов данных с результатами контроля в каждом из периодов контроля по сочетаниям интервалов, в которых зарегистрированы показатели режимов работы и условий эксплуатации транспортного средства в этом периоде. Для каждого сочетания интервалов, в которых зарегистрированы показатели режимов работы и условий эксплуатации транспортного средства, группируются данные по наработке и расходу топлива в периодах контроля, отнесенных к этому сочетанию интервалов. Затем программное обеспечение 37 суммирует данные по наработке транспортного средства, отнесенные к каждому из сочетаний интервалов показателей режимов работы и условий эксплуатации в пределах цикла tц контроля, и аналогичные данные по расходу топлива.

[46]

На основе суммирования произведений значений наработки транспортного средства, полученных для каждого сочетания интервалов показателей режимов работы и условий эксплуатации, на величины занесенных в базу данных 38 интервальных норм расхода топлива программное обеспечение 37 рассчитывает норму удельного расхода индивидуальную для цикла t4 контроля.

[47]

Программное обеспечение 37 рассчитывает фактический расход топлива за цикл tц контроля посредством суммирования значений расхода в периодах ts контроля в пределах этого цикла. Фактический расход топлива за цикл tц контроля программное обеспечение 37 сравнивает с расчетной индивидуальной для цикла tц контроля нормой удельного расхода.

[48]

При последующей эксплуатации транспортного средства сервер 36 вносит в базу данных 38 и упорядочивает пакеты данных с результатами контроля, поступившие от бортового блока 1 контроля, а программное обеспечение 37 повторяет указанные расчеты индивидуальной нормы удельного расхода для цикла контроля, фактического расхода топлива за цикл контроля и их сравнение для каждого цикла контроля.

[49]

Результаты сравнения сервер 36 регистрирует в базе данных 38 и выдает на офисный компьютер 39 персоналу пункта 4 контроля.

[50]

Использование изобретения обеспечивает минимизацию продолжительности эксплуатации транспортных средств с повышенным расходом топлива и за счет этого - сокращение расхода топлива.

[51]

Таким образом, изобретение обеспечивает формирование в автоматическом режиме норм удельного расхода топлива, наиболее адекватных изменяющимся условиям эксплуатации и режимам работы транспортного средства по результатам предварительного автоматического контроля наработки и расхода топлива.

[52]

Источники информации

[53]

1. Болдин А.П., Максимов В.А., Постолит А.В., Миротин Л.Б., Хазиев А.А. Методика оперативного определения норм расхода топлива городскими автобусами с учетом сложности маршрута движения // Автомобильная промышленность. - 2018. - №6. - с. 23-25.

[54]

2. Патент на изобретение РФ №2510958, G06Q 10/00, G01F 9/00, опубл. 10.04.2014 г. (прототип).

Как компенсировать расходы
на инновационную разработку
Похожие патенты