патент
№ RU 2669754
МПК B61C3/00

РЕЛЬСОВОЕ ТРАНСПОРТНОЕ СРЕДСТВО

Авторы:
Сторожук Евгений Павлович
Номер заявки
2017137931
Дата подачи заявки
30.10.2017
Опубликовано
15.10.2018
Страна
RU
Как управлять
интеллектуальной собственностью
Реферат

Изобретение относится к прокладке электрических кабелей и проводов на рельсовых транспортных средствах. Рельсовое транспортное средство содержит кабели низковольтных цепей с прокладкой их по кузову над проходом в машинном отделении в сдвоенной лотковой магистрали, закрепленной к кузову. При этом сдвоенная лотковая магистраль состоит из отдельных каркасов, установленных последовательно друг за другом с закрепленными на них монтажными лотками U-образного сечения. Сдвоенная лотковая магистраль выполнена в виде комплектного электротехнического изделия, отдельные каркасы которого объединены между собой шарнирно с образованием единой целой конструкции. Один из крайних каркасов оснащен двумя парами кронштейнов с отверстиями для навешивания и закрепления на сопряженные кронштейны кузова. Второй крайний каркас и промежуточные каркасы оснащены одной парой аналогичных кронштейнов, также размещенных с обеих сторон. Кронштейны каркасов в их опорной части оснащены с двух сторон адаптационными демпфирующими прокладками. Объединенная сдвоенная лотковая магистраль выполнена меньшей, чем машинное отделение, длиной. Технический результат заключается в обеспечении надежной защиты от механических повреждений и электромагнитных помех электрической проводки низковольтных цепей. 7 з.п. ф-лы, 20 ил.

Формула изобретения

1. Рельсовое транспортное средство, включающее кабельные изделия низковольтных цепей с прокладкой их по кузову рельсового транспортного средства над проходом в машинном отделении в сдвоенной лотковой магистрали, закрепленной к кузову, с разнесением низковольтных цепей от высоковольтных силовых линий по высоте кузова рельсового транспортного средства и с подводом их через борта и концы сдвоенной лотковой магистрали к местам электрических подключений, при этом сдвоенная лотковая магистраль состоит из отдельных каркасов, установленных последовательно друг за другом с закрепленными на них монтажными лотками U-образного сечения, закрепление кабельных изделий низковольтных цепей в лотковой магистрали произведено с помощью эластичных зажимов, в кабельные изделия низковольтных цепей интегрированы низковольтные осветительные провода, а в сдвоенную лотковую магистраль - осветительные приборы, отличающееся тем, что сдвоенная лотковая магистраль выполнена в виде комплектного электротехнического изделия, отдельные каркасы которого объединены между собой шарнирно с образованием единой целой конструкции с ограниченным свободным поворотом каждого каркаса вокруг любого из своих шарниров относительно смежного с указанным шарниром каркаса в продольной вертикальной плоскости сдвоенной лотковой магистрали, характеризуемым перемещением от номинального положения в любую сторону конца каркаса, противоположного от упомянутого шарнира, выраженным в линейных величинах диапазоном от 0,5 до 2 мм, один из крайних каркасов оснащен двумя парами кронштейнов с отверстиями в опорных частях для навешивания и закрепления с помощью болтовых соединений на сопряженные кронштейны кузова рельсового транспортного средства, размещенных с обеих сторон каркаса, а второй крайний каркас и промежуточные каркасы - одной парой аналогичных кронштейнов, также размещенных с обеих сторон, при этом на втором крайнем каркасе кронштейны выполнены в его концевой части, а на промежуточных каркасах - в дальних концах от первого крайнего каркаса, причем кромки опорных концов кронштейнов кузова рельсового транспортного средства, расположенные в поперечном к продольной оси каркасов направлении, выполнены с отбортовкой вверх, а кронштейны каркасов в их опорной части оснащены с двух сторон адаптационными демпфирующими прокладками, кроме того, объединенная сдвоенная лотковая магистраль выполнена меньшей, чем машинное отделение, длиной, обеспечивающей Г-образное перемещение в машинном отделении для навешивания ее на кронштейны кузова рельсового транспортного средства, а образовавшийся в установленном на кронштейны кузова рельсового транспортного средства положении сдвоенной лотковой магистрали зазор между одним из ее крайних каркасов и поперечной стенкой машинного отделения закрыт U-образной накладкой, насаженной снизу на монтажные лотки и закрепленной к указанному каркасу.

2. Рельсовое транспортное средство по п. 1, отличающееся тем, что ограничение свободного поворота каждого каркаса вокруг одного из своих шарниров относительно любого смежного каркаса в продольной вертикальной плоскости сдвоенной лотковой магистрали производится взаимодействием торцов смежных каркасов.

3. Рельсовое транспортное средство по п. 1, отличающееся тем, что монтажные лотки выполнены перфорированными.

4. Рельсовое транспортное средство по п. 1, отличающееся тем, что монтажные лотки выполнены сетчатой конструкции.

5. Рельсовое транспортное средство по п. 1, отличающееся тем, что болтовые соединения кронштейнов каркасов с кронштейнами кузова рельсового транспортного средства застопорены шайбами Nord-Lock X-серии, установленными как под гайки, так и под головки болтов, и затянуты нормируемым крутящим моментом.

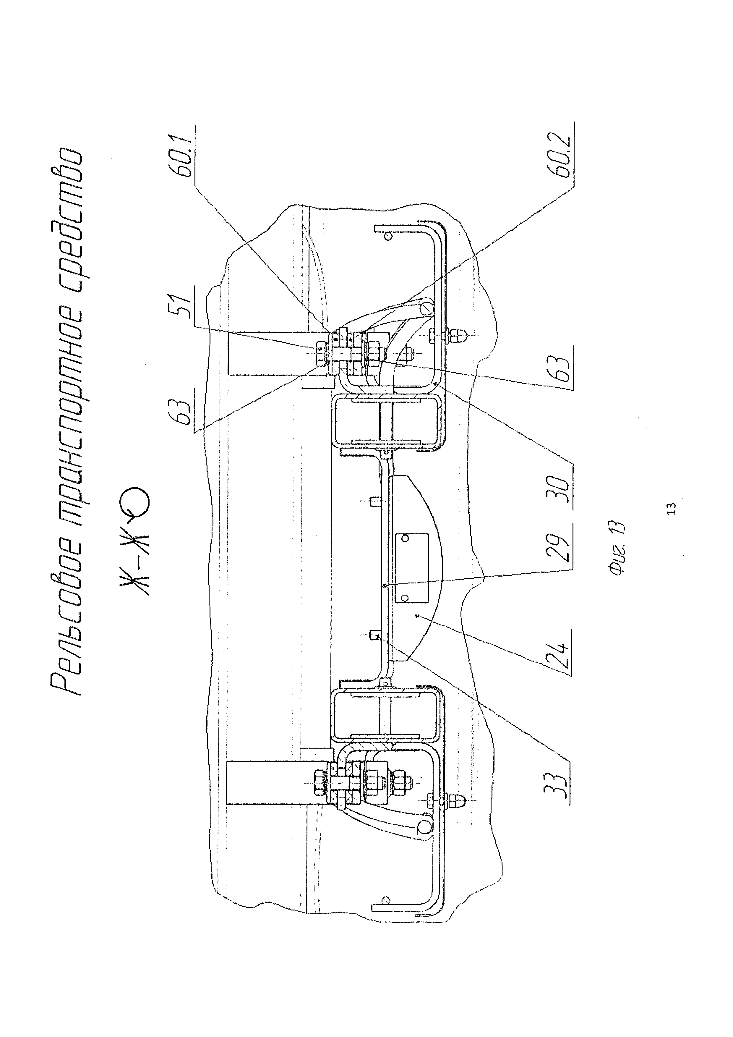
6. Рельсовое транспортное средство по п. 1, отличающееся тем, что монтажные лотки и (или) каркасы выполнены из легких сплавов.

7. Рельсовое транспортное средство по п. 1, отличающееся тем, что монтажные лотки и (или) каркасы сечения выполнены из пластмасс.

8. Рельсовое транспортное средство по п. 1, отличающееся тем, что монтажные лотки и (или) каркасы выполнены из композиционных материалов.

Описание

[1]

Изобретение относится к области железнодорожного транспортного средства, а более конкретно - к системе низковольтных цепей рельсового транспортного средства.

[2]

Известен электровоз ВЛ85Р (см. Тушканов Б.А. и др. "Электровоз ВЛ85Р, Руководство по эксплуатации, Москва, "Транспорт", 1985, стр. 233-234). Известный электровоз состоит из двух однотипных секций и может работать по системе многих единиц. Каждая секция имеет систему проводки силовых электрических линий и систему проводки низковольтных цепей. С целью повышения безопасности, а также уменьшения взаимного электромагнитного влияния электрические цепи с резко отличающимися уровнями рабочего напряжения разделены на группы и проложены раздельно. Провода, жгуты проводов и кабели низковольтных цепей проложены в желобе, расположенном в основании каркасов по проходному коридору. От желоба провода, кабели и жгуты проводов отводятся для подключения к соответствующему электрооборудованию. При этом они проложены архаично и закреплены к несущим конструкциям электровоза скобами, клицами, поясками. В некоторых местах они проложены в стальных или пластмассовых трубах.

[3]

Недостатком известной системы электрической проводки низковольтных цепей является архаичность конструкции электрической проводки, плохая механическая и электромагнитная защищенность электрической проводки при прокладке в желобе из-за отсутствия защиты сверху. Плохая механическая защищенность наиболее опасна во время сборки и ремонта электровоза. Пространственно расположенная электрическая проводка низковольтных цепей в тесных условиях секции электровоза создает определенные трудности при проведении осмотра и ремонта. Внутренние поверхности металлических труб должны быть покрыты электроизоляционным лаком. Протяжка проводов и кабелей через трубы для исключения повреждения должна производится с применением талька. Поверхности металлических несущих конструкций электровоза, по которым произведена прокладка электрической проводки, должны иметь защитные покрытия, предотвращающие от механических повреждений изоляцию проводов, кабелей и жгутов, например, обмотка лентой киперной, тафтяной, изоляционной, гладкой синтетической с перекрытием, а также пластмассовыми или резиновыми трубками и специальными деталями. Все это повышает стоимость монтажа, снижает технологичность проводки и ухудшает эстетический вид.

[4]

Известна система электрической проводки низковольтных цепей электровоза грузового магистрального 2ЭС6 (см. Патент на систему электрической проводки низковольтных цепей рельсового транспортного средства 162712 RU, зарегистрированный 27.06.2016, заявка 2015143171 от 09.10.2015).

[5]

Известная система электрической проводки низковольтных цепей включает провода, кабели и жгуты с прокладкой по кузову грузового магистрального электровоза с подводом их к соответствующим местам электрических подключений. При этом прокладка осуществлена с помощью металлических монтажных коробов, состоящих из состыкованных между собой П-образных оснований со съемными крышками и образующих древовидную структуру, с обеспечением выхода концов проводов, жил кабелей, ответвлений жгутов через открытые концы и окна в монтажных коробах к местам электрических подключений. Монтажные коробы проложены по днищу кузова грузового магистрального электровоза. Удержание в монтажных коробах сочленений оснований и съемных крышек в собранном состоянии и их разборка выполнены за счет упругости бортов оснований и съемных крышек, при этом вдоль кромок бортов оснований выполнены продольные выдавки с вогнутой стороной наружу, а борта съемных крышек - с уклонами вовнутрь навстречу друг другу и имеют дополнительные отгибы для входа кромок бортов оснований. Закрепление оснований монтажных коробов к кузову рельсового транспортного средства произведено резьбовыми крепежными соединениями. Закрепление оснований монтажных коробов к кузову грузового магистрального электровоза может быть произведено точечными сварными швами.

[6]

Недостатком известной системы электрической проводки низковольтных цепей является недостаточная технологичность из-за того, что кабельный канал формируется в напольной зоне путем установки отдельных металлических монтажных коробов с образованием древовидной структуры внутри секции электровоза и полного монтажа силовых электрических кабелей также внутри секции электровоза, что увеличивает длительность общего цикла изготовления и сборки, увеличивает трудоемкость отдельных сборочных операций, ведет к ухудшению организации труда из-за скапливания рабочих в ограниченном пространстве секции электровоза, мешающих друг другу. Недостатками также являются вероятность повреждения кабельных изделий при прокладке, когда монтажные коробы еще находятся в открытом положении, относительно низкая защищенность от электромагнитных помех из-за соседства с силовой кабельной магистралью, расположенной также в напольной зоне машинного отделения вдоль секции электровоза, низкая технологичность монтажа кабельных изделий, связанная с неудобной позой во время работы, что может приводит к чрезмерному утомлению, сутулости и может явиться причиной профессиональных заболеваний, стеснение условий контроля состояния и ремонта электрической проводки в машинном отделении при установленных электрических аппаратах и машинах.

[7]

Наиболее близким по технической сущности к заявленному изобретению является система электрической проводки низковольтных цепей электровозов грузовых магистральных 2ЭС7 и 2ЭС10. (см. Патент на Рельсовое транспортное средство №174147 RU, зарегистрированный 04.10.2017, (заявка №2016129143 от 15.06.2016). Каждая секция указанных электровозов включает кабельные изделия с прокладкой по кузову рельсового транспортного средства с подводом их к соответствующим местам электрических подключений. При этом низковольтные цепи разнесены от высоковольтных силовых линий по высоте кузова рельсового транспортного средства. Прокладка кабельных изделий выполнена над проходом в машинном отделении в сдвоенной лотковой магистрали, закрепленной к кузову и состоящей из отдельных самостоятельных рам, установленных последовательно друг за другом, с закрепленными на них монтажными лотками U-образного сечения. Закрепление кабельных изделий в лотковой магистрали произведено с помощью эластичных зажимов с обеспечением выхода их концов через борта и концы монтажных лотков к местам электрических подключений. При этом лотки могут быть выполнены перфорированными, а в кабельные изделия интегрированы низковольтные осветительные провода, а в лотковую магистраль - осветительные приборы. В качестве эластичных зажимов кабельных изделий в лотковой магистрали могут быть применены кабельные стяжки.

[8]

Недостатком известной системы электрической проводки низковольтных цепей в рельсовом транспортном средстве является недостаточная технологичность из-за того, что сдвоенная лотковая магистраль формируется непосредственно внутри секций электровозов, также и полный монтаж силовых электрических кабелей и установка низковольтных осветительных проводов с осветительными приборами производится внутри секций электровозов, что увеличивает длительность общего цикла изготовления и сборки, увеличивает трудоемкость отдельных сборочных операций, происходит ухудшение организации труда из-за скапливания рабочих в ограниченном пространстве секций электровозов, мешающих друг другу. Стационарность конструкции сдвоенной лотковой магистрали также ухудшает обслуживание и ремонт, особенно капитальный ремонт, при котором производится полная ревизия состояния кабельной продукции.

[9]

Техническим результатом, на достижение которого направлено заявляемое изобретение, является повышение технологичности конструкции электрической проводки низковольтных цепей рельсового транспортного средства, сокращение длительности общего цикла изготовления и сборки, сокращение трудоемкости выполнения операций изготовления и сборки за счет лучшей организацией труда путем исключения скапливания рабочих одновременно длительное время на ограниченном пространстве внутри секции электровоза, снижение себестоимости и повышение качества за счет лучшего доступа при изготовлении к сдвоенной лотковой магистрали, сокращение времени монтажа и обеспечение необходимой точности позиционирования съемной сдвоенной лотковой магистрали с интегрированными с ней низковольтными электрическими кабелями в рельсовом транспортном средстве, обеспечение хорошей электромагнитной совместимости низковольтных цепей в сдвоенной лотковой магистрали с электрическими машинами и аппаратами рельсового транспортного средства, улучшение условий обслуживания и ремонта, особенно при капитальном ремонте, когда идет полная ревизия состояния кабельной продукции, вплоть до замены кабелей, в результате применения принципа агрегатности с разделением сборки на узловую и общую сборки, обеспечение надежной защиты от механических повреждений, исключение неудобного положения электромонтажника при производстве электромонтажа, ведущее к снижению вероятности появления профессиональных заболеваний, улучшение условий контроля состояния, а также получение хорошей электропожаробезопасности и хорошего эстетического вида.

[10]

Заявляемый технический результат достигается тем, что рельсовое транспортное средство включает кабельные изделия низковольтных цепей с прокладкой их по кузову рельсового транспортного средства над проходом в машинном отделении в сдвоенной лотковой магистрали, закрепленной к кузову, с разнесением низковольтных цепей от высоковольтных силовых линий по высоте кузова рельсового транспортного средства и с подводом их через борта и концы сдвоенной лотковой магистрали к местам электрических подключений. При этом сдвоенная лотковая магистраль состоит из отдельных каркасов, установленных последовательно друг за другом с закрепленными на них монтажными лотками U-образного сечения. Закрепление кабельных изделий низковольтных цепей в лотковой магистрали произведено с помощью эластичных зажимов. В кабельные изделия низковольтных цепей интегрированы низковольтные осветительные провода, а в сдвоенную лотковую магистраль - осветительные приборы. Сдвоенная лотковая магистраль выполнена в виде комплектного электротехнического изделия, отдельные каркасы которого объединены между собой шарнирно с образованием единой целой конструкции с ограниченным свободным поворотом каждого каркаса вокруг любого из своих шарниров, смежного с указанным шарниром каркаса, в продольной вертикальной плоскости сдвоенной лотковой магистрали. Указанный поворот характеризуется перемещением от номинального положения в любую сторону конца каркаса, противоположного от упомянутого шарнира, выраженный в линейных величинах в диапазоне от 0,5 до 2 мм. Один из крайних каркасов оснащен двумя парами кронштейнов с отверстиями в опорных частях для навешивания и закрепления с помощью болтовых соединений на сопряженные кронштейны кузова рельсового транспортного средства, размещенных с обеих сторон каркаса, а второй крайний каркас и промежуточные каркасы - одной парой аналогичных кронштейнов, размещенных с обеих сторон. При этом на втором крайнем каркасе кронштейны выполнены в его концевой части, а на промежуточных каркасах - в дальних концах от первого крайнего каркаса. Причем кромки опорных концов кронштейнов кузова рельсового транспортного средства, расположенные в поперечном к продольной оси каркасов направлении, выполнены с отбортовкой вверх, а кронштейны каркасов в их опорной части оснащены с двух сторон адаптационными демпфирующими прокладками. Кроме того, объединенная сдвоенная лотковая магистраль выполнена меньшей, чем машинное отделение длиной с обеспечением Г-образного перемещения в машинном отделении для навешивания ее на кронштейны кузова рельсового транспортного средства, а образовавшийся в установленном на кронштейны кузова рельсового транспортного средства положении сдвоенной лотковой магистрали зазор между одним из ее крайних каркасов и поперечной стенкой машинного отделения закрыт U-образной накладкой, насаженной на монтажные лотки снизу и закрепленной к указанному каркасу. Ограничение свободного поворота каждого каркаса вокруг одного из своих шарниров относительно любого смежного каркаса в продольной вертикальной плоскости сдвоенной лотковой магистрали производится взаимодействием торцов смежных каркасов. Болтовые соединения кронштейнов каркасов с кронштейнами кузова рельсового транспортного средства застопорены шайбами Nord-Lock Х-серии, установленные как под гайки, так и под головки болтов, и затянуты нормируемым крутящим моментом. Монтажные лотки могут быть выполнены перфорированными и сетчатой конструкции. В качестве материала монтажных лотков и (или) каркасов могут быть использованы или легкие сплавы, или пластмассы, или композиционные материалы.

[11]

Сущность заявляемого изобретения поясняется чертежами, где:

[12]

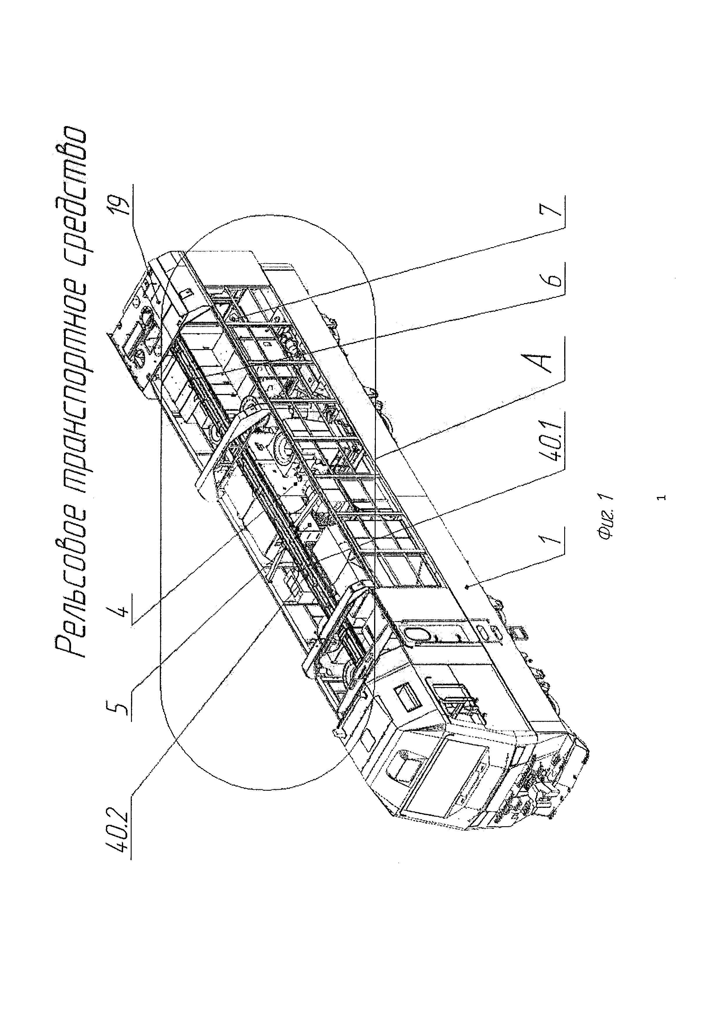
на фиг. 1 приведено аксонометрическое изображение рельсового транспортного средства с ракурсом на его переднюю и левую боковую стороны, при этом съемные крышевые секции и частично бортовые стенки не показаны;

[13]

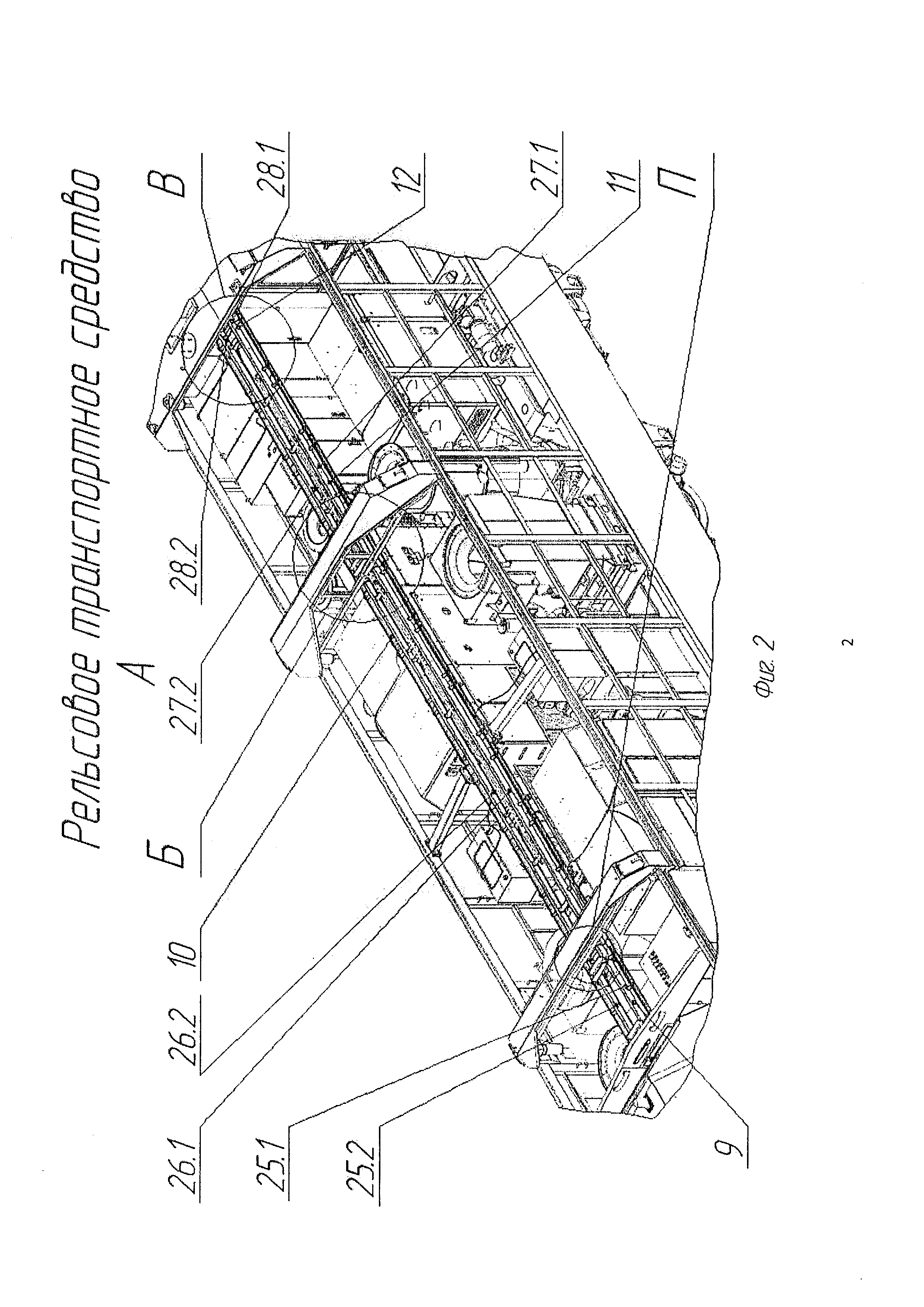
на фиг. 2 изображен выносной вид А на фиг. 1;

[14]

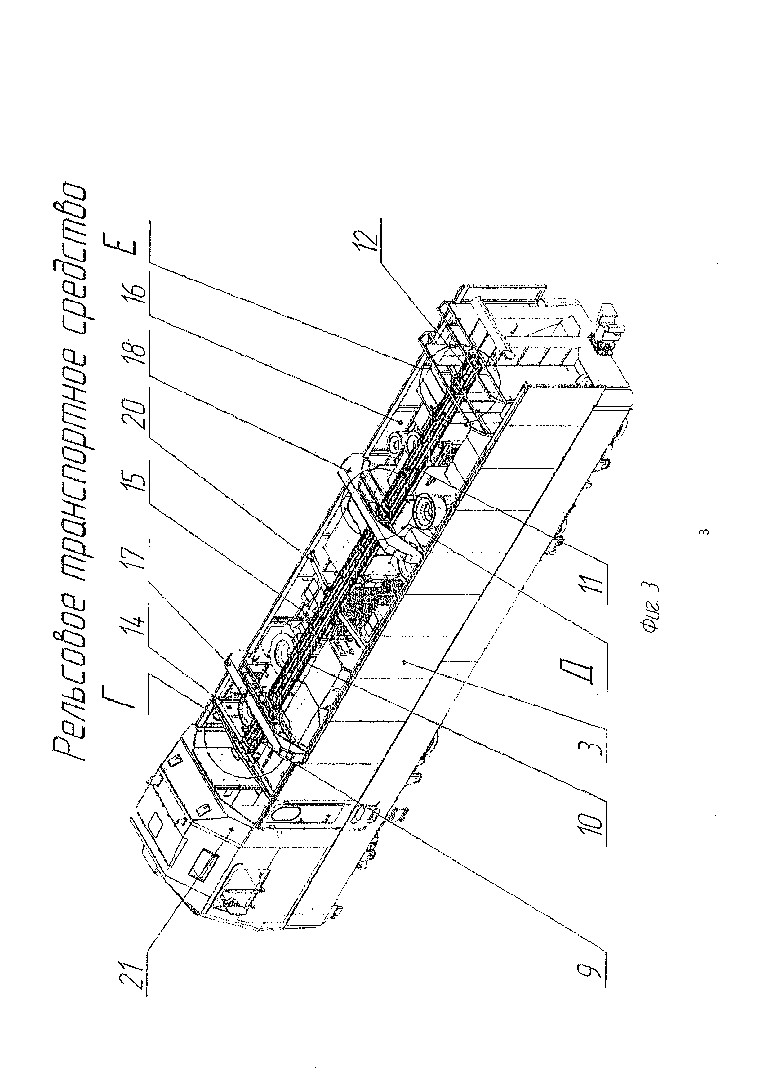
на фиг. 3 приведено аксонометрическое изображение рельсового транспортного средства с ракурсом на его торцевую заднюю и левую боковую стороны, при этом крышевые секции не показаны;

[15]

на фиг. 4 изображен вид сверху на рельсовое транспортное средство, при этом крышевые секции не показаны;

[16]

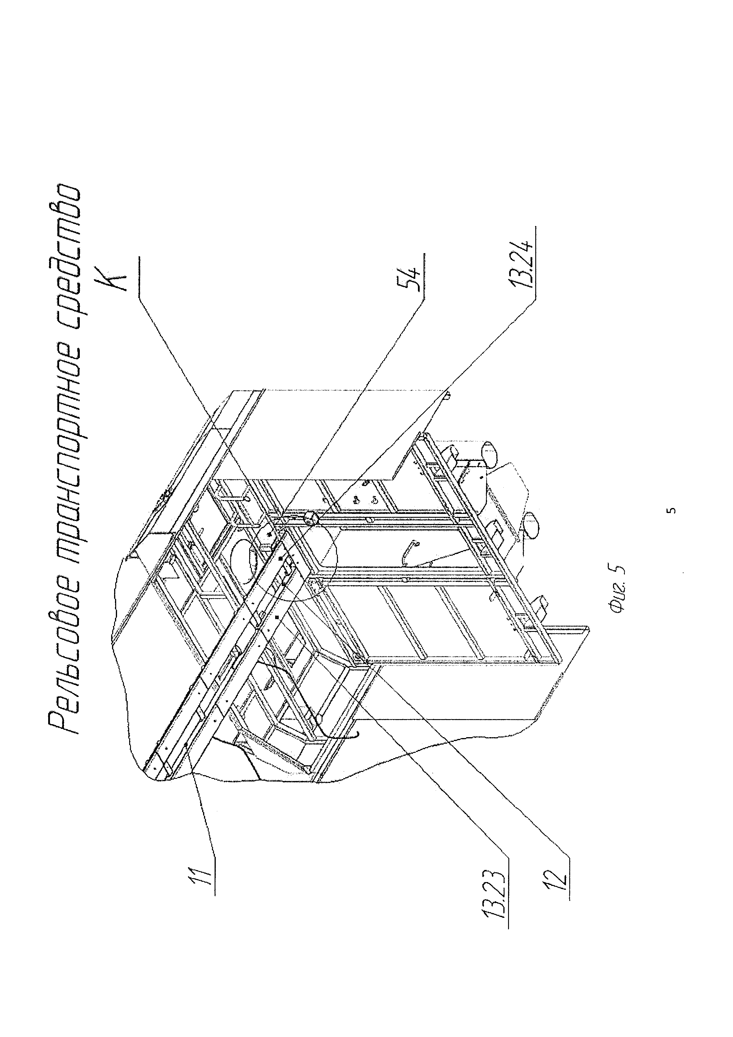
на фиг. 5 изображен аксонометрический вид снизу на сдвоенную лотковую магистраль в конце рельсового транспортного средства;

[17]

на фиг. 6 изображен вид снизу из машинного отделения рельсового транспортного средства на сдвоенную лотковую магистраль;

[18]

на фиг. 7 изображен продольный разрез рельсового транспортного средства, при этом крышевые секции и бортовые стенки не показаны;

[19]

на фиг. 8 изображен выносной вид Б на фиг. 2;

[20]

на фиг. 9 изображен выносной вид В на фиг. 2;

[21]

на фиг. 10 изображен выносной вид Г на фиг. 3;

[22]

на фиг. 11 изображен выносной вид Д на фиг. 3;

[23]

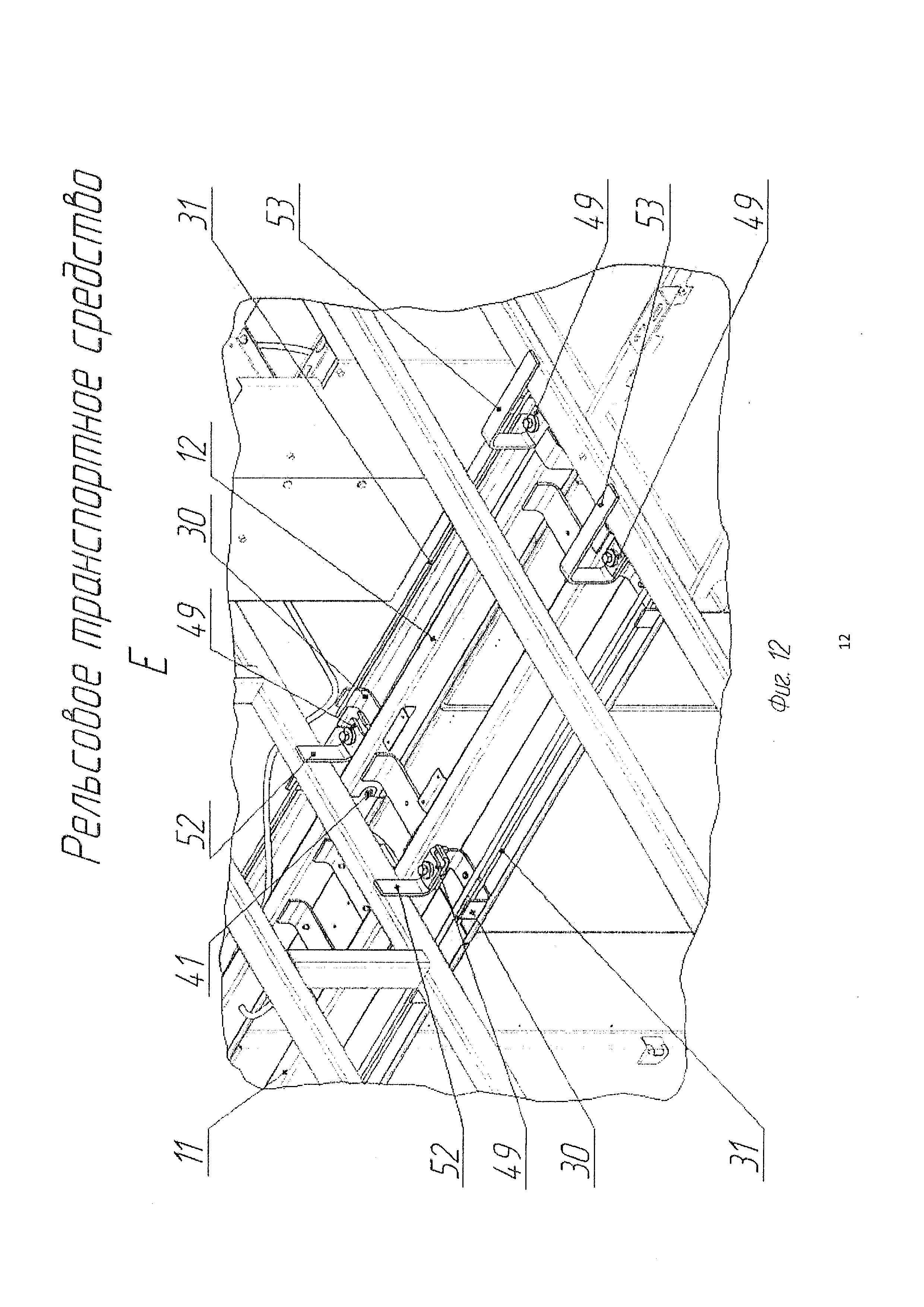
на фиг. 12 изображен выносной вид Е на фиг. 3;

[24]

на фиг. 13 изображен разрез Ж-Ж на фиг. 4;

[25]

на фиг. 14 изображен разрез И-И на фиг. 4;

[26]

на фиг. 15 изображен выносной вид К на фиг. 5;

[27]

на фиг. 16 изображен разрез Л-Л на фиг.7;

[28]

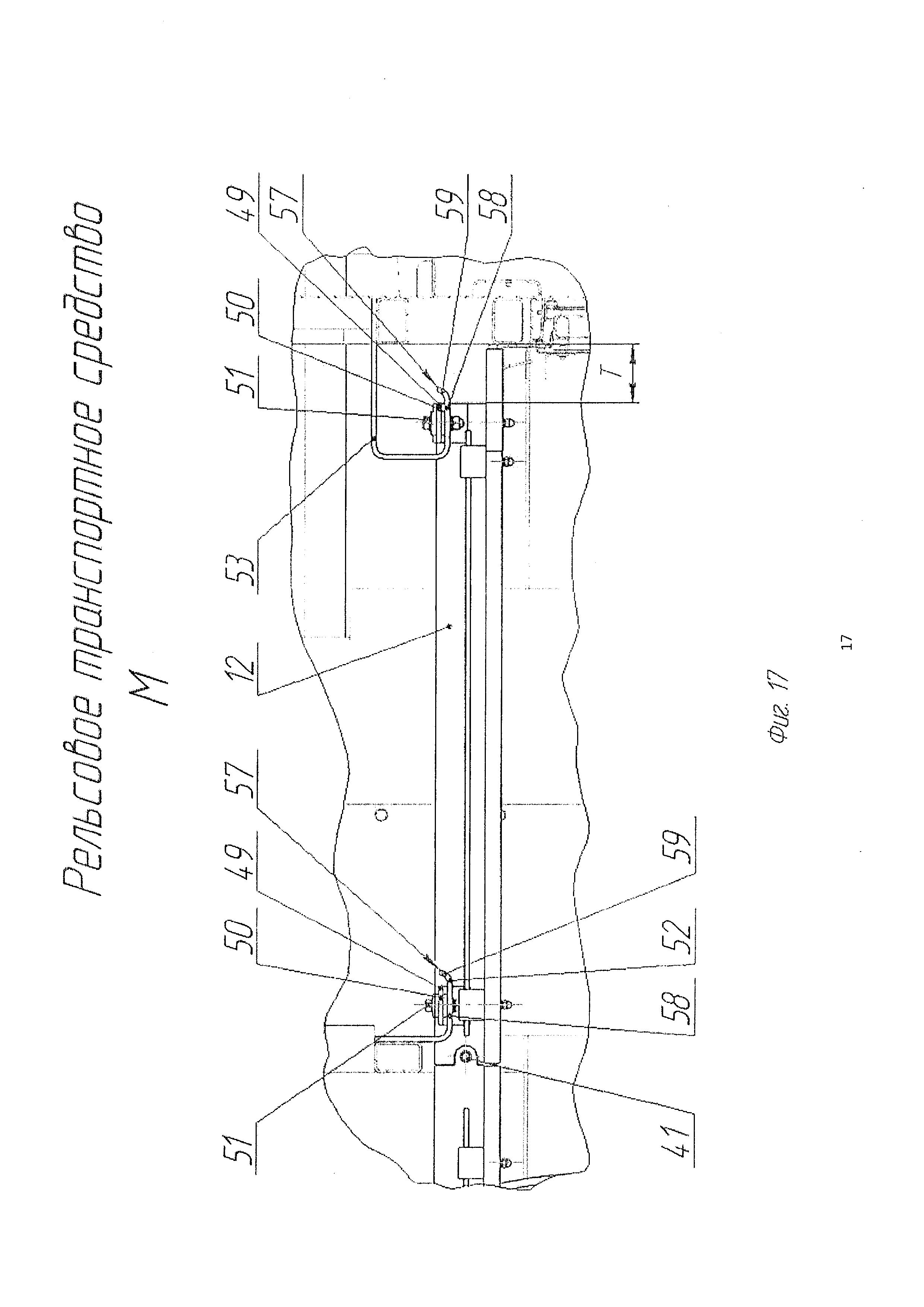
на фиг. 17 изображен выносной вид М на фиг. 7;

[29]

на фиг. 18 изображен разрез Н-Н на фиг. 7;

[30]

на фиг. 19 изображен выносной вид П на фиг. 2;

[31]

на фиг. 20 изображен шарнирный узел смежных каркасов сдвоенной лотковой магистрали.

[32]

В связи с тем, что фигуры заявленного изобретения плохо читаются при вертикальном расположении длинных сторон листа, целесообразно было расположить листы горизонтально, что позволило существенно укрупнить чертежи.

[33]

Рельсовое транспортное средство 1 включает кабельные изделия 2 низковольтных цепей с прокладкой их по кузову 3 рельсового транспортного средства над проходом 4 в машинном отделении 5 в сдвоенной лотковой магистрали 6, закрепленной к кузову 3, с разнесением кабельных изделий 2 низковольтных цепей от высоковольтных силовых линий 7, размещенных под поликом прохода 4 в машинном отделении 5, по высоте кузова 3 рельсового транспортного средства 1 и с подводом их через борта и концы сдвоенной лотковой магистрали 6 к соответствующим местам электрических подключений 8.1, 8.2, 8.3, 8.4, 8.5, 8.6, 8.7 и 8.8 и так далее. Сдвоенная лотковая магистраль 6 состоит из отдельных каркасов 9, 10, 11 и 12, установленных последовательно друг за другом с закрепленными на них монтажными лотками 13.1, 13.2, 13.3, 13.4, 13.5, 13.6, 13.7, 13.8, 13.9, 13.10, 13.11, 13.12, 13.13, 13.14, 13.15, 13.16, 13.17, 13.18, 13.19, 13.20, 13.21, 13.22, 13.23 и 13.24 U-образного сечения. Сдвоенная лотковая магистраль 6 расположена под монтажными проемами 14, 15 и 16, несъемными арками 17 и 18, неподвижной крышевой секцией 19 и над съемной аркой 20. Монтажный проем 14 расположен между неподвижной крышевой секцией 21 и несъемной аркой 17, монтажный проем 15 - между несъемными арками 17 и 18, а монтажный проем 16 - между несъемной аркой 18 и неподвижной крышевой секцией 19. Съемная арка 20 устанавливается в последнюю очередь. Закрепление кабельных изделий 2 низковольтных цепей в сдвоенной лотковой магистрали 6 произведено с помощью эластичных зажимов 22. В состав кабельных изделий 2 низковольтных цепей входят цепи управления, контроля, измерения, сигнализации, защиты, блокировки, регулирования и так далее. Дополнительно в состав кабельных изделий 2 низковольтных цепей интегрированы низковольтные осветительные провода 23, а в сдвоенную лотковую магистраль 6 - осветительные приборы 24. При этом сдвоенная лотковая магистраль 6 выполнена в виде комплектного электротехнического изделия. Каркасы 9, 10, 11 и 12 состоят из двух продольных балок 25.1 и 25.2, 26.1 и 26.2, 27.1 и 27.2, 28.1 и 28.2, соответственно. Указанные продольные балки соединены попарно между собой перемычками 29 с образованием прочных и жестких конструкций каркасов 9, 10, 11 и 12. С внешней стороны каркасов 9, 10, 11 и 12 приварены кронштейны 30, связанные между собой на каждой раме стержнями 31. Сверху к каркасам 9, 10, 11 и 12 приварены лоткообразные перемычки 32. В перемычках 29 выполнены крепежные отверстия для закрепления крепежными изделиями 33 осветительных приборов 24. Через борта 34 и концы 35 и 36 сдвоенной лотковой магистрали 6 ответвления 37 кабальных изделий 2 подводятся к местам подключения. Лоткообразные перемычки 32 позволяют переброску ответвлений 38 кабельных изделий 2 с одной ветви сдвоенной лотковой магистрали 6 на другую. С помощью резьбовых крепежных соединений 39 к кронштейнам 30 в два ряда 40.1 и 40.2 закреплены монтажные лотки 13.1, 13.2, 13.3, 13.4, 13.5, 13.6, 13.7, 13.8, 13.9, 13.10, 13.11, 13.12, 13.13, 13.14, 13.15, 13.16, 13.17, 13.18, 13.19, 13.20, 13.21, 13.22, 13.23 и 13.24. Каркасы 9, 10, 11 и 12 объединены между собой шарнирами 41 с образованием единой целой конструкции 6 с ограниченным свободным поворотом Р каждого каркаса вокруг любого из своих шарниров 41 относительно смежного с указанным шарниром каркаса в продольной вертикальной плоскости сдвоенной лотковой магистрали 6. Указанный поворот Р характеризуется перемещением от номинального положения в любую сторону конца 42 любого каркаса, противоположного от упомянутого шарнира 41, выраженным в линейных величинах диапазоном от 0,5 до 2 мм. Каждый шарнир 41 состоит из двух соосных идентичных шарнирных узлов 43.1 и 43.2, состоящих из проушин 44.1 и 44.2 и 45.1 и 45.2, расположенных по концам балок сопряженных каркасов и соединенных между собой с помощью осей 46, шайб 47 и шплинтов 48. Между торцами балок сопряженных каркасов выполнены зазоры С, определяющие величину поворота Р. Крайний каркас 12 оснащен двумя парами Г-образных кронштейнов 49 с отверстиями в опорных частях 50 для навешивания и закрепления с помощью болтовых соединений 51 на сопряженные Г-образиые и С-образные кронштейны 52 и 53 кузова 3, размещенных с обеих сторон каркаса 12. С-образные кронштейны 53 применены у поперечной стенки 54 машинного отделения 5. Второй крайний каркас 9 и промежуточные каркасы 10 и 11 оснащены одной парой аналогичных кронштейнов 49, также размещенных с обеих сторон. При этом на втором крайнем каркасе 9 кронштейны 49 выполнены в конце сдвоенной лотковой магистрали 35, а на промежуточных каркасах 10 и 11 - в дальних концах 55 и 56 от первого крайнего каркаса 12. Кромки 57 опорных концов 58 кронштейнов 52 и 53 кузова 3, расположенные в поперечном к продольной оси каркасов направлении, выполнены с отбортовкой 59 вверх. Кронштейны 49 каркасов 9, 10, 11 и 12 в их опорной части 50 оснащены с двух сторон адаптационными демпфирующими прокладками 60.1 и 60.2. Объединенная сдвоенная лотковая магистраль 6 выполнена меньшей, чем машинное отделение 5 длиной, обеспечивающий Г-образное перемещение в машинном отделении 5 для навешивания ее на кронштейны 52 и 53 кузова 3 рельсового транспортного средства 1. Образовавшийся в установленном на кронштейны 52 и 53 кузова 3 положении сдвоенной лотковой магистрали 6 зазор Т между крайним каркасом 12 и поперечной стенкой 54 машинного отделения 5 закрыт U-образной накладкой 61, насаживаемой снизу на монтажные лотки и закрепляемой к указанному каркасу крепежными изделиями 62. Для облегчения монтажные лотки могут быть выполнены или перфорированными, или сетчатой конструкции. В качестве материала могут быть использованы легкие сплавы, пластмассы и композиционные материалы. Для надежности крепления сдвоенной лотковой магистрали 6 болтовые соединения 51 кронштейнов 49 каркасов 9, 10, 11 и 12 с кронштейнами 52 и 53 кузова 3 рельсового транспортного средства 1 застопорены шайбами 63 Nord-Lock Х-серии, устанавливаемыми как под гайки, так и под головки болтов, и затянуты нормируемым крутящим моментом.

[34]

Заявленное изобретение осуществляют следующим образом. Собирают вне рельсового транспортного средства 1 сдвоенную лотковую магистраль 6 из отдельных каркасов 9, 10, 11 и 12 и монтажных лотков 13.1, 13.2, 13.3, 13.4, 13.5, 13.6, 13.7, 13.8, 13.9, 13.10, 13.11, 13.12, 13.13, 13.14, 13.15, 13.16, 13.17, 13.18, 13.19, 13.20, 13.21, 13.22, 13.23 и 13.24 U-образного сечения с применением шарниров 41 и крепежных изделий. В кабельные изделия 2 низковольтных цепей интегрируют осветительные провода 23 и закладывают в U-образные монтажные лотки, закрепив эластичными зажимами 22. Далее монтируют осветительные приборы 24 в сдвоенную лотковую магистраль 6 и подключают осветительные провода 23. Кронштейны 49 сдвоенной лотковой магистрали с двух сторон оснащают адаптационными демпфирующими прокладками 60.1 и 60.2. В итоге получают комплектное электротехническое изделие. Тем самым повышают модульность конструкции рельсового транспортного средства 1. Сдвоенная лотковая магистраль 6 готова к установке. Несколько рабочих берут готовую сдвоенную лотковую магистраль 6 и заносят через межсекционные двери в машинное отделение 5. Г-образным перемещением навешивают сдвоенную лотковую магистраль 6 на Г-образиые и С-образные кронштейны 52 и 53 кузова 3. Отбортовки 59 кронштейнов 52 и 53 предотвращают падение сдвоенной лотковой магистрали 6. В машинном отделении остается один электромонтажник, остальные рабочие покидают машинное отделение 5. Шарниры 41 и адаптационные демпфирующие прокладки 60.1 и 60.2 позволяют адаптироваться к кронштейнам 52 и 53, выполненным с производственными отклонениями, и не требуют специальных трудоемких регулировок. Электромонтажник один производит закрепление болтовыми соединениями 51 сдвоенной лотковой магистрали 6 к кронштейнам 52 и 53 и подключение кабельной продукции 2 к электрическим аппаратам рельсового транспортного средства 1. Болтовые соединения 51 затягиваются нормируемым крутящим моментом и застопориваются виброустойчивыми шайбами 63 Nord-Lock Х-серии, устанавливаемые как под гайки, так и под головки болтов. В целом, установленная в рельсовом транспортном средстве 1 сдвоенная лотковая магистраль 6 обладает за счет применения адаптационных демпфирующих прокладок 60.1 и 60.2 повышенной вибропрочностью и диссипативностью. Установка U-образной накладки 61 с помощью крепежных изделий 62 придает внешнему виду сдвоенной лотковой магистрали 6 в интерьере машинного отделения 5 завершенный эстетический вид.

Как компенсировать расходы
на инновационную разработку
Похожие патенты