патент
№ RU 2655330
МПК E21B33/02

ПРОТИВОВЫБРОСОВЫЙ УСТЬЕВОЙ САЛЬНИК

Авторы:
Исмагилова Алсу Ильдусовн Дульский Олег Александрович Халимов Радик Расифович
Все (4)
Номер заявки
2017126832
Дата подачи заявки
25.07.2017
Опубликовано
25.05.2018
Страна
RU
Как управлять
интеллектуальной собственностью
Чертежи 
1
Реферат

Изобретение относится к нефтепромысловому оборудованию, в частности к конструкции устройств для герметизации устья скважин, и может быть использовано для добычи нефти штанговыми насосами. Противовыбросовый устьевой сальник содержит переходник со сферической головкой, трубчатый корпус с фланцем и двумя сальниковыми уплотнениями, нижним и верхним. Сферическая головка размещена внутри цилиндрической корпусной втулки и закреплена к этой втулке фланцем трубчатого корпуса и кольцом, расположенным под корпусной втулкой. Также устройство содержит противовыбросовый клапан в виде патрубка, закрытого крышкой и установленного напротив отверстия трубчатого корпуса, расположенного между сальниковыми уплотнениями. В патрубок установлена гильза с подпружиненным пружиной сжатия шариком. Новым является то, что в трубчатом корпусе между сальниковыми уплотнениями установлены с возможностью осевого перемещения две шайбы. При этом обращенный к оси трубчатого корпуса конец гильзы находится между этими шайбами, а диаметр отверстия верхней шайбы выбран больше диаметра шарика. Шайбы подпружинены относительно друг друга пружинами сжатия, каждая из которых надета на отдельный штифт, неподвижно посаженный в отверстии, просверленном на нижней шайбе. На верхней шайбе рядом с торцом гильзы просверлено отверстие, куда запрессован верхний конец штифта. С нижней части боковой стенки штифта снята фаска. При этом коническая стенка фаски взаимодействует с подпружиненным шариком. В предложенном изобретении повышается работоспособность. 3 ил.

Формула изобретения

Противовыбросовый устьевой сальник, содержащий переходник со сферической головкой, трубчатый корпус с фланцем и двумя сальниковыми уплотнениями, нижним и верхним, причем сферическая головка размещена внутри цилиндрической корпусной втулки и закреплена к этой втулке фланцем трубчатого корпуса и кольцом, расположенным под корпусной втулкой, причем устройство содержит противовыбросовый клапан в виде патрубка, закрытого крышкой и установленного напротив отверстия трубчатого корпуса, расположенного между сальниковыми уплотнениями, причем в патрубок установлена гильза с подпружиненным пружиной сжатия шариком, отличающийся тем, что в трубчатом корпусе между сальниковыми уплотнениями установлены с возможностью осевого перемещения две шайбы, при этом обращенный к оси трубчатого корпуса конец гильзы находится между этими шайбами, а диаметр отверстия верхней шайбы выбран больше диаметра шарика, причем шайбы подпружинены относительно друг друга пружинами сжатия, каждая из которых надета на отдельный штифт, неподвижно посаженный в отверстии, просверленном на нижней шайбе, причем на верхней шайбе рядом с торцом гильзы просверлено отверстие, куда запрессован верхний конец штифта, причем с нижней части боковой стенки штифта снята фаска, при этом коническая стенка фаски взаимодействует с подпружиненным шариком.

Описание

[1]

Изобретение относится к нефтепромысловому оборудованию, в частности к конструкции устройств для герметизации устья скважин, и может быть использовано при добыче нефти штанговыми насосами.

[2]

Известна устьевая арматура для насосной установки с сальниковым штоком (Патент США №4907650, 1990), в которой для обеспечения экстренной герметизации канала арматуры в случае поломки сальникового штока имеется шаровой шарнирный элемент, шаровой направляющий блок и подпружиненный откидной клапан, установленный на шарнирный палец и взаимодействующий с боковым цилиндром и поршнем, реагирующим на перепады скважинного давления. Недостатком известного устройства является то, что оно имеет сложную конструкцию.

[3]

Наиболее близким к заявленному устройству является противовыбросовый устьевой сальник (Патент RU 2299307, МПК Е21В 33/03, опубл. 20.05.2007), содержащий переходник со сферической головкой, трубчатый корпус с фланцем и двумя сальниковыми уплотнениями, нижним и верхним, причем сферическая головка размещена внутри цилиндрической корпусной втулки и закреплена к этой втулке фланцем трубчатого корпуса и кольцом, расположенным под корпусной втулкой, причем устройство содержит противовыбросовый клапан в виде патрубка, закрытого крышкой и установленного напротив отверстия трубчатого корпуса, расположенного между сальниковыми уплотнениями, причем в патрубок установлена гильза с подпружиненным пружиной сжатия шариком. В противовыбросовом клапане, выбранном в качестве прототипа, имеется гильза с осью, на которую установлен рычажок с бобышкой. Шарик удерживается внутри гильзы рычажком, бобышка которого под действием пружины сжатия взаимодействует со стенкой перемещающегося сальникового штока. При перемещении этого штока бобышка из-за трения изнашивается и устройство выходит из строя.

[4]

Задачей изобретения является повышение работоспособности.

[5]

Поставленная задача решается тем, что в противовыбросовом устьевом сальнике, содержащем переходник со сферической головкой, трубчатый корпус с фланцем и двумя сальниковыми уплотнениями, нижним и верхним, причем сферическая головка размещена внутри цилиндрической корпусной втулки и закреплена к этой втулке фланцем трубчатого корпуса и кольцом, расположенным под корпусной втулкой, причем устройство содержит противовыбросовый клапан в виде патрубка, закрытого крышкой и установленного напротив отверстия трубчатого корпуса, расположенного между сальниковыми уплотнениями, причем в патрубок установлена гильза с подпружиненным пружиной сжатия шариком, новым является то, что в трубчатом корпусе между сальниковыми уплотнениями установлены с возможностью осевого перемещения две шайбы, при этом обращенный к оси трубчатого корпуса конец гильзы находится между этими шайбами, а диаметр отверстия верхней шайбы выбран больше диаметра шарика, причем шайбы подпружинены относительно друг друга пружинами сжатия, каждая из которых надета на отдельный штифт, неподвижно посаженный в отверстии, просверленном на нижней шайбе, причем на верхней шайбе рядом с торцом гильзы просверлено отверстие, куда запрессован верхний конец штифта, причем с нижней части боковой стенки штифта снята фаска, при этом коническая стенка фаски взаимодействует с подпружиненным шариком.

[6]

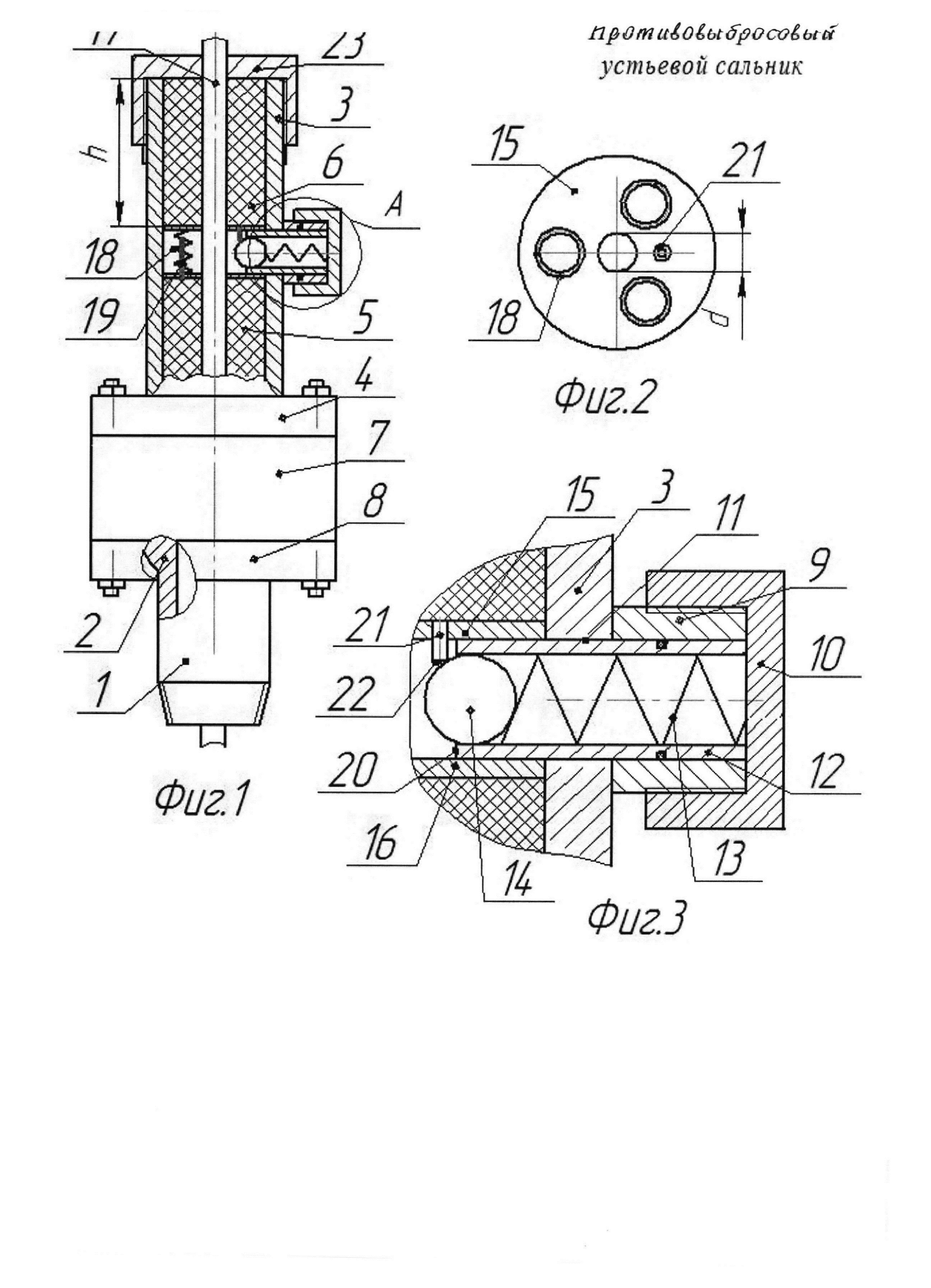
На фиг. 1 изображено устройство с местными разрезами; на фиг. 2 изображен вид на верхнею шайбу вместе с пружинами сжатия и штифтом; на фиг. 3 - вид А фиг. 1.

[7]

Противовыбросовый устьевой сальник содержит переходник 1 со сферической головкой 2, трубчатый корпус 3 с фланцем 4 и двумя сальниковыми уплотнениями, нижним 5 и верхним 6. Сферическая головка 2 размещена внутри цилиндрической корпусной втулки 7 и закреплена к этой втулке фланцем 4 трубчатого корпуса 3 и кольцом 8, расположенным под корпусной втулкой 7. Также устройство содержит противовыбросовый клапан в виде патрубка 9, закрытого крышкой 10 и установленного напротив отверстия 11 трубчатого корпуса 3, расположенного между сальниковыми уплотнениями 5 и 6. В патрубок 9 установлена гильза 12 с подпружиненным пружиной сжатия 13 шариком 14. В трубчатом корпусе 3 между сальниковыми уплотнениями 5 и 6 установлены с возможностью осевого перемещения две шайбы 15 и 16. При этом обращенный к оси трубчатого корпуса 3 конец гильзы 12 находится между этими шайбами 15 и 16, а диаметр d отверстия верхней шайбы 15 выбран больше диаметра шарика 14, чтобы при обрыве сальникового штока 17 шарик 14 проходил в канал верхнего уплотнения 6. Шайбы 15 и 16 подпружинены относительно друг друга пружинами сжатия 18, каждая из которых надета на отдельный штифт 19, неподвижно посаженный в отверстии, просверленном на нижней шайбе 16. Штифты 19 удерживают пружины сжатия 18 на поверхности нижней шайбы 16 от перемещения в сторону. На верхней шайбе 15 рядом с торцом 20 гильзы 12 просверлено отверстие, куда запрессован верхний конец штифта 21. С нижней части боковой стенки штифта 21 снята фаска. При этом коническая стенка 22 фаски взаимодействует с подпружиненным шариком 14. Коническая стенка 22 фаски препятствует перемещению шарика 14 к сальниковому штоку 17.

[8]

Принцип работы противовыбросового устьевого сальника заключается в следующем. В исправном состоянии сальникового штока 17 шарик 14 под действием пружины сжатия 13 прижат к конической стенке 22 фаски штифта 21. Поэтому этот шарик не перемещается к сальниковому штоку 17. При обрыве сальникового штока, под действием пружин сжатия 18, верхняя шайба 15 сжимает верхнее сальниковое уплотнение 6 в сторону крышки 23 трубчатого корпуса 3. При этом уменьшается диаметр канала верхнего сальникового уплотнения 6. За счет этого уменьшается высота h этого уплотнения 6 и шайба 15 под действием пружин сжатия 18 поднимается вверх. Вместе с шайбой 15 поднимается вверх и штифт 21. При этом коническая стенка 22 фаски штифта 21 отходит вверх от шарика 14 и данный шарик выталкивается пружиной сжатия 13 из полости гильзы 12 в сторону оси трубчатого корпуса 3. Далее под действием напора жидкости скважины шарик 14 заталкивается через отверстие верхней шайбы 15 в канал верхнего уплотнения 6. Шайба 15 не препятствует перемещению шарика, так как диаметр d отверстия шайбы 15 выбран больше диаметра шарика. При повышении давления жидкости шарик 14 проходит через уплотнение 6 и застревает перед отверстием крышки 23 трубчатого корпуса 3, предотвращая тем самым выброс жидкости из скважины в окружающую среду.

[9]

В предлагаемом противовыбросовом устьевом сальнике шарик в исправном состоянии сальникового штока удерживается в полости гильзы конической стенкой фаски штифта. При этом вышеуказанный штифт не взаимодействует с сальниковым штоком. В прототипе бобышка рычажка постоянно под действием пружины сжатия давит на стенку перемещающегося сальникового штока и изнашивается в результате трения. Износ бобышки приводит устройство к выходу из строя. Из сравнительного анализа вытекает, что в предлагаемом устройстве, по сравнению с прототипом, повышается срок службы и тем самым повышается работоспособность.

[10]

Источники информации

[11]

1. Патент США №4907650, 1990.

[12]

2. Патент RU №2299307, МПК Е21В 33/03, опубл. 20.05.2007.

Как компенсировать расходы
на инновационную разработку
Похожие патенты