патент
№ RU 2465403
МПК E02D5/52

АРМИРОВАНИЕ ВЕРТИКАЛЬНЫХ СВАЙ, ИЗГОТАВЛИВАЕМЫХ В ГРУНТЕ, ВОСПРИНИМАЮЩИХ ВДАВЛИВАЮЩИЕ НАГРУЗКИ

Авторы:
Еремин Валерий Яковлевич Молчанов Кирилл Дмитриевич Мадатян Сергей Ашотович
Все (4)
Номер заявки
2010153639/03
Дата подачи заявки
28.12.2010
Опубликовано
27.10.2012
Страна
RU
Как управлять
интеллектуальной собственностью
Чертежи 
8
Реферат

Изобретение относится к области геотехнического строительства, а именно к армированию вертикальных свай, изготавливаемых в грунте основания и воспринимающих вертикальные вдавливающие нагрузки, в условиях, когда невозможно выполнить армирование на всю длину сваи единым каркасом, а также при устройстве свай усиления фундаментов зданий из подвальных помещений или под эстакадами. Армирование свай, работающих на вдавливающую нагрузку, изготавливаемых в грунте, в условиях, где невозможно выполнить армирование единым арматурным каркасом на всю глубину армирования, включает, по крайней мере, две отдельные, последовательно установленные секции арматурного каркаса, стыкуемые концы которых введены в соединительную муфту, имеющую длину не менее двух диаметров стыкуемых элементов каркаса и заполненную твердеющим материалом при монтаже. В качестве секций арматурного каркаса использованы отрезки последовательно установленных полнотелых стержней или секции толстостенных труб, торцы которых в зоне стыка перпендикулярны продольной оси арматурного каркаса. Трубы введены в соединительную муфту при погружении в скважину армирующих сваю секций, таким образом, что внутри соединительной муфты размещен стык труб армирующих сваю секций, а пространство в скважине заполнено твердеющим материалом или армирующие сваю секции выполнены, по крайней мере, из двух последовательно установленных объемных арматурных каркасов, продольные стержни которых со стороны стыка приварены к отрезкам полнотелых стержней или отрезкам толстостенных труб, которые размещены в соединительной муфте. Технический результат состоит в повышен�

Формула изобретения

1. Армирование свай, работающих на вдавливающую нагрузку, изготавливаемых в грунте, в условиях, где невозможно выполнить армирование единым арматурным каркасом на всю глубину армирования, включающее, по крайней мере, две отдельных последовательно установленных секции арматурного каркаса, стыкуемые концы которых введены в соединительную муфту, имеющую длину не менее двух диаметров стыкуемых элементов каркаса и заполненную твердеющим материалом при монтаже, причем в качестве секций арматурного каркаса использованы отрезки последовательно установленных полнотелых стержней или секции толстостенных труб, торцы которых в зоне стыка перпендикулярны продольной оси арматурного каркаса, а трубы введены в соединительную муфту при погружении в скважину армирующих сваю секций таким образом, что внутри соединительной муфты размещен стык труб, армирующих сваю секций, а пространство в скважине заполнено твердеющим материалом или армирующие сваю секции выполнены, по крайней мере, из двух последовательно установленных объемных арматурных каркасов, продольные стержни которых со стороны стыка приварены к отрезкам полнотелых стержней или отрезкам толстостенных труб, которые размещены в соединительной муфте.

2. Армирование свай по п.1, отличающееся тем, что каждая секция арматурного каркаса, по одной погружаемая в скважину, снабжена центраторами для обеспечения защитного слоя бетона и/или для временного вывешивания секций арматурного каркаса.

3. Армирование свай по п.1, отличающееся тем, что каждая секция снабжена крючками или подобными элементами для временного вывешивания арматурного каркаса, погружаемого в скважину.

4. Армирование свай по п.1, отличающееся тем, что при использовании труб в качестве секций арматурного каркаса, первая секция арматурного каркаса имеет меньший диаметр и заходит в полость следующей секции арматурного каркаса большего диаметра на глубину от одного диаметра до половины их длины, а секция арматурного каркаса меньшего диаметра снабжена элементами, ограничивающими ее дальнейшее перемещение до набора твердеющим материалом прочности.

5. Армирование свай по п.1, отличающееся тем, что по длине сваи сечение секций арматурного каркаса изменяется.

Описание

[1]

Изобретение относится к области геотехнического строительства, а именно к армированию вертикальных свай, изготавливаемых в грунте основания и воспринимающих вертикальные вдавливающие нагрузки, в условиях, когда невозможно выполнить армирование сваи единым каркасом на всю длину. Наибольшее преимущество заявляемое изобретение предоставляет при устройстве свай усиления фундаментов зданий из подвальных помещений или под эстакадами и в подобных условиях.

[2]

Известно устройство буровых свай системы «Титан» [«Система буровых свай «Титан», http://www.ischebeck.de/, 2008 г.], которое осуществляется путем бурения скважины трубами, которые остаются в скважине в качестве армирующих сваи элементов. Полые трубы при их погружении в грунт наращиваются с помощью винтовых муфт. Для чего на внешней поверхности буровых труб сформирован винтовой профиль, ответный внутренней винтовой поверхности соединительных муфт. При этом такое соединение буровых труб должно быть равнопрочным на сжатие прочности буровых труб, поэтому соединительные муфты имеют большое поперечное сечение, что в свою очередь требует бурения скважин большего диаметра для обеспечения цементным камнем защитного слоя в зоне расположения соединительных муфт. В процессе бурения в качестве промывочной жидкости используется цементный раствор (цементное молоко), при затвердевании которого образуется цементный камень, обеспечивающий защитный слой для армирующих сваю буровых труб и соединительных муфт от контакта с грунтом, и обеспечивающий передачу нагрузки от армирующего элемента в грунтовый массив.

[3]

Однако использование буровых труб с винтовой поверхностью, соединяемых муфтами, обходится весьма дорого. При этом невозможно использовать бетонные смеси при устройстве свай, так как наличие мелкого, а тем более крупного заполнителя в бетонной смеси даже при ее высокой подвижности исключает возможность ее прокачивания через буровые трубы и осуществление промывки скважины от разрушаемого долотом грунта. Эффективно применение таких свай только в несвязных грунтах, например песках и крупнообломочных грунтах. Применение таких свай в глинистых грунтах (глинах, суглинках и даже в супесях, содержащих значительное по объему количество глинистых частиц), а также в переслаивающихся грунтах, где встречаются прослои глинистых грунтов (а это имеет место практически повсеместно), приводит к резкому падению качества, что не допустимо.

[4]

Наиболее близким к заявляемому техническому решению является известный узел соединения армирующих стержней центрально сжатых железобетонных элементов, включающий соединительную муфту, заполненную твердеющим материалом, в которую введены два соединяемых встык арматурных стержня, каждый стержень размещен в муфте на глубину не менее диаметра стержня, а длина соединительной муфты составляет от двух до пяти диаметров соединяемых стержней, пространство вокруг муфты также заполнено твердеющим материалом, площадь поперечного сечения стенки соединительной муфты не превышает площади поперечного сечения соединяемых стержней, внутренний диаметр соединительной муфты превышает максимальный диаметр соединяемых стержней на величину размера частиц, находящихся в твердеющем материале, узел дополнительно снабжен центрирующими элементами, закрепленными на соединяемых элементах [Патент РФ №51639 U1, 27.02.2005 г.].

[5]

Известное техническое решение широко применяется в практике устройства свай-РИТ диаметром более 250 мм. Однако данное техническое решение не обеспечивает равнопрочного соединения рабочих стержней в арматурных каркасах с помощью трубчатых элементов, т.к. не размещается по сечению сваи небольшого диаметра, например, в свае диаметром 150 мм такое соединение физически не разместить.

[6]

Кроме того, известные технические решения весьма дороги из-за невозможности применения бетонных смесей, не обеспечивают высокого качества сваи, а трубчатые стыковые соединения не размещаются в сваях малого диаметра, применяемых для усиления оснований существующих фундаментов.

[7]

Технической задачей настоящего изобретения является повышение надежности свай за счет применения в качестве твердеющего материала бетонных смесей и использования заявляемого технического решения при армировании свай малого диаметра - с отклонением от вертикали до 10-12°, используемых для усиления оснований существующих фундаментов, ростверков, фундаментных плит. Это позволяет уменьшить диаметр сваи, так как арматурный каркас, выполненный по заявляемому изобретению, воспринимает практически всю вертикальную вдавливающую нагрузку, бетон обеспечивает защиту арматурного каркаса от коррозии и передачу действующей на каркас нагрузки грунтовому основанию на всей боковой поверхности сваи, а также ее нижнему концу. Уменьшение диаметра сваи позволяет в свою очередь уменьшить сечение отверстия, выполняемого в фундаментной плите, что снижает количество перерезаемых в плите арматурных стержней, при сверлении отверстий. Меняя сечения секций арматурного каркаса по длине сваи (в соответствии с действующими на сваю в конкретном сечении нагрузками), минимизируют расход металлопроката.

[8]

Достигается это тем, что армирование свай, работающих на вдавливающую нагрузку, изготавливаемых в грунте, в условиях, где невозможно выполнить армирование единым арматурным каркасом на всю глубину армирования, включает, по крайней мере, две отдельные, последовательно установленные секции арматурного каркаса, стыкуемые концы которых введены в соединительную муфту, имеющую длину не менее двух диаметров стыкуемых элементов каркаса и заполненную твердеющим материалом при монтаже, причем в качестве секций арматурного каркаса использованы отрезки последовательно установленных полнотелых стержней или секции толстостенных труб, торцы которых в зоне стыка перпендикулярны продольной оси арматурного каркаса, а трубы введены в соединительную муфту при погружении в скважину армирующих сваю секций, таким образом, что внутри соединительной муфты размещен стык труб армирующих сваю секций, а пространство в скважине заполнено твердеющим материалом, или армирующие сваю секции выполнены, по крайней мере, из двух последовательно установленных объемных арматурных каркасов, продольные стержни которых со стороны стыка приварены к отрезкам полнотелых стержней или отрезкам толстостенных труб, которые размещены в соединительной муфте. Каждая секция арматурного каркаса, по одной погружаемая в скважину, снабжена центраторами для обеспечения защитного слоя бетона и/или для временного вывешивания секций арматурного каркаса. Каждая секция снабжена крючками или подобными элементами для временного вывешивания арматурного каркаса, погружаемого в скважину. При использовании труб в качестве секций арматурного каркаса первая секция арматурного каркаса имеет меньший диаметр и заходит в полость следующей секции арматурного каркаса большего диаметра на глубину от одного диаметра до половины их длины, а секция арматурного каркаса меньшего диаметра снабжена элементами, ограничивающими ее дальнейшее перемещение до набора твердеющим материалом прочности. По длине сваи сечение секций арматурного каркаса может изменяться.

[9]

При использовании в качестве армирующих секций труб толщина стенок последних может увеличиваться от нижней секции к верхней. Или нижерасположенные секции арматурного каркаса могут иметь меньший диаметр и заходить в полость следующей секции (трубы) большего диаметра на глубину от одного диаметра до половины их длины. Нижерасположенные секции арматурного каркаса меньшего диаметра должны быть снабжены элементами, ограничивающими дальнейшее заглубление в трубу большего диаметра следующей секции арматурного каркаса. После набора твердеющим материалом прочности перемещение исключается. На верхней части армирующей секции, размещаемой при погружении ниже подошвы усиливаемой фундаментной плиты (ростверка, фундамента), закреплены, по крайней мере, два упругих элемента, расположенных равномерно (симметрично) по окружности. Для погружения через отверстие в фундаментной плите упомянутой секции упругие элементы предварительно сжимаются и в сложенном состоянии погружаются по отверстию в фундаментной плите, а после их выхода из отверстия под фундаментной плитой свободные концы упругих элементов распрямляются. Соединительная муфта может быть размещена внутри соединяемых концов армирующих труб или внутри концов армирующих труб могут устанавливаться с выходом наружу направляющие, обеспечивающие центровку секций армирующих труб между собой в процессе монтажа. Поверхность соединительной муфты, размещаемой внутри армирующих труб, может быть снабжена, по крайней мере, однозаходным винтовым, или байонетным профилем, или конической поверхностью, например, в форме конуса Морзе. Каждый из перечисленных профилей может быть выполнен на соединительной муфте или на части ее длины, достаточной для обеспечения надежного монтажного соединения секций арматурного каркаса и фиксации взаимного положения секций на период до набора прочности твердеющим материалом. При этом стенкам труб секций арматурного каркаса с внутренней стороны придана форма, ответная поверхности соединительной муфты. При установке в скважину трубы в качестве нижней секции армирующего каркаса она вывешивается и в нее вставляется с натягом или с поворотом соединительная муфта, затем на соединительную муфту надевается верхняя труба арматурного каркаса с натягом или надевается с поворотом, если конусное или винтовое (байонетное) соединение выполнено с обоих концов соединительной муфты и на стыкуемых концах секций труб, армирующих сваю. Винтовой (байонетный) профиль может быть как однозаходным, так и многозаходным. Многозаходный винтовой (байонетный) профиль упрощает операцию стыковки. Операция стыковки еще более упрощается, если байонетные (винтовые) профили выполнены в центральной части (по длине) соединительного элемента, а концевые участки имеют размер, обеспечивающий выполнение ими функции направляющих, при этом концевые участки могут иметь цилиндрическую или коническую поверхность, или могут иметь шлицы, что облегчает операцию стыковки.

[10]

Изобретение поясняется чертежами, на которых:

[11]

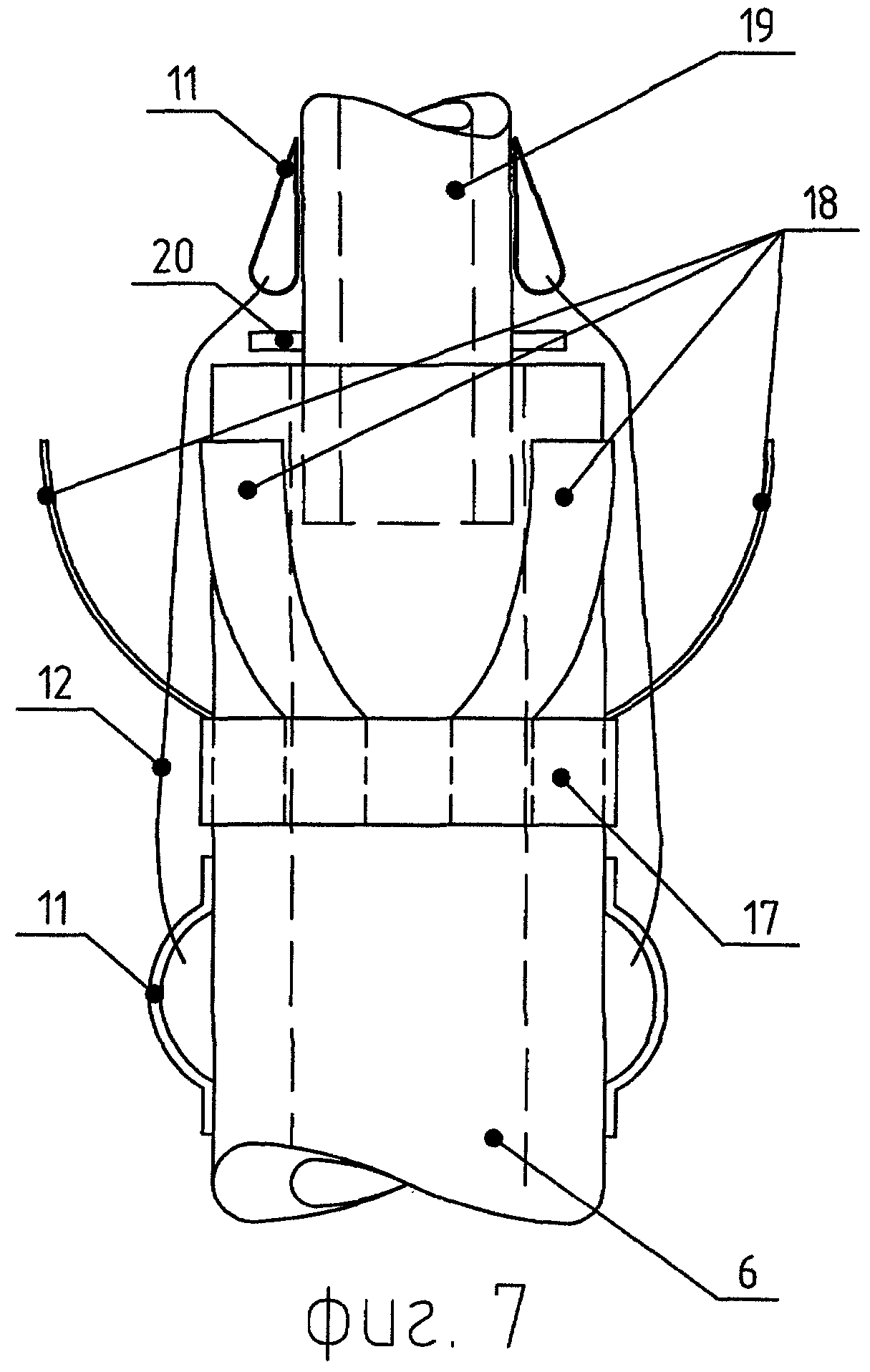
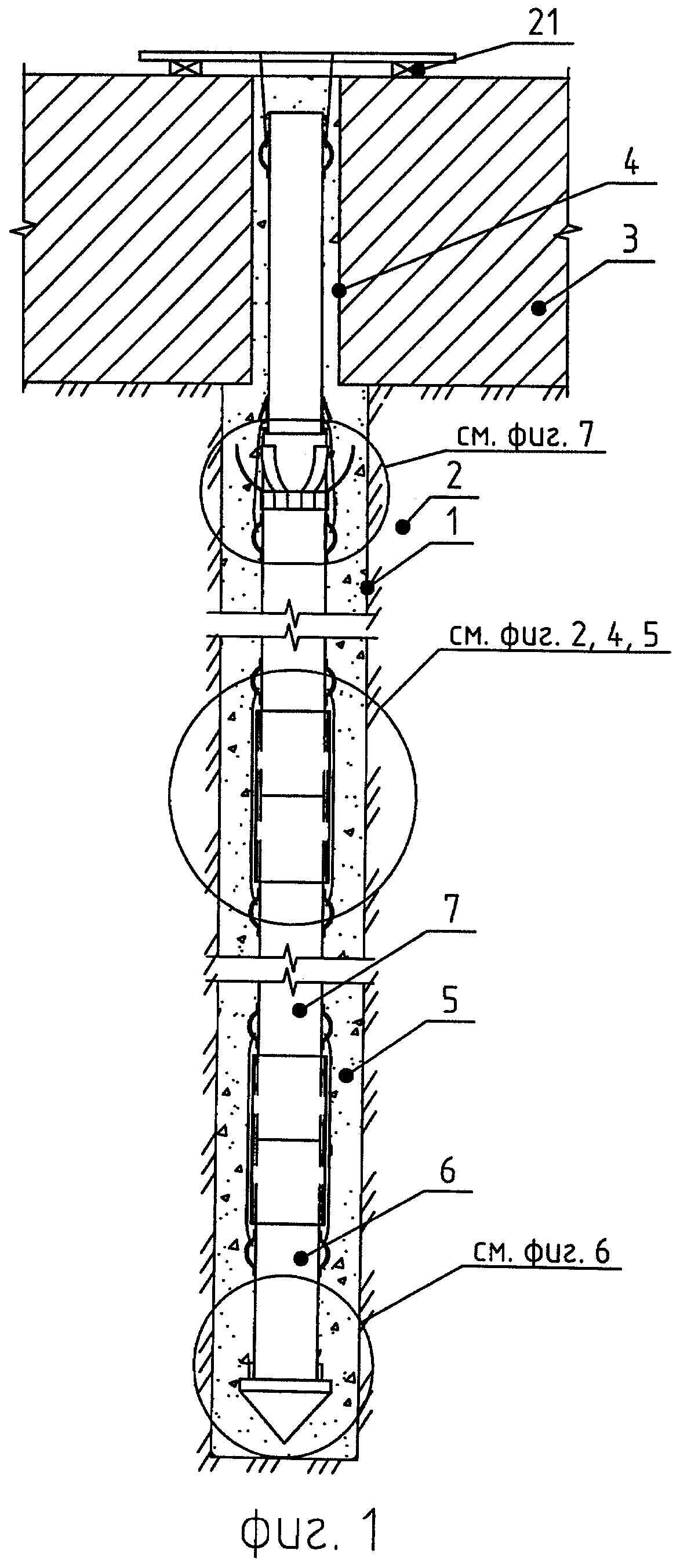
На фиг.1 показан общий вид буровой сваи, армированной отдельными секциями. На фиг.2 показано стыковое соединение отдельных секций арматурного каркаса из толстостенных труб.

[12]

На фиг.3 показан фрагмент верхней секции арматурного каркаса у зоны стыка.

[13]

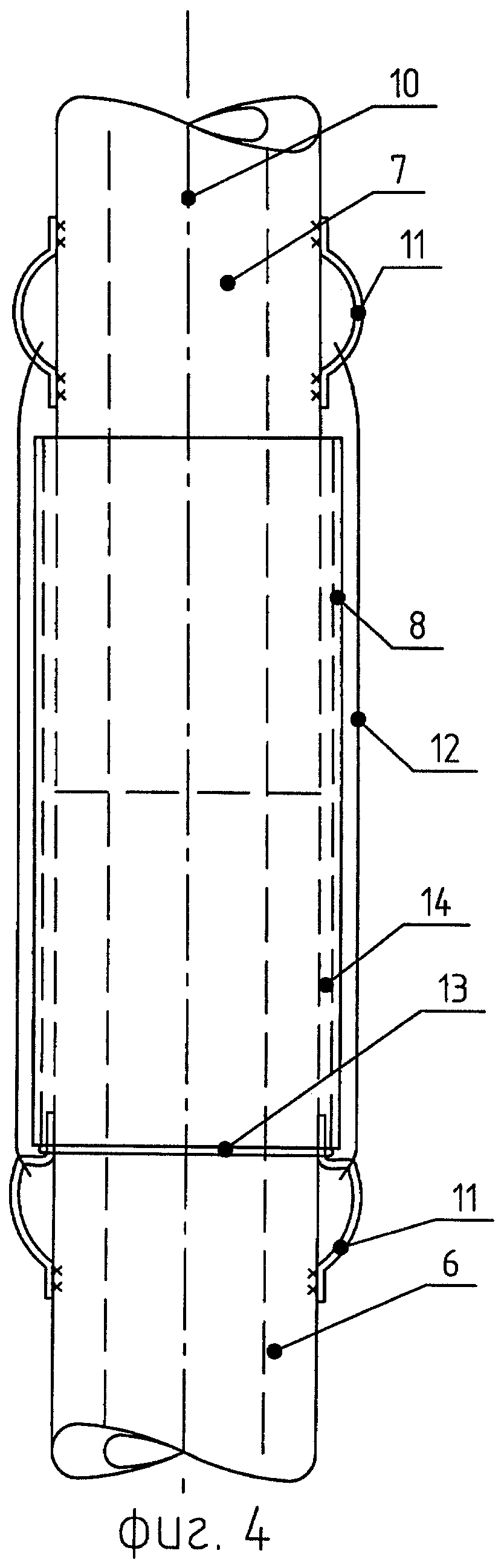
На фиг.4 показано стыковое соединение отдельных секций арматурного каркаса из одиночных стержней сплошного сечения.

[14]

На фиг.5 показан участок стыкового соединения отдельных секций арматурного каркаса, выполненного из нескольких продольных (рабочих) стержней.

[15]

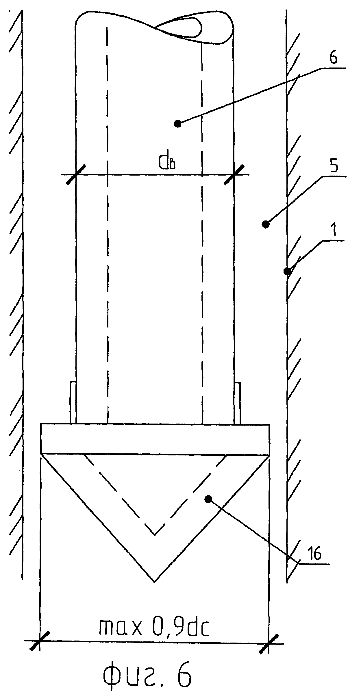
На фиг.6 показана конструкция арматурного каркаса в нижнем конце нижней секции.

[16]

На фиг.7 показана конструкция арматурного каркаса в верхнем конце, на границе контакта с подошвой существующего фундамента (плиты или ростверка).

[17]

На фиг.8 показано стыковое соединение отдельных секций арматурного каркаса из толстостенных труб, внутри которых размещен соединительный элемент с винтовым (байонетным, коническим) профилем.

[18]

При этом на чертежах обозначено: 1 - скважина, пробуренная в грунте основания 2, усиливаемая фундаментная плита (ростверк, фундамент) - 3, отверстие 4 в фундаментной плите 3, через отверстие 4 изготавливается свая усиления, для чего формируется скважина 1, заполняется бетонной смесью 5. В скважину, заполненную бетонной смесью 5, посекционно погружается арматурный каркас, состоящий, по крайней мере, из двух секций: нижней секции 6 и верхней секции 7, соединяемых между собой с помощью отрезка трубы-муфты 8, охватывающей соединяемые концы секций 6 и 7 арматурного каркаса, которые входят в муфту 8 не менее чем на диаметр стыкуемых секций. Длина муфты 8 соответствует сумме диаметров соединяемых секций арматурного каркаса. В качестве отдельных секций 6 и 7 могут использоваться: толстостенные трубы, стержни сплошного сечения или отрезки стержней (труб), к которым приварены продольные арматурные стержни 9. Торцы соединяемых секций 6 и 7 арматурного каркаса, до погружения в скважину, обработаны и расположены перпендикулярно продольной оси 10 арматурного каркаса. Поверхности примыкающих торцов должны быть ответны друг другу, то есть плотно прилегать друг к другу, при этом если на одном торце выполнены какие-либо выступы или углубления, то на примыкающем торце другой секции также должны быть выполнены соответствующие ответные профили, причем напротив выступа должно быть расположено углубление (и наоборот). Каждая секция арматурного каркаса снабжена центраторами 11, обеспечивающими соблюдение требуемого расстояния от рабочей арматуры до стенок скважины, для исключения коррозии стальных элементов, а также расположение арматурного каркаса по центру формируемой сваи. До погружения в скважину 1 нижней секции 6 арматурного каркаса к ее центраторам 11 прикрепляют стяжки 12, представляющие собой тяги (для соединения нижерасположенной секции 6 арматурного каркаса с вышерасположенной секцией 7), например вязальную проволоку. За стяжки 12 удерживаются нижерасположенные секции от погружения в бетонную смесь 5. На верхнюю часть погруженной в скважину секции 6 арматурного каркаса надевается муфта 8. Вдоль нижнего торца муфты 8 зазор между внутренней поверхностью муфты 8 и поверхностью нижней секции 6 арматурного каркаса герметизируется с помощью уплотнительного кольца 13. Полость муфты 8 заполняется бетонной смесью 5 таким образом, чтобы последняя заполнила зазор 14 и всю полость муфты 8. После этого в полость муфты 8 погружается нижний конец вышерасположенной секции 7 арматурного каркаса. Нижняя секция 6 арматурного каркаса соединяется с верхней секцией 7 арматурного каркаса стяжками 12, прикрепленными к центраторам 11. Для облегчения центровки и придания соосности секциям 6 и 7 арматурного каркаса в торце одной из секций закреплены направляющие 15. При соединении секций 6 и 7 арматурного каркаса, к которым приварены продольные арматурные стержни 9, стяжки 12 могут быть закреплены к стержням 9 арматурного каркаса. К нижней секции 6 арматурного каркаса может прикрепляться наконечник 16, диаметр которого соответствует условному диаметру по наиболее выступающим частям центраторов 11. Наконечник 16 при погружении в скважину 1, заполненную бетонной смесью 5, калибрует сечение скважины 1. В верхней секции 7 арматурного каркаса на уровне подошвы усиливаемой фундаментной плиты 3 (ростверка, фундамента) устанавливается элемент 17, снабженный упругими элементами - плоскими пружинами 18, которые в сжатом состоянии погружаются через отверстие 4 в фундаментной плите 3, а при выходе за пределы отверстия 4 упругие элементы 18 распрямляются до упора в грунт стенок скважины 1 и обжимают грунт, создавая под фундаментной плитой 3 уширение ствола сваи, армированное упругими элементами 18. Размер последней секции 19 арматурного каркаса, размещаемой в отверстии 4 фундаментной плиты 3, может быть меньше внутреннего диаметра нижерасположенной секции 6, и нижней частью на величину одного диаметра погружается внутрь последней секции 6 арматурного каркаса, а для исключения дальнейшего погружения секция 19 снабжена упорами 20. Секции 6 и 19 соединены между собой стяжками 12, прикрепленными к центраторам 11. Стяжки 12 стягивают секции 6 и 7, позволяя создать предварительное обжатие стыкового соединения. Арматурный каркас временно вывешивается с помощью стяжек 12 на временных подставках 21 и удерживается в этом положении до набора бетоном 5 достаточной прочности.

[19]

Внутри соединяемых секций 6 и 7 арматурного каркаса, при его изготовлении труб, может быть установлена соединительная муфта 22, снабженная конусом Морзе или участком, по крайней мере, с однозаходным винтовым (байонетным) профилем 23. Внутренняя поверхность 24 соединяемых труб 6 и 7 арматурного каркаса выполнена ответной внешней поверхности соединительной муфты 22, так, что соединительная муфта 22 впрессовывается (вкручивается) в нижнюю трубу на глубину, достаточную для удержания колонны всех нижерасположенных элементов арматурного каркаса. На часть соединительной муфты 22, выходящую из нижней трубы 6 арматурного каркаса, напрессовывается (навинчивается) верхняя труба 7 арматурного каркаса, внутренняя поверхность 24 которой выполнена ответной поверхности соединительной муфты 22.

[20]

Изобретение обеспечивает решение поставленной задачи, а именно армирование вертикальных свай или свай с отклонением от вертикали до 10-12°, воспринимающих вдавливающие нагрузки. Согласно заявляемому техническому решению армируются сваи, преимущественно изготавливаемые в скважинах. Через отверстие в ростверке, фундаменте или железобетонной фундаментной плите выполнена в грунте скважина из подвального помещения и заполнена пластичной бетонной смесью. Для ее армирования, согласно изобретению, применяется составной арматурный каркас, включающий толстостенные трубы или стержни сплошного сечения, предварительно нарезанные кусками (звеньями) размером не более высоты подвального помещения, или объемные секции из продольных арматурных стержней, концы которых приварены к отрезкам толстостенных труб или стержням сплошного сечения. Торцы стыкуемых секций перпендикулярны продольной оси соединяемых элементов и соответствуют по форме друг другу. Арматурный каркас состоит, по крайней мере, из двух секций, нижней и верхней. Торцевые участки секций соединяются между собой с помощью отрезка трубы-муфты, охватывающей соединяемые концы, которые входят в соединяющую их муфту не менее чем на диаметр стыкуемых стержней (труб) секций. Длина охватывающей трубы соответствует сумме диаметров соединяемых элементов секций. Радиус соединительной муфты превышает радиус стыкуемых элементов не менее чем на величину, соответствующую максимальному размеру заполнителя, используемого в твердеющем материале, и не более чем на величину, соответствующую удвоенному максимальному размеру используемого крупного заполнителя. Все свободное пространство в скважине, не занятое армирующими элементами и соединительными трубами, заполнено бетонной смесью. Звенья каркаса поочередно устанавливаются в скважину, каждое звено стыкуется с предыдущим звеном, после чего монтируемый арматурный каркас сваи погружается до следующего стыкового соединения. После завершения монтажа и набора прочности твердеющим материалом соединения отдельных секций арматурного каркаса становятся жесткими, прочными и надежными. При использовании соединительных муфт, размещаемых внутри стыкуемых труб арматурного каркаса и снабженных конусом Морзе или, по крайней мере, однозаходным винтовым (байонетным) профилем, и при непременном условии, что внутренние поверхности соединяемых труб имеют ответную форму, при соединении секций арматурного каркаса обеспечивается плотный контакт стыкуемых торцевых поверхностей - при их более точной осевой центровке и более плотном контакте между торцами соединяемых элементов. При этом упрощается монтаж арматурного каркаса в скважине.

[21]

В процессе погружения колонны армирующих сваю элементов бетонная смесь сохраняет реологические свойства, в том числе подвижность (текучее состояние), что облегчает погружение арматурного каркаса, а после набора прочности твердеющим материалом (бетоном) арматурный каркас приобретает необходимую жесткость.

[22]

Как показали экспериментальные исследования при проведении сравнительных испытаний сваи, армированной каркасом, секции которого соединялись с помощью электросварки, и сваи, изготовленной по заявляемому техническому решению, разрушение последних наступало при больших силовых воздействиях. Бетон, находящийся между внешней поверхностью стенок секций и внутренней поверхностью стенки соединительной муфты, имеющей больший диаметр, работает в условиях трехосного сжатия. Деформации бетона, находящегося в «обойме», ограничены, поэтому для разрушения стыкового соединения требуются нагрузки с более высокими значениями. Таким образом, полость между внутренней поверхностью муфты и стыкуемыми элементами получается как бы заполненной сверхпрочным бетоном, работающем в замкнутом пространстве. В данном случае бетон обеспечивает совместную работу стыкуемых элементов как единого неразрезного каркаса.

Как компенсировать расходы
на инновационную разработку
Похожие патенты