патент
№ RU 2682628
МПК A61N5/067
Номер заявки
2018108243
Дата подачи заявки
06.03.2018
Опубликовано
19.03.2019
Страна
RU
Как управлять
интеллектуальной собственностью
Чертежи 
2
Реферат

Изобретение относится к медицинской технике. Оптическая схема волоконного лазера для медицины состоит из глухого и выходного селективных зеркал, резонатора, источника подсветки, активного волокна и волоконно-оптического делителя излучения, через который лазер оптически связан с источником подсветки, резонатор выполнен волоконно-оптическим, образованным селективными зеркалами, выполненными в виде волоконных брегговских решеток, выходная из которых выполнена с коэффициентом отражения в интервале от 5 до 20%, лазерными диодами накачки, волоконно-оптическими объединителями накачки, соединенными с диодами накачки и активным волокном 4, волоконно-оптическим изолятором, расположенным в выходной части лазера, и волоконно-оптическим стриппером оболочки. 3 з.п. ф-лы, 4 ил.

Формула изобретения

1. Волоконный лазер для медицины, содержащий глухое и выходное селективные зеркала, резонатор, измеритель мощности излучения, источник подсветки, блок управления и выпрямитель, отличающийся тем, что он снабжен активным волокном и волоконно-оптическим делителем излучения, через который оптически связан с источником подсветки, лазерными диодами накачки, волоконно-оптическими объединителями накачки, соединенными с диодами накачки и активным волокном, волоконно-оптическим изолятором, расположенным в выходной части лазера, и волоконно-оптическим стриппером оболочки, при этом резонатор выполнен волоконно-оптическим, образованным селективными зеркалами в виде волоконных брегговских решеток, выходная из которых выполнена с коэффициентом отражения в интервале от 5 до 20%.

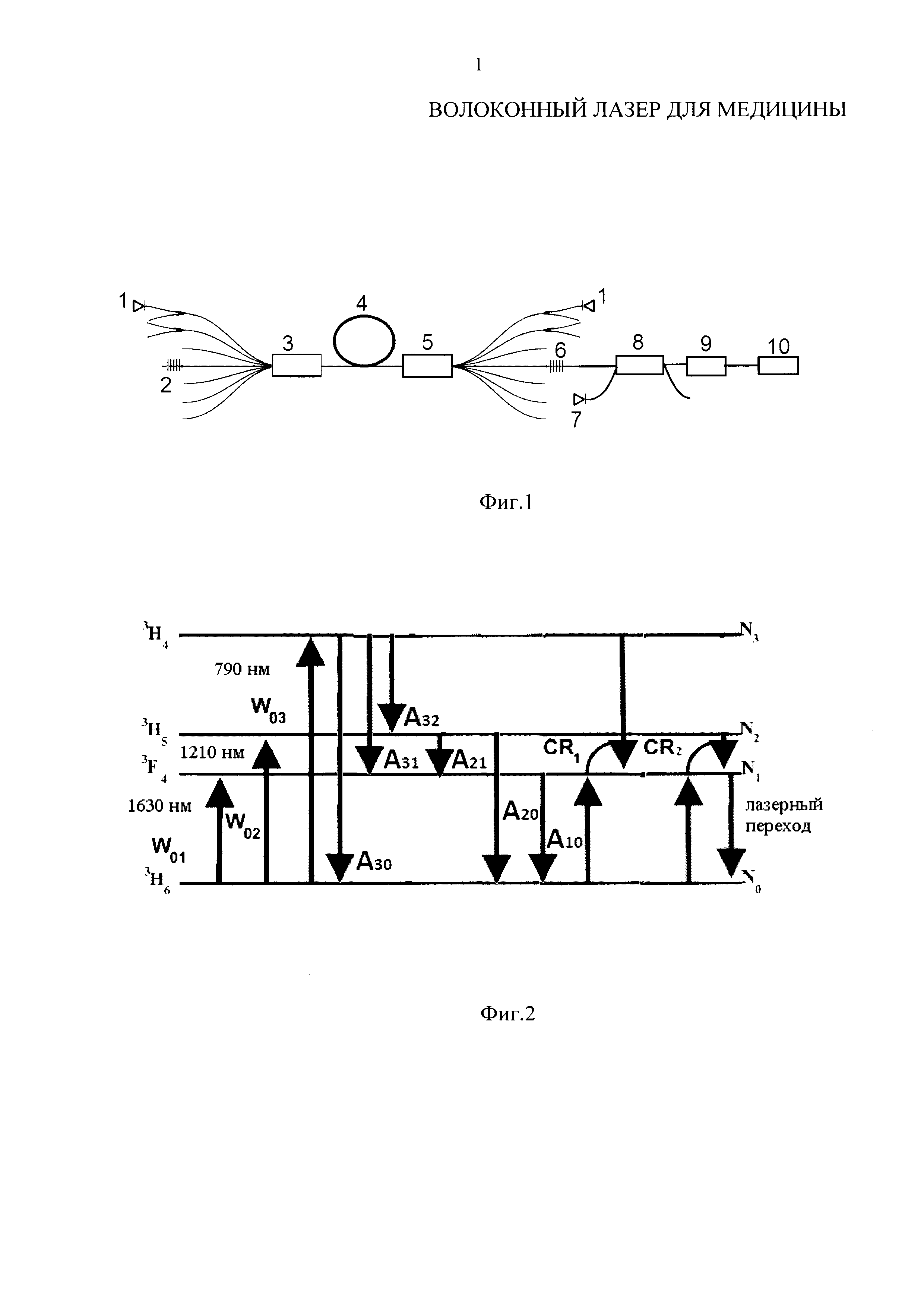
2. Волоконный лазер для медицины по п. 1, отличающийся тем, что активное волокно выполнено с концентрацией ионов Tm3+ не менее 3 вес.%.

3. Волоконный лазер для медицины по п. 1, отличающийся тем, что лазерные диоды накачки выполнены с длиной волны в диапазоне 785-795 нм.

4. Волоконный лазер для медицины по п. 1, отличающийся тем, что активное волокно резонатора выполнено с длиной волны генерации в интервале от 1900 до 2000 нм.

Описание

[1]

Изобретение относится к приборам для генерации с использованием стимулированного излучения когерентных электромагнитных волн и может быть использовано в квантовых устройствах для генерирования, стабилизации, модуляции, демодуляции или преобразования частоты, использующие стимулированное излучение в инфракрасной области спектра, а именно к волоконным лазерам для медицины.

[2]

Волоконные лазеры стали популярными в медицине для малоинвазивного лечения ряда серьезных заболеваний. Наиболее востребованными здесь являются тулиевые волоконные лазеры, способные генерировать излучение с длиной волны в диапазоне 1900-2000 нм, которое хорошо поглощается в воде и крови.

[3]

При разработке волоконных лазеров для медицины необходимо учитывать, что лазер должен обладать минимально возможными массо-габаритными параметрами высокой эффективностью и высокой надежностью.

[4]

Наиболее близким по технической сущности к изобретению и выбранным в качестве прототипа устройства является техническое решение, описанное в патенте РФ на изобретение №2 045 298, опубл. 10.01.2012 г., МПК A61N-5/06, А61В-17/36, под названием «Медицинское лазерное устройство», содержащее глухое и выходное селективные зеркала резонатора, измеритель мощности излучения, источник подсветки, блок управления и выпрямитель,

[5]

К недостаткам этого устройства следует отнести:

[6]

- использование твердотельного лазера существенно увеличивает массо-габаритные характеристики лазера и его стоимость;

[7]

- твердотельные лазеры имеют КПД в несколько раз меньший чем в волоконном;

[8]

- излучение твердотельного лазера при вводе в волокно может претерпевать потери до 50%.

[9]

Задачей настоящего изобретения является улучшение эксплуатационных возможностей с уменьшением массогабаритных характеристик и улучшением качественных характеристик, а именно увеличение выходной мощности и эффективности лазера.

[10]

Технический результат, заключается в том, что существенно повышена эффективность лазера за счет эффекта кроссрелаксации, длина волны оптимальна для работы с биологическими тканями, обеспечена возможность использования только конвективного охлаждения в широком диапазоне температур, что снижает массо-габаритные характеристики и повышает удобство эксплуатации, предотвращается эффект самофильтрации.

[11]

Это достигается тем, что волоконный лазер для медицины, содержащий глухое и выходное селективные зеркала, резонатор, измеритель мощности излучения, источник подсветки, блок управления и выпрямитель, согласно изобретению, снабжен активным волокном и волоконно-оптическим делителем излучения, через который оптически связан с источником подсветки, резонатор выполнен волоконно-оптическим, образованным селективными зеркалами, выполненными в виде волоконных брегговских решеток, выходная из которых выполнена с коэффициентом отражения в интервале от 5 до 20%, лазерными диодами накачки, волоконно-оптическими объединителями накачки, соединенными с диодами накачки и активным волокном, волоконно-оптическим изолятором, расположенным в выходной части лазера, и волоконно-оптическим стриппером оболочки.

[12]

Кроме того, в волоконном лазере для медицины по п. 1, активное волокно выполнено с концентрацией ионов Tm3+не менее 3% вес.

[13]

Кроме того, в волоконном лазере для медицины по п. 1, лазерные диоды накачки выполнены с длиной волны в диапазоне 785-795 нм.

[14]

Кроме того, в волоконном лазере для медицины по п. 1, активное волокно резонатора выполнено с длиной волны генерации в интервале от 1900 до 2000 нм.

[15]

Наличие в заявляемом изобретении признаков, отличающих его от прототипа, позволяет считать его соответствующим условию «новизна».

[16]

Новые признаки способа (он снабжен активным волокном и волоконно-оптическим делителем излучения, через который оптически связан с источником подсветки, резонатор выполнен волоконно-оптическим, образованным селективными зеркалами, выполненными в виде волоконных брегговских решеток, выходная из которых выполнена с коэффициентом отражения в интервале от 5 до 20%, лазерными диодами накачки, волоконно-оптическими объединителями накачки, соединенными с диодами накачки и активным волокном, волоконно-оптическим изолятором, расположенным в выходной части лазера, и волоконно-оптическим стриппером оболочки), не выявлены в технических решениях аналогичного назначения. На этом основании можно сделать вывод о соответствии заявляемого изобретения условию «изобретательский уровень».

[17]

Предложенное техническое решение проиллюстрировано на следующих чертежах:

[18]

на фиг. 1 представлена оптическая схема лазера;

[19]

на фиг. 2 представлена энергетическая диаграмма уровней ионов тулия;

[20]

на фиг. 3 представлен спектр поглощения тулиевого волокна в области 785-795 нм;

[21]

на фиг. 4 представлена зависимость нормированной эффективности тулиевого лазера от коэффициента отражения выходного зеркала.

[22]

На чертежах введены следующие обозначения:

[23]

1 - лазерный диод накачки;

[24]

2 -глухое селективное зеркало;

[25]

3 - объединитель накачки;

[26]

4 - активное волокно;

[27]

5 - объединитель накачки;

[28]

6 - выходное селективное зеркало;

[29]

7 - источник подсветки;

[30]

8 - делитель излучения;

[31]

9 - стриппер оболочки;

[32]

10 - изолятор.

[33]

Оптическая схема волоконного лазера для медицины состоит из (фиг. 1) глухого 2 и выходного 6 селективных зеркал, резонатора, источника подсветки 7, активного волокна 4 и волоконно-оптического делителя излучения 8, через который оптически связан с источником подсветки 7, резонатор выполнен волоконно-оптическим, образованным селективными зеркалами 2, 6, выполненными в виде волоконных брегговских решеток, выходная из которых выполнена с коэффициентом отражения в интервале от 5 до 20%, лазерными диодами накачки 1, волоконно-оптическими объединителями накачки 3, 5, соединенными с диодами накачки и активным волокном 4, волоконно-оптическим изолятором 10, расположенным в выходной части лазера, и волоконно-оптическим стриппером оболочки 9.

[34]

Устройство работает следующим образом.

[35]

Излучение диодов накачки 1 возбуждает ионы, находящиеся в состоянии3Н6 (фиг. 2), и инициирует их переход на энергетические уровни3F4,3Н5, и3Н4 со скоростью накачки W01, W02 и W03, соответственно. В устройстве используется накачка в диапазоне 785-795 нм, возбужденные ионы будут спонтанно переходить на нижние уровни со скоростями А. С уровня3Н5 ионы безызлучательно переходят на уровень3F4.

[36]

Лазерный переход расположен между уровнями3Н6 и3F4. Поэтому можно считать, что волоконный лазер для медицины работает по трехуровневой схеме, и необходима мощная накачка, чтобы создать инверсию населенностей. Учитывая значительный квантовый дефект (примерно 58%), КПД преобразования «свет в свет» не может превышать 42% (без учета других потерь). Известно, что с повышением концентрации ионов тулия эффективность волоконного лазера для медицины повышается и связана такая зависимость с эффектом кроссрелаксации. Кроссрелаксация заключается в том, что один фотон может переместить на лазерный уровень сразу два иона. На фиг. 2 этот процесс обозначен как CR. Использование активного волокна 4 с концентрацией ионов тулия (Tm3+) более 3% позволяет достичь эффективности «свет в свет» более 60%.

[37]

Экспериментальные исследования спектра поглощения ионов тулия в диапазоне 785-795 нм (фиг. 3) показали, что максимум поглощения соответсвует длине волны 788 нм. Поэтому использование диодов накачки 1 с длиной волны 786 нм при температуре 25°С позволяет использовать пассивное охлаждение, т.к. дрейф длины волны диодов накачки 1 составляет 0.3 нм/К. Таким образом, спектр излучения диодов накачки 1 соответствует спектру поглощения ионов тулия в активном волокне 4 и при температуре 40°С. В предлагаемом волоконном лазере для медицины активное волокно выполнено с длиной волны генерации в интервале 1900-2000 нм, которое хорошо поглощается в воде и крови.

[38]

Выше сказанное позволяет существенно снизить массогабаритные характеристики волоконного лазера для медицины при температуре до 40°С, что идеально подходит для использования в медицинских учреждениях.

[39]

Оптимальный коэффициент отражения выходного зеркала (фиг. 4) лежит в диапазоне от 5 до 20%. Нижняя граница 5% обусловлена созданием обратной связи в резонаторе от торца волокна посредством френелевского отражения (4.6%), вследствие чего лазер может генерировать излучение на благоприятной ему длине волны в области 1970 нм. Верхняя граница обусловлена спадом эффективности.

[40]

Заявляемое изобретение позволило снизить массогабаритные характеристики волоконного лазера для медицины и достичь КПД лазера 15%.

[41]

Для заявленного изобретения в том виде, как оно охарактеризовано в формуле изобретения, экспериментально подтверждена работоспособность волоконного лазера для медицины и способность достижения указанного технического результата. Следовательно, заявленное изобретение соответствует условию «промышленная применимость».

Как компенсировать расходы
на инновационную разработку
Похожие патенты