патент
№ RU 2696035
МПК E21B43/114

Гидропескоструйный перфоратор для поинтервальной перфорации и гидравлического разрыва пласта

Авторы:
Зиятдинов Радик Зяузятович
Номер заявки
2018139978
Дата подачи заявки
12.11.2018
Опубликовано
30.07.2019
Страна
RU
Как управлять
интеллектуальной собственностью
Чертежи 
2
Реферат

[54]

Изобретение относится к нефтяной промышленности, в частности к устройствам для поинтервального перфорирования скважин гидроабразивной струей направленного действия. Гидропескоструйный перфоратор содержит корпус с отверстиями, в которых установлены струйные насадки, размещенную в корпусе подвижную втулку и запорный элемент. В корпусе выполнены два ряда отверстий на расстоянии 0,05-0,1 м друг от друга, при этом в каждом ряду выполнено по два отверстия, расположенных в горизонтальной плоскости под углом 180° по отношению друг к другу, а в рядах отверстия расположены во взаимно перпендикулярных плоскостях. Снизу корпус снабжен присоединительной резьбой для пакерного оборудования. Снаружи в верхней и нижней частях корпуса жестко установлены центраторы с переточными каналами. Снизу в корпус ввернуто стопорное кольцо. Подвижная втулка, размещенная в корпусе, снабжена снизу наружной цилиндрической выборкой, а внутри - седлом под запорный элемент. В исходном положении оба ряда отверстий корпуса герметично изнутри перекрыты подвижной втулкой, закрепленной относительно корпуса срезным элементом, который ввернут в корпус и размещен в наружной цилиндрической выборке подвижной втулки. В рабочем положении подвижная втулка имеет возможность осевого ограниченного перемещения относительно корпуса до упора в стопорное кольцо с открытием двух рядов отверстий и фиксацией подвижной втулки относительно корпуса с помощью разрезного пружинного кольца. Обеспечивается упрощение конструкции, увеличение надежности и эффективности в работе, расширение функциональных возможностей, сокращение продолжительности работ. 3 ил.

Формула изобретения

Гидропескоструйный перфоратор для поинтервальной перфорации и гидравлического разрыва пласта, содержащий корпус с отверстиями, в которых установлены струйные насадки, размещенную в корпусе подвижную втулку и запорный элемент, отличающийся тем, что в корпусе выполнены два ряда отверстий на расстоянии 0,05-0,1 м друг от друга, при этом в каждом ряду выполнено по два отверстия, расположенных в горизонтальной плоскости под углом 180° по отношению друг к другу, а в рядах отверстия расположены во взаимно перпендикулярных плоскостях, при этом снизу корпус снабжен присоединительной резьбой для пакерного оборудования, причем снаружи в верхней и нижней частях корпуса жестко установлены центраторы с переточными каналами, при этом снизу в корпус ввернуто стопорное кольцо, причем подвижная втулка, размещенная в корпусе, снабжена снизу наружной цилиндрической выборкой, а внутри - седлом под запорный элемент, при этом в исходном положении оба ряда отверстий корпуса, оснащенных струйными насадками, герметично изнутри перекрыты подвижной втулкой, закрепленной относительно корпуса срезным элементом, при этом срезной элемент ввернут в корпус и размещен в наружной цилиндрической выборке подвижной втулки, а в рабочем положении подвижная втулка имеет возможность осевого ограниченного перемещения относительно корпуса до упора в стопорное кольцо с открытием двух рядов отверстий, оснащенных струйными насадками, и фиксацией подвижной втулки относительно корпуса с помощью разрезного пружинного кольца.

Описание

[1]

Изобретение относится к нефтяной промышленности, в частности к устройствам для поинтервального перфорирования скважин гидроабразивной струей направленного действия с предварительным отсечением интервала перфорации пакер-пробкой и последующим проведением гидроразрыва пласта через проперфорированные отверстия в эксплуатационной колонне, цементном камне и горной породе вертикальной и горизонтальной скважин.

[2]

Известен импульсный перфоратор (патент RU №2061849, МПК Е21В 43/114, опубл. 10.06.1996 г., бюл. №16), содержащий корпус с продольным каналом и связанные с ним наклонно расположенные боковые отверстия, в которых закреплены сопла, включающие насадкодержатели с твердосплавными струйными насадками.

[3]

Недостатками импульсного перфоратора являются:

[4]

- во-первых, низкая надежность конструкции, так как при наклонном расположении сопел из-за недостатка расстояния для обеспечения отклонения в сторону отраженных от обсадной колонны струй происходит интенсивный абразивный износ корпуса:

[5]

- во-вторых, из-за удаления корпуса от стенки обсадной колонны резкое уменьшение разрушающего действия выходящих из сопел гидроабразивных струй и снижение эффективности перфорации;

[6]

- в-третьих, ограниченные функциональные возможности, а именно невозможность проведения поинтервальной перфорации с отсечением предыдущего интервала гидропескоструйной перфорации и гидроразрыва пласта в интервале перфорации сразу после проведения гидропескоструйной перфорации.

[7]

Также известен гидропескоструйный перфоратор (патент RU №2312979, МПК Е21В 43/114, опубл. 20.12.2017 г., бюл. №35), содержащий полый корпус с наружными углублениями в виде двух сопряженных плоскостей, в одной из которых выполнено соединенное с полостью корпуса отверстие с установленной в нем струйной насадкой, посадочное седло в нижней части корпуса с запорным элементом, при этом корпус снабжен защитными пластинами, струйные насадки имеют на входе удлиненную коническую часть и установлены в отверстиях посредством насадкодержателей, имеющих выступающие за пределы корпуса конусообразные части, а на другой плоскости углублений расположена твердосплавная сменная площадка отражения. Недостатками гидропескоструйного перфоратора являются:

[8]

- во-первых, снижение эффективности перфорации из-за наклонного расположения сопел, что приводит к резкому уменьшению разрушающего действия выходящих из сопел гидроабразивных струй;

[9]

- во-вторых, низкая надежность конструкции, обусловленная высоким абразивным износом перфоратора вследствие наклонного расположения сопел перфоратора;

[10]

- в-третьих, ограниченные функциональные возможности, а именно невозможность проведения поинтервальной перфорации с отсечением предыдущего интервала гидропескоструйной перфорации и гидроразрыва пласта в интервале перфорации сразу после проведения гидропескоструйной перфорации.

[11]

Наиболее близким по технической сущности и достигаемому результату является гидропескоструйный перфоратор (патент RU №2631947, МПК Е21В 43/114, опубл. 29.09.2017 г., бюл. №28), содержащий корпус с отверстиями, в которых установлены струйные насадки, размещенную в корпусе подвижную втулку, связанную с запорным элементом, соединенным с подвижным стержнем, седло запорного элемента, установленное в патрубке, соединенном с корпусом, подвижный стержень соединен с подпружиненным подвижным стаканом, в торцевой части которого выполнены отверстия, при этом в отверстия подвижного стакана установлены втулки, закрепленные с помощью прижима, струйные насадки расположены вдоль корпуса по спирали, в подвижной втулке выполнен паз, в который заведен конец пробки, установленной в отверстии корпуса, пружина подвижного стакана отделена от подвижного стержня трубчатыми элементами.

[12]

Недостатками гидропескоструйного перфоратора являются:

[13]

- во-первых, сложность конструкции, обусловленная большим количеством узлов и деталей (подвижный стакан, пружина, втулки, закрепленные с помощью прижима и т.д.);

[14]

во-вторых, низкая надежность конструкции, обусловленная наличием подпружиненного стакана, так как высока вероятность поломки пружины вследствие знакопеременных нагрузок в процессе гидропескоструйной перфорации, кроме того, отсутствует фиксация подвижной втулки относительно корпуса, что может привести к перекрытию струйных насадок изнутри в процессе проведения гидропескоструйной перфорации, особенно при работе в горизонтальной скважине, что приводит к отказу устройства в работе;

[15]

- в-третьих, ограничение притока нефти из призабойной зоны пласта в полость скважины из-за выполнения перфорационных отверстий в эксплуатационной колонне скважины по спирали;

[16]

в-четвертых, ограниченные функциональные возможности, а именно невозможность поинтервальной перфорации с отсечением предыдущего интервала гидропескоструйной перфорации и гидроразрыва пласта в интервале перфорации сразу после проведения гидропескоструйной перфорации;

[17]

- в-пятых, увеличение продолжительности работ из-за невозможности совмещения технологических операций и спуска устройства на колонне гибких труб.

[18]

Техническими задачами изобретения являются упрощение конструкции гидропескоструйного перфоратора, повышение надежности и эффективности его работы, а также расширение функциональных возможностей гидропескоструйного перфоратора, сокращение длительности работ с применением предлагаемого устройства.

[19]

Поставленные задачи решаются гидропескоструйным перфоратором для поинтервальной перфорации и гидравлического разрыва пласта, содержащим корпус с отверстиями, в которых установлены струйные насадки, размещенную в корпусе подвижную втулку и запорный элемент.

[20]

Новым является то, что в корпусе выполнены два ряда отверстий на расстоянии 0,05--0,1 м друг от друга, при этом в каждом ряду выполнено по два отверстия, расположенных в горизонтальной плоскости под углом 180° по отношению друг к другу, а в рядах отверстия расположены во взаимноперпендикулярных плоскостях, при этом снизу корпус снабжен присоединительной резьбой для пакерного оборудования, причем снаружи в верхней и нижней частях корпуса жестко установлены центраторы с переточными каналами, при этом снизу в корпус ввернуто стопорное кольцо, причем подвижная втулка, размещенная в корпусе, снабжена снизу наружной цилиндрической выборкой, а внутри - седлом под запорный элемент, при этом в исходном положении оба ряда отверстий корпуса, оснащенных струйными насадками, герметично изнутри перекрыты подвижной втулкой, закрепленной относительно корпуса срезным элементом, при этом срезной элемент ввернут в корпус и размещен в наружной цилиндрической выборке подвижной втулки, а в рабочем положении подвижная втулка имеет возможность осевого ограниченного перемещения относительно корпуса до упора в стопорное кольцо с открытием двух рядов отверстий, оснащенных струйными насадками, и фиксацией подвижной втулки относительно корпуса с помощью разрезного пружинного кольца.

[21]

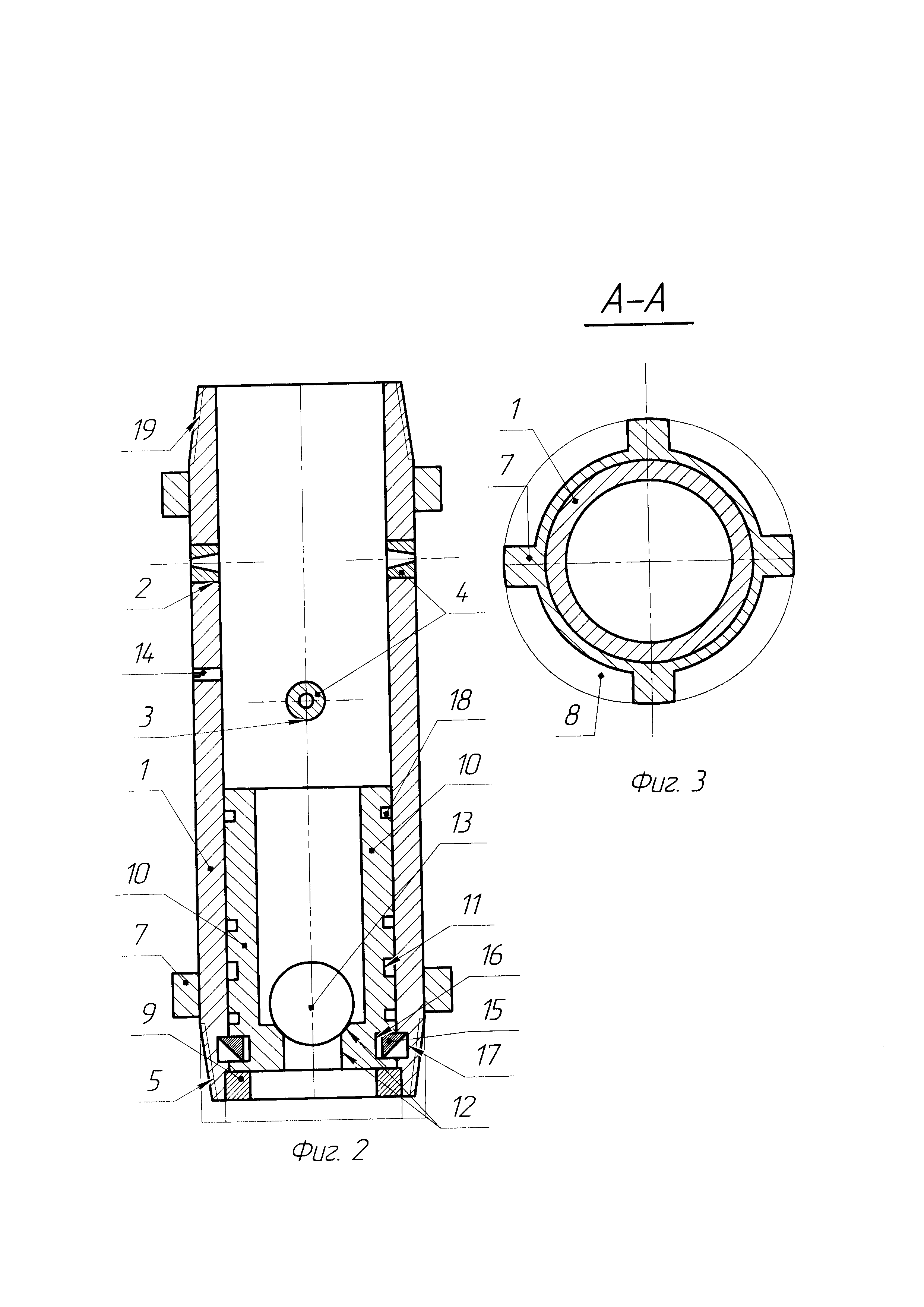
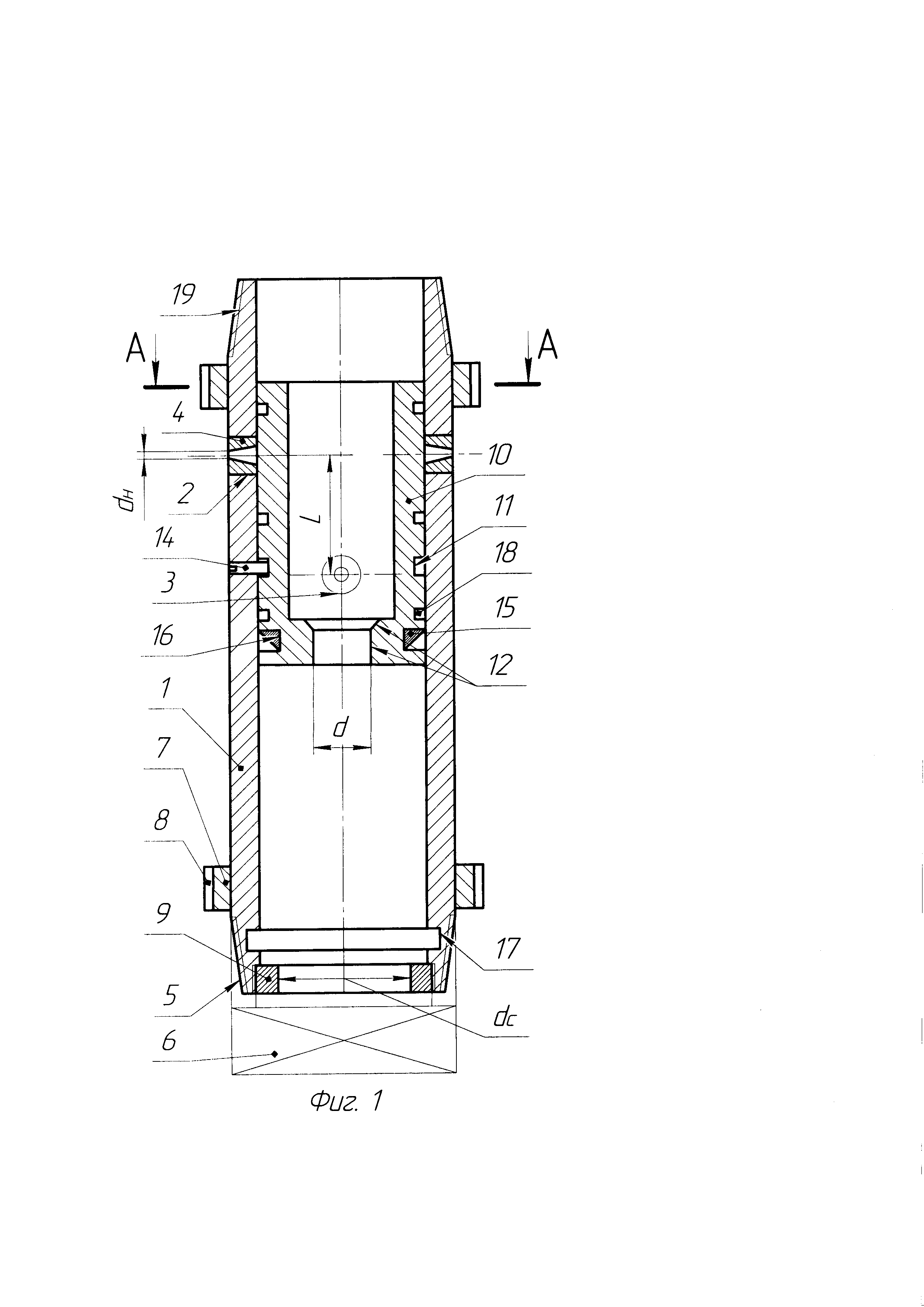
На фиг. 1-3 схематично изображен гидропескоструйный перфоратор (ГП) для поинтервальной перфорации и гидравлического разрыва пласта (ГРП).

[22]

ГП содержит корпус 1 (фиг. 1). В корпусе 1 изготовлены два ряда 2 и 3 отверстий на расстоянии L=0,05-0,1 м друг от друга. В каждом ряду 2 и 3 выполнено по два отверстия, расположенных в горизонтальной плоскости под углом 180° по отношению друг к другу, а отверстия в рядах 2 и 3 расположены во взаимноперпендикулярных плоскостях.

[23]

Каждое отверстие ряда 2 и 3 оснащено струйными насадками 4, например, диаметром dн =4,5 мм.

[24]

Снизу на корпусе 1 имеется присоединительная резьба 5 для пакерного оборудования, например, для присоединения к нижнему концу ГП пакер-пробки 6 с посадочным устройством (на фиг. 1 показано условно).

[25]

Снаружи в верхней и нижней частях корпуса 1 (фиг. 1) жестко, например, с помощью резьбового соединения или сваркой по контуру установлены центраторы 7 (фиг. 1 и 3) с переточными каналами 8.

[26]

Снизу в корпус 1 (см. фиг. 1) ввернуто стопорное кольцо 9. Подвижная втулка 10, размещенная в корпусе 1, снабжена снизу наружной цилиндрической выборкой 11, а внутри седлом 12 под запорный элемент 13 (см. фиг. 2), выполненный в виде шара. Внутренний диаметр d стопорного кольца 9 больше или равен внутреннему диаметру dc седла 12 подвижной втулки 10 (dc≤d). Данное условие необходимо для исключения штуцирования потока жидкости при посадке пакер-пробки 6.

[27]

В исходном положении оба ряда 2 и 3 отверстий, оснащенных струйными насадка-ми 4, корпуса 1 герметично изнутри перекрыты подвижной втулкой 10, закрепленной относительно корпуса 1 срезным элементом 14.

[28]

Срезной элемент 14 ввернут в корпус 1 и размещен в наружной цилиндрической выборке 11 подвижной втулки 10.

[29]

В рабочем положении подвижная втулка 10 имеет возможность осевого ограниченного перемещения относительно корпуса 1 до упора в стопорное кольцо 9 с открытием двух рядов 2 и 3 отверстий, оснащенных струйными насадками 4, и фиксацией подвижной втулки 10 относительно корпуса 1. Фиксация подвижной втулки относительно корпуса 1 осуществляется с помощью разрезного пружинного кольца 15, находящегося в сжатом состоянии, размещенного в наружной цилиндрической выборке 16, выполненной на нижнем конце подвижной втулки 10. При осевом перемещении подвижной втулки 10 вниз и взаимодействии нижнего торца подвижной втулки 10 со стопорным кольцом 9 пружинное разрезное кольцо 15 размещается напротив внутренней цилиндрической канавки 17 корпуса 1, расширяется, т.к. находится в сжатом состоянии, и попадает во внутреннюю цилиндрическую канавку 17 корпуса 1 и фиксирует подвижную втулку 10 относительно корпуса 1.

[30]

Уплотнительные элементы 18 обеспечивают необходимую герметичность при работе ГП и предотвращают несанкционированные перетоки жидкости.

[31]

ГП для поинтервальной перфорации и ГРП работает следующим образом.

[32]

Сначала на присоединительную резьбу 5 корпуса 1 гидропескоструйного перфора-тора наворачивают посадочный инструмент с пакер-пробкой 6. Затем посредством присоединительной резьбы 19 корпуса 1 ГП наворачивают на нижний конец колонны гибких труб (ГТ), например, диметром 60 мм. Кроме того, возможен спуск ГП в эксплуатационную колонну горизонтальной скважины на колонне насосно-компрессорных груб.

[33]

Спускают ГП с посадочным инструментом и пакер-пробкой 6 на конце, например, в горизонтальную скважину (на фиг. 1-3 не показано) в заданный интервал отсечения скважины. Например, перед проведением гидропескоструйной перфорации (ГПП) эксплуатационной колонны отсекают пакер-пробкой 6 (фиг. 1) негерметичный забой горизонтальной скважины. Для этого в колонне ГТ и ГП, а также посадочном устройстве пакер-пробки 6 с помощью насосного агрегата создают избыточное давление для посадки пакер-пробки 6. Например, под давлением 9,0 МПа сажают пакер-пробку 6 в эксплуатационной колонне горизонтальной скважины и отсекают негерметичный забой. Стравливают давление в колонне ГТ.

[34]

Далее размещают ГП в интервале проведения перфорации эксплуатационной колонны горизонтальной скважины. Сбрасывают в колонну ГТ запорный элемент 13 (фиг. 2). Создают в колонне ГТ избыточное давление, например 5,0 МПа, при этом срезной элемент 14, фиксирующий подвижную втулку 10 относительно корпуса 1 ГП, разрушается и подвижная втулка 10 смещается вниз до упора нижним торцом в стопорное кольцо 9, где фиксируется относительно корпуса 1 пружинным разрезным кольцом 15, находящимся в наружной цилиндрической выборке 16 подвижной втулки 10, при этом пружинное разрезное кольцо 15 разжимается и попадает во внутреннюю цилиндрическую канавку 17 корпуса 1. В результате изнутри открываются ряды 2 и 3 отверстий, в которых установлены струйные насадки 4.

[35]

Далее проводят ГПП. Для проведения ГПП с последующим ГРП подбирают расход насосного агрегата (на фиг. 1-3 не показан), исходя из расхода жидкости не менее 3 л/с на одну струйную насадку 4, например, диаметром dн - 4,5 мм, определенного опытном путем.

[36]

Учитывая, что количество струйных насадок 4 равно четырем (по две в каждом ряду 2 и 3), то расход жидкости, создаваемый насосным агрегатом, должен быть не менее 3 л/с⋅4=12 л/с.

[37]

Проводят ГПП в заданном интервале эксплуатационной колонны. ГПП эксплуатационной колонны и последующее образование каверн производится при подаче по колонне ГТ в ГП через струйные насадки 4 смеси кварцевого песка и технологической жидкости (концентрация кварцевого песка от 50 до 100 кг/м3) с расходом жидкости не менее 12 л/с.

[38]

По окончании ГПП, не изменяя положения ГТ с ГП, по колонне ГТ в ГП через струйные насадки 4 проводят кислотный или пропантный ГРП по любой известной технологии.

[39]

При кислотном ГРП закачкой кислотного состава, например 12%-го водного раствора соляной кислоты, из каверн протравливанием породы образуют трещины ГРП.

[40]

При пропантном ГРП производят развитие из каверн трещин закачкой жидкости разрыва и закрепление этих трещин пропантом.

[41]

В случае пропантного ГРП обратной промывкой, т.е. подачей технической воды в межколонное пространство и выходом из колонн ГТ, вымывают остатки пропанта из полости скважины. После чего колонну ГТ с ГП извлекают из эксплуатационной колонны горизонтальной скважины.

[42]

Далее вновь собирают ГП, как показано на фиг. 1, и все вышеописанные операции повторяют необходимое количество раз в зависимости от количества интервалов проведения в эксплуатационной колонне горизонтальной скважины ГПП с последующим ГРП, при этом после посадки пакер-пробка 6 отсекает предыдущий интервал проведения ГПП с последующим ГРП.

[43]

В процессе проведения ГПП с последующим ГРП центраторы 7 с переточными каналами 8 центрируют ГП в эксплуатационной колонне горизонтальной скважины, что позволяет создать симметричные отверстия в эксплуатационной колонне горизонтальной скважины и сократить время ГПП, а переточные каналы исключают запирание потока отработанной жидкости с кварцевым песком в интервале ГПП с последующим ГРП.

[44]

После выполнения ГПП с последующим ГРП с помощью предлагаемого ГП обеспечивается создание в призабойной зоне пласта двух перпендикулярных трещин, благодаря тому, что конструктивно отверстия в рядах 2 и 3 находятся на расстоянии L=0,05-0,1 м друг от друга и расположены во взаимноперпендикулярных плоскостях. Это позволяет интенсифицировать приток нефти в полость скважины через отверстия, полученные в эксплуатационной колонне горизонтальной скважины в результате проведения поинтервального ГПП с последующим ГРП.

[45]

Повышается надежность работы ГП, так как фиксация подвижной втулки относительно корпуса исключает перекрытие струйных насадок изнутри в процессе проведения ГПП, что особенно актуально при работе в горизонтальной скважине.

[46]

ГП благодаря гидравлическому сообщению между полой втулкой 10 ГП и пакер-пробкой 6, а также наличию присоединительной резьбы 5 в корпусе 1 ГП позволяет перед проведением ГПП произвести отсечение как негерметичного участка эксплуатационной колонны, так и интервалов проведения ГПП с последующим ГРП между собой, т.е. совместить технологические операции.

[47]

Упрощается конструкция ГП. Расширяются функциональные возможности устройства, которое позволяет совместить технологические операции за один спуск колонны труб в скважину за счет поинтервальной перфорации с отсечением предыдущего интервала перфорации или обводненного забоя скважины, а также проведения ГРП в интервале перфорации сразу после проведения ГПП без извлечения колонны ГТ.

[48]

Совмещение технологических операций с возможностью спуска ГП на колонне ГТ с поинтервальной ГПП сокращает продолжительность работ по ГП с последующим ГРП.

[49]

Предлагаемый гидропескоструйный перфоратор для поинтервальной перфорации и гидравлического разрыва пласта:

[50]

- имеет простую конструкцию;

[51]

- обладает высокой надежностью и эффективностью в работе;

[52]

- расширяет функциональные возможности;

[53]

- сокращает продолжительность работ по выполнению поинтервальной ГПП с последующим ГРП.

Как компенсировать расходы
на инновационную разработку
Похожие патенты