патент
№ RU 2678741
МПК E21B19/00

УСТРОЙСТВО ДЛЯ ИЗВЛЕЧЕНИЯ ОБОРВАННЫХ ШТАНГ ИЗ СКВАЖИНЫ

Авторы:
Ковальчук Александр Павлович
Номер заявки
2018116103
Дата подачи заявки
27.04.2018
Опубликовано
31.01.2019
Страна
RU
Как управлять
интеллектуальной собственностью
Чертежи 
1
Реферат

Изобретение относится к нефтегазодобывающей промышленности и предназначено для ликвидации аварий в скважинах, связанных с извлечением оборванных штанг из скважины. Устройство для извлечения оборванных штанг из скважины содержит корпус и запорное тело. Корпус выполнен в виде полого цилиндра с цилиндрическими выступами на верхнем и нижнем концах наружной боковой стенки. С нижнего торца полого цилиндра выполнены два продольных паза, расположенные друг против друга. Запорное тело выполнено в виде двух плашек: неподвижной и поворотной. В одном продольном пазу полого цилиндра расположена неподвижная плашка, зафиксированная от перемещения штифтом, запрессованным в отверстия, выполненные на этой плашке и в нижнем цилиндрическом выступе полого цилиндра. В другой продольный паз полого цилиндра установлена поворотная плашка, выполненная со сквозным отверстием на верхнем конце и наклонной поверхностью в нижней половинке внутренней стенки. Через отверстие поворотной плашки проходит ось, посаженная прессовой посадкой в два соосных отверстия. Эти отверстия выполнены в боковой стенке полого цилиндра перпендикулярно боковой стенке продольного паза, где расположена эта плашка. В боковой стенке нижнего цилиндрического выступа полого цилиндра напротив нижнего конца поворотной плашки выполнена радиально расположенная резьбовая выборка, снабженная болтом, взаимодействующим с этой плашкой. В полом цилиндре и его нижнем цилиндрическом выступе между продольными пазами выполнен открытый зев под штангу. Устройство снабжено приводом вращения оборванных штанг, в качестве которого использован подвесной трубный ключ с гидромотором, применяемый для свинчивания и развинчивания бурильных и насосно-компрессорных труб. В предложенном устройстве повышается эффективность работы. 2 ил.

Формула изобретения

Устройство для извлечения оборванных штанг из скважины, содержащее корпус и запорное тело, отличающееся тем, что корпус выполнен в виде полого цилиндра с цилиндрическими выступами на верхнем и нижнем концах наружной боковой стенки, при этом с нижнего торца полого цилиндра выполнены два продольных паза, расположенные друг против друга, причем запорное тело выполнено в виде двух плашек: неподвижной и поворотной, причем в одном продольном пазу полого цилиндра расположена неподвижная плашка, зафиксированная от перемещения штифтом, запрессованным в отверстия, выполненные на этой плашке и в нижнем цилиндрическом выступе полого цилиндра, причем в другой продольный паз полого цилиндра установлена поворотная плашка, выполненная со сквозным отверстием на верхнем конце и наклонной поверхностью в нижней половинке внутренней стенки, причем через отверстие поворотной плашки проходит ось, посаженная прессовой посадкой в два соосных отверстия, выполненных в боковой стенке полого цилиндра перпендикулярно боковой стенке продольного паза, где расположена эта плашка, причем в боковой стенке нижнего цилиндрического выступа полого цилиндра напротив нижнего конца поворотной плашки выполнена радиально расположенная резьбовая выборка, снабженная болтом, взаимодействующим с этой плашкой, причем в полом цилиндре и его нижнем цилиндрическом выступе между продольными пазами выполнен открытый зев под штангу, причем устройство снабжено приводом вращения оборванных штанг, в качестве которого использован подвесной трубный ключ с гидромотором, применяемый для свинчивания и развинчивания бурильных и насосно-компрессорных труб.

Описание

[1]

Изобретение относится к нефтегазодобывающей промышленности и предназначено для ликвидации аварий в скважинах, связанных с извлечением оборванных штанг из скважины.

[2]

Известно устройство для захвата и извлечения труб из скважины (Патент RU 41330, МПК Е21В 31/12, опубл. 20.10.2004, Бюл. №29), содержащее выполненную в виде обратной воронки корпус, имеющий конические поверхности, которые снабжены пазами, и запорные элементы, выполненные в виде рифленых плашек, установленных в эти пазы с возможностью продольного перемещения по ним. Недостатком известного устройства является трудоемкость выполнения пазов на внутренней конической поверхности корпуса. Другой недостаток в том, что плашки не зафиксированы в пазу в раздвинутом положении и поэтому устройство опускают в скважину с вращением. Наиболее близким является устройство для извлечения оборванных штанг из скважины (Патент RU 56445, МПК Е21В 31/00, опублик. 10.09.2006 Бюл. №25), содержащее корпус и запорное тело. Недостатком прототипа является невозможность передачи на оборванную штангу крутящего момента без приложения осевого усилия, направленного вверх. Если поворачивать устройство без осевого усилия, то захватный элемент в виде шара будет катится между стенками корпуса и штанги. Из-за этого невозможно повернуть заклиненную оборванную штангу.

[3]

Технической задачей изобретения является повышение эффективности работы устройства.

[4]

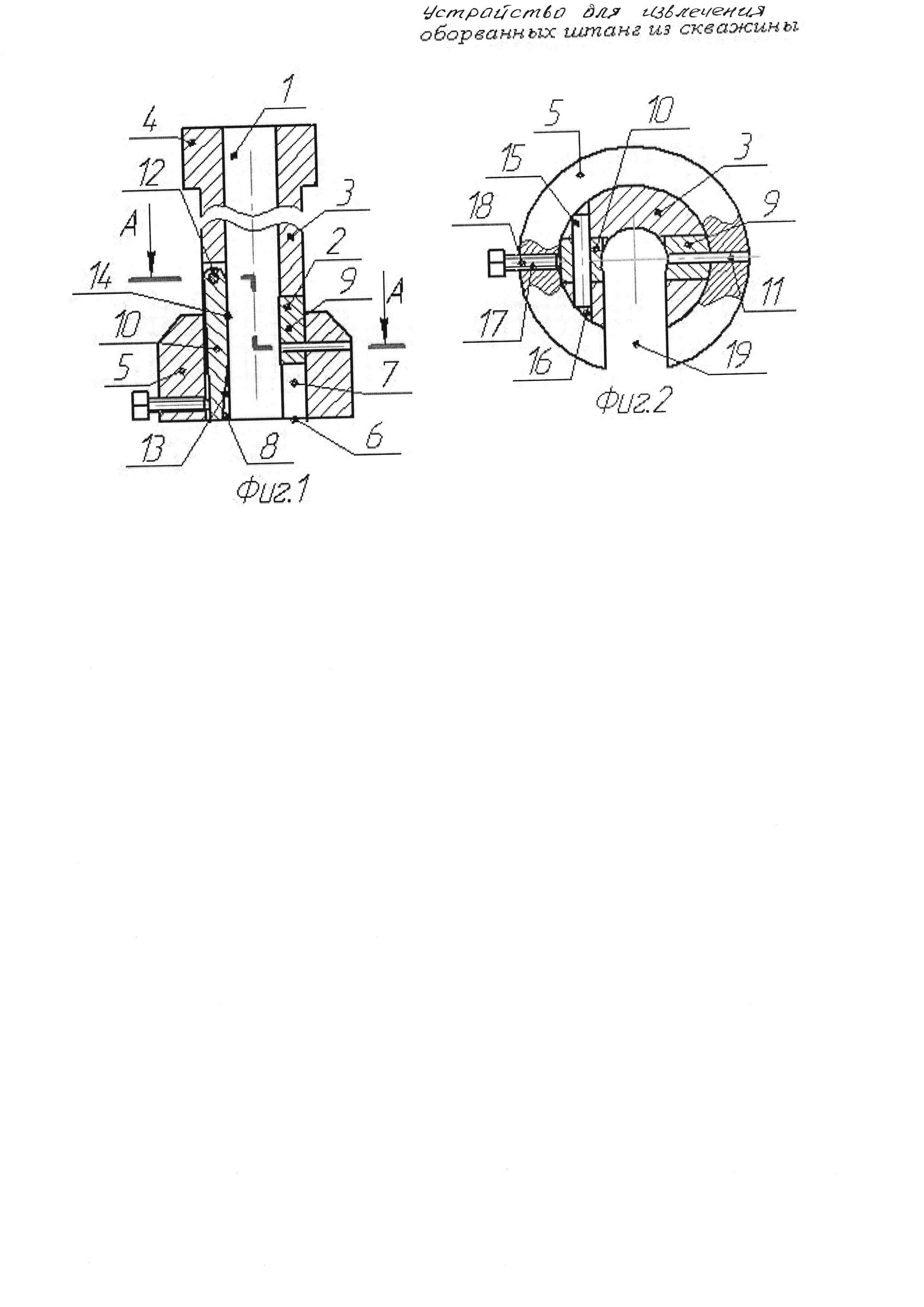
Поставленная задача решается тем, что в устройстве для извлечения оборванных штанг из скважины, содержащем корпус и запорное тело, новым является то, что корпус выполнен в виде полого цилиндра с цилиндрическими выступами на верхнем и нижнем концах наружной боковой стенки, при этом с нижнего торца полого цилиндра выполнены два продольных паза, расположенные друг против друга, причем запорное тело выполнено в виде двух плашек: неподвижной и поворотной, причем в одном продольном пазу полого цилиндра расположена неподвижная плашка, зафиксированная от перемещения штифтом, запрессованным в отверстия, выполненные на этой плашке и в нижнем цилиндрическом выступе полого цилиндра, причем в другой продольный паз полого цилиндра установлена поворотная плашка, выполненная со сквозным отверстием на верхнем конце и наклонной поверхностью в нижней половинке внутренней стенки, причем через отверстие поворотной плашки проходит ось, посаженная прессовой посадкой в две соосные отверстия, выполненные с боковой стенки полого цилиндра перпендикулярно боковой стенке продольного паза, где расположена эта плашка, причем с боковой стенки нижнего цилиндрического выступа полого цилиндра напротив нижнего конца поворотной плашки выполнена радиально расположенная резьбовая выборка, снабженная болтом, взаимодействующим с этой плашкой, причем в полом цилиндре и его нижнем цилиндрическом выступе между продольными пазами выполнен открытый зев под штангу, причем устройство снабжено приводом вращения оборванных штанг, в качестве которого использован подвесной трубный ключ с гидромотором, применяемый для свинчивания и развинчивания бурильных и насосно-компрессорных труб. На фиг. 1 изображено предлагаемое устройство в разрезе; на фиг. 2 изображен разрез А-А фиг. 1. Устройство для захвата и извлечения оборванных штанг из скважины содержит корпус 1 и запорное тело 2. Корпус 1 выполнен в виде полого цилиндра 3 с цилиндрическими выступами 4 и 5 на верхнем и нижнем концах наружной боковой стенки. При этом с нижнего торца 6 полого цилиндра 3 выполнены два продольных паза 7 и 8, расположенные друг против друга. Запорное тело 2 выполнено в виде двух плашек: неподвижной 9 и поворотной 10. В одном продольном пазу 7 полого цилиндра 3 расположена неподвижная плашка 9, зафиксированная от перемещения штифтом 11, запрессованным в отверстия, выполненные на этой плашке и в нижнем цилиндрическом выступе 5 полого цилиндра 3. В другой продольный паз 8 полого цилиндра 3 установлена поворотная плашка 10, выполненная со сквозным отверстием 12 на верхнем конце и наклонной поверхностью 13 в нижней половинке внутренней стенки 14. Через отверстие 12 поворотной плашки 10 проходит ось 15, посаженная прессовой посадкой в две соосные отверстия 16. Эти отверстия 16 выполнены с боковой стенки полого цилиндра 3, перпендикулярно боковой стенке продольного паза 8, где расположена эта плашка 10. С боковой стенки нижнего цилиндрического выступа 5 полого цилиндра 3 напротив нижнего конца поворотной плашки 10 выполнена радиально расположенная резьбовая выборка 17, снабженная болтом 18, взаимодействующим с этой плашкой 10. В полом цилиндре 3 и его нижнем цилиндрическом выступе 5 между продольными пазами 7 и 8 выполнен открытый зев 19 под штангу. Устройство снабжено приводом (на фигурах не показан) вращения оборванных штанг, в качестве которого использован подвесной трубный ключ с гидромотором, применяемый для свинчивания и развинчивания бурильных и насосно-компрессорных труб, например, описанный в авторском свидетельстве SU 1184922, МПК Е21В 19/16, 15.10.1985, Бюл. №38 или, выпускаемые заводами ключи ГКШ-1200, ГКШ-1500.

[5]

Устройство работает следующим образом. Вначале устройство элеваторм за верхний выступ 4 поднимается вверх и открытым зевом 19 надевается на оборванную штангу. Затем до отказа заворачивают болт 18. Он давит на нижний конец поворотной плашки 10 и поворачивает ее против часовой стрелки (по фиг. 1) относительно оси 15. При этом из-за наличия на поворотной плашке 10 наклонной поверхности 13, только средняя часть внутренней стенки 14 давит на оборванную штангу. Поэтому усилие давления этой плашки 10 на оборванную штангу почти в два раза больше усилия, создаваемого крутящим моментом болта 18. Из-за этого устройство надежно сцепляется с оборванной штангой. Затем подвесным трубным ключ ГКШ-1200 поворачивают на незначительный угол полый цилиндр 3 корпуса 1. При этом заклиненный плунжер вставного насоса, соединенный с колонной штанг, отсцепляется от стенки цилиндра насоса. Далее подвесной трубный ключ убирают в сторону и элеватором устройство вместе с оборванной штангой поднимают вверх. С оборванной штангой поднимается вверх колонна штанг. Предложенным устройством поворачивание оборванной штанги производится подвесным трубным ключом с гидромотором, применяемым для свинчивания и развинчивания насосно-компрессорных труб. При этом устройство только удерживается элеватором в поднятом положении, а оборванную штангу поворачивают без приложения осевого усилия, направленного вверх. Поэтому в предложенном устройстве повышается эффективность его работы.

[6]

Перечень использованной информации

[7]

1. Патент RU 41330, МПК Е21В 31/12, опубл. 20.10.2004 Бюл. №29.

[8]

2. Патент RU 56445, МПК Е21В 31/00, опублик. 10.09.2006 Бюл. №25.

Как компенсировать расходы
на инновационную разработку
Похожие патенты