патент
№ RU 2494505
МПК H01Q7/00

ТЕЛЕСКОПИЧЕСКАЯ МАЧТА ДЛЯ ПОДЪЕМА И ОПУСКАНИЯ РАДИОЭЛЕКТРОННЫХ СРЕДСТВ

Авторы:
Чиков Александр Юрьевич
Номер заявки
2012100272/08
Дата подачи заявки
10.01.2012
Опубликовано
27.09.2013
Страна
RU
Как управлять
интеллектуальной собственностью
Чертежи 
3
Реферат

Изобретение относится к антенной технике, в частности к мобильным средствам наблюдения, и может быть использовано в телескопических мачтах, устанавливаемых в кузовах специальных транспортных средств и предназначенных для оперативного подъема и опускания антенных и оптико-электронных средств наблюдения из внутреннего объема кузова. Технический результат - создание законченной конструкции телескопической мачты для подъема и опускания радиоэлектронных средств с обеспечением постоянной электрической связи между неподвижной и верхней подвижной частью мачты, а также защита кабельного перехода от механических и климатических воздействий. Это достигается тем, что в состав телескопической мачты введен кабельный переход, имеющий винтовую или зигзагообразную форму и центрирующие поводки, один конец кабельного перехода закреплен на неподвижном колене, а другой на верхнем подвижном колене. Кабельный переход установлен внутри колен телескопической мачты соосно с тросом принудительного опускания и взаимодействует с ним при помощи центрирующих поводков, один конец которых закреплен неподвижно на витках кабельного перехода, а другой закреплен на тросе принудительного опускания с возможностью перемещения вдоль троса принудительного опускания. Центрирующие поводки могут быть выполнены в двух вариантах, в первом центрирующий поводок состоит из двух шарнирно соединенных между собой частей, а во втором выполнен в виде пластины, при этом на одном из концов пластины закреплены два соседних витка кабельного перехода, а на другом - один виток. 2 з.п. ф-лы, 4 ил.

Формула изобретения

1. Телескопическая мачта для подъема и опускания радиоэлектронных средств, содержащая неподвижное и подвижные колена, кинематически связанные системой тросов и роликов, а также трос принудительного опускания подвижных колен мачты, отличающаяся тем, что в состав телескопической мачты введен кабельный переход, имеющий винтовую или зигзагообразную форму и центрирующие поводки, один конец кабельного перехода закреплен на неподвижном колене, а другой на верхнем подвижном колене, кабельный переход установлен внутри колен телескопической мачты соосно с тросом принудительного опускания и взаимодействует с ним при помощи центрирующих поводков, препятствующих смещению продольной оси кабельного перехода относительно троса принудительного опускания при подъеме-опускании телескопической мачты.

2. Телескопическая мачта по п.1, отличающаяся тем, что центрирующий поводок состоит из двух частей, при этом одна часть центрирующего поводка закреплена неподвижно на витках кабельного перехода, а другая закреплена на тросе принудительного опускания с возможностью перемещения вдоль него, при этом обе части шарнирно соединены между собой.

3. Телескопическая мачта по п.1, отличающаяся тем, что центрирующие поводки выполнены в виде пластины с центральным отверстием, противоположные концы пластины закреплены неподвижно на витках кабельного перехода, при этом на одном из концов пластины закреплены два соседних витка кабельного перехода, а на другом один виток.

Описание

[1]

Изобретение относится к антенной технике, в частности к мобильным средствам наблюдения, и может быть использовано в телескопических мачтах, устанавливаемых в кузовах специальных транспортных средств и предназначенных для оперативного подъема и опускания антенных и оптико-электронных средств наблюдения из внутреннего объема кузова.

[2]

Известна, например, многосекционная телескопическая мачта, снабженная подъемно-опускным тросом и приводным механизмом (см. описание изобретения к авторскому свидетельству №364053, кл. Н01Q 7/10, опубликованному в бюллетене №4 за 1973 г.) В указанной телескопической мачте предусмотрено принудительное опускание подвижных секций мачты с помощью троса и максимально освобождено внутреннее пространство секций за счет выноса систем тросов и роликов на внешнюю поверхность секций.

[3]

Недостатком данной и подобных телескопических мачт является незаконченность конструкции, а именно отсутствие постоянной электрической связи между неподвижной и подвижной частями мачты. В настоящее время такая связь обеспечивается, как правило, установкой снаружи телескопической мачты кабельного перехода, соединяющего антенные и оптико-электронные средства наблюдения с аппаратурой, находящейся внутри машины, а так же специальных устройств его разматывания-сматывания при подъеме-опускании мачты. В таких технических решениях кабельный переход напрямую подвержен внешним механическим и климатическим воздействиям и имеет низкую надежность.

[4]

Техническим результатом заявленного изобретения является создание законченной конструкции телескопической мачты для подъема и опускания радиоэлектронных средств с обеспечением постоянной электрической связи между неподвижной и верхней подвижной частью мачты, а также защита кабельного перехода от механических и климатических воздействий.

[5]

Это достигается тем, что в состав телескопической мачты введен кабельный переход, имеющий винтовую или зигзагообразную форму и центрирующие поводки, один конец кабельного перехода закреплен на неподвижном колене, а другой на верхнем подвижном колене. Кабельный переход установлен внутри колен телескопической мачты соосно с тросом принудительного опускания и взаимодействует с ним при помощи центрирующих поводков, один конец которых закреплен неподвижно на витках кабельного перехода, а другой закреплен на тросе принудительного опускания с возможностью перемещения вдоль троса принудительного опускания.

[6]

Сущность изобретения поясняется графическими материалами, на которых:

[7]

- на фиг.1 - схема телескопической мачты с кабельным переходом в рабочем положении;

[8]

- на фиг.2 - схема телескопической мачты с кабельным переходом в транспортном положении;

[9]

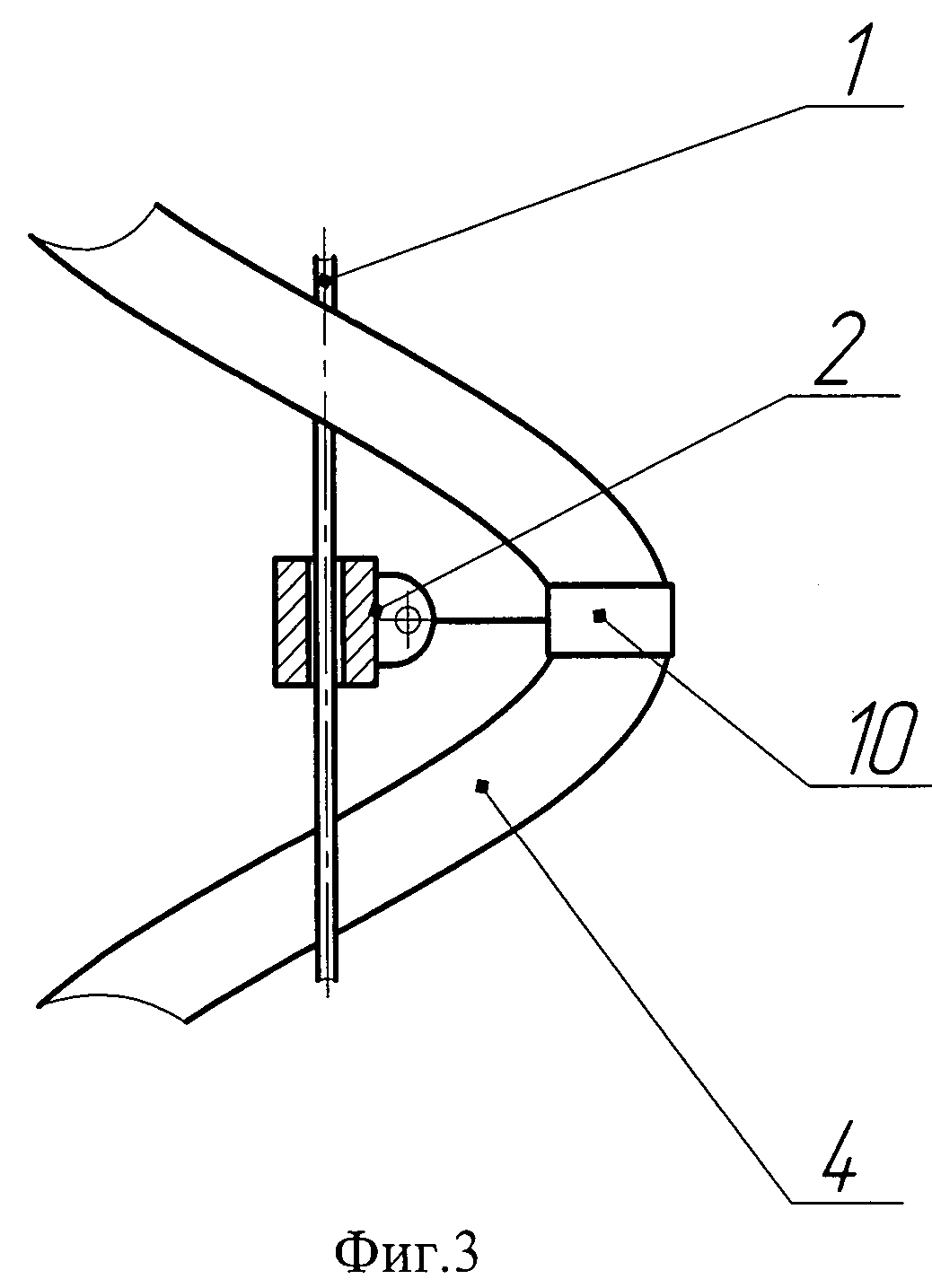
- на фиг.3 - схема центрирующего поводка состоящего из двух шарнирно соединенных между собой частей;

[10]

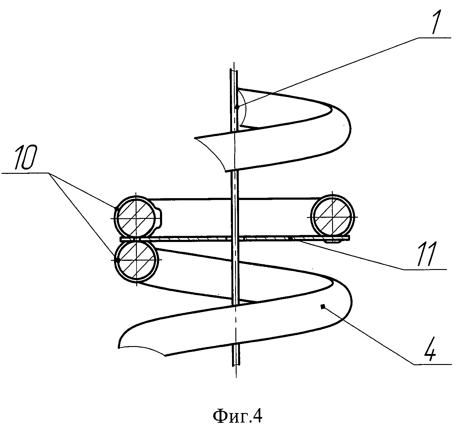
- на фиг.4 - схема центрирующего поводка выполненного в виде пластины с закрепленным на ней витком кабельного перехода.

[11]

Телескопическая мачта для подъема и опускания радиоэлектронных средств состоит из неподвижного колена 5, подвижного верхнего колена 3, с закрепленной на нем полезной нагрузкой 9, промежуточных колен 7, троса принудительного опускания 1. В состав телескопической мачты входят кабельный переход 4 с оконечными разъемами 6 и 8, а также центрирующие_поводки 2 или 11. Разъем 6 закреплен на неподвижном колене 5, а разъем 8 - на верхнем подвижном колене 3. Кабельный переход 4 расположен внутри колен телескопической мачты соосно с тросом принудительного опускания 1 и соединяет разъем 6 на неподвижном колене 5, с разъемом 8 на верхнем подвижном колене 3. Центрирующие поводки 2 конструктивно выполнены с шарнирным соединением неподвижной и подвижной частей, а центрирующие поводки 11 в виде одной пластины, имеющей центральное отверстие. Центральное отверстие в подвижной части центрирующих поводков 2 и 11 имеет размер больше, чем диаметр троса принудительного опускания 1.

[12]

Телескопическая мачта для подъема и опускания радиоэлектронных средств функционирует следующим образом. Выполненный в виде винтовой или зигзагообразной пружины кабельный переход 4 растягивается или сжимается при подъеме-опускании колен 3 и 7 мачты. При этом шаг витков или зигзагов кабельного перехода увеличивается или уменьшается, обеспечивая постоянную электрическую связь между разъемами 6 и 8. Витки кабельного перехода 4 имеют наружный размер в сложенном состоянии меньше чем внутренний размер самого узкого колена и размещаются внутри колен мачты с зазором. При подъеме колен телескопической мачты наружный размен витков кабельного перехода уменьшается, а растягивающее усилие способствует сохранению соосности кабельного перехода и колен телескопической мачты. Процесс складывания мачты менее благоприятен, так как во время складывания (опускания колен) происходит искривление оси кабельного перехода и возрастает вероятность попадания его витков в стыки колен 3 и 7 мачты. Для исключения этого явления на витках кабельного перехода закреплены центрирующие поводки 2 и 11. Так как центрирующие поводки 2 или 11 закреплены на тросе принудительного опускания 1 с возможностью перемещения вдоль него, то при подъеме-опускании мачты они сохраняют неизменным расстояние до витков в поперечном направлении, как от стенок колен мачты, так и от троса принудительного опускания 1.

[13]

Конструктивное исполнение центрирующего поводка 2 (фиг.3) в виде шарнирно соединенных между собой подвижной и неподвижной частей позволяет избежать заклинивания центрирующего поводка на тросе принудительного опускания при перекосе витков во время растягивания и сжатия кабельного перехода 4. Достоинством такой конструктивной схемы является возможность максимального использования всей длины кабельного перехода и сохранение его геометрии. Недостатком - необходимость установки большого количества поводков в строго определенных местах.

[14]

Недостатки конструкции центрирующего поводка 2 исключены в варианте выполнения центрирующего поводка 11 в виде плоской пластины с центральным отверстием (фиг.4). В данной конструктивной схеме к противоположным сторонам поводка крепится разное количество витков или зигзагов кабельного перехода - один виток (зигзаг) с одной стороны и два витка (зигзага) с другой стороны. При таком закреплении плоскость поводка всегда сохраняет положение перпендикулярное продольной оси кабельного перехода и взаимодействует с тросом принудительного опускания без заеданий. Недостатком данной схемы является уменьшение полезной длины кабельного перехода за счет исключения из процесса растягивания нескольких витков.

[15]

Размещение кабельного перехода внутри колен мачты значительно улучшает компактность и функциональность предлагаемой телескопической мачты для подъема и опускания радиоэлектронных средств, а так же обеспечивает защиту кабельного перехода от механических и климатических воздействий, тем самым повышая надежность его работы.

Как компенсировать расходы
на инновационную разработку
Похожие патенты