патент
№ RU 2526409
МПК F23D17/00

ГОРЕЛКА ДЛЯ СЖИГАНИЯ ГАЗООБРАЗНОГО И ЖИДКОГО ТОПЛИВА

Авторы:
Соколов Сергей Юрьевич Цветков Евгений Николаевич Валуев Юрий Анатольевич
Все (5)
Номер заявки
2013131818/06
Дата подачи заявки
10.07.2013
Опубликовано
20.08.2014
Страна
RU
Как управлять
интеллектуальной собственностью
Чертежи 
1
Реферат

Изобретение относится к устройствам для сжигания газообразного и/или жидкого топлива, как раздельно, так и совместно, в любых соотношениях в печах нефтеперерабатывающей, нефтехимической и газовой промышленностей. Горелка для сжигания газообразного и/или жидкого топлива содержит полый цилиндрический корпус 3, соединенный с ним воздуховод 6 с регулятором подачи воздуха и размещенные в них стволы 1 для подачи газа и/или форсунку 2 для подачи жидкого топлива. В воздуховоде 6 установлены распределительные пластины 10 разной длины параллельно оси корпуса 3 и друг другу таким образом, что высота пластин 10 уменьшается в направлении к регулятору подачи воздуха - многосекционного шибера 7, одни края пластин 10 разделяют входное отверстие корпуса 3 на части, а другие края пластин 10 отогнуты в сторону шибера 7. Повышается эффективность регулирования расхода воздуха, поступающего на горение, уменьшается его сопротивление при движении и увеличивается его равномерное распределение по всему объему факела, обеспечивая тем самым стабильное и надежное горение. 1 з.п. ф-лы, 2 ил.

Формула изобретения

1. Горелка для сжигания газообразного и/или жидкого топлива, содержащая полый цилиндрический корпус, соединенный с ним воздуховод с регулятором подачи воздуха и размещенные в них стволы для подачи газа и/или форсунку для подачи жидкого топлива, отличающаяся тем, что в воздуховоде установлены распределительные пластины разной длины параллельно оси корпуса и друг другу таким образом, что одни края пластин разделяют входное отверстие корпуса на части, а другие края пластин отогнуты в сторону регулятора подачи воздуха, причем высота пластин от входного отверстия корпуса до отогнутых краев пластин уменьшается в направлении к регулятору подачи воздуха.

2. Горелка по п.1, отличающаяся тем, что регулятор подачи воздуха выполнен в виде многосекционного шибера, включающего поворотные заслонки, которые в открытом состоянии параллельны друг другу и отогнутым краям распределительных пластин.

Описание

[1]

Изобретение относится к устройствам для сжигания газообразного и жидкого топлива как раздельно, так и совместно в любых соотношениях в печах нефтеперерабатывающей, нефтехимической и газовой промышленностей.

[2]

Известна горелка для сжигания газообразного и жидкого топлива, содержащая жидкостную форсунку, расположенную в воздуховоде, газовый коллектор (см. SU 1086303 A, опубл. 1984).

[3]

Недостатком известной горелки является высокое внутреннее сопротивление потоку воздуха из-за необходимости поворота потока на 90 градусов в канале подачи воздуха. Это приводит к необходимости увеличивать диаметр горелки, чтобы обеспечить необходимый расход воздуха.

[4]

Наиболее близким аналогом заявленной полезной модели является горелка для сжигания газообразного и/или жидкого топлива, содержащая полый цилиндрический корпус, соединенные с ним воздуховоды и размещенные в них стволы для подачи газа и/или форсунку для подачи жидкого топлива (см. патент RU 2432530 C1, опубл. 27.10.2011).

[5]

Недостатком ближайшего аналога также является неравномерное распределение воздуха и подвода его к корню факела, связанное с тем, что поток воздуха при поступлении из воздуховода в корпус поворачивает на 90 градусов, что приводит к увеличению размеров горелки и ее высокой материалоемкости.

[6]

Задача, на решение которой направлена предлагаемое изобретение, заключается в снижении материалоемкости горелки.

[7]

Поставленная задача решается тем, что горелка для сжигания газообразного и/или жидкого топлива содержит полый цилиндрический корпус, соединенный с ним воздуховод с регулятором подачи воздуха и размещенные в них стволы для подачи газа и/или форсунку для подачи жидкого топлива, при этом в отличие от ближайшего аналога в воздуховоде установлены распределительные пластины разной длины параллельно оси корпуса и друг другу таким образом, что одни края пластин разделяют входное отверстие корпуса на части, а другие края пластин отогнуты в сторону регулятора подачи воздуха, причем высота пластин от входного отверстия корпуса до отогнутых краев пластин уменьшается в направлении к регулятору подачи воздуха.

[8]

Технический результат, достигаемый изобретением, заключается в снижении внутреннего сопротивления горелки потоку воздуха путем обеспечения равномерного распределения потока воздуха по сечению корпуса. Наличие распределительных вертикальных пластин уменьшает сопротивление воздуху, идущему на горение, а также равномерно распределяет его по всему объему факела, обеспечивая тем самым стабильное и надежное горение.

[9]

В предпочтительном варианте выполнения регулятор подачи воздуха выполнен в виде многосекционного шибера, включающего поворотные заслонки, которые в открытом состоянии параллельны друг другу и отогнутым краям распределительных пластин.

[10]

Наличие многосекционного, например четырехсекционного воздушного шибера, секции которого параллельны входным отверстиям между распределительными пластинами, дополнительно обеспечивает равномерную подачу воздуха по сечению воздуховода, а также позволяет более эффективно регулировать расход воздуха, поступающий на горение. Величина "полезного хода" ручки шибера, по сравнению с односекционным шибером увеличивается в 4 раза.

[11]

Сущность изобретения поясняется с помощью графических материалов.

[12]

На фиг.1 изображено продольное сечение предлагаемой горелки, а на фиг.2 - вид на горелку сверху.

[13]

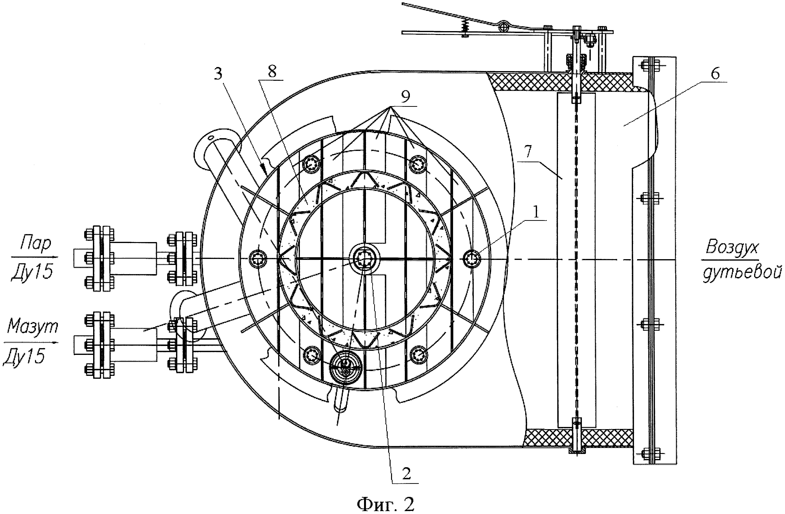
Горелка для сжигания газообразного и/или жидкого топлива содержит стволы 1 для подачи газа и форсунку 2 для подачи жидкого топлива. Корпус 3 горелки включает две коаксиальные цилиндрические обечайки 4 и 5. Корпус 3 соединен с воздуховодом 6, в котором размещен регулятор подачи воздуха в виде многосекционного шибера 7. На обечайке 4 закреплена внутренняя горелочная амбразура 8 из жаростойкого бетона для улучшения процесса сжигания мазута. Внутри горелочной амбразуры 8 расположена форсунка 2, соединенная с системой подачи паромазутной смеси. Между обечайками 4 и 5 и в воздуховоде 6 расположены стволы 1, соединенные с системой подачи газа. Для равномерного распределения воздуха по сечению горелки при повороте воздуха на 90 градусов в канале подачи воздуха установлены распределительные пластины 9 различной высоты параллельно оси корпуса 3 и друг другу таким образом, что высота пластин от сечения входного отверстия корпуса 3 до отогнутых краев пластин 9 уменьшается в направлении к шиберу 7. Верхние края пластин 9 разделяют входное отверстие корпуса 3 на части, а нижние края пластин 9 отогнуты в сторону шибера 7.

[14]

Распределительные пластины 9 делят сечение воздуховода 6 и входного отверстия корпуса 3 по ширине и делят подаваемый в корпус 3 воздух на порции. Таким образом, распределительные пластины 9 препятствуют неравномерному распределению воздуха по сечению корпуса 3 за счет центробежной силы при повороте на 90 градусов.

[15]

Многосекционный шибер 7 состоит из нескольких секций, например из четырех. Поворотные заслонки шибера 7 в открытом состоянии параллельны друг другу и отогнутым краям распределительных пластин 9. Шибер 7 способствует равномерному распределению воздуха по сечению воздуховода 6, поступающего к распределительным пластинам 10.

[16]

Внутренняя обечайка 5 через распределительные пластины 9 приварена к наружной обечайке 4 и к верхней крышке воздуховода 6. Нижняя и боковые стенки воздуховода 6 футерованы изоляцией из каолиновых матов 10. Такая конструкция корпуса 3 обусловлена требованиями снижения звукового давления, а также обеспечением безопасности персонала в рабочей зоне при обслуживании основной горелки. Наружная обечайка 4 имеет опорное кольцо 11 для присоединения горелки к горелочной амбразуре 12 печи. Крепление горелки осуществляется шпильками 13, которые привариваются к внутренней поверхности подового листа печи. На шпильки 13 при помощи гаек крепятся лапки 14, удерживающие опорное кольцо 11 горелки.

[17]

Работа горелки происходит следующим образом.

[18]

При сжигании жидкого топлива парожидкостная эмульсия, состоящая из мазута и пара, поступает через форсунку 2 в горелочную амбразуру 8, а при сжигании газового топлива его подача осуществляется через стволы 1. В объеме горелочной амбразуры 8 топливо смешивается с воздухом, поступающим через воздуховод 3 в зону горения. Количество дутьевого воздуха, поступающего в горелку, регулируется перекрытием многосекционного шибера 7, обеспечивающего более полную систему подвода и равномерное распределение воздуха к корню факела. После прохождения шибера 7 воздух поворачивается на 90 градусов в зоне расположения распределительных пластин 9, которые обеспечивают улучшенную систему распределения воздуха и подвода его к корню факела, что позволяет при прежних конструкционных размерах пропустить большее количество воздуха через горелку, обеспечив тем самым большие мощности. Таким образом воздух, поворачивая на 90 градусов на выходе из воздуховода 3, оказывается равномерно распределенным по сечению канала корпуса 3 без дополнительного сопротивления, что позволяет уменьшить габариты горелки и ее материалоемкость.

Как компенсировать расходы
на инновационную разработку
Похожие патенты