патент
№ RU 2668014
МПК H02K47/04

Способ ускорения запуска двигатель-генераторного электромашинного преобразователя постоянного напряжения в переменное и устройство для его реализации

Авторы:
Вышков Юрий Дмитриевич Желтов Сергей Юрьевич Мухин Александр Александрович
Все (8)
Номер заявки
2017132321
Дата подачи заявки
15.09.2017
Опубликовано
25.09.2018
Страна
RU
Как управлять
интеллектуальной собственностью
Чертежи 
2
Реферат

Группа изобретений относится к электромашинным преобразователям. Способ ускорения запуска двигатель-генераторного электромашинного преобразователя постоянного напряжения в переменное заключается в следующем. От источника постоянного тока заряжают емкостный накопитель, затем накопитель подключают к обмоткам приводного электродвигателя электромашинного преобразователя, а после разгона общего вала двигателя и генератора преобразователя обмотки двигателя переключают на питание от источника постоянного тока. К источнику постоянного тока также подключают обмотку возбуждения генератора, якорную обмотку которого подключают к выходным внешним выводам преобразователя. Причем на время разгона вала преобразователя обмотку возбуждения и якорную обмотку его генератора подключают на питание от емкостного накопителя. Причем якорную обмотку подключают через управляемый электронный инвертор, обеспечивая стартерный режим генератора с регулированием частоты и амплитуды его напряжения. Также заявлено устройство для реализации способа ускорения запуска двигатель-генераторного электромашинного преобразователя. Технический результат заключается в сокращении времени запуска электромашинного преобразователя. 2 н. и 3 з.п. ф-лы, 2 ил.

Формула изобретения

1. Способ ускорения запуска двигатель-генераторного электромашинного преобразователя постоянного напряжения в переменное, по которому сначала от источника постоянного тока ограниченной мощности заряжают емкостный накопитель, затем накопитель подключают к обмоткам приводного электродвигателя электромашинного преобразователя, а после разгона общего вала двигателя и генератора преобразователя обмотки двигателя переключают на питание от источника постоянного тока, к которому также подключают обмотку возбуждения генератора, якорную обмотку которого подключают к выходным внешним выводам преобразователя для подключения к потребителям переменного тока, отличающийся тем, что на время разгона вала преобразователя обмотку возбуждения и якорную обмотку его генератора также подключают на питание от емкостного накопителя, причем якорную обмотку - через управляемый электронный инвертор, обеспечивая стартерный режим генератора с регулированием частоты и амплитуды его напряжения.

2. Устройство для реализации способа ускорения запуска двигатель-генераторного электромашинного преобразователя постоянного напряжения в переменное по п. 1, содержащее приводной электродвигатель с якорной обмоткой и обмоткой возбуждения, генератор переменного тока с якорной обмоткой и обмоткой возбуждения, имеющий с двигателем общий вал, двигательный и генераторный управляемые регуляторы возбуждений, внешние входные и выходные выводы, включая заземленные, для подключения к аварийному источнику электропитания постоянного тока и к потребителям мощности переменного тока, соответственно, первый и второй управляемые выключатели, расположенные в цепях питания якорных обмоток двигателя и генератора, соответственно, емкостный накопитель электроэнергии и блок управления с цепями обратных связей по внешним токам и напряжениям, с управляющими выводами, подключенными к выводам управления регуляторов возбуждений, и основными командными выводами, подключенными к выводам управления выключателей, первый из которых включен между первым выводом емкостного накопителя и цепью обмоток двигателя, а второй - между фазными секциями якорной обмотки генератора и внешними выходными выводами, отличающееся тем, что в него введены импульсно-модуляторный инвертор, включенный между выводами емкостного накопителя и секциями якорной обмотки генератора, третий управляемый выключатель, включенный между первым выводом емкостного накопителя и цепью обмотки возбуждения генератора, и два обратно-блокирующих диода, включенные в цепи подключения обмоток возбуждения двигателя и генератора к их регуляторам возбуждений, блок управления снабжен дополнительным командным выводом, подключенным к управляющему выводу третьего выключателя.

3. Устройство для реализации способа ускорения запуска двигатель-генераторного электромашинного преобразователя постоянного напряжения в переменное по п. 2, отличающееся тем, что в него введен зарядный конвертор, входные выводы которого подключены к входным выводам устройства, а выходные - к выводам емкостного накопителя.

4. Устройство для реализации способа ускорения запуска двигатель-генераторного электромашинного преобразователя постоянного напряжения в переменное по п. 2, отличающееся тем, что модуляторный инвертор выполнен по схеме транзисторного моста, зашунтированного обратно-встречными диодами, а блок управления снабжен импульсно-модуляторными выводами, подключенными к управляющим выводам конвертора и инверторного транзисторного моста, подключенного своими входными выводами постоянного тока к выводам емкостного накопителя, а своими выходными выводами переменного тока - к выходным выводам устройства.

5. Устройство для реализации способа ускоренного запуска двигатель-генераторного электромашинного преобразователя постоянного напряжения в переменное по п. 2 или 4, отличающееся тем, что емкостный накопитель выполнен в виде дифференциально-двухсекционной суперконденсаторной батареи с заземленным межсекционным среднепотенциальным выводом.

Описание

[1]

Изобретение относится к электротехнике, а также к электромашинным и электронным преобразователям и предназначено для авиабортовых систем электроснабжения, в частности - для более (или полностью) электрифицированных самолетов.

[2]

Известен способ запуска двигатель-генераторного электромашинного преобразователя постоянного напряжения в переменное и устройство для его реализации (аналог), по которому в его электродвигателе постоянного тока с последовательной и управляющей обмотками возбуждения во время его разгона с помощью магнитного усилителя форсируют ток управляющей обмотки при неизменном напряжении питания (Электрооборудование летательных аппаратов: учебник для ВУЗов. В двух томах / под ред. С.А. Грузкова. - М: Издательство МЭИ, 2005. Том 1. Системы электроснабжения летательных аппаратов. - 2005. - 568 с., стр. 398. Рис. 12.6).

[3]

К недостаткам указанных способа и устройства для его реализации относятся: относительно большое время запуска (разгона общего ротора преобразователя) из-за низкого питающего напряжения электродвигателя (27 В).

[4]

Из известных способов ускорения запуска двигатель-генераторного электромашинного преобразователя постоянного напряжения в переменное и устройств для их реализации наиболее близкими к предлагаемому способу и устройству являются: способ, по которому сначала от источника постоянного тока ограниченной мощности заряжают емкостный накопитель (суперконденсаторную батарею), затем его подключают к обмоткам приводного электродвигателя электромашинного преобразователя, а после разгона общего вала двигателя и генератора преобразователя обмотки двигателя переключают на питание от источника постоянного тока, к которому также подключают обмотку возбуждения генератора, якорную обмотку которого подключают к выходным внешним выводам переменного напряжения, а также устройство для его реализации (прототип: статья «Применение суперконденсаторов в системах пуска авиационных двигателей. Вышков Ю.Д., Резников С.Б., Вестник московского авиационного института, №3., 2017 г. стр. 127-133, Рис. 1»). Указанный двигатель-генераторный электромашинный преобразователь постоянного напряжения в переменное состоит из стартерного электродвигателя постоянного тока и магистрального авиабортового генератора переменного тока, имеющих общий вал с маршевой или вспомогательной силовой установкой. Благодаря использованию для электрозапуска суперконденсаторного емкостного накопителя с высокой разрядной мощностью, время электрозапуска (разгона общего вала преобразователя - стартерного электродвигателя вместе с магистральным генератором) существенно сокращается по сравнению с устройством-аналогом, имеющим такую же установочную мощность.

[5]

К недостаткам рассмотренных в качестве прототипа способа и устройства для его реализации относятся: большое, по сравнению со статическими аварийными источниками бесперебойного питания (ИБП) время аварийного переключения потребителей мощности магистральной сети переменного тока на питание от резервного электромашинного преобразователя, и, как следствие - перебой в питании жизненно-важных для обеспечения «живучести» потребителей (первой категории).

[6]

Техническим результатом изобретения является сокращение времени аварийного переключения потребителей мощности магистральной сети переменного тока на питание от резервного электромашинного преобразователя за счет сложения разгонных электромагнитных моментов двигателя и генератора в стартерном режиме, и, как следствие - приближение к аварийной бесперебойности питания жизненно-важных потребителей и «живучести» системы электроснабжения.

[7]

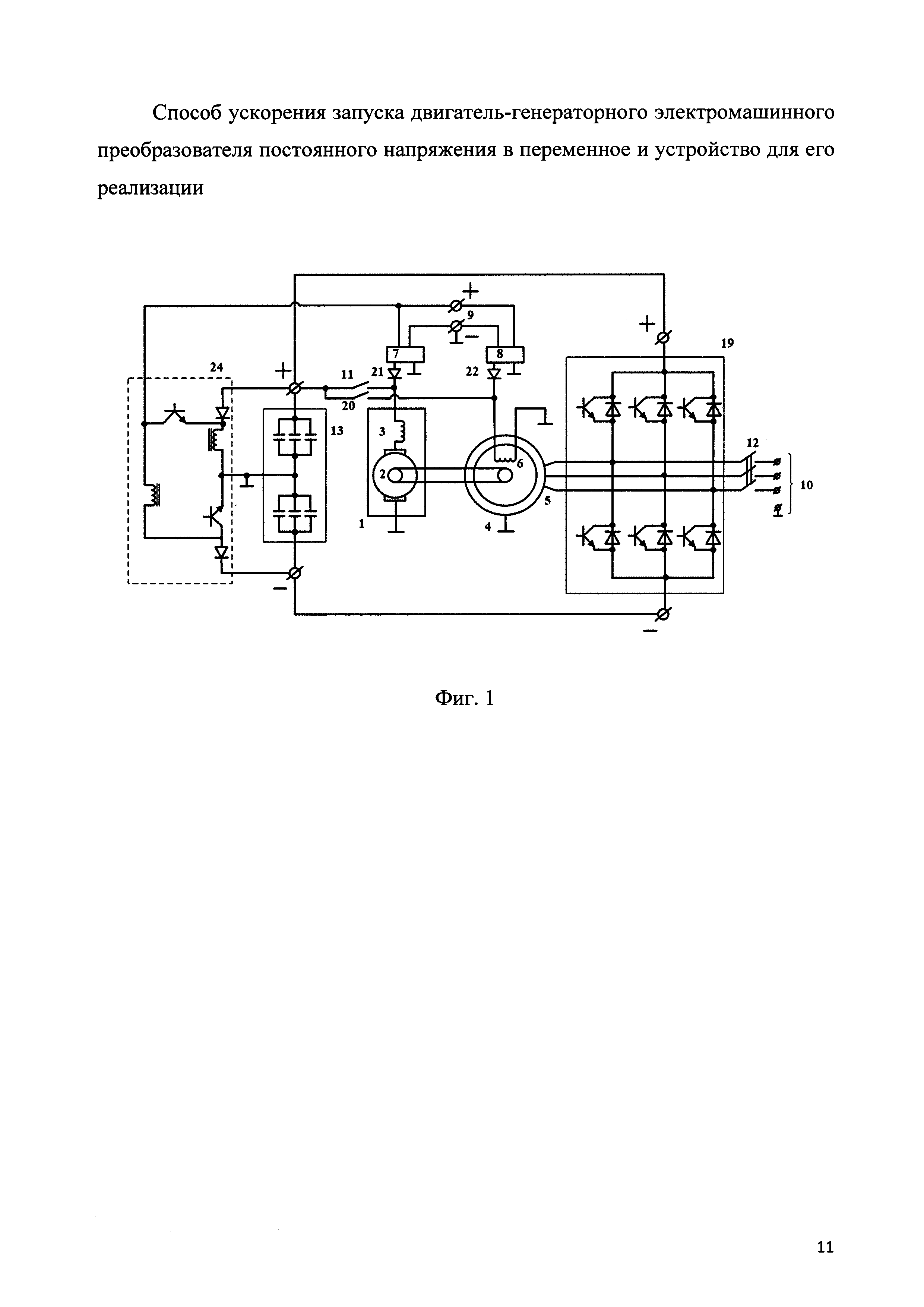
Указанный результат обеспечивается благодаря тому, что в способе ускорения запуска двигатель-генераторного электромашинного преобразователя, по которому сначала заряжают емкостный накопитель, затем его подключают к электродвигателю, а после разгона двигатель переключают на питание от источника постоянного тока, к которому также подключают обмотку возбуждения генератора, на время разгона генератора также подключают на питание от накопителя, причем якорную обмотку -через электронный инвертор, обеспечивая стартерный режим, а также благодаря тому, что в устройство для реализации способа, содержащее двигатель (1) с обмотками (2) и (3), генератор (4) с обмотками (5) и (6), регуляторы возбуждения (7) и (8), входные и выходные выводы (9) и (10), первый и второй выключатели (11) и (12), емкостный накопитель (13) и блок управления (14) с цепями (15) и (16) обратных связей, управляющими выводами (17) для регуляторов возбуждений и основными командными выводами (18) для выключателей, ВВЕДЕНЫ инвертор (19), третий выключатель (20) и два диода (21), (22), а блок управления СНАБЖЕН дополнительным командным выводом (23) для третьего выключателя, а также ВВЕДЕН зарядный конвертор (24); при этом инвертор ВЫПОЛНЕН по схеме транзисторного моста, а блок управления СНАБЖЕН импульсно-модуляторными выводами (25 и 26) для инвертора и конвертора, а накопитель ВЫПОЛНЕН в виде двухсекционной суперконденсаторной батареи.

[8]

Имитационно-компьютерное моделирование предлагаемых способа и устройства для его реализации подтвердили работоспособность устройства и целесообразность промышленного применения способа.

[9]

На фиг. 1, фиг. 2 приведены принципиальная силовая схема и каналы управления устройства для реализации предлагаемого способа ускорения запуска двигатель-генераторного электромашинного преобразователя постоянного напряжения в переменное.

[10]

Устройство для реализации предлагаемого способа содержит: приводной электродвигатель (1) с якорной обмоткой (2) и обмоткой возбуждения (3), генератор (4) переменного тока с якорной обмоткой (5) и обмоткой возбуждения (6), имеющий с двигателем общий вал, двигательный и генераторный управляемые регуляторы возбуждений (7 и 8), внешние входные и выходные выводы (9 и 10), включая заземленные, для подключения к аварийному источнику электропитания постоянного тока и к потребителям мощности переменного тока, соответственно, первый и второй управляемые выключатели (11 и 12), расположенные в цепях питания якорных обмоток двигателя и генератора, соответственно, и емкостный накопитель электроэнергии (13). Помимо этого устройство содержит: блок управления (14) с цепями (15 и 16) обратных связей по внешним токам и напряжениям, с управляющими выводами (17) и основными командными выводами (18). Кроме перечисленного устройство содержит: импульсно-модуляторный инвертор (19), третий управляемый выключатель (20) и два обратно-блокирующих диода (21, 22). Блок управления снабжен также дополнительным командным выводом (23). Помимо указанного, устройство содержит зарядный конвертор (24), а блок управления снабжен также импульсно-модуляторными выводами 25 и 26.

[11]

Первый выключатель (11) включен между первым выводом емкостного накопителя и цепью обмоток (2-3) двигателя 1, а второй выключатель (12) включен между фазными секциями якорной обмотки (5) и внешними выходными выводами (10) устройства. Третий выключатель (20) включен между первым выводом емкостного накопителя (13) и цепью обмотки возбуждения (6) генератора (4). Обратно-блокирующие диоды (21 и 22) включены в цепи подключения обмоток возбуждения (3 и 6) двигателя (1) и генератора (4) к их регуляторам возбуждений (7 и 8).

[12]

Импульсно-модуляторный инвертор (19) включен между выводами емкостного накопителя (13) и секциями якорной обмотки (5) генератора (4) и выполнен по схеме транзисторного моста, зашунтированного обратно-встречными диодами и подключенного своими входными выводами постоянного тока к выводам емкостного накопителя (13), а своими выходными выводами переменного тока - к выходным выводам (10) устройства.

[13]

Емкостный накопитель (13) выполнен в виде дифференциально-двухсекционной суперконденсаторной батареи с заземленным межсекционным сред непотенциальным выводом.

[14]

В блоке управления (14): управляющие выводы (17) подключены к выводам управления регуляторов возбуждений (7 и 8) двигателя (1) и генератора (4); основные и дополнительный командные выводы (18 и 23) подключены к выводам управления выключателей (11, 12 и 20), соответственно, а импульсно-модуляторные выводы (25 и 26) - к управляющим выводам транзисторного моста инвертора (19).

[15]

Зарядный конвертор (24) выполнен по общеизвестной схеме сдвоенного (дифференциального) повышающего импульсного транзисторно-дроссельно-диодного модулятора с полярно-повторяющим и полярно-инвертирующим выходами (дроссели модулятора могут иметь раздельные или общий магнитопроводы, как показано на чертеже).

[16]

Устройство для реализации предложенного способа работает следующим образом. К входным и выходным внешним выводам (9 и 10) подключены, соответственно, аварийный источник электропитания постоянного тока (например, низковольтная аккумуляторная батарея) и потребители мощности магистральной сети переменного тока. В исходном состоянии общий роторный вал преобразователя заторможен, выключатели (11, 12 и 20) разомкнуты, а емкостный накопитель (13), в общем случае, разряжен. При поступлении на блок управления (14) внешней команды или соответствующих сигналов из цепей обратной связи (15, 16) для аварийного переключения потребителей мощности магистральной сети переменного тока на питание от электромашинного преобразователя сначала с помощью зарядного конвертора (24), управляемого от импульсно-модуляторных выводов (26) блока управления (14), ускоренно заряжают емкостный накопитель (13) путем высокочастотного управления транзисторными ключами конвертора до заданных повышенных напряжений на его дифференциальных секциях (например, 0±270 В). Затем с помощью сигналов от командных выводов (18 и 23) блока управления (14) замыкают выключатели (11 и 20), подавая на обмотки (2 и 3) двигателя (1) и на обмотку возбуждения (6) генератора повышенное напряжение накопителя. Одновременно с этим с помощью сигналов от импульсно-модуляторных выводов (25) блока управления (14) начинает работать инвертор (19), питая якорную обмотку (5) генератора (4) трехфазным напряжением с линейно нарастающими частотой и амплитудой. При этом электромагнитные моменты, прикладываемые к общему валу двигателя и генератора складываются, значительно ускоряя процесс запуска (разгона) преобразователя по сравнению с прототипом.

[17]

При достижении скоростью вращения общего вала преобразователя заданного уровня, фиксируемого с помощью измерения частоты сигналов в цепях (15, 16) обратных связей блока управления (14), обмотки (2 и 3) двигателя (1) и обмотку возбуждения (6) генератора (4) переключают на питание от источника постоянного тока (к внешним входным выводам (9) через регуляторы возбуждения 7 и 8), а якорную обмотку (5) генератора (4) подключают к выходным внешним выводам (10) - путем замыкания выключателя (12) по сигналу командного вывода (18) блока управления (14). При этом потребители мощности магистральной сети переменного тока оказываются переключенными на питание от двигатель-генераторного электромашинного преобразователя (1-4).

[18]

Таким образом, с помощью предлагаемых способа ускорения запуска двигатель-генераторного электромашинного преобразователя постоянного напряжения в переменное и устройства для его реализации обеспечивается технический результат: сокращение времени аварийного переключения потребителей мощности магистральной сети переменного тока на питание от резервного электромашинного преобразователя за счет сложения разгонных электромагнитных моментов двигателя и генератора в стартерном режиме, и, как следствие - приближение к аварийной бесперебойности питания жизненно-важных потребителей и «живучести» системы электроснабжения.

Как компенсировать расходы
на инновационную разработку
Похожие патенты