патент
№ RU 2585212
МПК F16B5/02
Номер заявки
2015102823/11
Дата подачи заявки
28.01.2015
Опубликовано
27.05.2016
Страна
RU
Как управлять
интеллектуальной собственностью
Чертежи 
3
Реферат

Изобретение относится к устройствам крепления съемных частей к корпусу. Конусный замок содержит конус с фланцем, закрепленным на отъемной части корпуса самолета, конусное гнездо с фланцем, закрепленным на корпусе самолета, болт, самоконтрящуюся гайку и пружину. На конусе и на конусном гнезде выполнены цилиндрические выступы-пояса одинаковых диаметров с ответными отверстиями в отъемной части и в корпусе самолета, которые в стянутом положении образуют один цилиндрический стержень. Изобретение направлено на повышение ресурса соединения. 4 ил.

Формула изобретения

Конусный замок, содержащий конус с фланцем, закрепленным на отъемной части корпуса самолета, конусное гнездо с фланцем, закрепленным на корпусе самолета, болт, самоконтрящуюся гайку и пружину, отличающийся тем, что на конусе и на конусном гнезде выполнены цилиндрические выступы-пояса одинаковых диаметров с ответными отверстиями в отъемной части и в корпусе самолета соответственно, которые в стянутом положении образуют один цилиндрический стержень, соединяющий в плотной посадке отъемную часть с корпусом самолета.

Описание

[1]

Предлагаемое изобретение относится к авиационной технике и предназначено для осуществления крепления отъемных или съемных частей самолета (например, крышек люков) к корпусу самолета. Так же может быть использовано при разработке корпусов морских судов, автомобилей и других видов транспорта.

[2]

За аналог принят замок ОСТ1 13723-80, способный соединять и удерживать отъемные или съемные детали (крышки люков корпуса самолета). Содержит корпус с гайкой, болт и фиксатор. Недостатком аналога является ограниченная прочность соединения (max. 1670 кг).

[3]

Наиболее близким техническим решением, выбранным в качестве прототипа, является конусный замок SU 1372812 кл. B64C 1/14 - обладающий высокими качествами как конструктивными, так и прочностными. Аналогичный замок применяется на ряде самолетов (Бе-10, Бе-12, ЭИ и др.), которые находятся в эксплуатации несколько десятков лет. Конусный замок характеризуется удобным, надежным и высоко-ресурсным соединением, обеспечивающим легко- и быстроразъемные крепления крышек крупногабаритных люков (например, на самолете Бе-10 - люк с размерами 4000×1000 мм) и при этом включение крышки люка в работу нормальных и касательных напряжений, компенсацию большого выреза в напряженной области корпуса самолета. Замок выдерживает нагрузку до 6 тонн.

[4]

Нами проведена исследовательская работа по совершенствованию, конструкции этого замка и достижению еще более высоких параметров прочности и высокоресурсности соединения с целью применения на новых разработках: на разъемных и отъемных соединениях на новых изделиях, включая крепления крупногабаритных радиопрозрачных (РП) обтекателей к конструкции фюзеляжа (например, таких как РП обтекателей устанавливаемых на самолете Ил-82 с габаритами примерно 9000*2400). Результатом этих исследований является наше предложение с введением новых элементов конструкции, определяющих эти достижения.

[5]

Техническим результатом предлагаемого изобретения является обеспечение высокой прочности, надежности, удобства в эксплуатации и повышения ресурса соединений.

[6]

Технический результат достигается тем, что конусный замок содержит конус с фланцем, закрепленным на отъемной части корпуса самолета, конусное гнездо с фланцем, закрепленным на корпусе самолета, болт, самоконтрящуюся гайку и пружину, при этом на конусе и на конусном гнезде выполнены цилиндрические выступы-пояса одинаковых диаметров с ответными отверстиями в отъемной части и в корпусе самолета соответственно, которые в стянутом положении образуют один цилиндрический стержень, соединяющий в плотной посадке отъемную часть с корпусом самолета.

[7]

При стянутых конусе с конусным гнездом с помощью болта, законтренного в самоконтрящейся гайке, цилиндрические выступы-пояса соединены в один цилиндрический стержень, который воспринимает и передает нагрузки от крышки к корпусу и наоборот, включая таким образом конструкцию крышки люка в замкнутую систему с корпусом самолета через окантовку люка, и тем самым компенсируя вырез люка в корпусе самолета. Надо отметить, что наличие цилиндрических выступов-поясов, их соединение с крышкой и корпусом в плотной посадке не исключает работу заклепочных соединений на фланцах конуса и конусного гнезда. А наоборот, они теперь работают совместно, т.е. усилия, воспринимаемые конусным замком, теперь складываются из усилий, действующих на цилиндрические выступы-пояса и на заклепки.

[8]

Сопоставительный анализ предлагаемого изобретения с выявленными аналогом и прототипом показывает, что оно обладает новизной, изобретательским уровнем и промышленной применимостью.

[9]

Сущность предлагаемого изобретения поясняется кратким описанием и прилагаемыми чертежами, где

[10]

На фиг. 1 показан конусный замок в разрезе;

[11]

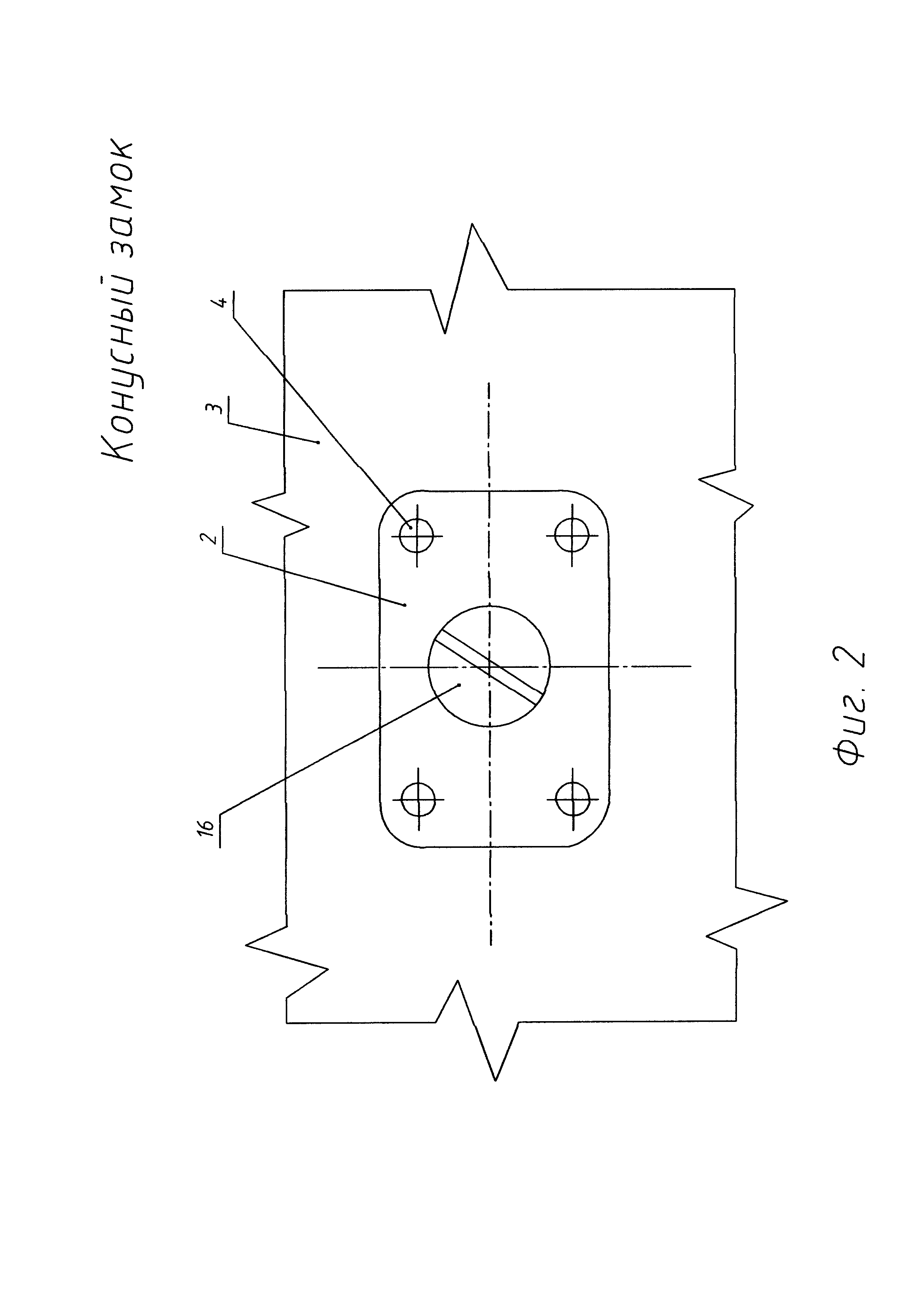
На фиг. 2 показан конусный замок вид сверху;

[12]

На фиг. 3 показана схема действия и распределения сил у прототипа;

[13]

На фиг. 4 показана схема действия и распределения сил у предполагаемого изобретения.

[14]

Конусный замок, показанный на чертежах (фиг. 1, 2), представляет собой конус 1 с фланцем 2, закрепленный на крышке люка 3 заклепками 4, на корпусе которого выполнен цилиндрический выступ-пояс 5, сопрягаемый с цилиндрическим отверстием 6 в крышке люка 3 по посадке с натягом. Конусное гнездо 7, сопрягаемое по конической поверхности конусом 1, своим фланцем 8 крепится к корпусу самолета 9. На конусном гнезде 7 так же, как и на конусе 1 выполнен 1 цилиндрический выступ-пояс 10, который сопрягается с цилиндрическим отверстием 11 в корпусе самолета 9 по посадке с натягом.

[15]

В нижней части конусного гнезда 7, соосно конусу 1, выполнено отверстие 12 с обратной конической поверхностью, в сопряжении с которым находится коническая гайка 13, имеющая продольный разрез 14, в который входит шпонка 15, вваренная в тело конусного гнезда 7. В гайку 13 ввинчен болт 16, соединяющий конус 1 с конусным гнездом 7 и таким образом, скрепляющий крышку люка 3 с корпусом самолета 9. Головка болта 16 утоплена в коническом седле 17 конуса 1 и подпружинена пружиной 18, надетой на стержень болта 16 и упирающейся в его торец и в буртик, выполненный в отверстии конуса 1. Для удерживания болта 16 от выпадения в канавке болта 16 установлено стопорное кольцо 19, аналогичное стопорное кольцо 20 установлено в канавке на отверстии конусного гнезда 7, для удержания гайки 13 от выпадения.

[16]

На фиг. 3 показана схема сил, действующих на конусный замок-прототип. Замок сопрягается с отверстием в крышке люка с зазором. В этом случае в начальный момент (после деформации заклепочных соединений) в контакт входят поверхность отверстия в крышке и поверхность замка в одной точке А, где и прикладывается вся сила Q.

[17]

На фиг. 4 показана схема действия и распределения сил у предлагаемого конусного замка. В этом случае в связи с сопряжением отверстия в крышке люка с цилиндрическими выступами-поясами в плотной посадке, усилие Q распределяется на половине поверхности отверстия от точки А, - где прикладывается усилие q-max до точек B и C, где усилие постепенно сжимается до q=0.

[18]

Таким образом, заявленная конструкция конусного замка с сопряжением цилиндрических поясов-выступов с отверстием в крышке люка в плотной посадке имеет преимущества в распределении сил, что обеспечивает более высокую прочность соединения и увеличение его ресурса.

[19]

Работает конусный замок следующим образом.

[20]

При закрытии крышки, конус 1 входит в конусное гнездо 7 и сопрягается с ним по конусной поверхности. Болт 16 отодвинут пружиной в крайнее верхнее положение. Стопорное кольцо 19 упирается в буртик конуса 1. Преодолевая усилие пружины 18, болт 16 прижимается к гайке 13 и, вращаясь, ввинчивается в гайку 13. Гайка 13, подтягиваемая болтом 16, скользит по конической поверхности вверх, удерживаемая от поворота шпонкой 15, при этом сжимаясь за счет разреза 14 и в конце хода, обеспечив затяжкой болта 16 предельно плотное прилегание крышки к корпусу самолета, контрит болт 16, обеспечивая надежность от его отвинчивания. Открытие крышки люка 3 производится обратными движениями и воздействиями на элементы замка, т.е. болт 16 откручивается торцевым ключом и, выходя из гайки 13, отжимается пружиной 18 вверх, но не выпадает, т.к. стопорное кольцо 19 удерживает его, упираясь в буртик на конусе 1. Гайка 13 не выпадает из гнезда, опускаясь вниз, она упирается в стопорное кольцо 20. В отличие от аналогов, пружина 18 выталкивает болт 16 и удаляя его от гайки 13, ограждает соединение от «закусывания» болта резьбой гайки 13, с чем мы сталкивались ранее, применяя аналогичные замки, где болты наоборот прижимались к гайке, закусывались ее резьбой и невозможно было открыть крышку люка.

[21]

Аналогичные конусные замки применены для крепления крышек крупногабаритных люков длиной 4 м и шириной 1 м на палубном грузолюке самолета Бе-10, на самолете-амфибии Бе-12, а также на изделии ЭИ для крепления радиопрозрачного обтекателя. Многолетний опыт эксплуатации этих самолетов показал надежность этих замков. Считаем целесообразным применение предполагаемого замка для крепления крупногабаритного радиопрозрачного обтекателя (длина 9 м, ширина 2,4 м, высота 1,8 м) на самолете.

[22]

Предлагаемая конструкция конусного замка обеспечит высокую прочность, надежность, удобство в эксплуатации и высокий ресурс соединений.

[23]

Технико-экономическая эффективность выражается в значительном расширении возможностей применения предполагаемого конусного замка, в связи с его высокой прочностью, универсальностью, повышенной надежностью и ресурсом.

[24]

Предлагаемое изобретение осуществимо по существующей технологии из применяемых материалов в самолетостроении.

Как компенсировать расходы
на инновационную разработку
Похожие патенты