Изобретение относится к изготовлению жидкокристаллических ячеек для жидкокристаллических приборов различных информационных систем. Описывается способ получения гомеотропно ориентированного слоя жидкого кристалла жидкокристаллического устройства (ЖК). Способ включает нанесение на подложку ЖК ячейки ориентанта формулы (1)или,где R= R= СFO-,,,,Q = CO или CS; Z = -NHRили -N(R), где Rалкил С-С, Z = -NHRили -N(R), где Rалкил CH, k = 1-8, в растворителе, например в хладоне 112. Подложку вымачивают в растворе ориентанта (1), осуществляют обдув, центрифугирование, закрепление слоя ориентанта (1) и смывание незакрепленного покрытия. Изобретение обеспечивает максимально точную гомеотропную ориентацию жидкого кристалла ЖК устройства: вне зависимости от структуры ориентанта (1), значений Q и Z угол ориентации не изменяется и составляет 90°. 3 з.п. ф-лы, 2 ил., 1 табл., 1 пр.
1. Способ получения гомеотропно ориентированного слоя жидкого кристалла жидкокристаллического устройства, включающий нанесение на подложки жидкокристаллической ячейки ориентанта - вещества формулы (1) где RF=R1=CnF2n+1O-, Q=CO или CS, Z=-NHRH или -N(RH)2, где RH алкильная группа с С1-С6, Z=-NHR3 или -N(R3)2, где R3 алкильная группа CkH2k+1, k=1-8, в растворителе, вымачивание подложек в указанном растворе ориентанта (1), обдув, центрифугирование, закрепление слоя ориентанта (1) и смывание незакрепленного покрытия. 2. Способ по п. 1, отличающийся тем, что n=1-10. 3. Способ по п. 1, отличающийся тем, что m=3-60. 4. Способ по п. 1, отличающийся тем, что в качестве растворителя используют хладон 112, вымачивание подложек в указанном растворе ориентанта (1) производят при комнатной температуре в течение 20 мин, закрепление слоя ориентанта (1) производят при температуре 120°С в течение одного часа.



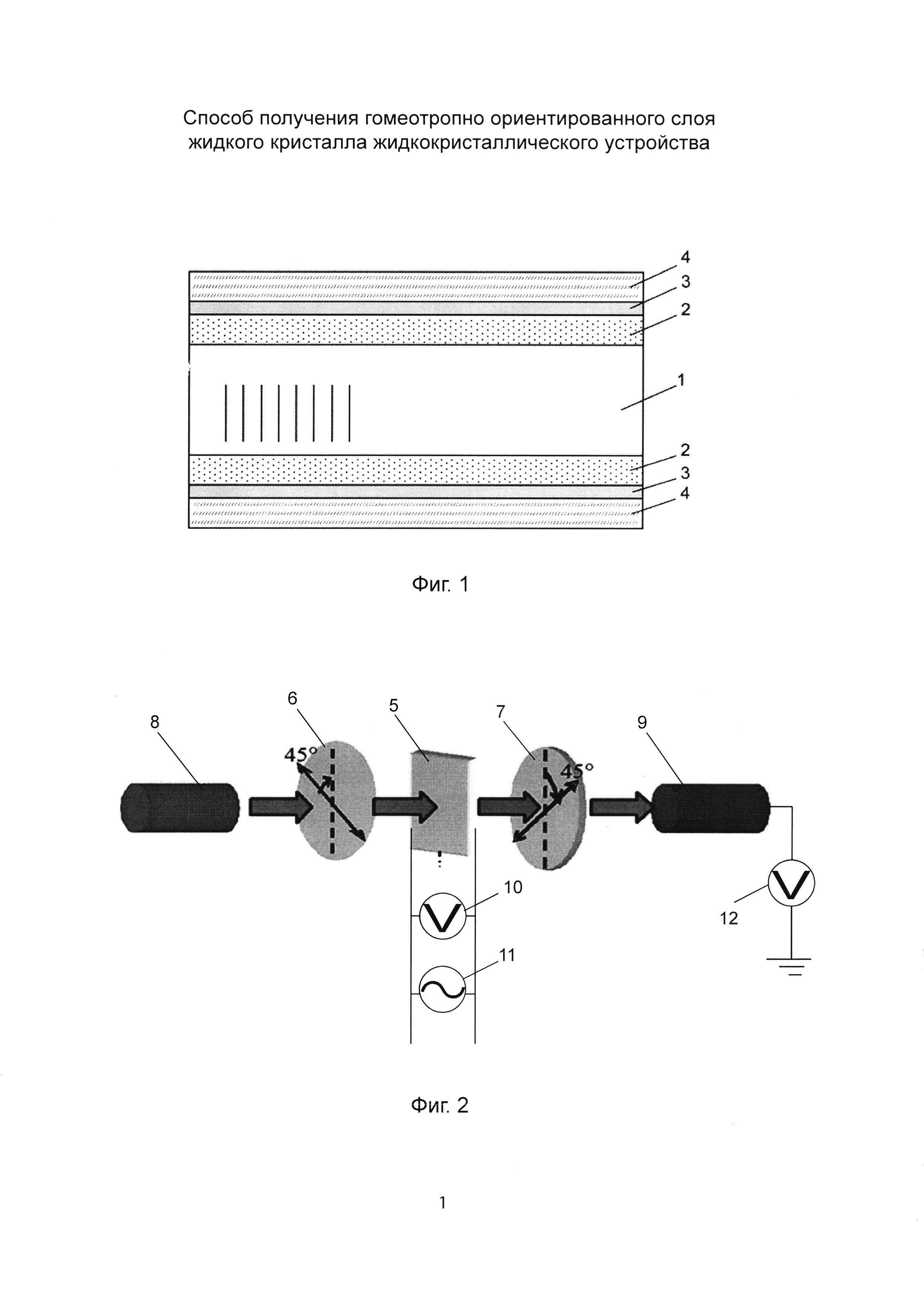
Область техники Изобретение относится к области изготовления жидкокристаллических ячеек для жидкокристаллических приборов, которые могут быть широко использованы в различных информационных системах. Предшествующий уровень техники Известен (патент РФ №2491316) способ изготовления жидкокристаллической ячейки с заданным углом ориентации жидкого кристалла, заключающийся в нанесении на подложки электродных токопроводящих плат слоя вещества - ориентанта в виде раствора, включающего полиорганосилоксан, растворитель и катализатор гамма-аминопропилтриэтоксисилан, с последующим удалением растворителя и отверждением в присутствии катализатора, полиорганосилоксана, а затем сборки ячеек с размещением жидкого кристалла между электродными токопроводящими платами. В качестве полиорганосилоксана используют олигодиалкилалкилгидридсилоксан общей формулы (А): где R', R'', R'''=CH3, С2Н5, n=4-8, m=6-9, R', R'' - разные между собой. Сформированный на подложке микрорельеф имеет геометрические размеры, соответствующие геометрическим размерам молекул жидкого кристалла и обеспечивающие угол поверхностной ориентации в диапазоне от 0 до 90° в зависимости от значений «m» и «n» полиорганосилоксана формулы (А). Изобретение обеспечивает получение жидкокристаллических ячеек для жидкокристаллических приборов с ориентацией жидкого кристалла под определенным заданным углом. Недостатком данного изобретения является сложность подбора вещества - ориентанта для того или иного угла ориентации жидкого кристалла. Известны амиды и эфиры перфторполиоксаалкиленсульфо- или перфторполиоксаалкиленкарбоновых кислот и способ их получения, патент РФ №2045544. Использование: для получения антифрикционных противоизносных, противозадирных присадок к смазочным маслам и смазкам, а также в качестве защитных покрытий от атмосферной коррозии. Сущность изобретения: амиды и эфиры перфторполиоксаалкиленсульфо- или перфторполиоксаалкиленкарбоновых кислот общей формулы, указанной в тексте описания. Соединение получают смешиванием при (-25)-(+8)°С фторангидрида перфторполиоксаалкиленсульфо- или перфторполиоксаалкиленкарбоновых кислот общей формулы, указанной в тексте описания с первичным, вторичным или третичным амином или алканоламином общей формулы H3-xN(R)x, где х=1, 2, 3, R=(CnH2nOH)x, где n=2, 3, 4, 6, 8, 10, -[(C2H4O)4С3Н6ОН]х при х=2 или R=-(C2H4OCH3)x, -(С2Н4ОС2Н5)х, -(С2Н4ОС3Н7)х, -[(C2H4O)5-Н]х при х=1 или (CnH2nOH)х, х=3, n=2, 4, или высшим жирным спиртом общей формулы CnH2n+1ОН, где n=6, 8, 10, и соединением из группы фторида щелочного или щелочноземельного металла, фторида аммония или фторида алюминия, карбоната или бикарбоната щелочного металла при молярном соотношении указанных соединений 1,0:(1,2-4,0):(1,5-3,0), соответственно, с последующим нагревом до 40-60°С, выдержкой реакционной смеси при этой температуре 0,6-3,0 ч и выделением целевого продукта. Смешивание исходных продуктов реакции можно производить в присутствии полифторуглеродного растворителя. Указанные соединения могут использоваться для получения антифрикционных, противозадирных, противоизносных присадок к смазочным маслам и смазкам и, кроме того, могут быть использованы в качестве защитных покрытий от атмосферной коррозии. В данном изобретении вещество не используется в качестве исходного вещества для получения заданной ориентации жидкого кристалла (ориентанта для жидкого кристалла). Известен также «Состав для нанесения защитной молекулярной пленки» (патент РФ №2215766). Изобретение относится к составам, которые, будучи нанесенными на поверхность твердого тела, образуют на ней тонкую молекулярную защитную пленку. Заявленный состав включает фторированное поверхностно-активное вещество (Фтор-ПАВ) и растворитель. В качестве Фтор-ПАВ состав содержит вещество общей формулы RFRF'QX, где RF - CnF2n+1O; n=1-8; RF' (-CF2-CF2-CF2O)m или где m=3-50; Q=-СО- или -SO2- и Z=-ORH, или ОН, или -NHRH, или -N(RH)2, где RH - алкильная группа СН3-С6Н13, и/или амид фторированной кислоты общей формулы CnF2n+1CNH2, где n=3-6, и/или амидоамин фторированной кислоты общей формулы CnF2n+1CONH(CH2)2N(C2H5)2, где n=3-6, и/или диалкилгидразин общей формулы RFCONHN(RH)2, и/или эфир пирагалола общей формулы и/или перфторэнантовую кислоту общей формулы CnF2n+1COOH, где n=3-8, и/или теломерную кислоту общей формулы H(CF2)nCOOH, где n=4-10, при концентрации каждого Фтор-ПАВ 0,03-3,0 мас. %, а в качестве растворителя - полярный, выбранный из группы метиловый, этиловый, пропиловый, изопропиловый спирт, вода, и/или неполярный, выбранный из класса углеводородов с числом атомов углерода C5-C15, и/или галогенсодержащий растворитель, выбранный из группы трихлорэтилен, тетрахлорэтилен, хладон 122. Изобретение позволяет повысить степень изменения поверхностной энергии твердого тела, а также повысить стойкость получаемых покрытий к агрессивным жидким и газовым средам и обеспечить возможность регулирования толщины покрытий. Задачей данного изобретения является расширение спектра свойств наносимых защитных пленок. Технический результат изобретения заключается в повышении степени изменения поверхностной энергии твердого тела, а также повышении стойкости получаемых покрытий к агрессивным жидким и газовым средам и обеспечении возможности регулирования толщины покрытий. При этом появляется возможность получить на поверхности твердого тела пленки от нескольких ангстрем до долей миллиметра, что существенно расширяет границы их применения в качестве: - защиты смазочного материала от растекания в узлах трения механизмов и приборов; - защиты от проникновения влаги в пористые и волокнистые структуры элементов электронных схем в микроэлектронике и радиотехнике; - защиты от загрязнений биологического происхождения корпусов судов, яхт, колонн, опор мостов и прочих поверхностей, работающих в морской или речной среде; - защиты от коррозии металлических поверхностей; - защиты от загрязнений, пятен и следов касаний пальцев на бытовых и технических приборах, панелях с полированной и хромированной поверхностью, медицинских инструментах; - для снижения трения в трущихся парах машин и приборов; - для повышения эффективности таких технологических процессов, как гибка, волочение, штамповка, прессование, дробление и измельчение как металлов, так и неметаллов; - для предотвращения пропускания воздуха и газов через ряд полимерных и других материалов; - для повышения долговечности формообразующих поверхностей литьевых и пресс-форм, внутренних поверхностей трубопроводов для транспорта нефти и газа, рубашек водяного охлаждения ряда систем. Однако в данном изобретении вещество не используется в качестве ориентанта для жидкого кристалла. Раскрытие изобретения Задачей данного изобретения является использование для создания жидкого кристалла такого ориентанта, который обеспечит максимально точную гомеотропную ориентацию жидкого кристалла жидкокристаллического прибора. Указанная задача решается за счет того, что способ получения гомеотропно ориентированного слоя жидкого кристалла жидкокристаллического устройства, заключается в нанесении на подложки жидкокристаллической ячейки ориентанта - вещества формулы (1) где RF=R1=CnF2n+1O-, Q=CO или CS, Z=-NHRH или -N(RH)2, где RH алкильная группа с C1-C6, Z=-NHR3 или -N(R3)2, где R3 алкильная группа CkH2k+1 k=1÷8, в растворителе, вымачивание подложек в указанном растворе ориентанта (1), обдув, центрифугирование, закрепление слоя ориентанта (1) и смывание незакрепленного покрытия. При этом «n»=1-10, а «m»=3-60. В качестве растворителя используют хладон 112, вымачивание подложек в указанном растворе ориентанта (1) производят при комнатной температуре в течение 20 минут, закрепление слоя ориентанта (1) производят при температуре 120°С в течение одного часа. В заявленном способе нанесение ориентирующих пленок (ориентанта) на подложки жидкокристаллической ячейки осуществляют следующим образом: производят мойку и обезжиривание подложек, например, путем кипячения в диметилформамиде, затем производят отжиг подложек при температуре 300°С в течение 1 часа, после чего обрабатывают подложки ультрафиолетом в течение 1 часа, затем вымачивают в растворе вещества общей формулы (1) в растворителе, например, хладоне-112 при комнатной температуре в течение 20 минут, после этого производят обдув и далее центрифугирование, затем закрепляют слой вещества общей формулы (1) при температуре 120°С в течение 1 часа и далее смывают незакрепленное вещество покрытия. Перечень чертежей На фиг. 1 изображена структура типичной жидкокристаллической ячейки. На фиг. 2 изображена схема расположения составных элементов установки для измерения угла преднаклона ЖК по пропускной способности ЖК ячейки. Реализация изобретения Гомеотропная (вертикальная) ориентация жидкого кристалла достигается за счет минимизации поверхностной полярной энергии сцепления [J. Cognard, "Alignment of Nematic Liquid Crystals and Their Mixtures", Molecular Crystals and Liquid Crystals, Suppl. 1 (Gordon and Breach, London, 1982); русский перевод Ш. Коньяр, «Ориентация нематических жидких кристаллов». Минск: Изд. Университетское. 1986] между слоем ориентанта и жидким кристаллом. Уменьшение поверхностной полярной энергии ориентанта достигается за счет введения в молекуле вещества, используемого в качестве ориентанта, перфторированного фрагмента. Известно [Лебедев А.Т. Масс-спектрометрия для анализа объектов окружающей среды. Москва: Техносфера, 2013. - 632 с., ISBN 978-5-94836-363], что перфорированные соединения слабо взаимодействуют со всеми веществами. Сущность изобретения заключается в использовании в качестве ориентанта вещества общей формулы: где RF=R1=CnF2n+1O-, Q=CO или CS, Z=-NHRH или -N(RH)2, где RH алкильная группа с C1-C6, Z=-NHR3 или -N(R3)2, где R3 алкильная группа CkH2k+1 k=1÷8. В результате экспериментов показано, что значение поверхностной полярной энергии сцепления жидкокристаллических материалов ЖК-440, ЖК-807, ЖК-1289 с ориентантом (ориентирующей пленкой) вещества общей формулы (1) равно 10-6 Дж/м2, а у известных материалов кремнийорганического соединения (КОС) оно составило 10-5 Дж/м2. То есть у известных материалов, используемых в качестве ориентанта (ориентирующей пленки), значения поверхностной полярной энергии сцепления в 10-100 раз больше, чем у заявленного вещества по формуле (1). Ранее это вещество не использовалось по такому назначению, то есть как ориентант (ориентирующая пленка) для ориентации жидких кристаллов. При использовании вещества в качестве ориентанта по формуле (1) независимо от молекулярной структуры и используемых радикалов всегда получается гомеотропная ориентация. Приведенные ниже эксперименты, указаные в примерах использования данного вещества по формуле (1) для ориентанта (ориентирующей пленки) в зависимости от выбранных значений «n» и «m», подтверждают, что независимо от значений «n» и «m» угол ориентации жидкого кристалла «θ» остается постоянным и равным 90°, то есть ориентация жидкого кристалла будет гомеотропной независимо от выбранных значений «n» и «m». Также независим от структуры и от фрагментов «Q» и «Z» угол ориентации, он не меняется и составляет 90°. Это достигается за счет малого значения поверхностной полярной энергии сцепления 10-6 Дж/м2 заявленного для использования вещества по формуле (1). Приготовление образца для измерения Структура типичной жидкокристаллической ячейки приведена на фиг. 1, где 1 - слой жидкого кристалла, 2 - покрытие – ориентант, 3 - слой прозрачного электрода, 4 - подложка. Структура типичной жидкокристаллической ячейки, состоящей из верхней и нижней подложек 4 с нанесенными на их внутреннюю сторону прозрачными электродами 3 (как правило, материал - окись индия и олова (ITO)) и ориентирующих слоев (ориентантов) 2, задающих ориентацию ЖК. Ячейки ЖК изготавливались в соответствии с известной процедурой, описанной в [Методика № ГСССД МЭ 221 - 2014 Методика экспериментально - расчетного определения поверхностного угла наклона в жидкокристаллических ячейках с однородным и неоднородным распределением директора /, Росс. Научно-технический Центр информации по стандартизации, метрологии и оценке соответствия. М., 2014. 19 с. Деп.. в ФГУП «СТАНДАРТИНФОРМ» №915а - 2014 кк], [V. Belyaev, А. Solomatin, and D. Chausov, "Measurement of the liquid crystal pretilt angle in cells with homogeneous and inhomogeneous LC director configuration", Applied Optics, Vol. 52 Issue 13, pp. 3012-3019 (2013)]]. Нанесение ориентантов - пленок для ориентации жидкого кристалла описано в указанных источниках. Гомеотропная ориентация жидкого кристалла на ориентирующих поверхностях ориентанта производилась с использованием веществ общей формулы (1). Нанесение ориентирующих пленок (ориентанта) на подложки жидкокристаллической ячейки выполнялось с использованием следующих действий: 1. Мойка и обезжиривание подложек (в данном случае кипячение в диметилформамиде). 2. Отжиг подложек при температуре 300°С в течение 1 часа. 3. Обработка подложек ультрафиолетом в течение 1 часа. 4. Вымачивание в растворе вещества общей формулы (1) в растворителе, например, хладоне-112 при комнатной температуре в течение 20 минут. 5. Обдув, центрифугирование. 6. Закрепление слоя вещества общей формулы (1) при температуре 120°С в течение 1 часа. 7. Смыв незакрепленного покрытия. В качестве ячеек сравнения использовались жидкокристаллические ячейки с полиимидным ориентирующим покрытием. Вследствие высокой полярной энергии сцепления W такое покрытие обеспечивало планарную ориентацию поверхности. Размещение образца в измерительной установке Измерение поверхностного угла наклона жидкого кристалла осуществлялось электрооптическим методом. Метод основан на измерении пропускания монохроматического поляризованного излучения, прошедшего через жидкокристаллическую ячейку с заданным распределением ориентации жидкого кристалла, помещенную между скрещенными поляризаторами. Схема расположения элементов установки представлена на фиг. 2. Плоскость поверхности жидкокристаллической ячейки ортогональна направлению пучка света. Ячейка расположена между скрещенными поляризаторами так, чтобы плоскость преимущественного направления ориентации, составляла угол 45° с главными осями поляризаторов. К электродам ячейки через соединительные провода присоединяли генератор переменного напряжения и вольтметр. Сигнал с фотоприемника поступал на вход вольтметра или осциллографа. По измеренному пропусканию излучения, прошедшего через жидкокристаллическую ячейку, было рассчитано значение разности фазовой задержки поляризованных необыкновенных и обыкновенных лучей, прошедших через жидкокристаллическую ячейку и соответственно, значение поворота угла наклона. Перед выполнением процедуры электрооптических измерений проверялся тип ориентации жидкокристаллического слоя. Ячейку поворачивали относительно оси падающего луча света вокруг оси, соответствующей преимущественному направлению ориентации жидкого кристалла. Для жидкокристаллических ячеек с поверхностным углом наклона, отличающимся от нуля, зависимость интенсивности от угла поворота симметричная, для гомеотропных ячеек интенсивность света минимальна и не зависит от угла поворота ячейки. Для эксперимента использовали жидкокристаллическую ячейку с ориентантом (ориентирующей пленкой) вещества по формуле (1) с последовательным использованием заявленных в значений RF', RF'', Q, Z формулы (1), а также различные значения «n», «m». Ниже приведены результаты экспериментов по использованию данного вещества по формуле (1) для ориентанта (ориентирующей пленки). Пример 1. Используют вещество по формуле (1) RFRF'QZ, где RF=CnF2n+1O-, Q=CO, Z=-NH-CkH2k+1. Тогда вещество по формуле (1) имеет химическую формулу В таблице 1 приведены значения угла ориентации жидкого кристалла «θ» при «n», «m» и «k», соответствующих их максимальному, минимальному и промежуточному значениям. Пример 2. Используют вещество по формуле (1) RFRF'QZ, где RF=CnF2n+1O-, Q=CS, Z=-NH-CkH2k+1. Тогда вещество по формуле (1) имеет химическую формулу В таблице 2 приведены значения угла ориентации жидкого кристалла «θ» при «n», «m» и «k», соответствующих их максимальному, минимальному и промежуточному значениям. Пример 3. Используют вещество по формуле (1) RFRF'QZ, где RF=CnF2n+1O-, Q=CO, Z=-N-(CkH2k+1)2. Тогда вещество по формуле (1) имеет химическую формулу В таблице 3 приведены значения угла ориентации жидкого кристалла «θ» при «n», «m» и «k», соответствующих их максимальному, минимальному и промежуточному значениям. Пример 4. Используют вещество по формуле (1) RFRF'QZ, где RF=CnF2n+1O-, Q=CS, Z=-N-(CkH2k+1)2. Тогда вещество по формуле (1) имеет химическую формулу В таблице 4 приведены значения угла ориентации жидкого кристалла «θ» при «n», «m» и «k», соответствующих их максимальному, минимальному и промежуточному значениям. Пример 5. Используют вещество по формуле (1) RFRF'QZ, где RF=CnF2n+1O-, Q=CO, Z=-NH-CkH2k+1. Тогда вещество по формуле (1) имеет химическую формулу В таблице 5 приведены значения угла ориентации жидкого кристалла «θ» при «n», «m» и «k», соответствующих их максимальному, минимальному и промежуточному значениям. Пример 6. Используют вещество по формуле (1) RFRF'QZ, где RF=CnF2n+1O-, Q=CS, Z=-NH-CkH2k+1. Тогда вещество по формуле (1) имеет химическую формулу В таблице 6. приведены значения угла ориентации жидкого кристалла «θ» при «n», «m» и «k», соответствующих их максимальному, минимальному и промежуточному значениям. Пример 7. Используют вещество по формуле (1) RFRF'QZ, где RF=CnF2n+1O-, Q=CO, Z=-N-(CkH2k+1)2. Тогда вещество по формуле (1) имеет химическую формулу В таблице 7 приведены значения угла ориентации жидкого кристалла «θ» при «n», «m» и «k», соответствующих их максимальному, минимальному и промежуточному значениям. Пример 8. Используют вещество по формуле (1) RFRF'QZ, где RF=CnF2n+1O-, Q=CS, Z=-N-(CkH2k+1)2. Тогда вещество по формуле (1) имеет химическую формулу В таблице 8 приведены значения угла ориентации жидкого кристалла «θ» при «n», «m» и «k», соответствующих их максимальному, минимальному и промежуточному значениям. Пример 9. Используют вещество по формуле (1) RFRF''QZ, где RF=CnF2n+1O-, Q=CO, Z=-NH-CkH2k+1. Тогда вещество по формуле (1) имеет химическую формулу В таблице 9 приведены значения угла ориентации жидкого кристалла «θ» при «n», «m» и «k», соответствующих их максимальному, минимальному и промежуточному значениям. Пример 10. Используют вещество по формуле (1) RFRF''QZ, где RF=CnF2n+1O-, Q=CS, Z=-NH-CkH2k+1. Тогда вещество по формуле (1) имеет химическую формулу В таблице 10 приведены значения угла ориентации жидкого кристалла «θ» при «n», «m» и «k», соответствующих их максимальному, минимальному и промежуточному значениям. Пример 11. Используют вещество по формуле (1) RFRF''QZ, где RF=CnF2n+1O-, Q=CO, Z=-N-(CkH2k+1)2. Тогда вещество по формуле (1) имеет химическую формулу В таблице 11 приведены значения угла ориентации жидкого кристалла «θ» при «n», «m» и «k», соответствующих их максимальному, минимальному и промежуточному значениям. Пример 12. Используют вещество по формуле (1) RFRF''QZ, где RF=CnF2n+1O-, Q=CS, Z=-N-(CkH2k+1)2. Тогда вещество по формуле (1) имеет химическую формулу В таблице 12 приведены значения угла ориентации жидкого кристалла «θ» при «n», «m» и «k», соответствующих их максимальному, минимальному и промежуточному значениям. Структурные формулы жидкокристаллических материалов: ЖК-1282 компоненты 1) 2) 3) ЖК-807 компоненты ЖК-440 где R1=ОСН3 4-бутил-4'-метоксиазоксибензол (БМОАБ или ЖК-434) и R2=ОСОС6Н13 4-бутил-4'-гептаноилоксиазоксибензол (БГОАБ или ЖК-439), взятые в соотношении 2:1. В результате экспериментов показано, что при использовании вещества по формуле (1) при различных RF', RF'', Q, Z и различных значениях «n», «m» ориентация жидкого кристалла (ЖК) оставалась строго гомеотропной. Также при изменении пространственно-структурного расположения группы CF3 ориентация жидкого кристалла оставалась гомеотропной. Таким образом, поставленная задача, а именно использование вещества ориентанта по формуле (1) для гомеотропной ориентации, выполнена. Промышленная применимость. Все приведенные эксперименты подтверждают промышленную применимость данного заявленного изобретения.
















































