заявка
№ RU 94030568
МПК A01M7/00

ШТАНГА СКЛАДНАЯ ДЛЯ ОПРЫСКИВАТЕЛЯ ДАМБ КАНАЛОВ

Авторы:
Бредихин Н.П. Балакай Г.Т. Благовестный Л.С.
Все (4)
Номер заявки
94030568/15
Дата подачи заявки
17.08.1994
Опубликовано
10.06.1996
Страна
RU
Как управлять
интеллектуальной собственностью
Чертежи 
3
Реферат

[35]

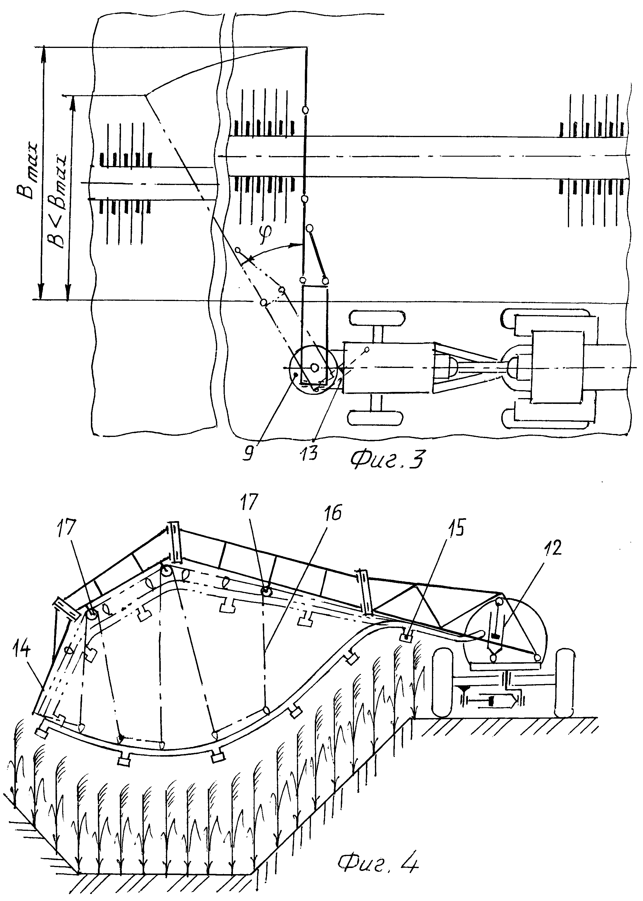
Предлагается штанга складная для опрыскивания дамб каналов, предназначенная для применения преимущественно в сельском хозяйстве. Штанга представляет собой специализированный рабочий орган для обработки химикатами (гирбицидами, пестицидами и пр.) дамб каналов. Штанга состоит из отдельных секций, соединенных между собой шарнирами, и гибкого проводящего трубопровода с распылителями и с канатно-блочной подвеской, и механизмов вертикального и горизонтального поворотов.

Формула изобретения

ФОРМУЛА ИЗОБРЕТЕНИЯ
1. Штанга складная для опрыскивателя, состоящая из отдельных шарнирно соединенных между собой секций и проводящего гибкого трубопровода с распылителями, отличающаяся тем, что с целью обеспечения охвата штангой в рабочем положении дамбы канала при обеспечении допустимых по правилам техники безопасности размеров штанги в сложенном (транспортном) положении, оси шарниров, соединяющих секции расположены в плоскости штанги (вертикальной) с наклонами в разные стороны, причем углы наклона подобраны таким образом, что при раскладывании штанги секции располагаются по ломанной линии, огибающей профиль дамбы, а при складывании располагаются параллельно друг другу, компактным пакетом.

2. Штанга по п. 1, отличающаяся тем, что, с целью регулировки высоты распыления для приспособления к различной высоте дамб и растений, она закреплена на раме посредством шарнира с горизонтальной осью вращения, обеспечивающего возможность наклонов в вертикальной плоскости с помощью специального механизма (гидроцилиндра).

3. Штанга по п. 1, отличающаяся тем, что, с целью регулировки ширины захвата для приспособления к различной ширине дамбы она закреплена на раме посредством шарнира с вертикальной осью вращения, обеспечивающего возможность поворотов в горизонтальной плоскости с помощью специального механизма (гидроцилиндра).

4. Штанга по п. 1, отличающаяся тем, что, с целью обеспечения опрыскивания каналов, расположенных в выемке, с минимальной высоты, крепление проводящего гибкого трубопровода к штанге выполнено с возможностью регулируемого провисания, обеспечивающего копирование трубопроводом профиля выемки канала.

5. Штанга по п. 1 отличающаяся тем, что, с целью обеспечения требуемой высоты нижней и наклонной секции над откосом при максимальном приближении агрегата к дамбе и возможно более низком положении точки крепления штанги, а также для улучшения поперечной устойчивости агрегата, механизм поворота в горизонтальной плоскости обеспечивает при переводе штанги в рабочее положение одновременное смещение точки ее крепления в направлении, противоположном вылету, за продольную ось симметрии агрета.

6. Штанга по п. 1, отличающаяся тем, что, с целью предохранения от поломки при случайных касаниях поверхности земли ее концевая секция имеет дополнительный шарнир с горизонтальной осью, перпендикулярной плоскости штанги, обеспечивающий возможность отклонения секции в вертикальной плоскости и возвращения ее в исходное положение под действием пружины.

Описание

[1]

Изобретение относится к сельскому хозяйству и представляет собой штангу, применяемую в опрыскивателях, распыляющих различные химикаты (гербициды, пестициды и пр.) с целью приспособления этих опрыскивателей для обработки дамб каналов, а также каналов в выемке.

[2]

В настоящее время в опрыскивателях применяются различные виды штанг, в том числе и складные, состоящие из отдельных секций (модулей), раскладываемых вручную или с помощью механических приводов, например а.с. 1419651, кл. А 21 В З/13 1988, 1537199,кл. А О1 М 7/00,1990, 1611307,кл. А О1 К 73/05,1990, а также с изменением угла наклона распылителей для повышения эффективности опрыскивания, например а.с. 1531941,кл. А О1 М 7/00, 1989.

[3]

Наиболее близким техническим решением является штанга по а.с. 1537199 (раскладка шарнирно соединенных секций попеременно в противоположные стороны, наличие стыковочных и упругих элементов).

[4]

Все указанные штанги могут обрабатывать только плоскую поверхность и для опрыскивания дамб каналов неприменимы. Среди различных специализированных опрыскивателей, например для виноградных шпалер, приствольных кругов деревьев и пр. также не выявлено конструкций, могущих быть примененными на дамбах каналов.

[5]

Целью предлагаемого изобретения является создание специализированной штанги для обработки каналов. Для этого решаются следующие задачи:
наиболее плотный охват дамбы для распыления химиката с минимальной высоты над растениями во избежание его сноса ветром на расположенные вблизи посевы и другие растения, не подлежащие обработке;
возможность складывания штанги в транспортное положение с габаритами, удовлетворяющими требованиям безопасности при передвижении по дорогам;
приспособление штанги к различным размерам дамб и различной высоте растений;
возможность опрыскивания каналов, расположенных в выемке;
обеспечение устойчивости агрегата опрыскивателя при значительном одностороннем вылете штанги;
-предохранение штанги от поломки при случайных касаниях земли концевой секцией.

[6]

Охват дамбы штангой обеспечивается формой штанги в рабочем положении в виде ломанной линии, огибающей поверхность дамбы (в поперечном сечении). При этом размеры штанги получаются, как по ширине, так и по высоте (в соответствии с размерами дамб каналов) значительно большими, чем допускается правилами техники безопасности для передвижных сельскохозяйственных машин по условиям проезда по дорогам, сооружениям, под линиями электропередач и т.п. Для сокращения размеров штанги в транспортном положении она делается складной, состоящей из отдельных секций, соединяемых шарнирно. При складывании штанги в транспортное положение секции поворачиваются на шарнирах и собираются, в пакет с размерами, допустимыми по правилам техники безопасности.

[7]

В существующих конструкциях складных штанг оси шарниров делаются вертикальными и складывание-раскладывание происходит только в одном - горизонтальном направлении (практически всегда по ширине захвата).

[8]

Главным отличием предлагаемой конструкции является то, что оси шарниров, соединяющих секции (и лежащие в плоскости штанги), делаются с наклонами в разные стороны, причем углы наклона подбираются таким образом, что при раскладке штанги ближайшая к основанию секция (или несколько секций) разворачивается не только в боковом направлении, но и поднимается одновременно на высоту так, что последующая (или последующие) секция располагается горизонтально, выше уровня бермы канала и имеющихся на ней растений, а концевая (или концевые) секция приобретает наклон, примерно параллельный откосу противоположной от агрегата стороны дамбы. В сложенном положении секции располагаются параллельно друг другу (по наибольшему размеру секций).

[9]

Приспособление штанги к различным размерам дамбы и растений по высоте обеспечивается наклонами всей штанги в вертикальной плоскости с помощью специального механизма (отличие от аналога по а.с. 1531941, где изменяется угол наклона опрыскивающих механизмов с помощью коромысел и перемычек).

[10]

Приспособление штанги к размерам дамбы по ширине производится поворотом штанги в горизонтальной плоскости (в плане). При этом изменяется ширина захвата штанги в проекции на плоскость, перпендикулярную к направлению движения (второе отличие от а.с. 1531941).

[11]

Сочетанием поворотов штанги в вертикальной и горизонтальной плоскостях можно достичь практически достаточного приспособления штанги к профилю обрабатываемого канала. В существующих аналогах и прототипе подобных регулировок не имеется, т.к. они предназначены для распыления химикатов только над плоской поверхностью и при максимальной ширине захвата.

[12]

Возможность опрыскивания каналов, проложенных в выемке, обеспечивается опусканием гибкого проводящего трубопровода с распылителями на специальной канатно-блочной подвеске, преимущественно его средней части, чем достигается копирование трубопроводом профиля канала. Целесообразно сочетать указанное провисание проводящего трубопровода с опусканием штанги, чтобы производить распыление химиката с минимальной высоты.

[13]

Аналогов по данному признаку не обнаружено. Поперечная устойчивость агрегата обеспечивается (помимо обычных соотношений моментов сил тяжести штанги и опрыскивателя), тем, что при повороте штанги в рабочее положение, точки ее крепления вместе с механизмами горизонтального и вертикального поворотов смещаются от продольной оси агрегата в направлении, противоположном вылету штанги.

[14]

При таком устройстве значительная часть опрокидывающего момента, создаваемого односторонне выдвинутой относительно продольной оси агрегата штангой, уравновешивается сравнительно тяжелыми механизмами вертикального и горизонтального поворотов и элементами крепления всей штанги в сборе к раме опрыскивателя, без применения специальных противовесов.

[15]

Кроме того, создается возможность обеспечить достаточную высоту наклонной секции штанги над откосом при максимальном приближении опрыскивателя к дамбе и относительно низком положении точек крепления штанги, что позволяет существенно понизить центр тяжести всей системы.

[16]

Такое расположение элементов крепления штанги попутно обеспечивает и другие преимущества, а именно: повышение удобства обслуживания, складывания и раскладывания штанги вручную и уменьшение габаритной высоты в транспортном положении.

[17]

В аналогах и прототипе подобных мер для уравновешивания штанг и понижения центра тяжести не применяется, поскольку они предназначены для опрыскивания плоских горизонтальных поверхностей. В этом случае равновесие опрыскивателя обеспечивается симметричным двухконсольным расположением штанг, которые, к тому же, имеют небольшую высоту, поэтому их центр тяжести лежит достаточно низко.

[18]

Конструкция штанги поясняется следующими изображениями.

[19]

Фиг. 1. Вид сзади. Охват дамбы штангой, опускание штанги для приближения к растениям при малых размерах дамбы и сложенное положение штанги.

[20]

Фиг. 2. Вид сбоку. Складывание опущенной штанги в транспортное положение.

[21]

Фиг. 3. Вид в плане. Поворот штанги в горизонтальной плоскости для согласования ширины захвата штанги с размерами дамбы по ширине.

[22]

Фиг. 4. Вид сзади. Опускание гибкого проводящего трубопровода с распылителями на канатно-блочной подвеске для опрыскивания канала, проложенного в выемке.

[23]

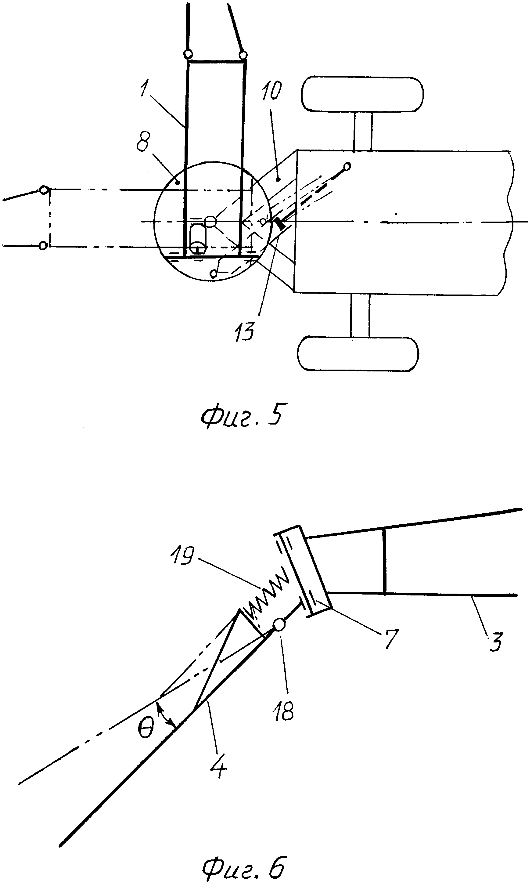
Фиг. 5. Механизм поворота штанги в горизонтальной плоскости. Показано смещение точек крепления штанги в сторону, противоположную вылету при развороте в рабочее положение (вид сверху).

[24]

Фиг. 6. Шарнирное крепление концевой секции (вид сзади).

[25]

Штанга (фиг. 1) состоит из отдельных секций нижней 1, наклонной 2, горизонтальной 3 и концевой, соединенных между собой шарнирами о, 6 и 7 (оси которых расположены в вертикальной плоскости, т.е. в плоскости штанги с наклонами под определенными углами,указанными на стр 6), механизма поворотов штанги в вертикальной и горизонтальной плоскостях, включающего поворотную раму 8, шарнир 9 (с горизонтальной осью) для крепления нижней секции, шарнир 10 (с вертикальной осью) для соединения с рамой опрыскивателя 11 и два гидроцилиндра 12 для регулировки положения штанги в вертикальной плоскости и 13 для поворотов в горизонтальной плоскости, а также гибкого проводящего трубопровода 14 с распылителями 15, прикрепленного к секциям штанги с помощью тросов 16, проходящих через блоки 17. В концевой секции имеется дополнительный шарнир 18 с горизонтальной осью перпендикулярной плоскости штанги и возвратной пружиной 19.

[26]

В рабочем положении (изображено на фиг. 1) секции штанги, точнее их нижние стержни образуют ломанную линию, охватывающую поверхность дамбы в поперечном сечении. При этом углы между нижними стержнями составляют величины α, b и g, а оси шарниров 5, 6 и 7 делят указанные углы пополам. Такое устройство позволяет, поворачивая секции на шарнирах (вручную или с помощью специального механизма) складывать их в компактный пакет (фиг. 2). В результате размеры штанги по ширине и высоте значительно (в несколько раз) уменьшаются и становятся допустимыми по правилам техники безопасности для передвижных сельскохозяйственных машин. Такое положение штанги используется в качестве транспортного. При обратной раскладке в рабочее положение наклонная секция одновременно с поворотом поднимается на высоту, так что горизонтальная секция оказывается над бермой, а концевая секция приобретает наклон вниз уже над внутренним откосом дамбы, примерно параллельно ему.

[27]

В зависимости от требуемых размеров штанги в рабочем положении, количество секций может быть и иным, например две наклонные секции, две горизонтальные и т.д.

[28]

Механизм поворотов штанги позволяет с помощью гидроцилиндра 12 изменять ее наклон в вертикальной плоскости на шарнире 9 (см. фиг. 1). Этим достигается приспособление к различным размерам дамбы по высоте, т.е. обеспечивается возможность распыления химиката с минимально возможной в каждом случае высоты. При самом нижнем положении штанги возможно ее складывание в транспортное положение вручную с земли (см. фиг. 2). Это же положение используется при опрыскивании каналов расположенных в выемке (см. далее).

[29]

Вращением поворотной рамы 8 (см. фиг. 3) вместе с закрепленной на ней штангой, на шарнире 10 с помощью гидроцилиндра 13 изменяется угол установки штанги в плане v.. При этом меняется ширина захвата штанги В в проекции на плоскость, перпендикулярную оси дамбы. Таким образом осуществляется приспособление штанги к размерам дамбы по ширине. Этим же механизмом осуществляется перевод штанги в транспортное положение (вдоль оси агрегата) и обратно в рабочее.

[30]

Химикат подается по проводящему трубопроводу 14 и через распылители 15 разбрызгивается над дамбой. При обычном положении (для опрыскивания дамб) трубопровод с помощь тросов 16 подтянут к штанге, повторяя ее очертание (см. фиг. 1).

[31]

При необходимости опрыскивания каналов, проложенных в выемке (фиг. 4) трубопровод опускается на тросах, копируя внутренний профиль канала. Целесообразно сочетать опускание трубопровода с поворотом штанги в вертикальной плоскости в нижнее положение.

[32]

Регулирование провисания проводящего трубопровода на тросах может производиться с помощью барабана с ручным или механическим приводом и снабженного тормозом (на чертежах не показан).

[33]

Повышение поперечной устойчивости агрегата обеспечивается тем, что при повороте штанги в рабочее положение (фиг. 5) поворотная рама устанавливается таким образом, что наиболее тяжелые части механизма (точки крепления штанги, гидроцилиндры) смещаются в направлении, противоположном вылету штанги, за продольную ось симметрии опрыскивателя, образуя как бы противовес.

[34]

Дополнительный шарнир 18 (фиг. 6) секции 4 допускает ее отклонение в вертикальной плоскости на некоторый угол θ при случайных касаниях концом штанги земли (вследствие погрешностей профиля дороги или ошибок в управлении). Отклонение секции предохраняет штангу от поломки. Приведение секции в исходное положение происходит под действием возвратной пружины 19. ЫЫЫ2

Как компенсировать расходы
на инновационную разработку
Похожие патенты