патент
№ RU 2751406
МПК H01Q1/38

Балансный щелевой излучатель

Авторы:
Головков Александр Алексеевич Малышев Виктор Николаевич Терентьева Полина Викторовна
Все (4)
Номер заявки
2020136132
Дата подачи заявки
02.11.2020
Опубликовано
13.07.2021
Страна
RU
Как управлять
интеллектуальной собственностью
Чертежи 
2
Реферат

Устройство относится к антенной технике, и в частности, к СВЧ-антеннам, и может быть использовано в радиоприемных и радиопередающих устройствах систем радиолокации и связи для приема широкополосных радиосигналов и системах, где требуются всенаправленные в азимутальной плоскости антенны. Технический результат изобретения состоит в том, что создан балансный щелевой излучатель с упрощенной конструкцией, с меньшими потерями на отражение, с увеличенным размером апертуры антенны в горизонтальной плоскости, увеличенным коэффициентом усиления, более узкой шириной диаграммы направленности в азимутальной плоскости. Технический результат достигается тем, что балансный печатный излучатель содержит диэлектрическую подложку, возбуждаемый входным сигналом первый интегрированный в подложку волновод с основной волной типа Н10, преобразователь волны Н10в волну Н20с металлизированным отверстием, проходящим через толщу подложки, возбуждающий излучатели Вивальди второй интегрированный в подложку волновод с основной волной типа Н20, первый электрод первого излучателя Вивальди, имеющий прямую кромку, совпадающую с краем подложки и кромку расходящуюся по экспоненциальному закону и расположенный на первой стороне подложки, объединенные по прямым кромкам второй электрод первого излучателя Вивальди и первый электрод второго излучателя, расположенные на второй стороне подложки, второй электрод второго излучателя Вивальди, прямая кромка которого совпадает с противоположным краем диэлектрической подложки и расположенный на первой стороне подложки, металлизированные отверстия проходящие через диэлектрическую подложку и образующие боковые стенки интегрированных в подложку волноводов. 3 ил.

Формула изобретения

Балансный щелевой излучатель, возбуждаемый с помощью интегрированного в подложку волновода с размером широкой стенки равным половине длины волны на нижней частоте рабочего диапазона с учетом диэлектрического заполнения, содержащий два противофазно возбуждаемых и выполненных на диэлектрической подложке двухсторонних излучателя Вивальди, электроды которых имеют кромки, расширяющиеся по экспоненциальному закону, и прямые кромки, являющиеся продолжением сторон интегрированного в подложку волновода, отличающийся тем, что излучатели Вивальди выполнены на однослойной диэлектрической подложке, причем первый электрод первого излучателя расположен на первой стороне подложки, а его прямая кромка является продолжением интегрированного в подложку волновода, второй электрод первого излучателя расположен на второй стороне подложки, первый электрод второго излучателя расположен на второй стороне подложки рядом со вторым электродом первого излучателя, причем эти электроды совпадают по прямым кромкам, второй электрод второго излучателя расположен на первой стороне подложки, причем его прямая кромка является продолжением интегрированного в подложку волновода, электроды излучателей соединены с интегрированным в подложку волноводом, имеющим размер широкой стенки равным длине волны на нижней рабочей частоте с учетом диэлектрического заполнения, а между возбуждающим волноводом с размером широкой стенки равным половине длины волны на нижней частоте рабочего диапазона и упомянутым интегрированным в подложку волноводом, имеющим размер широкой стенки равным длине волны на нижней рабочей частоте, включен преобразователь волны Н10 в волну Н20.

Описание

[1]

Заявляемое устройство относится к области радиотехники, в частности к СВЧ-антеннам, и может быть использовано в радиоприемных и радиопередающих устройствах систем радиолокации и связи, например Wi-Fi, McWill, бесконтактных радиометках, для приема широкополосных радиосигналов, либо множества узкополосных радиосигналов, распределенных в широкой полосе частот, например в системах радиомониторинга.

[2]

В настоящее время известны многие технические решения для построения широкополосных антенн с горизонтальной поляризацией на основе щелевых излучателей Вивальди. Практически все они в сантиметровом и миллиметровом диапазонах реализуются в печатном виде. Такие антенны описаны в патентах Китая CN104167608A, CN208923351U, CN106450731A, CN107946765A, европейском патенте ЕР2965381В1. На основе таких антенн могут быть реализованы широкополосные всенаправленные антенные решетки с горизонтальной поляризацией, в которых используются размещенные на диэлектрической подложке по кольцу с одинаковым угловым шагом односторонние излучатели Вивальди и мостовое устройство равноамплитудного и синфазного деления мощности по числу излучателей Вивальди. Например, такая решетка описана в патенте Китая CN106549233. Все приведенные выше антенны различаются выполнением излучателей Вивальди и конфигурацией системы их возбуждения.

[3]

Наиболее близким по совокупности существенных признаков к заявляемому изобретению является балансный излучатель Вивальди, описанный в патенте Китая CN104167608A.

[4]

Известный балансный щелевой излучатель, возбуждаемый с помощью интегрированного в подложку волновода (Substrate Integrated Waveguide) с размером широкой стенки равным половине длины волны на нижней частоте рабочего диапазона с учетом диэлектрического заполнения, содержащий два противофазно возбуждаемых и выполненных на диэлектрической подложке двухсторонних излучателя Вивальди (antipodal Vivaldi antenna), электроды которых имеют кромки, расширяющиеся по экспоненциальному закону, и прямые кромки, являющиеся продолжением сторон интегрированного в подложку волновода.

[5]

Эта балансная щелевая печатная антенна работает следующим образом. При подведении входного сигнала к свободному концу отрезка возбуждающего излучатель волновода, в нем возбуждается бегущая волна электромагнитного поля с модой Н10, которая поступает в делитель сигнала в виде двухслойного интегрированного в подложку волновода, высота которого равна толщине диэлектрической подложки, а в середине которого расположен прямоугольный электрод, соединенный с узкой стенкой волновода у первого края подложки, но не доходящий до второй узкой стенки волновода. В результате формируются противофазные и равные по мощности волны сигнала в верхнем и нижнем отрезках прямоугольного волновода, которые в дальнейшем поступают в первый и второй двусторонние печатные излучатели Вивальди, имеющие общий электрод, образованный экспоненциальным продолжением электрода, расположенного посередине узкой стенки волновода. Поскольку оба печатных двусторонних излучателя Вивальди из-за принципа построения делителя возбуждаются противофазно и равноамплитудно, но электроды излучателей расположены в противоположном порядке, то излучение от них сигналов в пространство будет складываться по горизонтальной поляризации, и компенсироваться по вертикальной поляризации.

[6]

Ключевым недостатком описанной антенны является реализация устройства равноамплитудного и противофазного деления входного сигнала на основе многослойной печатной платы, реализация которой кроме стандартных операций производства печатных плат, требует операции склеивания отдельных слоев. Применение такого делителя с несимметричной пластиной в Н-плоскости на середине высоты в интегрированном в подложку волноводе также приводит к отражению части сигнала от входа из-за краевого эффекта и потерям, помимо этого размер апертуры антенны в горизонтальной плоскости равен размеру апертуры одного излучателя Вивальди, следовательно, у антенны большая ширина главного лепестка диаграммы направленности в азимутальной (горизонтальной) плоскости и малый коэффициент усиления.

[7]

Задачами, решаемыми в заявляемом балансном щелевом излучателе, является, упрощение конструкции антенны, уменьшение потерь на отражение, увеличение размера апертуры антенны в горизонтальной плоскости и, как следствие, уменьшение ширины диаграммы направленности в азимутальной плоскости и увеличение коэффициента усиления.

[8]

Это достигается за счет того, что заявляемое устройство, также как и описанный выше балансный щелевой излучатель, возбуждаемый с помощью интегрированного в подложку волновода (Substrate Integrated Waveguide) с размером широкой стенки равным половине длины волны на нижней частоте рабочего диапазона с учетом диэлектрического заполнения, содержит два противофазно возбуждаемых и выполненных на диэлектрической подложке двухсторонних излучателя Вивальди (anti-podal Vivaldi antenna), электроды которых имеют кромки, расширяющиеся по экспоненциальному закону, и прямые кромки, являющиеся продолжением сторон интегрированного в подложку волновода, но в отличие от известного устройства, излучатели Вивальди выполнены на однослойной диэлектрической подложке, причем первый электрод первого излучателя расположен на первой стороне подложки, а его прямая кромка является продолжением интегрированного в подложку волновода, второй электрод первого излучателя расположен на второй стороне подложки, первый электрод второго излучателя расположен на второй стороне подложки рядом со вторым электродом первого излучателя, причем эти электроды совпадают по прямым кромкам, второй электрод второго излучателя расположен на первой стороне подложки, причем его прямая кромка является продолжением интегрированного в подложку волновода, электроды излучателей соединены с интегрированным в подложку волноводом, имеющим размер широкой стенки равным длине волны на нижней рабочей частоте с учетом диэлектрического заполнения, а между возбуждающим волноводом с размером широкой стенки равным половине длины волны на нижней частоте рабочего диапазона и упомянутым интегрированным в подложку волноводом, имеющим размер широкой стенки равным длине волны на нижней рабочей частоте, включен преобразователь волны Н10 в волну H20.

[9]

Технический результат, достигаемый в заявляемом устройстве, состоит в создание балансного щелевого излучателя, с упрощенной конструкцией, с меньшими потерями на отражение, с увеличенным размером апертуры антенны в горизонтальной плоскости, более узкой шириной диаграммы направленности в азимутальной плоскости и увеличенным коэффициентом усиления.

[10]

Это достигается за счет того, что антенна выполнена на однослойной диэлектрической подложке, при этом первый электрод первого излучателя расположен на первой стороне диэлектрической подложки, причем его прямая кромка является продолжением интегрированного в подложку волновода, второй электрод первого излучателя расположен на второй стороне подложки, первый электрод второго излучателя расположен на второй стороне подложки рядом со вторым электродом первого излучателя, причем эти электроды совпадают по прямым кромкам, второй электрод второго излучателя расположен на первой стороне подложки, причем его прямая кромка является продолжением интегрированного в подложку волновода, а возбуждение излучателей осуществляется интегрированным в подложку волноводом, в котором распространяется волна типа Н20. При этом получается увеличение вдвое апертуры балансного излучателя в горизонтальной плоскости и, как следствие уменьшение ширины диаграммы направленности в азимутальной плоскости и увеличение коэффициента усиления антенны. Так же технический результат достигается за счет того, что соседние излучатели Вивальди, электроды которых в противоположном порядке расположены на первой и второй сторонах подложки, волной H20 возбуждаются в противофазе и энергия кроссполяризации (составляющей вектора Е, параллельной узкой стенке волновода) излучаться не будет. Возбуждаемый входным сигналом интегрированный в подложку волновод, в котором распространяется волна типа Н10, связан с возбуждающим излучатели интегрированным в подложку волноводом, в котором распространяется волна типа H20, с помощью преобразователя типа волны Н10 в волну H20.

[11]

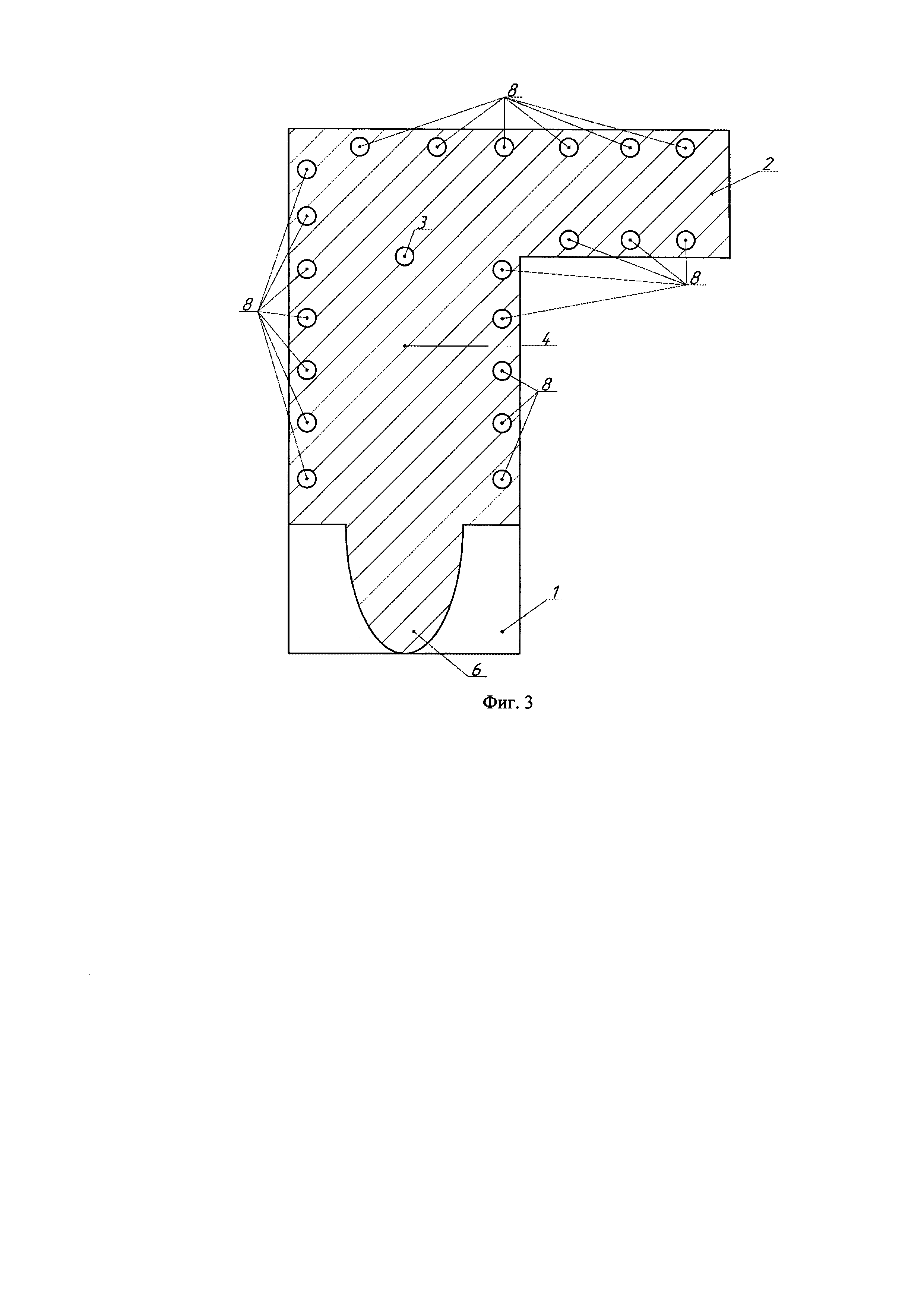
Заявляемое устройство поясняется чертежами. На фиг. 1 схематически показана конструкция балансного щелевого излучателя, на фиг. 2 - топология металлизации на первой стороне подложки, на фиг. 3 - топология металлизации на второй стороне подложки.

[12]

Заявляемый балансный печатный излучатель содержит диэлектрическую подложку 1, возбуждаемый входным сигналом первый интегрированный в подложку волновод (SIW) с основной волной типа Н10 2, ширина которого с учетом диэлектрической проницаемости подложки равна половине длины волны на нижней частоте рабочего диапазона, второй интегрированный в подложку волновод 4 возбуждающий излучатели Вивальди с основной волной типа H20, ширина которого с учетом диэлектрической проницаемости подложки равна длине волны на нижней частоте рабочего диапазона, преобразователь волны Н10 в волну H20, образованный соединением под прямым углом первого 2 и второго 4 интегрированных в подложку волноводов с окном в месте их стыка и металлизированным отверстием 3, проходящим через подложку в центре окна, расположенный на первой стороне подложки первый электрод первого излучателя Вивальди 5, имеющий прямую кромку, совпадающую с первым краем подложки и являющуюся продолжением интегрированного в подложку волновода, а вторую кромку, расходящуюся по экспоненциальному закону, объединенные по прямым кромкам второй электрод первого излучателя Вивальди и первый электрод второго излучателя 6, расположенные на второй стороне подложки, расположенный на первой стороне подложки второй электрод второго излучателя Вивальди 7, прямая кромка которого совпадает со вторым краем диэлектрической подложки 1 и является продолжением интегрированного в подложку волновода, металлизированные отверстия 8 проходящие через диэлектрическую подложку 1, образующие боковые стенки первого и второго SIW волноводов.

[13]

Возбуждающий антенну сигнал подается на свободный торец первого волновода 2, соединение под прямым углом первого 2 и второго 4 волноводов с металлизированным отверстием 3 в центре соединяющего волноводы окна образует преобразователь типа волны в волноводе Н10 в Н20, расходящиеся в разные стороны экспоненциальные кромки электрода 5 на первой стороне подложки и электрода 6, расположенного на второй стороне подложки, образуют первый двусторонний печатный излучатель Вивальди, расходящиеся в разные стороны вторая экспоненциальная кромка электрода 6 и расширяющаяся по экспоненциальному закону кромка электрода 7, расположенного на первой стороне подложки, образуют второй двусторонний печатный излучатель Вивальди, оба излучателя Вивальди возбуждаются вторым интегрированным в подложку волноводом 4, с металлизацией которого соединены их электроды, металлизированные отверстия связи 8 образуют боковые стенки первого 2 и второго 4 интегрированных в подложку волноводов.

[14]

Электроды первого и второго излучателей Вивальди, расположенные на первой и второй сторонах подложки, возбуждаются электрическим полем второго интегрированного в подложку волновода 4 в противофазе из-за распространения в нем волны типа H20. Из-за чередования электродов излучателей по первой и второй сторонам подложки 1, излучаемые в пространство двусторонними печатными излучателями Вивальди (5-6) и (6-7) сигналы горизонтальной поляризации будут находиться в фазе и складываться в дальней зоне, а излучаемые ими же сигналы вертикальной поляризации будут находиться в противофазе и компенсироваться в пространстве, что позволяет избежать кроссполяризационного излучения и, соответственно, достигнуть в два раза уменьшения ширины диаграммы направленности за счет двойного увеличения апертуры антенны и увеличения в два раза коэффициента усиления по горизонтальной поляризации.

[15]

Заявляемый балансный печатный излучатель работает следующим образом. Возбуждающий антенну входной сигнал поступает на свободный торец первого интегрированного в подложку волновода 2 и возбуждает в нем бегущую волну основной моды прямоугольного волновода Н10. Ширина широкой стенки волновода 2 равна половине длины волны сигнала в волноводе с учетом диэлектрической проницаемости материала подложки, поэтому в этом волноводе может распространяться только волна Н10, для остальных типов волн он является запредельным. Эта волна, распространяясь в волноводе 2, достигает окна в металлизированных отверстиях через подложку 8, соединяющего под прямым углом первый волновод 2 и второй интегрированный в подложку волновод 4. Ширина широкой стенки второго волновода равна длине волны сигнала с учетом диэлектрической проницаемости материала подложки и в нем может распространяться волна типа H20, имеющая по ширине волновода два противофазных максимума электрического поля, для остальных волн высших типов этот волновод является запредельным. Размер окна связи волноводов 2 и 4 равен ширине широкой стенки второго волновода, т.е. длине волны сигнала с учетом диэлектрического заполнения. В результате волна Н10, проходя вдоль окна, будет возбуждать во втором волноводе 4 два противофазных максимума электрического поля, т.е. создаст структуру электрического поля на входе во второй волновод 4 соответствующую волне типа H20, которая будет распространяться во втором волноводе в направлении первого и второго излучателей Вивальди. Для предотвращения возбуждения во втором волноводе 4 волны типа Н10 в центре окна связи установлено металлизированное отверстие 3, которое не допустит возбуждение волны Н10, а на волну типа H20 влиять не будет, т.к. у этого типа волны в центре волновода электрическое поле проходит через ноль. Таким образом, окно связи в металлизированных отверстиях 8 между двумя волноводами 2 и 4, соединение волноводов под прямым углом и металлизированное отверстие 3 представляют преобразователь волны Н10 в волну H20.

[16]

Распространившись по второму волноводу 4, волна типа H20 достигает электродов 5, 6 и 7, образующих два расположенных рядом печатных двухсторонних излучателя Вивальди. Занимающий по ширине половину волновода 4 первый максимум электрического поля волны типа H20 возбуждает расходящиеся в разные стороны экспоненциальные кромки электрода 5 на первой стороне подложки 1 и электрода 6, расположенного на второй стороне подложки, образующие первый двусторонний печатный излучатель Вивальди, между электродами 5 и 6 возникает бегущая волна сигнала с горизонтальным направлением электрического поля излучающаяся в пространство. Занимающий по ширине вторую половину волновода 4 второй максимум электрического поля волны типа H20 возбуждает расходящиеся в разные стороны вторую экспоненциальную кромку электрода 6 на второй стороне подложки и экспоненциальную кромку электрода 7, расположенного на первой стороне подложки, образующих второй двусторонний печатный излучатель Вивальди, между электродами 6 и 7 возникает бегущая волна сигнала с горизонтальным направлением электрического поля излучающаяся в пространство. Однако поскольку электроды 6 и 7 второго излучателя расположены в обратном порядке по сторонам подложки по сравнению с электродами 5 и 6 первого излучателя, то излучаемый вторым излучателем в пространство сигнал горизонтальной поляризации будет находиться в фазе с сигналом первого излучателя, и они сложатся в пространстве. Сигналы же вертикальной поляризации от обоих излучателей Вивальди будут находиться в противофазе, и паразитная вертикальная кроссполяризация будет компенсироваться.

[17]

В результате за счет суммирования диаграмм направленности противофазно и равноамплитудно возбуждаемых первого (электроды 5 и 6) и второго (электроды 6 и 7) двухсторонних печатных излучателей Вивальди, размещенных рядом на диэлектрической подложке 1 будет увеличиваться в два раза коэффициент усиления балансного печатного излучателя и в два раза уменьшится ширина диаграммы направленности в азимутальной плоскости, а излучение кроссполяризации будет компенсироваться.

[18]

Описание конструкции заявляемого устройства и принципа его работы доказывает достижение технического результата - создан балансный щелевой излучатель с упрощенной конструкцией, с меньшими потерями на отражение, с увеличенным размером апертуры антенны в горизонтальной плоскости, более узкой шириной диаграммы направленности в азимутальной плоскости и увеличенным коэффициентом усиления.

[19]

Возможные варианты конструкции излучателя будут ясны специалистам по прочтении описания: в балансном печатном излучателе может использоваться другой тип преобразователя волы типа Н10 в волну H20, а также может использоваться не два, а четыре или большее четное число печатных двухсторонних излучателя Вивальди, однако это будет приводить к сужению рабочего диапазона антенны, т.к. преобразователи волны типа Н10 в волны H40, Н60 и т.д. будут более узкополосными по частоте.

Как компенсировать расходы
на инновационную разработку
Похожие патенты